|
|
(21), (22) Заявка: 2007106651/11, 21.02.2007
(24) Дата начала отсчета срока действия патента:
21.02.2007
(46) Опубликовано: 20.12.2008
(56) Список документов, цитированных в отчете о поиске:
RU 2220349 С2, 27.12.2003. SU 288471 А, 03.12.1970. US 2510098 А, 06.06.1950. GB 2416382 А, 25.01.2006.
Адрес для переписки:
347923, Ростовская обл., г. Таганрог, пл. Авиаторов, 1, ОАО ТАНТК им. Г.М. Бериева, патентный отдел
|
(72) Автор(ы):
Беленовский Анатолий Иванович (RU), Ткачев Антон Николаевич (RU)
(73) Патентообладатель(и):
Открытое Акционерное общество Таганрогский Авиационный научно-технический комплекс им. Г.М. Бериева (RU)
|
(54) УСТРОЙСТВО ДЛЯ АВАРИЙНОЙ ГЕРМЕТИЗАЦИИ КАБИНЫ САМОЛЕТА ПРИ ПОСАДКЕ НА ВОДУ
(57) Реферат:
Изобретение относится к области авиационной техники и предназначено для герметизации кабины при аварийной посадке самолета на воду и может быть использовано там, где необходимо обеспечить свободное перетекание воздуха и предотвращение перетекания жидкости. Устройство для аварийной герметизации кабины самолета при посадке на воду состоит из корпуса с крышкой и клапана-поплавка. При этом устройство снабжено кольцом из эластичного материала, жестко закрепленным на верхней части корпуса, направляющей в виде подпружиненного штока и плоской центрирующей пружиной с загибами по периметру. Поплавок выполнен с одной стороны со сферической поверхностью, контактирующей с кольцом из эластичного материала, а с другой стороны своей цилиндрической поверхностью жестко связан с подпружиненным штоком, плоской центрирующей пружиной с загибами и крышкой. При этом в корпусе выполнены окна перетекания воздуха. Технический результат направлен на улучшение герметизации клапана от проникновения воды, упрощение и повышение надежности работы клапана в условиях вибрационных и ударных нагрузок и автоматическую работу клапана за счет его плавучести. 3 ил.
Изобретение относится к области авиационной техники и предназначено для герметизации кабины при аварийной посадке самолета на воду и может быть использовано там, где необходимо обеспечить свободное перетекание воздуха и предотвращение перетекания жидкости.
Известно устройство, описанное в патенте US №2510098, НКИ 137-69, содержащее корпус цилиндрической формы, который имеет дренажные отверстия, седло для прилегания тяжелого потопляемого шарика и легкого плавучего шарика. В этом устройстве плавучий шарик расположен в проходе жидкости, при его всплытии герметизируется внутреннее пространство бака с внешним, предотвращая переполнение бака жидкостью.
К недостаткам этого устройства следует отнести ограниченную плавучесть легкого шарика, а следовательно, и слабое прилегание его к седлу, что ухудшает герметичность в месте контакта, а конструкция корпуса получается сложной. Неопределенность поведения шарика при вибрационных и инерционных нагрузках может привести к перетеканию жидкости, а также к разрушению шарика и седла и уменьшению ресурса всего узла в целом.
Для контроля работы требуется разборка всего узла (клапана), и малейшее засорение в процессе эксплуатации может привести к отказу работы клапана.
Наиболее близким техническим решением, выбранным в качестве прототипа, является устройство с автоматическим отсекающим клапаном. В его корпусе на оси вращения свободно подвешен затвор в виде поплавка, к нему прикреплены рычаг и выведенная наружу рукоятка. (В.Опенько. Защита от квартирного наводнения, журнал «Изобретатель и рационализатор», 1986, №5, с.19).
Недостатком данного устройства является свободно подвешенный поплавок, который при вибрационных и инерциальных нагрузках может разрушиться, что повлечет к перетеканию жидкости, а при постепенном заполнении корпуса клапана слабым напором воды, клапан (затвор) всплывет при слабом противодействии рукоятки, и вода будет протекать, что не обеспечивает основное назначение клапана.
Технической задачей предлагаемого изобретения является устранение указанных недостатков, а именно: улучшение герметизации клапана от проникновения воды, упрощение и повышение надежности работы клапана в условиях вибрационных и ударных нагрузок и автоматическая работа клапана за счет его плавучести.
Технический результат достигается тем, что клапан имеет сферическую поверхность, а поверхность прилегания выполнена из эластичного материала (например, резины) в виде кольца, прикрепленного к корпусу, что улучшает прилегание клапана, даже в случае значительных его перекосов, и снижает вероятность его разрушения при ударных и вибрационных нагрузках за счет амортизационных свойств кольца и пружины поджатия клапана к посадочному месту и загибов плоской пружины у основания клапана, которые предохраняют клапан от контакта (ударов) с корпусом. А поплавковая конструкция клапана выполнена из легкого материала (например, пенопласта) и позволяет клапану всплывать за счет архимедовой силы в корпусе при заполнении его водой, а расположение его узлов не требует управления им во время работы, что обеспечивает автоматическую работу клапана по предотвращению перетекания воды.
Сопоставительный анализ предлагаемого изобретения с выявленными аналогами показывает, что предложенная конструкция является новой, обладает изобретательским уровнем и промышленно применима, а принцип герметизации сферической поверхности с кольцевой из эластичного материала обеспечивает высокую степень герметизации при воздействии различных нагрузок, даже в случае перекоса клапана.
Предлагаемое изобретение поясняется чертежами, где
на фиг.1 изображено заявляемое устройство для аварийной герметизации, вид сбоку;
на фиг.2 изображено заявляемое устройство для аварийной герметизации, вид спереди;
на фиг.3 изображено сечение клапана по месту установки плоской центрирующей пружины.
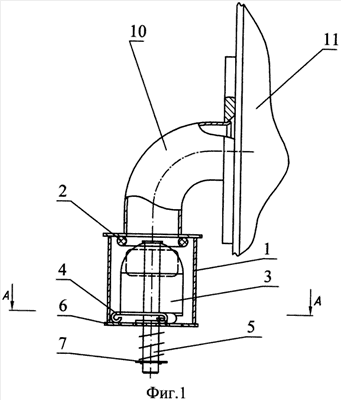
Устройство для аварийной герметизации кабины самолета при посадке на воду содержит корпус 1, на верхней поверхности которого герметично закреплено кольцо 2, выполненное из эластичного материала, клапан-поплавок 3 выполнен из легких материалов, и имеющий сферическую поверхность в месте прилегания к кольцу. К нижней поверхности клапана крепится плоская центрирующая пружина 4 с загибами по периметру, которая жестко связана с нижней поверхностью клапана и штоком 5, установленным вертикально. Между крышкой 6 корпуса и шайбой со шплинтом 7 установлена пружина 8 для прижатия поплавка в нижнее положение. На боковой поверхности корпуса выполнены окна 9, позволяющие воздуху свободно перетекать из трубы 10, герметично соединенной с корпусом 1 и сообщающейся с гермокабиной самолета 11.
Работа устройства осуществляется следующим образом.
При нормальной работе системы через корпус 1 пропускается воздух, пружина 8 отжимает поплавок 3 в нижнее положение, и он не препятствует перетеканию воздуха через окна 9 из кабины. При приводнении самолета поплавок 3 и шток 5 под действием выталкивающей силы воды (Архимедовой силы) перемещается вверх, преодолевая усилие пружины 8, прижимает сферическую поверхность к кольцу 4 и, тем самым, перекрывает доступ воды в кабину. Плоская центрирующая пружина с загибами 4 жестко закреплена вместе со штоком 5 и поплавком 3 и предохраняет поплавок 3 от вибрационных нагрузок и ударов о корпус и одновременно является направляющей при всплытии поплавка, уменьшая его перекос.
Таким образом, повышается надежность и герметизация его работы, упрощается конструкция, обеспечивается автоматизация работы клапана. Легко проверяется на работоспособность во время технических осмотров. Предлагаемое изобретение выполнено на стадии проектирования, выпущены рабочие чертежи, намечается изготовление опытного образца и проведение испытаний на работоспособность.
Формула изобретения
Устройство для аварийной герметизации кабины самолета при посадке на воду, содержащее корпус с крышкой, клапан-поплавок, отличающееся тем, что оно снабжено кольцом из эластичного материала, жестко закрепленным на верхней части корпуса, направляющей в виде подпружиненного штока и плоской центрирующей пружиной с загибами по периметру, при этом поплавок выполнен с одной стороны со сферической поверхностью, контактирующей с кольцом из эластичного материала, а с другой – своей цилиндрической поверхностью – жестко связан с подпружиненным штоком, плоской центрирующей пружиной с загибами и крышкой, при этом в корпусе выполнены окна перетекания воздуха.
РИСУНКИ
|
|