|
|
(21), (22) Заявка: 2007121115/11, 05.06.2007
(24) Дата начала отсчета срока действия патента:
05.06.2007
(46) Опубликовано: 20.12.2008
(56) Список документов, цитированных в отчете о поиске:
RU 2005666 С1, 15.01.1994. SU 378352 А1, 01.01.1973. RU 2169105 С1, 20.06.2001. WO 8301240 А1, 14.04.1983.
Адрес для переписки:
630005, г.Новосибирск, ул. Писарева, 53, ФГУП “НИИЭП”
|
(72) Автор(ы):
Левченко Владимир Сергеевич (RU), Эдвабник Валерий Григорьевич (RU), Мешков Евгений Юрьевич (RU), Кабанов Юрий Николаевич (RU), Баласов Игорь Юрьевич (RU), Ласкин Олег Викторович (RU), Павлов Геннадий Николаевич (RU)
(73) Патентообладатель(и):
ФЕДЕРАЛЬНОЕ ГОСУДАРСТВЕННОЕ УНИТАРНОЕ ПРЕДПРИЯТИЕ “НАУЧНО-ИССЛЕДОВАТЕЛЬСКИЙ ИНСТИТУТ ЭЛЕКТРОННЫХ ПРИБОРОВ” (ФГУП “НИИЭП”) (RU)
|
(54) СПОСОБ ОПРЕДЕЛЕНИЯ НАЛИЧИЯ И ИНТЕНСИВНОСТИ ОБЛЕДЕНЕНИЯ ЛЕТАТЕЛЬНОГО АППАРАТА
(57) Реферат:
Изобретение относится к авиационной технике. Способ основан на использовании при отрицательной температуре воздуха изменения теплового баланса двух обогреваемых участков поверхности мерного тела с термочувствительными элементами, которые помещают в одинаковые условия обдува воздушным потоком и, соответственно, улавливания капель воды. Температуры обеих поверхностей поддерживаются на разных уровнях, обеспечивающих полное испарение улавливаемых облачных капель воды. Техническим результатом заявленного изобретения является повышение достоверности определения наличия обледенения и точности измерения интенсивности обледенения. 2 ил.
Изобретение относится к авиационной технике, в частности к способам определения наличия обледенения и интенсивности обледенения летательных аппаратов.
Известен термический способ определения наличия обледенения и интенсивности обледенения летательного аппарата (Авторское свидетельство СССР №154064, G01W 1/00, 1965), основанный на использовании разности температур между двумя обогреваемыми термочувствительными элементами, располагаемыми на мерном теле, выполненном в виде профиля крыла, один – на лобовой, а другой – на хвостовой частях профиля.
Известный способ определения интенсивности и наличия обледенения имеет существенный недостаток, поскольку он предполагает большой порог чувствительности сигнализатора обледенения и относительно большую погрешность при изменении интенсивности обледенения. Это связано с тем, что условия обдува воздушным потоком термочувствительных элементов всегда неравнозначны, так как один элемент защищается от попадания капель воды, что вызывает изменение условий его обдува по сравнению с другим чувствительным элементом. Этим предопределено наличие достаточно высокой разности температур между чувствительными элементами при всех условиях полета независимо от наличия или отсутствия обледенения.
Наиболее близким к изобретению по технической сущности является способ определения наличия и интенсивности обледенения летательного аппарата (Патент RU №2005666 С1, 5 В64D 15/20), основанный на использовании при отрицательной температуре наружного воздуха разности теплосъемов с двух одинаковых обогреваемых участков поверхности мерного тела с термочувствительными элементами, на одном из которых улавливают и полностью испаряют облачные капли воды.
При этом оба участка поверхности с термочувствительными элементами помещают в равнозначные условия обдува воздушным потоком и улавливания облачных капель воды. Коэффициенты конвективной теплоотдачи на обоих участках поверхности равны. Поскольку в этом случае на обе поверхности попадают одинаковые количества воды, то интенсивное и полное испарение обеспечивают только на одной поверхности за счет подвода к ней достаточного количества тепла. К другой же поверхности, где расположен компенсирующий чувствительный элемент, подводят лишь такое количество тепла, чтобы нагреть ее до положительной температуры, но близкой к точке замерзания воды 0°С, например до 2-5°С. В этом случае поверхность не покрывается льдом, а пленка воды с нее интенсивно сдувается набегающим потоком из-за малой скорости испарения воды и недостаточного количества подведенного тепла для полного испарения улавливаемой воды.
Плотность теплового потока, которую необходимо подвести к поверхности, для компенсации теплоты испарения воды прямо пропорциональна разности упругостей водяного пара, взятых при температуре поверхности еп (Па) и при температуре наружного воздуха ев (Па).
Так как измерительный чувствительный элемент (ЧЭ) имеет температуру, например, 120°С, то максимальное значение количества воды, которое может испариться при этой температуре, в 50 раз больше, чем при температуре 5°С.
Однако это соотношение справедливо для максимальных уровней интенсивности обледенения, при которых температура 120°С измерительного ЧЭ обеспечивает полное испарение улавливаемых переохлажденных капель влаги.
При этом в известном способе значением тепловых потерь на испарение капельной влаги ЧЭ, имеющим температуру 5°С, пренебрегается.
При малой интенсивности обледенения, характерной для низких давлений, и температуре окружающего воздуха минус (30-60)°С это соотношение резко падает, что приводит к снижению точности определения интенсивности обледенения.
Так, используя известное выражение для оценки максимального количества капельной влаги G, кг/с, которое может испариться на перегретой относительно температуры воздушного потока поверхности, имеющей температуру Тп,
G=EWVSм=0,622 Sc(eп-ев)/Ср·Рн
где:
Е – полный интегральный коэффициент улавливания капельной влаги;
W – водность воздуха, кг/м3;
V – скорость воздушного потока, м/с;
Sм – площадь миделевого сечения рабочего ЧЭ датчика, м2;
Sc – площадь смачиваемой поверхности ЧЭ датчика, м2;
– коэффициент конвективной теплоотдачи смачиваемой поверхности ЧЭ, Вт/м2·град;
Ср, Рн – теплоемкость и давление воздуха на высоте полета Н;
при Sм=Sc и режиме полета: высота – 1000 м, скорость – 100 м/с, Е=1, Рн=90103 Па, Ср=1000 Дж/кг·град, =600 Вт/м2·град. получаем соответствующее ему значение условной интенсивности обледенения при Тп=5°С (еп=873 Па) и температуры воздуха минус 15°С (ев=191,5 Па), равное 0,21 мм/мин. С увеличением высоты полета понижаются температура и давление воздуха, что приводит к дальнейшему росту интенсивности обледенения, при которой происходит полное испарение капельной влаги на поверхности ЧЭ, имеющего температуру 5°С.
Таким образом, известный способ не позволяет принципиально исключить наличие зоны нечувствительности при определении наличия и интенсивности обледенения летательного аппарата, что ограничивает достоверность измерения и снижает точностные характеристики устройств при его реализации.
Задача изобретения – исключение зоны нечувствительности при определении интенсивности обледенения летательного аппарата.
Техническим результатом изобретения является повышение достоверности определения наличия обледенения и точности измерения интенсивности обледенения.
Сущность изобретения заключается в следующем. Способ определения наличия и интенсивности обледенения летательного аппарата предусматривает использование при отрицательной температуре наружного воздуха разности теплосъемов с двух обогреваемых участков поверхности мерного тела, имеющих разную температуру, с термочувствительными элементами, которые помещают в равнозначные условия обдува воздушным потоком и, соответственно, улавливания облачных капель воды. Отличительные признаки состоят в том, что температуры обогреваемых участков поверхности мерного тела поддерживают на уровнях (например, 120 и 100°С), обеспечивающих полное испарение улавливаемых ими облачных капель воды.
При этом в одинаковых условиях обдува, а значит и улавливания капель воды, имеется возможность более точного, чем в известном способе, определения тепловых потерь на конвективную теплоотдачу и на испарение капельной влаги.
Действительно, уравнения теплового баланса для обеих поверхностей имеют вид:
N1=N1к+N1ни;
N2=N2к+N2ни;
где:
N1 и N2 – тепловые потоки, необходимые для обеспечения поддержания заданных температур поверхностей ЧЭ датчика обледенения, первой и второй соответственно, Вт;
N1к и N2к – тепловые потоки, необходимые для компенсации тепловых потерь на конвективную составляющую теплоотдачи соответственно первой и второй поверхности ЧЭ датчика обледенения, Вт;
N1ни и N2ни – тепловые потоки, необходимые для компенсации тепловых потерь на нагрев и испарение улавливаемой капельной влаги соответственно первой и второй поверхности ЧЭ датчика обледенения, Вт.
Учитывая, что:
n1ни N2ни=Nни;
N1к=S1· ·(T1п-Tад);
N2к=S2· ·(T2п-Tад);
где:
S1 и S2 – площади первой и второй поверхностей ЧЭ датчика обледенения, S1=S2=S, м2;
T1п и Т2п – температуры первой и второй поверхностей ЧЭ датчика обледенения, °С;
Тад – адиабатическая температура воздуха, °С;
имеем:
S =(N1-N2)/(Т1п-Т2п).
Используя значение комплексной величины S , можно определить оценки тепловых потоков N1к, N2к, N1ни и N2ни, а также количество воды, которое испаряется в единицу времени на каждой из поверхностей ЧЭ датчика обледенения, и условную интенсивность обледенения.
Таким образом, при реализации предлагаемого способа для измерения интенсивности обледенения можно при достаточно близких оценках значений N1ни и N2ни точно автоматически вычислять величину Nни, равную:
Nни=(N1ни+N2ни)/2,
которая характеризует интенсивность обледенения. При реализации предлагаемого способа для сигнализации об обледенении летательного аппарата (ЛА) можно использовать появление сигнала, соответствующего наличию Nни, как факт наличия процесса попадания воды на поверхность ЛА. При этом порог чувствительности при реализации предложенного способа будет значительно ниже, чем при реализации известного способа. На изменение порога чувствительности и точности измерения интенсивности обледенения не влияет изменение режимов полета, изменение угла атаки или скольжения ЛА и место установки датчика, так как обе поверхности находятся в одинаковых условиях обдува воздушным потоком, а пороговое значение Nни, необходимое для срабатывания сигнализатора обледенения, и погрешность определения интенсивности обледенения будут определяться только погрешностями измерения температур T1п, T2п, Тад и мощностей N1 и N2 и не будут зависеть от точности поддержания заданных значений температур поверхностей ЧЭ. Это является качественно новым свойством и характеризует изобретательский уровень предлагаемого способа.
Отсутствие зоны нечувствительности и влияния погрешности поддержания заданных температур ЧЭ позволяет на основе предлагаемого способа при наличии информации о скорости воздушного потока также создавать устройства измерения водности.
Сущность изобретения поясняется чертежами.
На фиг.1 показана конструкция устройства (датчик), реализующая предлагаемый способ.
На фиг.2 показана функциональная схема реализации способа.
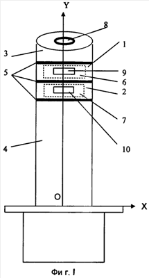
Устройство содержит поверхности 1 и 2, отделенные друг от друга и от частей 3 и 4 корпуса датчика водности (цилиндрического мерного тела) теплоизоляционными прокладками 5. Поверхности 1 и 2 имеют разделенные и встроенные внутрь нагреватели 6 и 7. На верхней части корпуса, имеющей наклон в направлении полета 7-10 градусов, расположен датчик 8 температуры торможения воздушного потока, который теплоизолирован относительно корпуса. Датчики 9 и 10 температуры поверхностей 1 и 2 смещены по оси OY и имеют одинаковое положение относительно оси ОХ. Регуляторы мощности нагрева 11 и 12 поддерживают температуру первой и второй поверхностей на заданных уровнях, например Tп1=120°С и Тп2=100°С. В вычислитель 13 поступает информация о мощности нагрева N1 и N2 и температурах T1п, Т2п, Тад. При Nни больше порогового значения и Тад ниже 0°С на индикатор 14 поступает сигнал о наличии обледенения и интенсивности обледенения.
Для предотвращения образования льда на поверхностях 3 и 4 они имеют встроенный нагреватель, включающийся при обледенении.
Формула изобретения
Способ определения наличия и интенсивности обледенения летательного аппарата, основанный на использовании при отрицательной температуре наружного воздуха разности теплосъемов с двух обогреваемых участков поверхности мерного тела, имеющих разную температуру, с термочувствительными элементами, которые помещают в равнозначные условия обдува воздушным потоком и соответственно улавливания облачных капель воды, отличающийся тем, что температуры обогреваемых участков поверхности мерного тела поддерживают на уровнях, обеспечивающих полное испарение улавливаемых ими облачных капель воды.
РИСУНКИ
|
|