|
|
(21), (22) Заявка: 2007120565/11, 25.05.2007
(24) Дата начала отсчета срока действия патента:
25.05.2007
(46) Опубликовано: 20.12.2008
(56) Список документов, цитированных в отчете о поиске:
RU 2211722 C1, 10.09.2003. SU 1517976 A1, 30.10.1989. US 6426005 B1, 30.07.2002. US 4299699 A, 10.11.1981.
Адрес для переписки:
196070, Санкт-Петербург, а/я 44, пат.пов. С.М.Коготкову
|
(72) Автор(ы):
Тунитовский Валерий Владимирович (RU)
(73) Патентообладатель(и):
Тунитовский Валерий Владимирович (RU)
|
(54) НАПОРНЫЙ ФИЛЬТР ДЛЯ ОЧИСТКИ ЛЬЯЛЬНЫХ И СТОЧНЫХ ВОД
(57) Реферат:
Изобретение предназначено для очистки жидкостей от растворенных и взвешенных веществ, а именно для очистки судовых льяльных вод, а также может быть использовано для очистки сточных вод промышленных предприятий и в коммунальном хозяйстве. Напорный фильтр содержит корпус с фильтрующей засыпкой, патрубками подвода фильтруемой смеси и слива очищенной воды. Корпус выполнен в виде вертикально ориентированной цилиндрической обечайки с верхней открытой частью. Патрубок слива размещен на стенке корпуса. Патрубок подвода – на стенке и/или днище корпуса. Внутри корпуса соосно установлена направляющая, на ней размещен поршень-поплавок, снабженный перепускными патрубками и установленный с возможностью вертикального перемещения вдоль направляющей. Направляющая выполнена в виде полого трубчатого элемента с отверстиями и с предусмотренным в ее верхней части фиксатором, а нижним концом разъемно закреплена в подпятнике и сообщена с источником сжатого воздуха. На фиксаторе установлен фильтрующий элемент, а фильтрующая засыпка размещена между поршнем-поплавком и фиксатором направляющей. Технический результат направлен на повышение эффективности очистки фильтруемой смеси от нефтепродуктов и других загрязнений. 8 з.п. ф-лы, 3 ил.
Изобретение предназначено для очистки жидкостей от растворенных и взвешенных веществ, а именно для очистки судовых льяльных вод, а также может быть использовано для очистки сточных вод промышленных предприятий и в коммунальном хозяйстве.
Известны устройства для очистки жидкостей, например «Двухпоточный фильтр для очистки жидкостей» (см. описание изобретения к авт. свид. СССР №709118, кл. B01D 23/10, опубл. 1989.03.15, бюл. №10). Указанный фильтр содержит вертикальный цилиндрический корпус с днищем и крышкой, снабженной кольцевой прокладкой, в котором размещены верхняя и нижняя решетки с сетками, между которыми расположена фильтрующая зернистая загрузка, патрубки для подачи исходной жидкости, установленные в крышке и днище, коллектор для отбора фильтрата, размещенный в объеме фильтрующей зернистой загрузки в ее средней части, а также патрубок подачи промывочной жидкости и патрубок ее отвода, при этом верхняя решетка снабжена механизмом принудительного возвратно-поступательного перемещения, например в виде винтовой пары, винт которой шарнирно закреплен на решетке, гайка – жестко на крышке, по периферии верхней решетки установлен кольцевой борт, взаимодействующий с кольцевой прокладкой в режиме регенерации, а патрубок подачи промывочной жидкости размещен в днище.
Недостатками указанного устройства являются: сложность конструкции фильтра, большие затраты на регенерацию фильтрующей зернистой загрузки и эксплуатацию самого устройства, низкая эффективность очистки фильтруемой смеси от нефтепродуктов и других загрязнений.
Известен фильтр для очистки жидкостей, например «Фильтр для очистки жидкостей» (см. описание изобретения к авт. свид. СССР №1282385, кл. В01D 24/38, опубл. 1995.02.27, бюл. №6). Указанный фильтр состоит из корпуса, верхнего и нижнего эллиптических днищ, верхнего распределительного устройства, плоского промежуточного дна, размещенного в нижней части корпуса, и слоя зернистой загрузки, расположенной на промежуточном дне. На промежуточном дне закреплены дренажные элементы, верхняя часть которых выполнена перфорированной для дренирования фильтрата через промежуточное дно, а нижняя – имеет патрубок с боковым отверстием и заглушку на нижнем торце патрубка. К заглушке прикреплен стержень, установленный с возможностью вертикального перемещения до упора в нижнее эллиптическое днище и выполняющий функцию дополнительной опоры для промежуточного дна.
Недостатками указанного устройства являются: низкая эффективность очистки фильтруемой смеси от нефтепродуктов, большие затраты на регенерацию зернистой загрузки.
Известно устройство для очистки жидкостей, например «Фильтр для разделения суспензий» (см. описание изобретения к патенту РФ №2035199, кл. B01D 24/28, опубл. 20.05.1995 г., бюл. №18). Указанный фильтр содержит вертикальный корпус с патрубками для ввода и вывода разделяемой суспензии, ввода и вывода газа под давлением, вывода фильтрата. В корпусе имеются две горизонтальные решетки, образующие рабочую камеру, в которой расположен фильтрующий материал. Материал состоит из незакрепленных нитей и плавающих в суспензии гранул фильтрующего материала.
Недостатками указанного фильтра являются: малая производительность и низкая эффективность очистки фильтруемой смеси от нефтепродуктов и других загрязнений, большие временные затраты на регенерацию фильтрующего материала.
Также известен фильтр для очистки жидкостей, например «Фильтр непрерывной очистки жидкости» (см. описание изобретения к патенту РФ №2245735, кл. B01D 24/28, опубл. 10.02.2005 г., бюл. №4). Указанный фильтр содержит частично заполненный очищающим реагентом корпус в виде цилиндрической обечайки, сочлененной в нижней части с обращенным вершиной вниз полым конусом, установленный в нижней части корпуса соосно распределительный конус, обращенный вершиной вверх и образующий с полым конусом распределительную кольцевую щель, коллектор для подвода очищаемой жидкости в массу очищающего реагента, аэрлифт для подъема из полого конуса загрязненного очищающего реагента в верхнюю часть фильтра для промывки и возврата в корпус, а также устройство для промывки очищающего реагента, изготовленное в виде внутренней части с кольцевыми наружными впадинами и выступами и охватывающей ее наружной части с ответными кольцевыми внутренними выступами и впадинами, образующими канал прохода очищающего реагента вниз и встречного потока жидкости для промывки. Фильтр снабжен, по меньшей мере, одной стационарно установленной в корпусе винтообразной перегородкой, угол наклона которой в каждой точке по отношению к вертикали не более угла естественного откоса очищающего реагента. Коллектор для подвода очищаемой жидкости выполнен в виде двух, установленных один над другим в нижней части корпуса усеченных конусов, формирующих кольцевую щель для прохода вниз очищающего реагента и подачи вверх очищаемой жидкости, а также кольцевую щель для равномерного подвода очищаемой жидкости. Наружная часть устройства для промывки очищающего реагента выполнена в виде двух, скрепленных друг с другом, разъемных вдоль осевой плоскости половинок, охватывающих внутреннюю часть устройства.
Недостатками указанного фильтра являются: сложность конструкции фильтра, большие затраты на регенерацию фильтрующей зернистой загрузки и эксплуатацию самого устройства, низкая эффективность очистки фильтруемой смеси от нефтепродуктов и других загрязнений.
Наиболее близким по своей технической сущности аналогом (прототипом) устройства является «Напорный фильтр для очистки жидкостей» (см. описание изобретения к патенту РФ №2211722, кл. B01D 24/10, опубл. 10.09.2003 г., бюл. №25). Указанный фильтр состоит из цилиндрического корпуса с эллиптическими днищами, дренажных днищ с дренажными колпачками и зернистой загрузки, помещенной между дренажными днищами, при этом дренажные днища механически связаны друг с другом в направлении потока пропускаемой через фильтр жидкости при помощи тяг, смонтированных в отверстиях дренажных днищ и состоящих из прутков, рабочих гаек, шайб, соединительной муфты, контргаек и прокладок.
Недостатками указанного аналога (прототипа) являются: низкая эффективность очистки фильтруемой смеси от нефтепродуктов и других загрязнений, сложность эксплуатации устройства, большие затраты на регенерацию зернистой загрузки.
Технический результат, обеспечиваемый заявляемым изобретением, заключается в повышении эффективности очистки фильтруемой смеси от нефтепродуктов и других загрязнений, в том числе в производственных масштабах, упрощении и повышении удобства эксплуатации устройства с одновременным снижением затрат на его техническое обслуживание и эксплуатацию.
Технический результат достигается тем, что в напорном фильтре для очистки льяльных и сточных вод, содержащем корпус с фильтрующей засыпкой, патрубки подвода фильтруемой смеси и слива очищенной воды, в соответствии с заявляемым техническим решением, в отличие от прототипа, корпус выполнен в виде вертикально ориентированной цилиндрической обечайки с верхней открытой частью, причем патрубок слива размещен на вертикальной стенке корпуса, а патрубок подвода – на вертикальной стенке и/или днище корпуса, которое выполнено наклонным или конусообразным, или эллиптической формы, или иной, отличной от горизонтальной формы, при этом внутри корпуса соосно установлена направляющая, на которой размещен поршень-поплавок, снабженный перепускными патрубками и установленный с возможностью вертикального перемещения вдоль направляющей, причем направляющая выполнена в виде полого трубчатого элемента с отверстиями и с предусмотренным в ее верхней части фиксатором, например по типу съемной крестовины, а нижним концом разъемно закреплена в подпятнике и сообщена с источником сжатого воздуха, при этом фильтрующая засыпка размещена между поршнем-поплавком и фиксатором направляющей, а на фиксаторе установлен фильтрующий элемент.
В качестве фильтрующей засыпки использован адсорбент из полимерного материала, например пенополимер-суперадсорбент.
Адсорбент выполнен в виде гранул и/или хлопьеобразным, и/или в виде их смеси.
Фильтрующий элемент выполнен в виде металлической сетки, обтянутой синтетическим материалом, преимущественно синтипоном.
Поршень-поплавок дополнительно снабжен системой регулирования его плавучести.
Система регулирования плавучести поршня может быть выполнена в виде грузов, размещенных вне корпуса и соединенных с поршнем-поплавком кинематически, преимущественно гибкой связью.
Перепускные патрубки поршня-поплавка снабжены крышками, установленными с зазором относительно верхнего выходного сечения патрубков. В общем случае для обеспечения равномерного распределения фильтруемой смеси в слое фильтрующей засыпки необходимо и достаточно снабжение поршня-поплавка, по меньшей мере, двумя перепускными патрубками, установленными симметрично относительно вертикальной оси корпуса.
Крышки патрубков могут быть выполнены горизонтальными, а их диаметр выбран не менее диаметра верхнего выходного сечения патрубков.
Поршень-поплавок снабжен уплотнительной манжетой, размещенной по его периметру и выполненной из полимерного материала, например поливинилхлорида или полиэтилена, или полипропилена.
Наличие отличительных признаков, а именно то, что в напорном фильтре для очистки льяльных и сточных вод: корпус выполнен в виде вертикально ориентированной цилиндрической обечайки с верхней открытой частью, причем патрубок слива размещен на вертикальной стенке корпуса, а патрубок подвода – на вертикальной стенке и/или днище корпуса, которое выполнено наклонным или конусообразным, или эллиптической формы, или иной, отличной от горизонтальной формы, при этом внутри корпуса соосно установлена направляющая, на которой размещен поршень-поплавок, снабженный перепускными патрубками и установленный с возможностью вертикального перемещения вдоль направляющей, причем направляющая выполнена в виде полого трубчатого элемента с отверстиями и с предусмотренным в ее верхней части фиксатором, например по типу съемной крестовины, а нижним концом разъемно закреплена в подпятнике и сообщена с источником сжатого воздуха, при этом на фиксаторе установлен фильтрующий элемент, а фильтрующая засыпка размещена между поршнем-поплавком и фиксатором направляющей; в качестве фильтрующей засыпки использован адсорбент из полимерного материала, например пенополимер-суперадсорбент; адсорбент выполнен в вице гранул и/или хлопьеобразным, и/или в виде их смеси; фильтрующий элемент выполнен в вице металлической сетки, обтянутой синтетическим материалом, преимущественно синтипоном; поршень-поплавок дополнительно снабжен системой регулирования его плавучести; система регулирования плавучести поршня выполнена в виде грузов, размещенных вне корпуса и соединенных с поршнем-поплавком кинематически, преимущественно гибкой связью; перепускные патрубки поршня-поплавка снабжены крышками, установленными с зазором относительно верхнего выходного сечения патрубков; крышки патрубков выполнены горизонтальными, а их диаметр выбран не менее диаметра верхнего выходного сечения патрубков; поршень-поплавок снабжен уплотнительной манжетой, размещенной по его периметру и выполненной из полимерного материала, например поливинилхлорида или полиэтилена, или полипропилена, свидетельствует о соответствии заявляемого технического решения критерию «новизна».
Выполнение корпуса напорного фильтра для очистки льяльных и сточных вод в виде вертикально ориентированной цилиндрической обечайки с верхней открытой частью, размещение патрубка слива на вертикальной стенке корпуса, а патрубка подвода – на вертикальной стенке и/или днище корпуса, выполнение наклонным или конусообразным, или эллиптической формы, или иной, отличной от горизонтальной формы, размещение внутри корпуса соосно направляющей, на которой размещен поршень-поплавок, снабженный перепускными патрубками и установленный с возможностью вертикального перемещения вдоль направляющей, выполнение направляющей в виде полого трубчатого элемента с отверстиями и с предусмотренным в ее верхней части фиксатором, например по типу съемной крестовины, закрепление направляющей нижним концом разъемно в подпятнике и сообщение ее с источником сжатого воздуха, установка на фиксаторе фильтрующего элемента, размещение фильтрующей засыпки между поршнем-поплавком и фиксатором направляющей позволяет повысить эффективность очистки фильтруемой смеси, упростить эксплуатацию и снизить затраты.
Использование в качестве фильтрующей засыпки адсорбента из полимерного материала, например пенополимер-суперадсорбента, позволяет повысить эффективность очистки фильтруемой смеси.
Выполнение адсорбента в виде гранул и/или хлопьеобразным, и/или в виде их смеси позволяет повысить эффективность очистки фильтруемой смеси.
Выполнение фильтрующего элемента в виде металлической сетки, обтянутой синтетическим материалом, преимущественно синтипоном, позволяет повысить эффективность очистки фильтруемой смеси.
Снабжение поршня-поплавка дополнительно системой регулирования его плавучести позволяет упростить эксплуатацию и снизить затраты.
Выполнение системы регулирования плавучести поршня в виде грузов, размещенных вне корпуса и соединенных с поршнем-поплавком кинематически, преимущественно гибкой связью, позволяет упростить эксплуатацию и снизить затраты.
Снабжение перепускных патрубков поршня-поплавка крышками, установленными с зазором относительно верхнего выходного сечения патрубков, позволяет повысить эффективность очистки фильтруемой смеси.
Выполнение крышек патрубков горизонтальными обеспечивает равномерное распределение фильтруемой смеси в слое фильтрующей засыпки, и при этом вследствие того, что диаметр выбран – не менее диаметра верхнего выходного сечения патрубков, также повышается эффективность очистки фильтруемой смеси.
Снабжение поршня-поплавка уплотнительной манжетой, размещенной по его периметру и выполненной из полимерного материала, например поливинилхлорида или полиэтилена, или полипропилена, позволяет упростить эксплуатацию и снизить затраты.
Из вышеизложенного следует, что заявляемый напорный фильтр для очистки льяльных и сточных вод позволяет повысить эффективность очистки фильтруемой смеси от нефтепродуктов и других загрязнений, упростить эксплуатацию устройства и снизить затраты на его техническое обслуживание, т.е. обеспечивает технический результат, который достигается новой совокупностью существенных признаков, что свидетельствует о соответствии заявляемого технического решения критерию «изобретательский уровень».
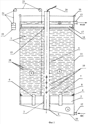
Сущность изобретения поясняется чертежами, где на фиг.1 схематично изображен напорный фильтр для очистки льяльных и сточных вод (разрез по диаметральной плоскости), на фиг.2 – крестовина (разрез по диаметральной плоскости), на фиг.3 – поршень-поплавок (разрез по диаметральной плоскости).
Примером конкретного выполнения предлагаемого технического решения является напорный фильтр для очистки льяльных и сточных вод. Напорный фильтр содержит вертикально ориентированный корпус 1, выполненный в виде полого цилиндра, например из стандартной стальной трубы магистрального трубопровода диаметром 1220 мм. Внутри корпуса (1) размещен имеющий положительную плавучесть поршень-поплавок (П-П) 2, который (2) выполнен в виде герметичного пустотелого цилиндра, имеющего сквозное отверстие 3, центр которого (3) совмещен с продольной осью П-П 2. Кроме того, П-П 2 в верхней части снабжен уплотнительной манжетой 4, выполненной из полимерного материала, например поливинилхлорида (ПВХ), которая (4) контактирует с внутренней поверхностью корпуса (1). П-П 2 установлен с возможностью вертикального перемещения внутри корпуса (1) вдоль направляющей трубы 5, продольная ось которой (5) совмещена с продольной осью корпуса (1). В корпусе П-П 2 установлены перепускные патрубки (трубы) 6, предназначенные для перепуска фильтруемой смеси (ФС) из подпоршневой полости А корпуса (1) в его надпоршневую полость Б (см. фиг.1). Перепускные патрубки 6 снабжены крышками 7, установленными с зазором 8 над верхним выходным сечением (торцом) патрубков 6, который (8) обеспечивает «рассеивание» струи ФС в надпоршневой полости Б при поступлении ФС в нее (полость Б) через патрубки 6. Для лучшего «рассеивания» струи ФС в полости Б крышки 7 могут быть выполнены, например, в виде горизонтальных пластин в виде круга, при этом их (7) диаметр выбран по величине не менее диаметра перепускных патрубков 6 (см. фиг.1 и 3). Труба (5) нижним концом зафиксирована в стальном подпятнике 9, выполненном в виде полого цилиндра, и который (9) жестко, например при помощи сварки, закреплен на внутренней поверхности днища 10 корпуса 1.
Днище 10 установлено под углом (наклонно) к его (1) продольной оси и жестко, например при помощи сварки, соединено с указанным корпусом (1). Такое выполнение днища 10 обеспечивает образование полости А (см. фиг.1), в которую подают ФС, а также исключает возможность «прилипания» П-П 2 к днищу 10. На вертикальной наружной стенке 11 корпуса 1 в его (1) нижней части установлен приемный патрубок 12, предназначенный для подачи фильтруемой смеси во внутреннюю полость А корпуса (1), который (12) соединен, например, через систему трубопроводов с клапанами, контрольно-измерительными приборами (КИП) и насосом с емкостью ФС (не показано). Патрубок 12 может быть размещен как на вертикальной стенке 11 корпуса 1 (см. фиг.1), так и на днище 10 (не показано). На вертикальной стенке 11 в верхней части корпуса (1) установлен сливной патрубок 13, предназначенный для слива очищенной воды из внутренней полости корпуса (1), например, в емкость очищенной воды (не показано) или контрольную секцию (не показано).
В верхней части труба (5) зафиксирована относительно корпуса (1) фиксатором, выполненным, например, в виде съемной центрующей крестовины 14 с отверстием 15 в ее (14) центре. Для крепления крестовины (14) к корпусу (1) предусмотрены кронштейны 16 Г-образной формы, жестко, например при помощи сварки, соединенные с указанной крестовиной (14). На крестовине (14) предусмотрена установка дополнительного доочистного фильтра 17, выполненного в форме корзины с днищем из металлической сетки, обтянутой фильтрующим материалом (тканью), например материалом «Синтипон». Надпоршневая полость Б корпуса (1) заполнена фильтрующим агентом из сорбирующего материала (адсорбента) из полимерного материала, например пенополимер-суперадсорбентом (ППСА) 18, который может быть выполнен в виде хлопьев (хлопьеобразным) или в виде гранул, или их смеси. Для «разрежения» слоя ППСА (18) в полости Б корпуса (1) при его (18) чрезмерном насыщении нефтепродуктами (т.е. для предотвращения «слеживания» слоя ППСА 18) в трубе (5) предусмотрены концентрические отверстия 19, преимущественно в ее (5) нижней трети по высоте, для периодической подачи сжатого воздуха в полость Б корпуса (1). Сжатый воздух подают в трубу (5) от источника сжатого воздуха, например компрессора (не показано), который сообщен с входным сечением трубы (5) при помощи гибкого шланга 20. Кроме того, П-П (2) снабжен также системой 21 повышения положительной плавучести, состоящей из грузов 22, соединенных кинематически с П-П (2), например через трособлочную систему 23. Система 21 предназначена для обеспечения предотвращения возможного чрезмерного «разрежения» слоя ППСА (18) при прокачке через него (18) ФС и при применении ППСА с различной (в частности, большей) объемной плотностью.
Подготовка к работе: заполняют корпус 1 водой через патрубок 12, используя систему трубопроводов с клапанами, КИП и насосом, до достижения уровня несколько ниже его (1) верхнего среза. Затем П-П 2 насаживают на трубу 5 и вводят (опускают) внутрь корпуса 1. Потом заполняют свободный объем корпуса 1 над П-П 2 ППСА 18 и производят откачку воды из корпуса 1, используя систему трубопроводов с клапанами, КИП и насосом (не показано), обеспечивая таким образом опускание П-П 2 вниз до предельно нижнего уровня (см. фиг.1), и, одновременно, производят при этом заполнение освободившегося объема полости Б корпуса 1 ППСА 18. Затем устанавливают на трубу 5 центрующую крестовину 14 с фильтром 17, присоединяют грузы 22 к трособлочной системе 23. Подключают к трубе 5 при помощи гибкого шланга 20 источник сжатого воздуха (не показано) и, используя систему трубопроводов с клапанами, КИП и насосом (не показано), заполняют корпус 1 ФС. Останавливают насос (на 30 минут) до насыщения ППСА 18 ФС. Фильтр готов к работе. Выгрузку отработанного ППСА 18 осуществляют, выполняя вышеперечисленные действия в обратном порядке.
Фильтр работает следующим образом. Через патрубок 12, например, с помощью насоса (не показано) ФС подают под давлением в полость А корпуса 1. Затем ФС через патрубки 6, снабженные крышками 7, перепускают в полость Б. В полости Б посредством ППСА 18 осуществляют очистку ФС от нефтепродуктов и других примесей, пропуская ФС под заранее заданным давлением через слой ППСА 18. Затем ФС фильтруют через фильтр 17. Очищенная смесь (вода) поступает в полость В корпуса 1, находящуюся над фильтром 17, затем через патрубок 13 ее (воду) сливают в емкость очищенной воды (не показано). Контроль за качеством очищенной воды в полости В осуществляют визуально и в случае появления «пятен» на поверхности воды прекращают процесс очистки, производят выгрузку загрязненного ППСА 18, затем – загрузку чистого ППСА 18. После этого продолжают очистку ФС.
При наличии источников энергии для улучшения условий очистки ФС выбранным адсорбентом (ППСА) ФС предварительно до поступления в полость А нагревают, например, при помощи змеевикового парообменника (не показано) до температуры 35-45°С.
При необходимости предотвращения излишнего «разрежения» слоя адсорбента ППСА 18 при прокачке через него ФС в полости Б корпуса 1, в случае использования ППСА 18 с большей объемной плотностью (например, в виде гранул), слой адсорбента периодически подвергают уплотнению посредством механического поджатия последнего при помощи П-П 2, используя для этой цели систему 21 повышения положительной плавучести П-П 2.
В другом случае при необходимости «разрежения» слоя адсорбента ППСА 18 в полости Б корпуса 1 при его (18) чрезмерном насыщении нефтепродуктами (т.е. для предотвращения, т.е. «слеживания» («слипания») слоя ППСА 18) осуществляют подачу воздуха сквозь слой ППСА 18 в полости Б от компрессора (не показано) через шланг 20, подключенный к верхнему входному сечению трубы 5, и далее через предусмотренные в трубе 5 концентрические отверстия 19. Подачу воздуха через слой адсорбента производят периодически.
Возможен вариант, при котором фильтрующая засыпка – адсорбент (ППСА 18) – размещена не только в полости Б корпуса 1, т.е. между поршнем-поплавком 2 и фиксатором (крестовины 14) с дополнительным доочистным фильтром 17, но и в полости А, т.е. между наклонным днищем 10 корпуса 1 и поршнем-поплавком 2, что может повысить эффективность очистки ФС. Однако такое размещение фильтрующей засыпки создает некоторую сложность ее удаления из полости А.
Формула изобретения
1. Напорный фильтр для очистки льяльных и сточных вод, содержащий корпус с фильтрующей засыпкой, патрубками подвода фильтруемой смеси и слива очищенной воды, отличающийся тем, что корпус выполнен в виде вертикально ориентированной цилиндрической обечайки с верхней открытой частью, причем патрубок слива размещен на вертикальной стенке корпуса, а патрубок подвода – на вертикальной стенке и/или днище корпуса, которое выполнено наклонным, или конусообразным, или эллиптической формы, или иной, отличной от горизонтальной формы, при этом внутри корпуса соосно установлена направляющая, на которой размещен поршень-поплавок, снабженный перепускными патрубками и установленный с возможностью вертикального перемещения вдоль направляющей, причем направляющая выполнена в виде полого трубчатого элемента с отверстиями и с предусмотренным в ее верхней части фиксатором, например по типу съемной крестовины, а нижним концом разъемно закреплена в подпятнике и сообщена с источником сжатого воздуха, при этом на фиксаторе установлен фильтрующий элемент, а фильтрующая засыпка размещена между поршнем-поплавком и фиксатором направляющей.
2. Напорный фильтр по п.1, отличающийся тем, что в качестве фильтрующей засыпки использован адсорбент из полимерного материала, например пенополимер-суперадсорбент.
3. Напорный фильтр по п.1 или 2, отличающийся тем, что адсорбент выполнен в виде гранул, и/или хлопьеобразным, и/или в виде их смеси.
4. Напорный фильтр по п.3, отличающийся тем, что фильтрующий элемент выполнен в виде металлической сетки, обтянутой синтетическим материалом, преимущественно синтипоном.
5. Напорный фильтр по п.4, отличающийся тем, что поршень-поплавок дополнительно снабжен системой регулирования его плавучести.
6. Напорный фильтр по п.5, отличающийся тем, что система регулирования плавучести поршня выполнена в виде грузов, размещенных вне корпуса и соединенных с поршнем-поплавком кинематически, преимущественно гибкой связью.
7. Напорный фильтр по п.6, отличающийся тем, что перепускные патрубки поршня-поплавка снабжены крышками, установленными с зазором относительно верхнего выходного сечения патрубков.
8. Напорный фильтр по п.7, отличающийся тем, что крышки патрубков выполнены горизонтальными, а их диаметр выбран не менее диаметра верхнего выходного сечения патрубков.
9. Напорный фильтр по п.1, отличающийся тем, что поршень-поплавок снабжен уплотнительной манжетой, размещенной по его периметру и выполненной из полимерного материала, например поливинилхлорида, или полиэтилена, или полипропилена.
РИСУНКИ
|
|