|
|
(21), (22) Заявка: 2007120566/11, 25.05.2007
(24) Дата начала отсчета срока действия патента:
25.05.2007
(46) Опубликовано: 20.12.2008
(56) Список документов, цитированных в отчете о поиске:
RU 2005118707 А, 27.12.2006. RU 2211722 С1, 10.09.2003. US 4299699 А, 10.11.1981. GB 2035118 А, 18.06.1980.
Адрес для переписки:
196070, Санкт-Петербург, а/я 44, пат.пов. С.М.Коготкову
|
(72) Автор(ы):
Тунитовский Валерий Владимирович (RU)
(73) Патентообладатель(и):
Тунитовский Валерий Владимирович (RU)
|
(54) СПОСОБ ОЧИСТКИ ЛЬЯЛЬНЫХ И СТОЧНЫХ ВОД ОТ НЕФТЕПРОДУКТОВ И ДРУГИХ ЗАГРЯЗНЕНИЙ И УСТРОЙСТВО ДЛЯ ЕГО ОСУЩЕСТВЛЕНИЯ
(57) Реферат:
Изобретение предназначено для очистки жидкостей от растворенных и взвешенных веществ, а именно для очистки судовых льяльных вод, а также может быть использовано для очистки сточных вод промышленных предприятий и в коммунальном хозяйстве. Способ очистки включает сорбцию и флотацию, причем фильтруемую смесь подают под давлением. На начальном участке движения потока сначала проводят флотацию, а на последующем – одновременно с флотацией осуществляют адсорбцию. Устройство содержит корпус с фильтрующей засыпкой, патрубками подвода фильтруемой смеси и слива очищенной воды. Корпус выполнен в виде вертикальной обечайки с верхней открытой частью и наклонным днищем. Патрубок слива размещен на стенке корпуса, а патрубок подвода – на стенке и/или днище корпуса. Внутри корпуса установлена направляющая, выполненная в виде полого элемента с отверстиями и фиксатором, сообщенная с источником сжатого воздуха. На этой направляющей установлен с возможностью вертикального перемещения поршень-поплавок, снабженный перепускными патрубками. Технический результат – повышение эффективности очистки фильтруемой смеси от нефтепродуктов и других загрязнений, упрощение и повышение удобства эксплуатации устройства с одновременным снижением затрат на его техническое обслуживание и эксплуатацию. 2 н. и 15 з.п. ф-лы, 4 ил.
Изобретение предназначено для очистки жидкостей от растворенных и взвешенных веществ, а именно для очистки судовых льяльных вод, а также может быть использовано для очистки сточных вод промышленных предприятий и в коммунальном хозяйстве.
Известны технологии по очистке промышленных и сточных вод от нефтепродуктов, например «Способ очистки сточных вод от нефтепродуктов» (см. описание изобретения к патенту РФ №2201897, кл. C02F 1/28, B01D 39/06, опубл. 2003.04.10, бюл. №10). В указанном способе осуществляют фильтрацию загрязненной воды через сорбент, а в качестве сорбента используют кварцевый песок, модифицированный синтетической жирной кислотой мыловаренной фракции.
Недостатками указанного технического решения являются: невозможность очистки загрязненной воды от других примесей, например металлов, невозможность применения данного способа в промышленных масштабах, необходимость разработки и изготовления специального оборудования для реализации данной технологии, большие затраты, связанные с регенерацией или утилизацией отработанного сорбента.
Известно другое техническое решение, а именно «Способ очистки оборотных и сточных вод и модульный кассетный очиститель для осуществления способа» (см. описание изобретения к патенту РФ №2286198, кл. B01D 27/14, C02F 1/40, опубл. 2006.10.27, бюл. №30). В данном способе очистку воды от масла и нефтепродуктов осуществляют путем многостадийной последовательной фильтрации через фильтры, которые выполнены в виде полых патронов, заполненных насыпным фильтровальным материалом, в качестве которого используют для очистки от масла – мелкодисперсный гранулированный опалкристобаллит, а для очистки от нефтепродуктов – мелкодисперсный полифан-энтеросорбент и т.д.
Недостатком указанного аналога является необходимость использования для каждого вида загрязнения (маслами, нефтепродуктами, металлами и т.д.) разного фильтровального материала, что ведет к увеличению количества фильтров, т.е. увеличению размеров установки и затрат на ее эксплуатацию.
Также известен «Способ разделения водонефтяных эмульсий» (см. заявку на изобретение №2005113856, кл. B01D 17/06, опубл. 10.11.2006, бюл. №31). Указанной способ заключается в смешении водонефтяной эмульсии с разбавителем, в качестве которого используют намагничивающуюся жидкость с растворителем (бензиновые фракции, керосин и т.п.), при этом процесс разделения на фазы: углеводородную и намагничивающуюся жидкость с извлеченной из эмульсии водой осуществляют в магнитном сепараторе с последующей концентрацией последней и возвращением ее на стадию смешения с исходной водонефтяной эмульсией.
Недостатками указанного способа являются: сложность процесса, необходимость наличия дополнительного оборудования для создания намагничивающейся жидкости и концентрации ее после сепарации, а также повышенная взрывоопасность процесса, связанная с использованием бензиновых фракции и керосина.
Наиболее близким по своей технической сущности аналогом (прототипом) является «Способ и устройство для очистки промышленных технологических и сточных вод от нефтепродуктов и других загрязнений» (см. заявку на изобретение №2005118707, кл. C02F 1/24, опубл. 27.12.2006, бюл. №36). В указанном способе осуществляют коагуляцию, сорбцию, флотацию и пенную сепарацию очищаемой смеси в одном объеме в присутствии в процессе гидрофобизированного вермикулитового сорбента тонких фракций.
Недостатками указанного технического решения являются: невозможность применения данного способа в промышленных масштабах, большие затраты, связанные с регенерацией или утилизацией отработанного сорбента.
Также известны устройства для очистки жидкостей, например «Фильтр для очистки жидкостей» (см. описание изобретения к а.с. СССР №1282385, кл. В01D 24/38, опубл. 1995.02.27, бюл. №6). Указанный фильтр состоит из корпуса, верхнего и нижнего эллиптических днищ, верхнего распределительного устройства, плоского промежуточного дна, размещенного в нижней части корпуса, и слоя зернистой загрузки, расположенной на промежуточном дне. На промежуточном дне закреплены дренажные элементы, верхняя часть которых выполнена перфорированной для дренирования фильтрата через промежуточное дно, а нижняя – имеет патрубок с боковым отверстием и заглушку на нижнем торце патрубка. К заглушке прикреплен стержень, установленный с возможностью вертикального перемещения до упора в нижнее эллиптическое днище и выполняющий функцию дополнительной опоры для промежуточного дна.
Недостатками указанного устройства являются: низкая эффективность очистки фильтруемой смеси от нефтепродуктов, большие затраты на регенерацию зернистой загрузки.
Известно устройство для очистки жидкостей, например «Фильтр для разделения суспензий» (см. описание изобретения к патенту РФ №2035199, кл. B01D 24/28, опубл. 20.05.1995, бюл. №18). Указанный фильтр содержит вертикальный корпус с патрубками для ввода и вывода разделяемой суспензии, ввода и вывода газа под давлением, вывода фильтрата. В корпусе имеются две горизонтальные решетки, образующие рабочую камеру, в которой расположен фильтрующий материал. Материал состоит из незакрепленных нитей и плавающих в суспензии гранул фильтрующего материала.
Недостатками указанного фильтра являются: малая производительность и низкая эффективность очистки фильтруемой смеси от нефтепродуктов и других загрязнений, большие временные затраты на регенерацию фильтрующего материала.
Наиболее близким по своей технической сущности аналогом (прототипом) устройства является «Напорный фильтр для очистки жидкостей» (см. описание изобретения к патенту РФ №2211722, кл. B01D 24/10, опубл. 10.09.2003, бюл. №25). Указанный фильтр состоит из цилиндрического корпуса с эллиптическими днищами, дренажных днищ с дренажными колпачками и зернистой загрузки, помещенной между дренажными днищами, при этом дренажные днища механически связаны друг с другом в направлении потока пропускаемой через фильтр жидкости при помощи тяг, смонтированных в отверстиях дренажных днищ и состоящих из прутков, рабочих гаек, шайб, соединительной муфты, контргаек и прокладок.
Недостатками указанного аналога (прототипа) являются: низкая эффективность очистки фильтруемой смеси от нефтепродуктов и других загрязнений, сложность эксплуатации устройства, большие затраты на регенерацию зернистой загрузки.
Технический результат, обеспечиваемый заявляемым изобретением, заключается в повышении эффективности очистки фильтруемой смеси от нефтепродуктов и других загрязнений, в том числе в производственных масштабах, упрощение и повышении удобства эксплуатации устройства с одновременным снижением затрат на его техническое обслуживание и эксплуатацию.
Технический результат достигается тем, что в способе очистки льяльных и сточных вод от нефтепродуктов и других загрязнений посредством пропускания фильтруемой смеси сквозь слой адсорбента, включающий сорбцию и флотацию, в соответствии с заявляемым техническим решением, в отличие от прототипа, фильтруемую смесь подают под давлением и осуществляют движение потока фильтруемой смеси снизу вверх, при этом на начальном участке движения потока сначала проводят флотацию, а на последующем – одновременно с флотацией осуществляют адсорбцию.
В общем случае после флотации и адсорбции осуществляют фильтрацию смеси через фильтр, преимущественно, мембранного типа. Кроме того, предварительно осуществляют нагрев фильтруемой смеси, преимущественно, до температуры 35-45 С°. Кроме того, во время проведения адсорбции одновременно осуществляют аэрацию фильтруемой смеси путем подачи воздуха, причем аэрацию проводят периодически. В процессе очистки, по мере необходимости, слой адсорбента периодически подвергают уплотнению, например, посредством механического поджатая. В качестве адсорбента используют полимерный материал, например, пенополимер-суперадсорбент, а в качестве фильтра мембранного типа используют синтипон. После прохода через фильтр контроль качества очистки фильтруемой смеси осуществляют визуально.
Технический результат достигается также тем, что в устройстве для очистки льяльных и сточных вод от нефтепродуктов и других загрязнений, содержащем корпус с фильтрующей засыпкой, патрубки подвода фильтруемой смеси и слива очищенной воды, в соответствии с заявляемым техническим решением, в отличие от прототипа, корпус выполнен в виде вертикально ориентированной цилиндрической обечайки с верхней открытой частью, а днище обечайки выполнено наклонным, причем патрубок слива размещен на вертикальной стенке корпуса, а патрубок подвода – на вертикальной стенке и/или днище корпуса, при этом внутри корпуса соосно установлена направляющая, на которой размещен поршень-поплавок, снабженный перепускными патрубками и установленный с возможностью вертикального перемещения вдоль направляющей, причем направляющая выполнена в виде полого трубчатого элемента с отверстиями и с предусмотренным в ее верхней части фиксатором, например по типу съемной крестовины, а нижним концом разъемно закреплена в подпятнике, и сообщена с источником сжатого воздуха, а поршень-поплавок дополнительно снабжен системой регулирования его плавучести.
В качестве фильтрующей засыпки использован адсорбент из полимерного материала, например, пенополимер-суперадсорбент, а фильтрующая засыпка в общем случае размещена в всем объеме корпуса, а в частном случае – между поршнем-поплавком и фиксатором (съемной крестовиной) направляющей, причем в обоих вариантах конструкции на фиксаторе (крестовине) установлен фильтрующий элемент, выполненный в виде металлической сетки, обтянутой синтетическим материалом, преимущественно, синтипоном.
Система регулирования плавучести поршня может быть выполнена в виде грузов, размещенных вне корпуса и соединенных с поршнем-поплавком кинематически, преимущественно, гибкой связью.
Перепускные патрубки поршня-поплавка снабжены крышками, установленными с зазором относительно верхнего выходного сечения патрубков, а в крышках патрубков выполнены отверстия. Крышки патрубков могут быть выполнены горизонтальными и/или в виде полусфер, и/или иной формы, обеспечивающей равномерное распределение фильтруемой смеси в слое фильтрующей засыпки. На практике для обеспечения равномерного распределения фильтруемой смеси в слое фильтрующей засыпки, необходимо и достаточно снабжение поршня – поплавка, по меньшей мере двумя, перепускными патрубками, установленными симметрично относительно вертикальной оси корпуса.
Поршень-поплавок снабжен уплотнительной манжетой, размещенной по его периметру и выполненной из полимерного материала, например поливинилхлорида или полиэтилена, или полипропилена.
Наличие отличительных признаков, а именно то, что в способе очистки льяльных и сточных вод от нефтепродуктов и других загрязнений: фильтруемую смесь подают под давлением и осуществляют движение потока фильтруемой смеси снизу вверх, при этом на начальном участке движения потока сначала проводят флотацию, а на последующем – одновременно с флотацией осуществляют адсорбцию; после флотации и адсорбции осуществляют фильтрацию смеси через фильтр, преимущественно, мембранного типа; предварительно осуществляют нагрев фильтруемой смеси, преимущественно, до температуры 35-45 С°; во время проведения адсорбции одновременно осуществляют аэрацию фильтруемой смеси, причем аэрацию проводят периодически; слой последнего (адсорбента) периодически подвергают уплотнению, например, посредством механического поджатия; в качестве адсорбента используют полимерный материал, например пенополимер-суперадсорбент; в качестве фильтра мембранного типа используют синтипон; контроль качества очистки фильтруемой смеси осуществляют визуально, а в устройстве для очистки льяльных и сточных вод от нефтепродуктов и других загрязнений: корпус выполнен в виде вертикально ориентированной цилиндрической обечайки с верхней открытой частью, а днище обечайки выполнено наклонным, причем патрубок слива размещен на вертикальной стенке корпуса, а патрубок подвода – на вертикальной стенке и/или днище корпуса, при этом внутри корпуса соосно установлена направляющая, на которой размещен поршень-поплавок с перепускными патрубками и установленный с возможностью вертикального перемещения вдоль направляющей, причем направляющая выполнена в виде полого трубчатого элемента с отверстиями и с предусмотренным в ее верхней части фиксатором, например по типу съемной крестовины, а нижним концом разъемно закреплена в подпятнике и сообщена с источником сжатого воздуха, а поршень-поплавок дополнительно снабжен системой регулирования его плавучести; в качестве фильтрующей засыпки использован адсорбент из полимерного материала, например, пенополимер-суперадсорбент; фильтрующая засыпка размещена между поршнем-поплавком и фиксатором направляющей; на фиксаторе установлен фильтрующий элемент, выполненный в виде металлической сетки, обтянутой синтетическим материалом, преимущественно, синтипоном; система регулирования плавучести поршня выполнена в виде грузов, размещенных вне корпуса и соединенных с поршнем-поплавком кинематически, преимущественно, гибкой связью; перепускные патрубки поршня-поплавка снабжены крышками, установленными с зазором относительно верхнего выходного сечения патрубков; в крышках патрубков выполнены отверстия; крышки патрубков выполнены горизонтальными и/или в виде полусфер, и/или иной формы, обеспечивающей равномерное распределение фильтруемой смеси в слое фильтрующей засыпки; поршень-поплавок снабжен уплотнительной манжетой, размещенной по его периметру и выполненной из полимерного материала, например поливинилхлорида или полиэтилена, или полипропилена, свидетельствует о соответствии заявляемого технического решения критерию «новизна».
Применение подачи фильтруемой смеси под давлением и осуществление (восходящего) движения потока фильтруемой смеси снизу вверх, при котором на начальном участке движения потока сначала проводят флотацию, а на последующем – одновременно с флотацией осуществляют адсорбцию, позволяет повысить эффективность очистки фильтруемой смеси.
Осуществление фильтрации смеси через фильтр, преимущественно, мембранного типа после флотации и адсорбции также позволяет повысить эффективность очистки фильтруемой смеси.
Осуществление предварительного нагрева фильтруемой смеси, преимущественно, до температуры 35-45°С позволяет повысить эффективность очистки фильтруемой смеси.
Проведение во время адсорбции аэрации фильтруемой смеси, которую проводят периодически путем подачи воздуха, позволяет повысить эффективность очистки фильтруемой смеси.
Периодическое уплотнение слоя адсорбента, например, посредством механического поджатия, позволяет повысить эффективность очистки фильтруемой смеси.
Использование в качестве адсорбента полимерного материала, например пенополимер-суперадсорбента, позволяет повысить эффективность очистки фильтруемой смеси.
Использование в качестве фильтра мембранного типа синтипона позволяет повысить эффективность очистки фильтруемой смеси.
Осуществление контроля качества очистки фильтруемой смеси визуально позволяет упростить эксплуатацию и снизить затраты.
Выполнение корпуса в виде вертикально ориентированной цилиндрической обечайки с верхней открытой частью, выполнение днища обечайки наклонным, размещение патрубка слива на вертикальной стенке корпуса, а патрубка подвода – на вертикальной стенке и/или днище корпуса, размещение внутри корпуса соосно направляющей, на которой размещен поршень-поплавок, снабженный перепускными патрубками и установленный с возможностью вертикального перемещения вдоль направляющей, выполнение направляющей в виде полого трубчатого элемента с отверстиями и с предусмотренным в ее верхней части фиксатором, например по типу съемной крестовины, закрепление направляющей нижним концом разъемно в подпятнике и сообщение ее с источником сжатого воздуха, снабжение поршня-поплавка дополнительно системой регулирования его плавучести позволяет упростить эксплуатацию и снизить затраты.
Использование в качестве фильтрующей засыпки адсорбента из полимерного материала, например пенополимер-суперадсорбента, позволяет повысить эффективность очистки фильтруемой смеси.
Размещение фильтрующей засыпки как во всем объеме корпуса, так и только между поршнем-поплавком и крестовиной направляющей, а также установка на крестовине направляющей фильтрующего элемента позволяют повысить эффективность очистки фильтруемой смеси.
Выполнение фиксатора направляющей в виде съемной крестовины, на которой установлен фильтрующий элемент, выполненный в виде металлической сетки, обтянутой синтетическим материалом, преимущественно синтипоном, позволяет повысить эффективность очистки фильтруемой смеси.
Выполнение системы регулирования плавучести поршня в виде грузов, размещенных вне корпуса и соединенных с поршнем-поплавком кинематически, преимущественно гибкой связью, позволяет упростить эксплуатацию и снизить затраты.
Снабжение перепускных патрубков поршня-поплавка крышками, установленными с зазором относительно верхнего выходного сечения патрубков позволяет повысить эффективность очистки фильтруемой смеси.
Выполнение в крышках патрубков отверстий позволяет повысить эффективность очистки фильтруемой смеси.
Выполнение крышек патрубков горизонтальными и/или в виде полусфер, и/или иной формы, обеспечивающей равномерное распределение фильтруемой смеси в слое фильтрующей засыпки позволяет повысить эффективность очистки фильтруемой смеси.
Снабжение поршня-поплавка уплотнительной манжетой, размещенной по его периметру и выполненной из полимерного материала, например поливинилхлорида, или полиэтилена, или полипропилена, позволяет упростить эксплуатацию и снизить затраты.
Из вышеизложенного следует, что заявляемые способ очистки льяльных и сточных вод от нефтепродуктов и других загрязнений и устройство для его осуществления позволяют повысить эффективность очистки фильтруемой смеси от нефтепродуктов и других загрязнений, упростить эксплуатацию устройства и снизить затраты на его техническое обслуживание, т.е. обеспечивают технический результат, который достигается новой совокупностью существенных признаков, что свидетельствует о соответствии заявляемого технического решения критерию «изобретательский уровень».
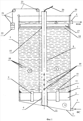
Сущность изобретения поясняется чертежами, где на фиг.1 схематично изображено устройство для очистки льяльных и сточных вод от нефтепродуктов и других загрязнений (разрез по диаметральной плоскости), на фиг.2 – поршень-поплавок (разрез по диаметральной плоскости), на фиг.3 – поршень-поплавок (вид сверху), на фиг.4 – крестовина (вид сбоку).
Примером конкретного выполнения предлагаемого технического решения является устройство для очистки льяльных и сточных вод от нефтепродуктов и других загрязнений, посредством которого реализуют заявляемый способ очистки льяльных и сточных вод от нефтепродуктов и других загрязнений. Устройство содержит вертикально ориентированный корпус 1, выполненный в виде полого цилиндра, например, из стандартной стальной трубы магистрального трубопровода диаметром 1220 мм. В нижней части корпус (1) снабжен днищем 2, установленным под углом (наклонно) к его (1) продольной оси и жестко, например, при помощи сварки, соединенным с указанным корпусом (1). В нижней части корпуса (1) установлен приемный патрубок 3, предназначенный для подачи фильтруемой смеси (ФС) во внутреннюю полость корпуса (1), который (3) соединен, например, через систему трубопроводов с клапанами, контрольно-измерительными приборами (КИП) и насосом с емкостью ФС (не показано). Патрубок 3 может быть размещен на вертикальной стенке корпуса 1 (см. фиг.1) и/или на днище 2 (не показано). В верхней части корпус (1) снабжен сливным патрубком 4, предназначенным для слива очищенной воды из внутренней полости корпуса (1), например, в емкость очищенной воды (не показано) или контрольную секцию (не показано). Внутри корпуса (1) размещен, имеющий положительную плавучесть, поршень-поплавок (П-П) 5, который (5) выполнен в виде герметичного пустотелого цилиндра, имеющего сквозное отверстие 6, центр которого (6) совмещен с продольной осью П-П 5. Кроме того, П-П 5 в верхней части снабжен уплотнительной манжетой 7, выполненной из полимерного материала, например, поливинилхлорида (ПВХ), которая (7) контактирует с внутренней поверхностью корпуса (1). П-П 5 установлен с возможностью вертикального перемещения внутри корпуса (1) вдоль направляющей трубы 8, продольная ось которой (8) совмещена с продольной осью корпуса (1). В корпусе П-П 5 установлены перепускные патрубки (трубы) 9, предназначенные для перепуска ФС из подпоршневой полости А корпуса (1) в его надпоршневую полость Б (см. фиг.1). Перепускные патрубки 9 снабжены крышками 10, установленными с зазором 11 над верхним выходным сечением (торцом) патрубков 9, который (11) обеспечивает «рассеивание» струи ФС в надпорпшевой полости Б при поступлении ФС в нее (полость Б) через патрубки 9. Крышки 10 могут быть выполнены, например, в виде горизонтальных пластин в виде круга (см. фиг.1) и/или в виде полусфер (см. фиг.2). Для лучшего «рассеивания» струи ФС в полости Б в крышках 10 выполнены отверстия 12 (см. фиг.2 и 3). Труба (8) нижним концом зафиксирована в стальном подпятнике 13, выполненном в виде полого цилиндра, и который (13) жестко, например при помощи сварки, закреплен на внутренней поверхности днища (2). В верхней части труба (8) зафиксирована относительно корпуса (1) фиксатором, выполненным, например, в виде съемной центрующей крестовины 14 с отверстием 15 в ее (14) центре. Для крепления крестовины (14) к корпусу (1) предусмотрены кронштейны 16 Г-образной формы, жестко, например при помощи сварки, соединенные с указанной крестовиной (14). На крестовине (14) предусмотрена установка дополнительного доочистного фильтра 17, выполненного в форме корзины с днищем из металлической сетки, обтянутой фильтрующим материалом (тканью), например материалом «Синтипон» (см. Приложение 1 или сайт www.topteh.ru). Надпоршневая полость Б корпуса (1) заполнена фильтрующим агентом из сорбирующего материала (адсорбента) из полимерного материала, например пенополимер-суперадсорбента (ППСА) 18, который может быть выполнен в виде хлопьев (хлопьеобразным) или в виде гранул, или их смеси (см. Приложение 2 или сайт www.rscac.sp.ru). В трубе 8 предусмотрены концентрические отверстия 19, преимущественно в ее (8) нижней трети по высоте, для периодической подачи сжатого воздуха в полость Б корпуса (1). Сжатый воздух подают в трубу (8) от источника сжатого воздуха, например компрессора (не показано), который сообщен с входным сечением трубы (8) при помощи гибкого шланга 20. Кроме того, П-П (5) снабжен также системой 21 для повышения его (5) положительной плавучести, состоящей из грузов 22, соединенных кинематически с П-П (5), например, через трособлочную систему 23. Система 21 предназначена для обеспечения предотвращения возможного чрезмерного «разрежения» слоя ППСА (18) при прокачке через него (18) ФС и при применении ППСА с различной (в частности, большей) объемной плотностью.
Предложенный способ очистки льяльных и сточных вод от нефтепродуктов и других загрязнений реализуют с помощью заявленного устройства следующим образом.
Например с помощью насоса (на черт. не показано) ФС подают под давлением в полость А корпуса 1, где проводят флотацию ФС. Затем ФС через патрубки 9, снабженные крышками 10 с отверстиями 11, перепускают в полость Б. В полости Б одновременно с флотацией осуществляют адсорбцию ФС от нефтепродуктов и других примесей, пропуская ФС через слой ППСА 18. Затем ФС фильтруют через фильтр 17. Очищенная смесь (вода) поступает в полость В корпуса 1, находящуюся над фильтром 17, затем через патрубок 4 ее сливают в емкость очищенной воды (не показано). Контроль за качеством очищенной воды в полости В осуществляют визуально и в случае появления «пятен» на поверхности воды прекращают процесс очистки, проводят выгрузку загрязненного ППСА 18, затем загрузку чистого ППСА 18. После этого продолжают очистку ФС.
Степень очистки может контролироваться как визуально, так и при помощи технических средств непрерывного контроля, например аппарата «Флюорат-411» – сигнализатора превышения допустимого нефтесодержания на выходе очищаемой воды, например, не больше величины – 0,5 ppm. При этом фильтр может быть дополнительно оборудован устройством для регулирования расхода фильтруемой смеси, что позволяет сохранять степень очистки в требуемых пределах в процессе насыщения адсорбента отделенными (поглощенными) нефтепродуктами.
Для улучшения условий очистки ФС адсорбентом (ППСА) ФС предварительно, до поступления в полость А нагревают, например, при помощи змеевикового парообменника (не показано) до температуры 35-45°С, при которой значительно повышается качество и скорость очистки.
При необходимости предотвращения «разрежения» слоя адсорбента ППСА 18 при прокачке через него ФС в полости Б корпуса 1, в случае использования ППСА 18 с большей объемной плотностью (например, в виде гранул), слой адсорбента периодически подвергают уплотнению, например, посредством его механического поджатия при помощи П-П 5, используя для этой цели систему 21 повышения положительной плавучести П-П 5.
В другом случае при необходимости «разрежения» слоя адсорбента ППСА 18 в полости Б корпуса 1 при его (18) чрезмерном насыщении нефтепродуктами (т.е. для предотвращения т.н. «слеживания» («слипания») слоя ППСА 18) осуществляют аэрацию ФС путем подачи воздуха сквозь слой ППСА 18 в полость Б от компрессора (не показано) через шланг 20, подключенный к верхнему входному сечению трубы 8 и далее через предусмотренные в трубе 8 концентрические отверстия 19. Аэрацию ФС в слое адсорбента проводят периодически.
В общем случае выполнения конструкции заявленного устройства фильтрующую засыпку – адсорбент (ППСА 18) размещают во всем объеме корпуса 1: как в полости Б корпуса 1, т.е. между поршнем-поплавком 5 и фиксатором (крестовины 14) с дополнительным доочистным фильтром 17, так и в полости А, т.е. между днищем 2 корпуса 1 и поршнем-поплавком 5. При таком размещении фильтрующей засыпки – во всем объеме корпуса 1 процессы флотации и адсорбции начинают осуществлять одновременно при поступлении ФС в устройство, что, в целом, повышает эффективность и качество очистки ФС.
Формула изобретения
1. Способ очистки льяльных и сточных вод от нефтепродуктов и других загрязнений посредством пропускания фильтруемой смеси сквозь слой адсорбента, включающий сорбцию и флотацию, отличающийся тем, что фильтруемую смесь подают под давлением и осуществляют движение потока фильтруемой смеси снизу вверх, при этом на начальном участке движения потока сначала проводят флотацию, а на последующем одновременно с флотацией осуществляют адсорбцию.
2. Способ по п.1, отличающийся тем, что после флотации и адсорбции осуществляют фильтрацию смеси через фильтр преимущественно мембранного типа.
3. Способ по п.1 или 2, отличающийся тем, что предварительно осуществляют нагрев фильтруемой смеси преимущественно до температуры 35-45°С.
4. Способ по п.3, отличающийся тем, что во время проведения адсорбции одновременно осуществляют аэрацию фильтруемой смеси, причем аэрацию производят периодически.
5. Способ по п.4, отличающийся тем, что слой последнего (адсорбента) периодически подвергают уплотнению, например, посредством механического поджатия.
6. Способ по п.5, отличающийся тем, что в качестве адсорбента используют полимерный материал, например пенополимер-суперадсорбент.
7. Способ по п.6, отличающийся тем, что в качестве фильтра мембранного типа используют синтипон.
8. Способ по п.7, отличающийся тем, что контроль качества очистки фильтруемой смеси осуществляют визуально.
9. Устройство для очистки льяльных и сточных вод от нефтепродуктов и других загрязнений, содержащее корпус с фильтрующей засыпкой, патрубками подвода фильтруемой смеси и слива очищенной воды, отличающееся тем, что корпус выполнен в виде вертикально ориентированной цилиндрической обечайки с верхней открытой частью, а днище обечайки выполнено наклонным, причем патрубок слива размещен на вертикальной стенке корпуса, а патрубок подвода – на вертикальной стенке и/или днище корпуса, при этом внутри корпуса соосно установлена направляющая, на которой размещен поршень-поплавок, снабженный перепускными патрубками и установленный с возможностью вертикального перемещения вдоль направляющей, причем направляющая выполнена в виде полого трубчатого элемента с отверстиями и с предусмотренным в ее верхней части фиксатором, например по типу съемной крестовины, а нижним концом разъемно закреплена в подпятнике и сообщена с источником сжатого воздуха, а поршень-поплавок дополнительно снабжен системой регулирования его плавучести.
10. Устройство по п.9, отличающееся тем, что в качестве фильтрующей засыпки использован адсорбент из полимерного материала, например пенополимер-суперадсорбент.
11. Устройство по п.9 или 10, отличающееся тем, что фильтрующая засыпка размещена между поршнем-поплавком и фиксатором направляющей.
12. Устройство по п.11, отличающееся тем, что на фиксаторе установлен фильтрующий элемент, выполненный в виде металлической сетки, обтянутой синтетическим материалом, преимущественно синтипоном.
13. Устройство по п.12, отличающееся тем, что система регулирования плавучести поршня выполнена в виде грузов, размещенных вне корпуса и соединенных с поршнем-поплавком кинематически, преимущественно гибкой связью.
14. Устройство по п.9, отличающееся тем, что перепускные патрубки поршня-поплавка снабжены крышками, установленными с зазором относительно верхнего выходного сечения патрубков.
15. Устройство по п.14, отличающееся тем, что в крышках патрубков выполнены отверстия.
16. Устройство по п.15, отличающееся тем, что крышки патрубков выполнены горизонтальными, и/или в виде полусфер, и/или иной формы, обеспечивающей равномерное распределение фильтруемой смеси в слое фильтрующей засыпки.
17. Устройство по п.9, отличающееся тем, что поршень-поплавок снабжен уплотнительной манжетой, размещенной по его периметру и выполненной из полимерного материала, например поливинилхлорида, или полиэтилена, или полипропилена.
РИСУНКИ
|
|