|
|
(21), (22) Заявка: 2007102216/11, 22.01.2007
(24) Дата начала отсчета срока действия патента:
22.01.2007
(30) Конвенционный приоритет:
27.01.2006 SE 0600218-2
(43) Дата публикации заявки: 27.07.2008
(46) Опубликовано: 20.12.2008
(56) Список документов, цитированных в отчете о поиске:
ХАУКС Герхард Подводная техника. – Л.: Судостроение, 1970, с.160, рис.6.19. SU 652039 А, 15.03.1979. US 6510808 B1, 28.01.2003. US 4356789 A, 02.11.1982. GB 2266504 A, 03.11.1993.
Адрес для переписки:
191186, Санкт-Петербург, а/я 230, “АРС-ПАТЕНТ”, пат.пов. М.В.Хмаре, рег. № 771
|
(72) Автор(ы):
ЭНГ Ян Томми (NO)
(73) Патентообладатель(и):
ЮНИТИМ ИНТЕРНЕШНЕЛ АС (NO)
|
(54) СУДНО ВРЕМЕННОГО УБЕЖИЩА И СПОСОБ ЭКСПЛУАТАЦИИ МАШИННОГО ОТДЕЛЕНИЯ НА ТАКОМ СУДНЕ
(57) Реферат:
Изобретение относится к судостроению, а именно к судам временного убежища персонала при наличии в окружающей атмосфере токсичного и/или взрывоопасного газа и способам эксплуатации машинного отделения таких судов. Судно временного убежища включает в себя машинное отделение и, как минимум, одно газонепроницаемое временное убежище для персонала. При этом временное убежище снабжено не менее чем одним воздушным шлюзом для прохода персонала. Машинное отделение в виде газонепроницаемой структуры снабжено воздухозаборником, включающим газонепроницаемые жалюзи воздухозаборного отверстия, и воздуховыпускное отверстие, включающее газонепроницаемые жалюзи этого отверстия. При этом машинное отделение имеет средства охлаждения рециркулируемого воздуха и, как минимум, одной вытяжной трубы. Способ эксплуатации этого машинного отделения при возникновении аварийной ситуации включает в себя закрытие жалюзи воздухозаборного и воздуховыпускного отверстий, открытие воздухораспределительных жалюзи машинного отделения, запуск охлаждающих средств и закрытие двери машинного отделения. Реализация данного изобретения повысит надежность судна временного убежища. 2 н. и 16 з.п. ф-лы, 1 ил.
Область техники, к которой относится изобретение
Настоящее изобретение относится к судну временной эвакуации персонала при наличии в окружающей атмосфере токсичного и/или взрывоопасного газа. Настоящее изобретение имеет также отношение к способу работы машинного отделения судна во время аварийного режима работы, когда количество токсичного и/или взрывоопасного газа в атмосфере превышает установленный уровень.
Уровень техники
При бурении на нефть и/или газ всегда существует возможность возникновения аварии, связанной с выходом токсичного и/или взрывоопасного газа (газов). Авария такого рода создает серьезную ситуацию для бригады, работающей на площадке, так как токсичные газы могут нанести значительный вред или стать причиной гибели вышеупомянутой рабочей бригады. При воспламенении токсичные газы могут стать причиной больших повреждений и гибели людей.
Обычно при возникновении ситуации, аналогичной описанной, эвакуация людей с буровых установок, где происходит бурение на нефть и/или газ, происходит спасательными судами. Если погодные условия позволяют, могут быть использованы вертолеты. В одной заслуживающей внимания публикации, US 6,510,808 В1, сделан еще один шаг вперед. В ней дается описание камеры-убежища, в которую можно эвакуировать людей и где можно находиться длительное время. Спасательное убежище герметично закрыто, не пропускает воздуха и снабжено установкой регенерации воздуха для дыхания в убежище. Убежище снабжено также спасательными шлюпками и средствами спуска на воду.
Если в атмосфере присутствуют высокотоксичные газы сероводорода и/или взрывоопасные газы, такие как углеводород в американской публикации, указанной выше, в определенных ситуациях наблюдается ряд недостатков, на которые надо обратить внимание.
Так, например, в публикации не говорится о том, как будет поступать питание, необходимое для длительного функционирования разных систем убежища. Пока существует риск наличия опасных концентраций углеводорода в окружающей атмосфере, при производстве питания необходимо быть крайне осторожным для гарантии того, что углеводороды, если они есть в атмосфере, не войдут в контакт с энерговырабатывающим оборудованием. В небольших убежищах для производства необходимой электроэнергии можно использовать аккумуляторы. Однако при размещении в убежище большого количества людей аккумуляторы перестают быть хорошим решением, во всяком случае, на море. Для производства достаточного количества электроэнергии необходимы слишком большие и тяжелые аккумуляторы. Кроме того, аккумуляторам необходима интенсивная подзарядка и техническое обслуживание.
Раскрытие изобретения
Принципиальная задача настоящего изобретения заключается, таким образом, в решении вопроса снабжения энергией для работы необходимого оборудования во временном убежище в течение длительного периода времени. Другая задача заключается в снабжении ВУ при наличии в нем относительно большого числа людей. Следующая задача заключается в обеспечении ВУ, спроектированного для районов, в которых нефть/газ имеют относительно высокое содержание серы. При этом возникает дополнительная опасность того, что в случае происшествия высокотоксичный газ H2S может попасть в атмосферу. Еще одна задача – разработать способ для эксплуатации машинного отделения судна при аварийном режиме работ.
Эти задачи выполнены при снабжении судна в соответствии с независимыми пунктами формулы изобретения 1 и 14. Предпочтительные варианты конструкции судна описаны в зависимых пунктах формулы изобретения 2-13.
В соответствии с изобретением на судне предусмотрена временная эвакуация людей в случае нежелательного появления токсичного и/или взрывоопасного газа в окружающей атмосфере. Самыми главными частями судна являются машинное отделение, временное убежище (ВУ) для персонала, работающего на участке, и комната связи и операторная.
Судно спроектировано для размещения большого числа людей, например до 500 человек. Для снабжения необходимым питанием при аварийной ситуации машинное отделение судна должно иметь не менее одной укомплектованной генераторной установки, предпочтительнее две. При этом одна генераторная установка может быть использована в качестве резервной в отношении второй установки. Обычно оба генератора снабжены средствами автоматического переключения в случае остановки работающего генератора. В машинном отделении находится не менее одного, а предпочтительнее два укомплектованных распределительных щита. Генераторные установки спроектированы для работы как в нормальных условиях эксплуатации, так и в условиях токсичности/взрывоопасности, имея не менее одного раздельного воздухозаборника и средства для охлаждения вытяжных труб для поддержания низкой температуры вытяжных труб, предпочтительно ниже 200°С. Генераторные установки сконструированы для работы на горючем, предпочтительно на дизельном топливе. Однако могут работать на смеси дизельного топлива и метана, что делает возможным их работу в аварийных ситуациях при наличии в окружающей атмосфере углеводородов, обычно метана.
Во избежание проникновения углеводородных газов в машинное отделение и возникновения взрыва машинное отделение снабжено средствами, которые делают его полностью газонепроницаемым при аварийном режиме работы. Во избежание попадания углеводородных газов в машинное отделение оно имеет газонепроницаемую структуру. Двери машинного отделения и все трубы и иное оборудование, проходящее через стены, крышу или пол, снабжены газонепроницаемыми прокладками. Кроме того, машинное отделение имеет не менее одного воздухозаборного отверстия с жалюзи, которые при аварийной ситуации закрываются. Машинное отделение имеет не менее одного воздуховыпускного отверстия с жалюзи воздуховыпускного отверстия и желательно вентилятор. При возникновении аварийной ситуации вентилятор (если есть) остановится, а жалюзи воздуховыпускного отверстия закроются. Все жалюзи воздухозаборного отверстия (отверстий) и жалюзи воздуховыпускного отверстия (отверстий) газонепроницаемы.
В нормальных условиях генераторы охлаждаются, вентиляция воздуха в машинном отделении производится обычным образом. Однако при аварийном режиме работы имеет место иной порядок, так как машинное отделение изолировано от окружающей среды. Если не принять некоторых мер, температура воздуха в машинном отделении будет слишком высока для того, чтобы соответствовать требованиям официальных положений. В связи с этим в машинном отделении предусмотрены средства охлаждения вытяжных труб от генератора и средства охлаждения воздуха в машинном отделении. Система охлаждения включает насос, закачивающий жидкость, предпочтительно воду, с наружной стороны в охладители вытяжной трубы для охлаждения вытяжных труб. Такая же система охлаждения может быть применена при охлаждении воздуха в машинном отделении. Если жалюзи воздухозаборного отверстия, расположенные в воздухозаборнике, через которые может проходить воздух из окружающей среды, в аварийной ситуации закрыты, в машинном отделении открыты по меньшей мере одни воздухораспределительные жалюзи. В этом случае циркуляция воздуха в машинном отделении может производиться тем же вентилятором, который во время нормальной эксплуатации судна нагнетает воздух из окружающей среды. Так как циркуляция воздуха в машинном отделении осуществляется с помощью вентилятора, он также охлаждается воздухоохладителем; предпочтительно, чтобы воздухоохладитель был частью вышеупомянутой системы охлаждения.
Судно имеет не менее одной газонепроницаемой двери, ведущей из машинного отделения во временное убежище, которое может быть открыто с любой стороны. Следовательно, при аварийной ситуации бригада будет иметь доступ в машинное отделение для проверки и/или ремонта находящегося там оборудования. Однако воздух в машинном отделении будет постепенно портиться, и всем, кто будет входить в машинное отделение, будет необходимо иметь свои запасы воздуха.
Для размещения большого числа людей, что и является предметом данного изобретения, судно снабжено временным убежищем для персонала и для иных лиц, которые могут находиться на месте при неконтролируемом выбросе токсичного и/или взрывоопасного газа в окружающую атмосферу. Структурно временное убежище может быть частью судна или, что предпочтительнее, являться отдельной структурой. Отдельная структура может включать ряд контейнерных модулей, соединенных вместе с помощью газонепроницаемых прокладок для формирования газонепроницаемого, единого помещения.
Комната связи и операторная (С&С) предпочтительно является частью временного убежища для возможности передвижения между С&С и общим пространством, на котором в аварийной ситуации будет находиться большое количество народа.
Временное убежище имеет по меньшей мере один газонепроницаемый вход в форме воздушного шлюза. Желательно, чтобы судно было снабжено четырьмя такими воздушными шлюзами для возможности впуска во временное убежище, например 500 человек в течение 15 минут. Воздушный шлюз включает вход воздушного шлюза с наружной стороны в воздушный шлюз и вход ВУ из воздушного шлюза в ВУ. Для удержания токсичных и/или взрывоопасных газов вне временного убежища давление в воздушном шлюзе и во временном убежище всегда будет удерживаться на таком уровне, когда давление в воздушном шлюзе будет выше, чем давление окружающей атмосферы. А давление во временном убежище будет выше давления в воздушном шлюзе. Давления во временном убежище и воздушном шлюзе можно регулировать с помощью манометров и клапанных средств в стене между временным убежищем и воздушным шлюзом, и воздушным шлюзом и воздушным шлюзом и окружающей средой.
Для снабжения временного убежища необходимым количеством свежего воздуха судно снабжено системой ОВиКВ (отопления, вентиляции, кондиционирования воздуха). Система ОВиКВ включает хотя бы один, желательно два блочных кондиционера (один работает, другой в резерве), не менее одного воздушного кондиционера, воздухозаборника ВУ, воздуховыпуска ВУ, вытяжные вентиляторы для медкабинета и туалетов, противопожарные и газонепроницаемые заслонки, клапана заданного превышения давления. Через систему кондиционирования блочные кондиционеры снабжают временное убежище свежим воздухом. Подача воздуха спроектирована таким образом, чтобы в любое время достичь желаемого избыточного давления на основной территории временного убежища и через предохранительные заслонки для уменьшения такого избыточного давления в воздушном шлюзе (шлюзах) до атмосферного давления, как описано выше. Герметизация временного убежища достигается большей подачей объемов воздуха во временное убежище, чем объем выходящего из временного убежища воздуха. Избыточное давление в С&С, временном убежище и воздушных шлюзах можно контролировать счетчиками избыточного давления.
Судно может быть также снабжено воздухозаборником, который достаточно высоко поднимается над судном. Он сконструирован для пролонгированного использования вентиляционной системы. H2S тяжелее воздуха, а потому находится на низком уровне. Для обнаружения токсичных и/или взрывоопасных газов в атмосфере около воздухозаборника, воздухозаборник может быть снабжен по меньшей мере одним газовым датчиком, а также газонепроницаемыми жалюзи между газовым датчиком и блочным кондиционером (кондиционерами). Газонепроницаемые жалюзи закрываются при обнаружении в воздухозаборнике токсичного и/или взрывоопасного газа. Судно может быть также снабжено хотя бы одной установкой запасного воздуха и/или подачи кислорода. В случае возникновения аварийной ситуации блочный кондиционер можно остановить, воздух будет поступать из одной или нескольких установок запасного воздуха. Возможно также продолжать подачу воздуха из атмосферы, однако в таком случае воздух должен проходить через газовый фильтр, устраняющий из воздуха токсичные и/или взрывоопасные газы до подачи воздуха непосредственно во временное убежище или в блочный кондиционер (кондиционеры).
После аварийного останова система вентиляции пройдет цикл очистки для очистки раздающего воздуховода от потенциально токсичных и/или взрывоопасных газов в воздуховодах; после этого система готова к запуску.
Краткое описание чертежей
Желаемое конструктивное исполнение настоящего изобретения будет объяснено со ссылкой на прилагаемый чертеж, являющийся схематической иллюстрацией судна.
Осуществление изобретения
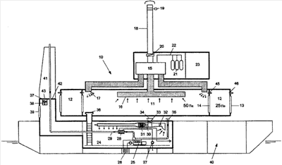
Судно 10 состоит из баржи 40, имеющей машинное отделение 24, где необходимый источник питания приводит в действие необходимые части и системы судна 10. В машинном отделении 24 желательно иметь две укомплектованные генераторные установки 25. Причем одновременно работать может только одна. Вторая генераторная установка будет выполнять роль резервной на случай останова первой генераторной установки. Каждая генераторная установка охлаждается с помощью раздельных систем охлаждения 26. Вытяжные трубы 29 генераторных установок 25 проводят вытяжку через вентиляционную трубу 41. Вентиляционная труба 41 закрыта изоляцией трубы 42 с тем, чтобы предотвратить попадание токсичных и/или взрывоопасных газов в машинное отделение. Вытяжная газовая труба (трубы) 29 проходит через изоляцию трубы 42 при использовании газонепроницаемых прокладок. При условиях нормальной эксплуатации вентиляция машинного отделения осуществляется через воздухозаборник 34 к машинному отделению 24 и воздуховыпускное отверстие через изоляцию трубы 42. Желательно, чтобы она была снабжена вентилятором 38 и жалюзи воздуховыпускного отверстия 37.
Воздухозаборник 34 снабжен также газонепроницаемыми жалюзи 33. Воздуховыпускное отверстие 43 имеет газонепроницаемые прокладки между выпускным отверстием и изоляцией трубы 42. Это сделано для гарантии того, чтобы в аварийной ситуации токсичные и/или взрывоопасные газы не проникали в машинное отделение 24. В условиях нормальной эксплуатации машинное отделение открыто для входа как минимум со стороны одного входа 39. Вход 39 снабжен газонепроницаемыми прокладками. При работе в условиях аварийной ситуации этот вход закрыт. Вход в машинное отделение из ВУ снабжен дверью ВУ 36. Дверь газонепроницаема. Для циркуляции воздуха в машинном отделении машинное отделение снабжено вентилятором 30, который подает воздух из воздухозаборника 34 в машинное отделение в условиях нормальной эксплуатации. Воздух, необходимый генератору для процесса сгорания, подается через воздухозаборник генератора 35. Желательно, чтобы он нагнетал воздух из атмосферы с наружной стороны судна 10. Для удержания температуры в вытяжной трубе (трубах) и температуры в машинном отделении на допустимом уровне при работе в аварийном режиме машинное отделение снабжено раздельными средствами охлаждения. Эти средства включают насос 27, перекачивающий воду с наружной стороны через трубы к охладителю вытяжной трубы 28 и воздушный охладитель 31. Трубы, собирающие и выпускающие воду в окружающее море, оснащены газонепроницаемыми прокладками в местах входа/выхода из машинного отделения.
При работе в аварийном режиме машинное отделение 24 изолировано от окружающей атмосферы для предотвращения попадания токсичных и/или взрывоопасных газов. Закрыто газонепроницаемое жалюзи воздухозаборного отверстия 33, закрыто газонепроницаемое жалюзи воздуховыпускного отверстия, остановлен вентилятор 38. Закрыты входы 39 в машинное отделение 24. Воздухораспределительные жалюзи 32 открыты, происходит рециркуляция воздуха в машинном отделении 24. Для охлаждения рециркулируемого воздуха и вытяжной трубы (труб) 29 работает насос 27.
Помимо этого судно 10 наверху баржи 40 имеет временное убежище (ВУ) 11. ВУ 11 желательно составить из ряда соединенных между собой с помощью газонепроницаемых прокладок контейнерных модулей; при этом они образуют единое помещение, куда можно эвакуировать людей и где они при аварийной ситуации могут находиться определенное время. ВУ 11 имеет по меньшей мере один, желательно четыре воздушных шлюза 12. Воздушные шлюзы 12 снабжены входом воздушного шлюза 13 и входом в ВУ 14. Воздушные шлюзы 12 сконструированы таким образом, что вход воздушного шлюза 13 и вход ВУ 14 не могут быть открыты одновременно, кроме случаев блокировки из С&С.
Судно 10 снабжено также раздельной системы обработки воздуха в целях осуществления контроля за отоплением, вентиляцией и кондиционированием воздуха в ВУ. В условиях нормальной эксплуатации воздух в ВУ 11 обрабатывается в первой части раздельной системы обработки воздуха, которая имеет по меньшей мере один блочный кондиционер 15. Воздух выводится из ВУ 11 на блочный кондиционер 15 как минимум одним канал воздухозаборника ВУ 16. Доступ свежего воздуха обеспечивается блочным кондиционером 15 и поступает в ВУ 11 через по меньшей мере один канал воздуховыпускного отверстия ВУ 17. Первую часть раздельного блочного кондиционера предпочтительно снабдить воздухозаборником 18, который возвышается над судном 10, например, на 15 м над уровнем палубы. Поскольку H2S тяжелее воздуха, наиболее вероятно нахождение газа на низком уровне, следовательно, воздухозаборник, выдвинутый в воздух, может пролонгировать использование системы вентиляции в случае возникновения аварийной ситуации. Воздухозаборник 18 снабжен также газовым датчиком 19, который обнаружит токсичные и/или взрывоопасные газы. Воздухозаборник 18 снабжен газонепроницаемыми жалюзи 20, которые закрываются в момент обнаружения газовым датчиком 19 токсичного и/или взрывоопасного газа в воздухозаборнике 18.
Вторая часть системы обработки воздуха снабжена по меньшей мере одной установкой с запасом воздуха 21. Лучше всего, чтобы установка с запасом воздуха представляла собой баллоны со сжатым воздухом; предпочтительно, чтобы на судне был банк баллонов со сжатым воздухом. Во время аварийной ситуации при обнаружении токсичного и/или взрывоопасного газа в воздухозаборнике 18 останавливается блочный кондиционер 15. Воздух в ВУ 11 поступает из установок с запасом воздуха 21, через пульты понижения давления (на чертеже не показаны) и воздуховоды 22. Воздуховоды 22 могут поставлять воздух прямо в ВУ 11, либо поставлять воздух в один или более каналов воздуховыпускного отверстия ВУ 17.
В качестве альтернативы установкам с запасом воздуха 21 забор воздуха может производиться из атмосферы, проходить через газовый фильтр, удаляющий токсичные и/или взрывоопасные газы, находящиеся в воздухе. Такой газовый фильтр может располагаться в воздухозаборнике 18 либо может быть расположен в отдельном воздухозаборнике (на чертеже не показан). Отфильтрованный воздух может поступать на блочный кондиционер 15 или прямо в ВУ 11.
Давление в ВУ 11 все время поддерживается на уровне выше, чем атмосферное давление за пределами ВУ 11. Это достигается поставкой больших объемов воздуха через каналы воздуховыпускного отверстия ВУ 17, чем того объема, вытяжка которого производится через каналы воздухозаборника ВУ 16. Желательно, чтобы давление в ВУ 11 было на 50 Па выше атмосферного давления. Для того чтобы в аварийной ситуации избежать проникновения токсичных и/или взрывоопасных газов в ВУ 11, воздушный шлюз сконструирован таким образом, что давление в нем находится между давлением в ВУ 11 и атмосферным давлением. Это достигается с помощью клапанов заданного превышения давления 46 от воздушного шлюза 12 наружу и клапанов заданного превышения давления 45 от ВУ 11 к воздушному шлюзу 12. Желательно, чтобы давление в воздушных шлюзах было на 25 Па выше атмосферного давления. Замеры избыточного давления производятся с помощью счетчиков избыточного давления в воздушных шлюзах 12, ВУ 11 и комнате связи и операторной 23.
Из комнаты связи и операторной С&С 23 производится управление всеми системами безопасности судна. С&С представляет собой часть ВУ 11 и снабжена также системой местного радиовещания, с помощью которой осуществляется внешняя и внутренняя связь на ВУ 11 и на барже 40. С&С 22 снабжена также различным радиотехническими средствами связи. Предпочтительнее, когда С&С 22 является частью ВУ 11; тогда люди могут свободно передвигаться между С&С 22 и ВУ 11.
При обнаружении в наружной атмосфере токсичного и/или взрывоопасного газа в машинном отделении 24 происходит автоматический запуск аварийного режима работы источника питания. Жалюзи воздухозаборного отверстия 33 и жалюзи воздуховыпускного отверстия 37 автоматически закрываются. Если вентилятор 38 работает, он остановится. Воздухораспределительные жалюзи 32 откроются таким образом, что вентилятор 30 сможет производить циркуляцию воздуха в машинном отделении. Произойдет запуск насоса 27, так что вытяжная труба (трубы) 29 и воздух в машинном отделении может охлаждаться охладителем вытяжной трубы 28 и воздухоохладителем соответственно.
Формула изобретения
1. Судно 10 временной эвакуации персонала при нежелательном присутствии токсичного и/или взрывоопасного газа в окружающей атмосфере; включающее комнату связи и операторную 23, машинное отделение 24 и не менее одного газонепроницаемого временного убежища 11 для возможной эвакуации персонала, где персонал может находиться некоторый период времени, отличающееся тем, что
временное убежище 11 имеет как минимум один воздушный шлюз 12, через который персонал может попасть во временное убежище 11;
судно 10 снабжено раздельной системой обработки воздуха для подачи воздуха во временное убежище 11;
машинное отделение 24 включает в себя газонепроницаемую структуру, снабженную воздухозаборником 34, включая газонепроницаемые жалюзи 33 воздухозаборного отверстия и воздуховыпускное отверстие, включая газонепроницаемые жалюзи 37 воздуховыпускного отверстия;
машинное отделение 24 включает средства 27, 28, 31 охлаждения для охлаждения рециркуляционного воздуха и не менее одной вытяжной трубы 29 в машинном отделении 24.
2. Судно по п.1, отличающееся тем, что первая часть раздельной системы обработки воздуха имеет не менее одного блочного кондиционера 15, не менее одного канала 16 воздухозаборника временного убежища и не менее одного канала 17 воздуховыпускного отверстия временного убежища.
3. Судно по п.2, отличающееся тем, что первая часть раздельной системы обработки воздуха снабжена по меньшей мере одним воздухозаборником 18, который проводит воздух из окружающей атмосферы в блочный кондиционер 15.
4. Судно по п.3, отличающееся тем, что воздухозаборник 18 снабжен газовым датчиком 19 около верхней части воздухозаборника 18 и газонепроницаемыми жалюзи 20 между газовым датчиком 19 и блочным кондиционером 15.
5. Судно по п.3, отличающееся тем, что верхняя часть воздухозаборника 18 поднята на высоту, существенно выше верхних частей судна 10.
6. Судно по п.5, отличающееся тем, что воздухозаборник 18 включает средства автоматического закрывания газонепроницаемых жалюзи 20 при обнаружении токсичного и/или взрывоопасного газа газовым датчиком 19.
7. Судно по п.3, отличающееся тем, что воздухозаборник 18 снабжен по меньшей мере одним газовым фильтром, который удаляет токсичный и/или взрывоопасный газ, присутствующий в воздухе.
8. Судно по п.1, отличающееся тем, что вторая часть раздельной системы обработки воздуха снабжена по меньшей мере одной установкой 21 с запасом воздуха, находящейся на судне 10.
9. Судно по п.8, отличающееся тем, что вторая часть раздельной системы обработки воздуха снабжена по меньшей мере одним пультом понижения давления и по меньшей мере одним воздуховодом 22, который снабжает временное убежище 11 воздухом.
10. Судно по п.9, отличающееся тем, что по меньшей мере один воздуховод 22 проводит воздух в канал 17 воздуховыпускного отверстия.
11. Судно по п.1, отличающееся тем, что давление в воздушном шлюзе 12 выше, чем давление в окружающей среде.
12. Судно по п.1, отличающееся тем, что давление во временном убежище 11 выше, чем давление в воздушном шлюзе 12.
13. Судно по п.1, отличающееся тем, что имеется не менее одной газонепроницаемой двери 36 временного убежища, ведущей в машинное отделение 24 из временного убежища 11.
14. Судно по п.1, отличающееся тем, что машинное отделение 24 имеет не менее одного воздухозаборника 35 генератора, нагнетающего внешний воздух в машинное отделение 24.
15. Судно по п.1, отличающееся тем, что средства 27, 28, 31 охлаждения имеют по меньшей мере один насос 27, не менее одного охладителя вытяжной трубы 28 и по меньшей мере один воздухоохладитель 31.
16. Судно по п.1, отличающееся тем, что машинное отделение 24 снабжено по меньшей мере одним вентилятором 30, который закачивает воздух в машинное отделение 24 через воздухоохладитель 31.
17. Судно по любому из пп.1-16, отличающееся тем, что комната связи и операторная 23 составляет часть временного убежища 11.
18. Способ эксплуатации машинного отделения на судне, охарактеризованном в любом из пп.1-17, в аварийном режиме работы, отличающийся тем, что для гарантии непроникновения взрывоопасного газа в машинное отделение предпринимают следующие меры:
закрывают жалюзи 33 воздухозаборного отверстия в машинном отделении;
закрывают жалюзи 37 воздуховыпускного отверстия в машинном отделении;
открывают воздухораспределительные жалюзи 32 в машинном отделении;
запускают средства 27, 28, 31 охлаждения для охлаждения по меньшей мере одной вытяжной трубы 29 и циркуляции воздуха;
закрывают дверь машинного отделения 39.
РИСУНКИ
|
|