|
(21), (22) Заявка: 2005130622/11, 03.10.2005
(24) Дата начала отсчета срока действия патента:
03.10.2005
(43) Дата публикации заявки: 10.04.2007
(46) Опубликовано: 20.12.2008
(56) Список документов, цитированных в отчете о поиске:
US 2003209922 A1, 13.11.2003. DE 4333557 C1, 20.04.1995. JP 10071963 A, 17.03.1998. JP 11321302 A, 24.11.1999. GB 446965, 06.05.1936. SU 787241 A1, 15.12.1980. US 4573733, 04.03.1986.
Адрес для переписки:
423810, Республика Татарстан, г. Набережные Челны, а/я 166, Б.М. Колонтаевскому
|
(72) Автор(ы):
Баширов Ильдар Басырович (RU)
(73) Патентообладатель(и):
Общество с ограниченной ответственностью “КОРА Ижиниринг” (RU)
|
(54) СОЕДИНЕНИЕ ПАНЕЛЕЙ КУЗОВА ТРАНСПОРТНОГО СРЕДСТВА
(57) Реферат:
Изобретение относится к области транспорта, к изготовлению кузовов транспортных средств, в частности к соединениям кузовных элементов автобусов. Соединение панелей автобусного кузова содержит стык кромок смежных панелей с опорным элементом и средства крепления панелей. Кромки передней и задней панелей, изготовленных из пластика, по периметру соединения с боковыми панелями и крышей выполнены изогнутыми с Z-образным профилем сечения. Крайняя полка профиля выполнена обращенной внутрь кузова и закреплена на внутренней грани опорного элемента. Изобретение позволяет обеспечить повышение надежности и снижение трудоемкости сборки соединения. 1 з.п. ф-лы, 4 ил.
Изобретение относится к области транспорта, к изготовлению кузовов транспортных средств, в частности к соединениям кузовных элементов.
Известно лобовое остекление автомобильного кузова [1]. Стык кромок ветрового стекла и оконного проема содержит резиновый уплотнительный элемент, охватывающий по контуру кромку ветрового стекла и фланец оконного проема. Уплотнительный элемент имеет сечение развитой формы с пазами под кромку стекла и фланец оконного проема.
Конструкция уплотнительного элемента обеспечивает надежное закрепление ветрового стекла в оконном проеме.
Известно также соединение панелей автобусного кузова [2]. Устройство содержит стык кромок смежных панелей с опорным элементом и средства крепления стыка. Кромки панелей закреплены на внешней грани опорного элемента встык. Зазор между кромками панелей заполнен специальным клеем или герметиком.
Данное соединение панелей с кузовом достаточно надежно.
Недостаток устройства заключается в неточном базировании кромок передней и задней панелей к каркасу, что приводит к перекосу панелей. Имеет место высокая трудоемкость установки панелей, т.к. требуются дополнительная подгонка и доработка внешнего вида в точках крепления заклепками (шпаклевка) и заделка шва.
Задача заявляемого изобретения состоит в устранении указанных недостатков, в повышении надежности и снижении трудоемкости сборки соединения за счет точного базирования кромок передней и задней панелей на каркасе.
Технический результат от решения задачи заключается в обеспечении жесткости кромок пластиковых деталей (передней и задней панелей автобусного кузова), исключении образования гофр и складок при сборке. Значительно уменьшается трудоемкость сборки за счет точного базирования кромок панели относительно каркаса. Исключается доработка внешнего вида в местах крепления заклепок.
Сущность изобретения заключается в следующем.
Соединение панелей кузова транспортного средства содержит стык кромок смежных панелей с опорным элементом и средства крепления стыка.
Новое заключается в том, что кромки передней и задней панелей по периметру соединения с боковыми панелями и крышей выполнены изогнутыми с Z-образным профилем сечения. Крайняя полка профиля выполнена обращенной внутрь кузова и закреплена на внутренней грани опорного элемента. Панели соединены с опорным элементом заклепками. Крайняя полка панелей содержит в точках крепления выступы, обращенные к опорному элементу. В стык между сопрягаемыми поверхностями опорного элемента и панелей введен пластичный герметик, твердеющий после сборки.
На чертежах показано заявляемое соединение панелей кузова.
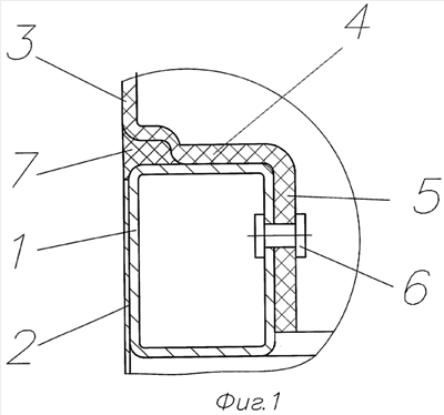
На фиг.1 – общий вид (сечение соединения панелей); на фиг.2 – зона соединения панели с опорным элементом посредством заклепки; на фиг.3 – прототип; на фиг.4 – кузов автобуса перед установкой передней и задней панелей.
Устройство состоит из опорного элемента 1 и присоединенных к нему металлической панели 2 и передней пластиковой панели 3. Кромка передней пластиковой панели содержит ступени, охватывающие опорный элемент – переднюю ступень 4 и внутреннюю ступень 5. Внутренняя ступень соединена с опорным элементом заклепками 6. В зону контакта панели с опорным элементом введен пластичный герметик 7, твердеющий после сборки. С внешней лицевой стороны стыка панелей 2 и 3 герметик наносится вровень с поверхностями панелей. После окраски кузова стык становится незаметен, что обеспечивает эстетичный внешний вид изделия. Герметик может также наноситься после окраски ровным швом. На внутренней поверхности полки 5 выполнены выступы 8 в точках крепления полки к опорному элементу заклепками 6 (фиг.2). Выступы 8 облегчают установку по периметру стыка, т.к. дополнительно компенсируют возможные неточности, возникшие при изготовлении кромок панелей.
Известное соединение панелей показано на фиг.3. Кромка 3 передней пластиковой панели соединена с пластиной 9 заклепкой 6. Пластина 9 закреплена на опорном элементе 1. По периметру стыка панелей с внешней стороны кузова находится ряд гнезд от заклепок, которые требуется скрыть шпаклевкой.
На фиг.4 показаны передняя пластиковая панель 3 и задняя панель 10 перед сборкой автобусного кузова. По периметру панелей их кромки соединяются с каркасом кузова, на котором закреплены панели, образующие боковины 11 и крышу 12, при этом внутренняя ступень 5 закрепляется заклепками на внутренней грани опорного элемента 1 боковых панелей и крыши.
В отличие от известного соединения панелей заявляемая конструкция обеспечивает снижение трудоемкости сборки за счет точного базирования сопрягаемых поверхностей и не требует кропотливой доработки внешнего вида, т.к. точки крепления находятся внутри кузова.
Преимущества предложенного соединения панелей проверены на практике. Изготовление кузовов автобусов с предложенными соединениями кузовных панелей подтвердило их технологичность и надежность конструкции.
Источники информации
1. Игнатов А.П. и др. Руководство по ремонту автомобиля ВА3-1111, Тольятти, 1989, изд-во ВАЗ, с.126.
2. Автобус МАЗ. Автостандарт. Ежемесячная автомобильная газета (Газета зарегистрирована в центральном территориальном управлении МПТСМИ г.Тверь. Регистрационный номер ПИ №5-0297), 2001 г., №10, с.16-18 – прототип.
Формула изобретения
1. Соединение панелей автобусного кузова, содержащее стык кромок смежных панелей с опорным элементом и средства крепления панелей, отличающееся тем, что кромки передней и задней панелей, изготовленных из пластика, по периметру соединения с боковыми панелями и крышей выполнены изогнутыми с Z-образным профилем сечения, при этом крайняя полка профиля выполнена обращенной внутрь кузова и закреплена на внутренней грани опорного элемента.
2. Соединение панелей по п.1, отличающееся тем, что крайняя полка панелей содержит в точках крепления выступы, обращенные к опорному элементу.
РИСУНКИ
|