|
|
(21), (22) Заявка: 2007133588/11, 10.09.2007
(24) Дата начала отсчета срока действия патента:
10.09.2007
(46) Опубликовано: 20.12.2008
(56) Список документов, цитированных в отчете о поиске:
RU 38318 U1, 10.06.2004. DE 3048226 А1, 15.07.1982. US 3862549 А, 28.01.1975. PL 161798 В1, 30.07.1993.
Адрес для переписки:
300004, г.Тула, Щегловская засека, 33, ФГУП “ГНПП “Сплав”, патентный отдел
|
(72) Автор(ы):
Макаровец Николай Александрович (RU), Кобылин Рудольф Анатольевич (RU), Семенов Виктор Иванович (RU), Костин Владимир Евгеньевич (RU), Ерохин Владимир Евгеньевич (RU), Соколов Александр Сергеевич (RU)
(73) Патентообладатель(и):
Федеральное Государственное унитарное предприятие “Государственное научно-производственное предприятие “Сплав” (RU)
|
(54) СИСТЕМА ОТОПЛЕНИЯ И ВЕНТИЛЯЦИИ ДЛЯ ВАГОНА МЕТРО
(57) Реферат:
Изобретение относится к транспорту, в частности к системам отопления и вентиляции вагонов метро. Система отопления и вентиляции содержит воздуховоды, распределительный блок, заслонку, ось, фильтр, вентилятор, нагревательные элементы. Фильтр размещен в цилиндрическом корпусе, на входе фильтра смонтирован приемный патрубок. Нагревательные элементы выполнены кольцевыми, оребренными и тандемно расположены в цилиндрическом аэродинамическом насадке. Приемный патрубок, вертикальные и горизонтальные воздуховоды выполнены прямоугольными. Распределительный блок разделен воздухонепроницаемой мембраной на две камеры, одна снабжена продольными выходными патрубками, а другая – прямоугольными переходниками, торцевое сечение которых конгруэнтно торцевому сечению вертикальных воздуховодов. Во входной части распределительного блока размещена профильная заслонка с возможностью поворота вокруг оси. Технический результат заключается в обеспечении комфортных условий пребывания пассажиров в вагоне метро. 1 з.п. ф-лы, 3 ил.
Изобретение относится к транспорту, в частности к устройствам вентиляции и подогрева воздуха вагонов метро.
Известно устройство подачи приточного воздуха и забора рециркуляционного воздуха в пассажирском железнодорожном вагоне с системой кондиционирования, содержащее климатическую установку (включающую фильтр, вентилятор, нагревательные элементы) с напорным воздуховодом, связанные с последним воздуховоды, расположенные вдоль вагона и линии рециркуляции, сообщенные с входом климатической установки, снабжено воздухораспределителем, воздуховоды выполнены допускающими изменения направления движения воздуха по ним в зависимости от режима вентиляции, причем один воздуховод выполнен в виде верхнего воздуховода, сообщенного с верхним уровнем вагона, а другой – в виде боковых коробов, сообщенных с нижним уровнем вагона, при этом к воздухораспределителю подключены напорный воздуховод климатической установки, верхний воздуховод, боковые короба и линии рециркуляции, а воздухораспределитель выполнен с возможностью синхронного изменения направления движения воздуха по воздуховодам при изменении режима вентиляции, воздухораспределитель выполнен в виде корпуса и установленной внутри него на поворотной оси заслонки, имеющей два фиксированных положения, причем корпус представляет собой полый параллелепипед, поворотная ось установлена в противоположных стенках параллелепипеда, вторая пара противоположных сторон параллелепипеда сообщена соответственно с напорным воздуховодом климатической установки и линиями рециркуляции, а третья пара противоположных сторон сообщена соответственно с верхним воздуховодом и боковыми коробами (см. патент РФ № 2254252, опубл. 20.06.2005, БИ № 17), принятый авторами за прототип.
Такая конструкция устройства позволяет осуществлять подачу приточного воздуха и забора рециркуляционного воздуха в пассажирском вагоне железнодорожного транспорта, в том числе циркуляцию воздуха в полуоткрытых купе салонных вагонов.
Однако такая конструкция устройства малоэффективна при функционировании в зимне-летних условиях эксплуатации вагонов метро, имеющих большое количество широких часто открывающихся дверей для выхода и входа пассажиров, и не обеспечивает требуемую циркуляцию воздуха при полной загрузке салона.
К причинам, препятствующим достижению указанного ниже технического результата при использовании известного устройства подачи приточного воздуха и забора рециркуляционного воздуха в пассажирском вагоне, принятого авторами за прототип, относится то, что циркуляция воздуха обеспечивается в полуоткрытых купе салонных вагонов пассажирского железнодорожного транспорта, при этом, как показывает практика, не обеспечивается эффективное функционирование в зимне-летних условиях эксплуатации (не выполняются санитарные нормы) вагонов метро, имеющих большое количество широких часто открывающихся дверей для выхода и входа пассажиров, требуемую циркуляцию воздуха при полной загрузке салона.
Таким образом, задачей данного технического решения (прототипа) является подача приточного воздуха и забора рециркуляционного воздуха в пассажирском вагоне железнодорожного транспорта, в том числе циркуляции воздуха в полуоткрытых купе салонных вагонов без обеспечения эффективного функционирования в зимне-летних условиях эксплуатации вагонов метро, имеющих большое количество широких дверных проемов, часто открывающихся дверей для входа и выхода пассажиров, требуемой циркуляции воздуха при полной загрузке салона.
Общими признаками с предлагаемой авторами системой отопления и вентиляции для вагона метро являются воздуховоды, распределительный блок, заслонка, ось, фильтр, вентилятор, нагревательные элементы.
В отличие от прототипа в предлагаемой авторами системе отопления и вентиляции для вагона метро фильтр размещен в цилиндрическом корпусе, на входе фильтра смонтирован приемный патрубок, нагревательные элементы выполнены кольцевыми, оребренными и тандемно расположены в цилиндрическом аэродинамическом насадке, приемный патрубок, вертикальные и горизонтальные воздуховоды выполнены прямоугольными, распределительный блок разделен воздухонепроницаемой мембраной на две камеры, одна снабжена продольными выходными патрубками, а другая – прямоугольными переходниками, торцевое сечение которых конгруэнтно торцевому сечению вертикальных воздуховодов, при этом во входной части распределительного блока размещена профильная заслонка с возможность поворота вокруг оси.
В частных случаях, то есть в конкретных формах выполнения, изобретение характеризуется следующими признаками:
– прямоугольный приемный патрубок фильтра снабжен окнами с заслонками, размещенными с возможностью одновременного поворота на определенный фиксированный угол, при этом площадь окон составляет 0,4-0,8 площади входного сечения приемного патрубка.
Именно это позволяет сделать вывод о наличии причинно-следственной связи между совокупностью существенных признаков заявленного технического решения и достигаемым техническим результатом.
Указанные признаки, отличительные от прототипа, на которые распространяется испрашиваемый объем правовой охраны, во всех случаях достаточны.
Задачей предлагаемого изобретения является обеспечение эффективного функционирования в зимне-летних условиях эксплуатации вагонов метро, имеющих большое количество широких дверных проемов, часто открывающихся дверей для входа и выхода пассажиров, требуемой циркуляции воздуха при полной загрузке салона.
Указанный технический результат при осуществлении изобретения достигается тем, что в известной системе отопления и вентиляции, содержащей воздуховоды, распределительный блок, заслонку, ось, фильтр, вентилятор, нагревательные элементы, особенность заключается в том, что фильтр размещен в цилиндрическом корпусе, на входе фильтра смонтирован приемный патрубок, нагревательные элементы выполнены кольцевыми, оребренными и тандемно расположены в цилиндрическом аэродинамическом насадке, приемный патрубок, вертикальные и горизонтальные воздуховоды выполнены прямоугольными, распределительный блок разделен воздухонепроницаемой мембраной на две камеры, одна снабжена продольными выходными патрубками, а другая – прямоугольными переходниками, торцевое сечение которых конгруэнтно торцевому сечению вертикальных воздуховод, при этом во входной части распределительного блока размещена профильная заслонка с возможность поворота вокруг оси.
Новая совокупность конструктивных элементов, а также наличие связей между ними позволяет, в частности, за счет:
-установки приемного патрубка на входе фильтра направить поток воздуха в фильтр и создать равномерное поле скоростей на его поверхности,
– размещения фильтра в цилиндрическом корпусе упростить конструкцию устройства, обеспечить требуемые характеристики воздушного потока,
– выполнения нагревательных элементов кольцевыми, оребренными и тандемного расположения в цилиндрическом аэродинамическом насадке значительно повысить теплоотдачу системы подогрева и обеспечить быстрое регулирование температуры в салоне вагона метро,
– выполнения приемного патрубка, вертикальных и горизонтальных воздуховодов прямоугольными повысить плотность компоновки системы отопления и вентиляции в ограниченных объемах коммуникационных отсеков вагонов,
– разделения распределительного блока воздухонепроницаемой мембраной на две камеры, снабжения одной продольными выходными патрубками, а другой – прямоугольными переходниками, торцевое сечение которых конгруэнтно торцевому сечению вертикальных воздуховодов, размещения во входной части распределительного блока профильной заслонки с возможностью поворота вокруг оси обеспечить требуемое распределение потока воздуха по продольным выходным патрубкам и вертикальным воздуховодам.
Признаки, характеризующие изобретение в конкретных формах выполнения, позволяют, в частности, за счет:
– снабжения прямоугольного приемного патрубка фильтра окнами с заслонками, размещенными с возможностью одновременного поворота на определенный фиксированный угол, при этом площадь окон составляет 0,4 – 0,8 площади входного сечения приемного патрубка, обеспечить требуемые параметры притока наружного воздуха с учетом климатических условий эксплуатации вагона метро.
Признаки, отличающие предлагаемое техническое решение от прототипа, не выявлены в других технических решениях и не известны из уровня техники в процессе проведения патентных исследований, что позволяет сделать вывод о соответствии изобретения критерию «новизна».
Исследуя уровень техники в ходе проведения патентного поиска по всем видам сведений, доступных в странах бывшего СССР и зарубежных странах, обнаружено, что прелагаемое техническое решение явным образом не следует из известного на сегодня уровня техники, следовательно, можно сделать вывод о соответствии критерию «изобретательский уровень».
Сущность изобретения заключается в том, что система отопления и вентиляции для вагона метро, содержащая воздуховоды, распределительный блок, заслонку, ось, фильтры, вентиляторы, нагревательные элементы, в отличие от прототипа согласно изобретению фильтр размещен в цилиндрическом корпусе на входе фильтра смонтирован приемный патрубок, нагревательные элементы выполнены кольцевыми, оребренными и тандемно расположены в цилиндрическом аэродинамическом насадке, приемный патрубок, вертикальные и горизонтальные воздуховоды выполнены прямоугольными, распределительный блок разделен воздухонепроницаемой мембраной на две камеры, одна снабжена продольными выходными патрубками, а другая – прямоугольными переходниками, торцевое сечение которых конгруэнтно торцевому сечению вертикальных воздуховодов, при этом во входной части распределительного блока размещена профильная заслонка с возможность поворота вокруг оси.
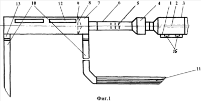
Сущность предлагаемого изобретения поясняется чертежом, где на фиг.1 представлена схема системы отопления и вентиляции для вагона метро, на фиг.2 – фильтр с приемным патрубком сбоку, на фиг.3 – сечение распределительного блока.
Предлагаемая система отопления и вентиляции для вагона метро содержит приемный патрубок 1, фильтр 2 размещенный в цилиндрическом корпусе 3, вентилятор 4, нагревательные элементы 5, нагревательные элементы 5 выполнены кольцевыми, оребренными и тандемно расположены в цилиндрическом аэродинамическом насадке 6, распределительный блок 7, профильную заслонку 8, ось 9, вертикальные 10 и горизонтальные 11 воздуховоды, распределительный блок 7 разделен воздухонепроницаемой мембраной 14 на две камеры А и В, одна снабжена продольными выходными патрубками 12, а другая – прямоугольными переходниками 13, торцевое сечение которых конгруэнтно торцевому сечению вертикальных воздуховодов 10, во входной части распределительного блока 7 размещена профильная заслонка 8 с возможностью поворота вокруг оси 9.
В частных случаях, то есть в конкретных формах исполнения системы отопления и вентиляции для вагона метро, прямоугольный приемный патрубок 1 снабжен окнами 15 с заслонками 16, размещенными с возможностью одновременного поворота на определенный фиксированный угол , при этом площадь окон So составляет 0,4-0,8 площади входного сечения Sв приемного патрубка 1.
Вышеописанное устройство работает следующим образом.
Наружный воздух подают через приемный патрубок 1 в фильтр 2, размещенный в цилиндрическом корпусе 3, очищенный воздух вентилятором 4 через аэродинамический насадок 6 подают далее в распределительный блок 7, затем поток воздуха в режиме “Вентиляция” направляют посредством профильной заслонки 8 на оси 9 в камеру А распределительного блока 7 и на продольные выходные патрубки 12. При работе системы в режиме “Отопление” включают нагревательные элементы 5, размещенные в аэродинамическом насадке 6, наружный воздух подают через приемный патрубок 1 в фильтр 2, размещенный в цилиндрическом корпусе 3, очищенный воздух вентилятором 4 подают через аэродинамический насадок 6, в котором воздух нагревают кольцевыми оребренными тандемно расположенными нагревательными элементами 5, и затем теплый воздух направляют посредством профильной заслонки 8 на оси 9 в камеру В распределительного блока 7 и далее на вертикальные воздуховоды 10 и сопряженные с ними горизонтальные воздуховоды 11.
Выполнение системы отопления и вентиляции для вагона метро в соответствии с изобретением позволяет обеспечить эффективное функционирование в зимне-летних условиях эксплуатации вагонов метро, имеющих большое количество широких дверных проемов, часто открывающихся дверей для входа и выхода пассажиров, требуемую циркуляцию воздуха при полной загрузке салона. Таким образом, предлагаемое техническое решение может быть использовано при разработке систем отопления и вентиляции современных вагонов метро, обеспечивая комфортные условия пребывания пассажиров в салоне вагона.
Указанный положительный эффект подтвержден испытаниями опытных образцов, выполненных в соответствии с изобретением.
В настоящее время разработана конструкторская документация и намечено серийное производство.
Формула изобретения
1. Система отопления и вентиляции для вагона метро, включающая воздуховоды, распределительный блок, заслонку, ось, фильтр, вентилятор, нагревательные элементы, отличающаяся тем, что фильтр размещен в цилиндрическом корпусе, на входе фильтра смонтирован приемный патрубок, нагревательные элементы выполнены кольцевыми, оребренными и тандемно расположены в цилиндрическом аэродинамическом насадке, приемный патрубок, вертикальные и горизонтальные воздуховоды выполнены прямоугольными, распределительный блок разделен воздухонепроницаемой мембраной на две камеры, одна снабжена продольными выходными патрубками, а другая – прямоугольными переходниками, торцевое сечение которых конгруэнтно торцевому сечению вертикальных воздуховодов, при этом во входной части распределительного блока размещена профильная заслонка с возможностью поворота вокруг оси.
2. Система по п.1, отличающаяся тем, что прямоугольный приемный патрубок фильтра снабжен окнами с заслонками, размещенными с возможностью одновременного поворота на определенный фиксированный угол, при этом площадь окон составляет 0,4-0,8 площади входного сечения приемного патрубка.
РИСУНКИ
|
|