|
|
(21), (22) Заявка: 2007104008/11, 01.02.2007
(24) Дата начала отсчета срока действия патента:
01.02.2007
(46) Опубликовано: 20.12.2008
(56) Список документов, цитированных в отчете о поиске:
SU 1054118 А, 15.11.1983. SU 812611 А, 12.03.1981. JP 7270103 А, 20.10.1995.
Адрес для переписки:
680035, г.Хабаровск, ул. Бондаря, 25, кв.18, В.В.Позднякову
|
(72) Автор(ы):
Поздняков Валерий Владимирович (RU)
(73) Патентообладатель(и):
Поздняков Валерий Владимирович (RU)
|
(54) КОНИЧЕСКИЙ ДИФФЕРЕНЦИАЛ
(57) Реферат:
Изобретение относится к автотракторостроению и может быть использовано в межколесном приводе переднеприводных автомобилей и тракторов. Конический дифференциал содержит корпус (1) с оппозитно расположенными полуосевыми шестернями (2, 3), геометрические оси которых составляют с геометрической осью вращения корпуса острый угол. На оси (6) сателлитов установлены с возможностью осевого перемещения цанги (10). Сателлиты (4, 5) сопрягаются с цангами и, попадая в зауженную зону, расположенную между полуосевыми шестернями, заклиниваются, передавая крутящий момент остановившейся полуосевой шестерне, прекращая буксование. Такое выполнение повышает буксующие свойства дифференциала. 5 ил.
Изобретение относится к автотракторостроению и может быть использовано в межколесном приводе переднеприводных автомобилей и тракторов как с осевой, так и с независимой подвеской.
Известен самоблокирующийся дифференциал, содержащий корпус и соосно расположенные полуосевые шестерни с находящимися с ними в зацеплении сателлитами, установленными на закрепленных в корпусе осях, причем конус зубчатого венца каждого сателлита сверху и снизу ограничен плоскостями, расположенными под углом к плоскости, перпендикулярной оси вращения сателлита, а сателлиты введены в зацепление с соответствующими полуосевыми шестернями на одинаковом расстоянии от оси вращения последних (см. авт.св. СССР № 1521625, кл. В60К 17/20,1989).
Недостатками этого дифференциала являются ограниченные блокирующие свойства, обусловленные пределами пульсации величины, реализуемого при пульсации, крутящего момента, так, например, если одно из колес транспортного средства будет находиться на льду, то величина крутящего момента, реализуемого этим колесом, выйдет за пределы возможностей дифференциала и колесо будет продолжать буксовать с пульсирующей скоростью вращения.
Наиболее близким к предложенному устройству по технической сущности и достигаемому эффекту является конический дифференциал, выбранный в качестве прототипа (см. Патент РФ № 2007303, кл. В60К 17/20,1994), содержащий корпус с оппозитно расположенными полуосевыми шестернями и находящиеся с ними в зацеплении сателлиты, установленные на закрепленной в корпусе оси, а геометрические оси шестерен расположены в корпусе дифференциала под углом 15…30′ к геометрической оси вращения корпуса и сателлиты подпружинены относительно корпуса.
Недостатками прототипа являются ограниченные усилиями пружин тормозящие свойства, передаваемые сателлиту, находящемуся в зауженной зоне между полуосевыми шестернями.
Целью изобретения является повышение блокирующих свойств дифференциала.
Поставленная цель достигается тем, что в коническом дифференциале, содержащем корпус с оппозитно расположенными полуосевыми шестернями, геометрические оси которых составляют с геометрической осью вращения корпуса острый угол, сателлиты, подпружиненные относительно корпуса, установлены на оси, застопоренной от вращения, при этом сателлиты помещены на цангах с возможностью взаимодействия цанг с осью.
Взаимодействие сателлитов с цангами, а последних с осью, застопоренной от вращения относительно корпуса, дает возможность сателлиту, проходящему через зауженную зону между полуосевыми шестернями, переместиться по цанге вдоль нее, тем самым сжать цангу, которая, охватывая невращающуюся ось и взаимодействуя с сателлитом, притормозит его вращение вокруг своей оси и передаст крутящий момент остановившемуся колесу, т.е. прекратит буксование.
Вышеуказанные признаки отличают предлагаемое устройство от прототипа и обуславливают его соответствие критериям «новизна» и «положительный эффект».
Признак «сателлиты помещены на цангах с возможностью взаимодействия цанг с осью» является неизвестным, следовательно, вся совокупность признаков обладает критерием «существенные отличия».
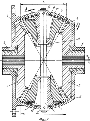
На фиг.1 изображен конический дифференциал, в разрезе вдоль по оси сателлитов; на фиг.2 – цанга в аксонометрической проекции; на фиг.3 – взаимное перемещение элементов механизма дифференциала при прохождении транспортным средством криволинейного участка дороги; на фиг.4 – взаимодействие элементов дифференциала при движении транспортного средства по прямому участку дороги; на фиг.5 изображены варианты стопорения оси сателлитов.
Конический дифференциал содержит корпус 1, полуосевые шестерни 2 и 3, сателлиты 4 и 5, установленные на оси 6 и подпружиненные тарельчатыми пружинами 7. В корпусе 1 в гнездах установлены втулки 8 полуосевых шестерен и кольца 9. На оси 6 размещены цанги 10, ограниченные от осевого перемещения кольцами 11. Стопорение оси сателлитов от вращения вокруг своей оси может быть осуществлено, например, установочными винтами по ГОСТ 1476 – 84,1477 – 84 и 1478 – 84, например нажимным врезным винтом 12 (фиг.5,а); врезным винтом с цилиндрическим хвостовиком (фиг.5, б); пазововинтовым соединением (фиг.5, в); и врезным винтом коническим (фиг.5, г).
Гнезда под втулки 8 в корпусе 1 обработаны таким образом, что геометрические оси шестерен относительно геометрической оси вращения корпуса образуют угловое смещение, в пределах от 15 до 30′. При этом расстояния между осями шестерен L и L’ находятся между собой в зависимости L>L’.
Дифференциал работает следующим образом.
При прямолинейном движении транспортного средства (см. фиг.4) корпус дифференциала 1 и сателлиты 4 и 5 имеют одинаковую угловую скорость, равную С, а сателлит 5, находится в зоне размера L’. При прохождении этой зоны сателлит был передвинут вдоль оси 6, своей внутренней конической поверхностью сжал цангу 10, которая заклинилась на оси 6. Пружина 7 сжата. Сателлит 5, так же как и сателлит 4, передает обеим полуосевым шестерням одну угловую скорость, т.е. возникает закономерность с=а=q, и транспортное средство каждым колесом проходит участок пути в единицу времени, равную h”=h.”‘
При попадании одного из колес на участок дороги с меньшим коэффициентом сцепления относительно колеса, которое сцеплено с дорогой лучше, это колесо получает полностью весь крутящий момент от корпуса дифференциала, а колесо с большим коэффициентом сцепления останавливается. Начинается так называемое буксование, при котором сателлиты обкатываются по остановившейся шестерне. Но в предлагаемом устройстве этого не происходит, потому что сателлит, например сателлит 5, не может пройти зону L’ – заклинивается, переместившись вдоль по цанге, сжимает пружину 7 и, увлекая во вращение остановившуюся полуосевую шестерню, прекращает буксование.
При движении транспортного средства по криволинейной траектории (см. фиг.3), например при входе в левый поворот, полуосевая шестерня 3 становится забегающей, ее угловая скорость d равняется угловой скорости правого колеса q и при этом стремится повернуться относительно корпуса 1 дифференциала, поворачивает на некоторый угол сателлиты 4 и 5, а те, в свою очередь, поворачивают полуосевую шестерню 2 в обратном направлении по отношению к шестерне 3, что способствует выходу заблокированному сателлиту из узкой зоны L’, пружина 7 снимает сателлит с цанги и образуются зазоры: – торцовый зазор; – осевой зазор, т.е. дифференциал разблокируется.
При этом (мгновенные) угловые скорости f, d и b направлены в противоположные стороны, а угловые скорости левого колеса и его полуосевой шестерни h и b меньше угловых скоростей правого колеса и его полуосевой шестерни, т.е. возникает зависимость h=b
Таким образом, процесс прохождения криволинейного участка дороги транспортным средством осуществляется при разблокированном дифференциале, что снижает нагруженность узлов привода и колес. Дифференциал остается заблокированным при попадании одного из колес в худшие сцепные условия и обеспечивает повышение проходимости, а разблокируется только при возникновении кинематического рассогласования угловых скоростей вращения ведущих колес при повороте и при движении транспортного средства по неровностям дороги, при котором угловые скорости ведущих колес также рассогласованы.
Предложенное устройство по сравнению с прототипом позволяет более полно использовать блокирующие свойства дифференциала, т.к. цанги при заблокированном дифференциале дополнительно притормаживают вращение сателлитов вокруг своей оси, вовлекая в движение остановившуюся полуосевую шестерню, т.е. прерывая буксование колеса, получающего весь крутящий момент от корпуса.
К недостаткам устройства следует отнести следующие.
Зазоры  и практически могут иметь значения от 0 до нескольких десятых долей миллиметра, поэтому работоспособность устройства зависит от совокупности взаимосвязанных параметров: толшины кольца 9, расположения вдоль оси кольца 11, жесткости пружины 7, величины угла конической поверхности цанги 10 и сопряженной с ней внутренней поверхности сателлита, а также величины угла . Все эти параметры практически поддаются изменению в пределах, обеспечивающих надежность и работоспособность механизма конического дифференциала.
Формула изобретения
Конический дифференциал, содержащий корпус с оппозитно расположенными полуосевыми шестернями, геометрические оси которых составляют с геометрической осью вращения корпуса острый угол, и находящиеся с ними в зацеплении сателлиты, подпружиненные относительно корпуса и установленные на оси, застопоренной от вращения, отличающийся тем, что сателлиты помещены на цангах с возможностью взаимодействия цанг с осью.
РИСУНКИ
=q>
|
|