|
|
(21), (22) Заявка: 2006107848/11, 13.03.2006
(24) Дата начала отсчета срока действия патента:
13.03.2006
(43) Дата публикации заявки: 27.09.2007
(46) Опубликовано: 20.12.2008
(56) Список документов, цитированных в отчете о поиске:
RU 97109322 А, 10.05.1999. SU 564981 A1, 15.07.1977. SU 1779624 A1, 07.12.1992. GB 1136780 A, 18.12.1968.
Адрес для переписки:
455011, Челябинская обл., г. Магнитогорск, ул. Курганская, 9, кв.1, В.М. Антропову
|
(72) Автор(ы):
Антропов Валерий Михайлович (RU)
(73) Патентообладатель(и):
Антропов Валерий Михайлович (RU)
|
(54) МЕХАНИЧЕСКАЯ КОРОБКА ПЕРЕДАЧ С АВТОМАТИЧЕСКИМ ПЕРЕКЛЮЧЕНИЕМ СКОРОСТЕЙ
(57) Реферат:
Изобретение относится к механическим многоступенчатым коробкам передач с автоматическим переключением скоростей. Коробка передач содержит корпус и размещенные в нем параллельно друг другу промежуточный вал, ведущий вал и ведомый вал. Ведущий вал передает крутящий момент на ведомый вал путем зацепления зубьев шестерни ведущего вала какой-либо передачи с соответствующей шестерней ведомого вала. Ведомый вал соединен с карданным валом автомобиля. Коробка передач отличается тем, что ведомый вал разделен на участки, количество которых соответствует количеству передач коробки. Каждый участок ведомого вала ограничен с обоих концов цилиндрическим диском, жестко и неподвижно закрепленным на валу, и разделен на резьбовую и гладкую зоны. Шестерня каждого участка ведомого вала соединена с соответствующей шестерней ведущего вала с помощью вилки. Вилка обеспечивает только одновременное перемещение шестерен ведущего и ведомого валов одной передачи вдоль продольных осей обоих валов. Каждая шестерня ведомого вала содержит в центре шестерни отверстие с резьбой, внутри которого проходит участок ведущего вала. Это позволяет упростить процесс вождения автомобиля и оптимизировать работу двигателя автомобиля. 2 з.п. ф-лы, 1 ил.
Изобретение относится к автомобильной технике, более конкретно – к коробкам переключения передач в автомобиле.
Известны автомобильные коробки передач двух основных типов. Это механические, в которых переключение передач осуществляется вручную, и гидравлические, в которых переключение происходит автоматически.
Гидравлические передачи сложны в изготовлении, а механические неудобны тем, что приходится переключать передачи вручную, что усложняет процесс вождения автомобиля. Указанные недостатки устранены в предлагаемой механической коробке передач с автоматическим переключением скоростей. Прототипом предлагаемой механической коробки передач с автоматическим переключением скоростей (далее по тексту – коробка-автомат) является механическая 4-ступенчатая коробка передач автомобиля Газ 51 А (см. книгу «Устройство и эксплуатация автомобиля» под редакцией К.С.Шестопалова и В.Г.Чиняева M., изд. ДОСААФ, 1974 г.), которая состоит из ведущего вала, опирающегося на шариковый подшипник, установленный в передней стенке картера коробки передач, и подшипник, находящийся в гнезде заднего торца коленвала; ведомого вала, который вращается на двух подшипниках: роликовом, расположенном в торце ведущего вала, и шариковом, помещенном в задней стенке картера коробки передач.
На шлицах ведомого вала установлены блок скользящих шестерен (каретка) первой и второй передач и каретка третьей и четвертой передач. На ведомом валу находятся также ведущая шестерня привода спидометра и фланец, к которому крепятся барабан ручного тормоза и вилка промежуточного карданного вала. Коробка передач содержит также неподвижный промежуточный вал, на котором установлен блок шестерен промежуточного вала, состоящий из четырех шестерен, вращающихся на цилиндрических роликовых подшипниках, и блок шестерен заднего хода, которые установлены на отдельном неподвижном валу. Коробка передач содержит механизм переключения передач, состоящий из рычага переключения, ползунов, трех вилок переключения, фиксаторов, замков и предохранителя включения заднего хода. Ведущий и промежуточный валы соединены между собой шестернями постоянного зацепления.
Работает коробка передач следующим образом. В нейтральном положении вращается ведущий вал и соединенный с ним при помощи шестерни постоянного зацепления промежуточный вал. При включении первой передачи крутящий момент от ведущего вала через промежуточный вал и его малую шестерню передается большой шестерне ведомого вала. За счет уменьшения скорости вращения увеличивается усилие на ведомом валу. На второй и третьей передачах зацепляются соответствующие шестерни ведомого и промежуточного валов. Передаточное число уменьшается и соответственно уменьшается усилие на ведомом валу и увеличивается скорость вращения ведомого вала. Четвертая передача – прямая. Она включается перемещением каретки третьей-четвертой передачи до полного зацепления с ведущим валом. Крутящий момент при этом передается непосредственно ведомому валу, при этом скорость вращения валов одинаковая. При заднем ходе между шестернями первой передачи промежуточного вала и ведомого вала включен блок шестерен заднего хода. Недостатком такой коробки передач является ручное переключение передач, что усложняет вождение автомобиля и не позволяет обеспечить оптимальную работу двигателя.
Целью настоящего изобретения является устранение указанных недостатков.
Указанная цель достигается тем, что в известной коробке передач отсутствует механизм ручного переключения передач при движении автомобиля вперед.
Предлагаемая многоступенчатая коробка передач с автоматическим переключением скоростей (далее по тексту коробка-автомат) состоит из корпуса, внутри которого расположен ведущий вал, параллельно ему ведомый вал и параллельный им промежуточный вал, который соединен через сцепление с двигателем. Промежуточный вал имеет шлицевую поверхность и надетую на него шестерню, которая может свободно перемещаться вдоль оси вала и вращается вместе с валом. Эта шестерня, перемещаясь с помощью рычага и вилки по промежуточному валу, передает вращение от двигателя попеременно или на ведущий вал, или на ведомый вал. Ведомый вал соединен через карданный вал с ведущим мостом автомобиля. Ведомый вал представляет собой цилиндрический стержень, разделенный на участки. Количество участков соответствует количеству передач. Каждый участок ограничен с двух сторон цилиндрическими дисками, которые являются одновременно упорами для пружин, и фрикционными дисками сцепления для шестерен. Цилиндрические диски жестко и неподвижно закреплены на валу. Каждый участок разделен на две зоны. Одна зона (резьбовая) имеет винтовую резьбу, упирающуюся в неподвижно закрепленный на валу диск, с одного конца зоны и граничит с другой (гладкой) зоной с другого своего конца. Другая зона (гладкая) имеет гладкую поверхность, ограничена с одного своего конца резьбовой зоной, а с другого – цилиндрическим диском, жестко и неподвижно закрепленном на валу. Резьбовые зоны участков ведомого вала должны быть такими, чтобы за счет длины или шага резьбы, или того и другого одновременно обеспечить включение первой передачи раньше, чем другие передачи, кроме передачи заднего хода. На каждом участке расположены шестерни с разным количеством зубьев, соответствующих своему передаточному числу. Эти шестерни могут свободно вращаться на ведомом валу и перемещаться в пределах своих участков, кроме участка передачи вращения от промежуточного вала на ведомый вал, где шестерня жестко и неподвижно закреплена на ведомом валу. На каждом участке ведомого вала расположена пружина, надетая на вал и находящаяся между шестерней и цилиндрическим диском гладкой зоны. Каждая из шестерен ведомого вала (кроме шестерни передачи вращения от промежуточного вала) представляет собой цилиндрический диск с зубьями, плоская поверхность которого, расположенная со стороны резьбовой зоны, является фрикционной.
Кроме того, в центре шестерни расположено отверстие с резьбой. Диаметр отверстия и параметры резьбы должны соответствовать диаметру и параметрам резьбы резьбовой зоны на соответствующем участке ведомого вала, чтобы шестерня могла, как гайка, накручиваться на резьбовую зону, а в гладкой зоне свободно перемещаться по ее длине, причем свободно вращаясь на валу. Шестерня ведомого вала со стороны, противоположной фрикционной, содержит вилку, которая одним концом закреплена на ведущей шестерне, а другим концом – на ведомой шестерне. Вилка необходима для того, чтобы обеспечить только одновременное перемещение ведущей и ведомой шестерни вдоль осей ведущего и ведомого валов, и в то же время вилка не препятствует вращению шестерен ведущего и ведомого валов вокруг осей валов. Кроме того, вилка обеспечивает постоянное зацепление зубьев шестерен обоих валов. Ведущий вал представляет собой цилиндрический стержень со шлицами. На валу расположены шестерни, каждая из которых может свободно перемещаться вдоль оси ведущего вала. Вращаться вокруг своей оси шестерни могут только вместе с ведущим валом. Каждая из ведущих шестерен находится в постоянном зацеплении с соответствующей шестерней ведомого вала, а также соединена с соответствующей шестерней ведомого вала с помощью вилки (кроме участка передачи вращения от промежуточного вала, где шестерня ведущего вала неподвижно закреплена на ведущем валу и не имеет постоянного зацепления с шестерней промежуточного вала) для обеспечения совместного одновременного перемещения вдоль осей ведущего и ведомого валов.
Работает предлагаемая коробка-автомат следующим образом.
При включенном двигателе и выключенном сцеплении с помощью рычага и вилки перемещается шестерня промежуточного вала вдоль этого вала до полного зацепления с зубьями шестерни ведущего вала. После чего, при включении сцепления, приводятся во вращение промежуточный вал, находящаяся на нем шестерня, шестерня ведущего вала, сцепленная с шестерней промежуточного вала и через нее – ведущий вал коробки-автомата. При этом ведомый вал не вращается. Тогда ведущие шестерни ведущего вала будут вращать ведомые шестерни ведомого вала. Так как ведомый вал не вращается, то ведомая шестерня первой передачи под давление пружины, расположенной в гладкой зоне своего участка, переместится на резьбовую зону и перемещаясь по резьбе, как гайка, быстрее других ведущих шестерен войдет в соприкосновение своей фрикционной поверхностью с фрикционной поверхностью цилиндрического диска резьбовой зоны. Так как диск резьбовой зоны застопорит движение ведомой шестерни первой передачи, то она будет вращаться вместе с ведущей шестерней и одновременно будет вращать ведомый вал. Таким образом, будет обеспечено движение автомобиля на первой передаче. Разогнав автомобиль на первой передаче, для перехода на вторую передачу, необходимо сбросить газ (т.е. уменьшить обороты ведущего вала). Так как по инерции скорость вращения ведомого вала будет прежней, то скорость вращения ведущей шестерни первой передачи будет меньше, чем скорость вращения ведомого вала, и тем самым будет тормозить ведомую шестерню. При этом шестерня ведомого вала первой передачи, вращаясь по резьбовой зоне, выйдет из фрикционного зацепления с диском резьбовой зоны, сожмет пружину гладкой зоны и переместится в гладкую зону своего участка, где будет свободно вращаться независимо от оборотов ведомого вала. При соответствующем подборе передаточных чисел ведущих и ведомых шестерен, увеличив скорость вращения ведущего вала (добавив газ) наступит момент, когда скорость вращения (по инерции) ведомого вала и ведущего вала будут такими, что скорость вращения ведомой шестерни второй передачи будет больше скорости вращения ведомого вала. Таким образом, ведомая шестерня второй передачи под давлением пружины гладкой зоны своего участка переместится на резьбовую зону, и, перемещаясь по резьбе, также войдет в соприкосновение своей фрикционной поверхностью с фрикционной поверхностью цилиндрического диска резьбовой зоны. Диск резьбовой зоны застопорит движение ведомой шестерни второй передачи, и она будет вращаться с новой угловой скоростью и будет вращать соответственно ведомый вал и с новой скоростью. Таким образом, произойдет переключение на вторую передачу. Аналогично происходит переключение на другие – третью, четвертую, пятую и т.д. передачи. При необходимости перехода с более высокой передачи на более низкую, необходимо также снизить скорость вращения ведущего вала (сбросить газ), а потом через некоторое время, после того как автомобиль снизит скорость до необходимой, добавить скорость вращения ведущего вала (добавить газ). При этом в коробке-автомате произойдут вышеуказанные процессы в обратном порядке, и она сама автоматически включит соответствующую передачу. Все действия по переключению передач (кроме включения передачи заднего хода) необходимо выполнять при включенном сцеплении.
Задняя передача включается следующим образом. Выключается сцепление, рычагом переключения с помощью вилки шестерня промежуточного вала перемещается вдоль оси своего вала до зацепления с шестерней ведомого вала. Потом включается сцепление.
Ведущий вал при этом будет отключен, и вращение будет передаваться непосредственно на ведомый вал и через него на карданный вал и ведущий мост автомобиля в направлении заднего хода.
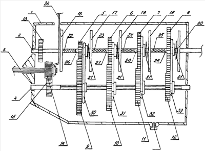
На чертеже изображена схема предлагаемой коробки-автомата, которая состоит из корпуса 1, ведущего вала 4, промежуточного вала 3, ведомого вала 2. На ведущем валу 4 расположены ведущие шестерни 9, 10, 11, 12 соответственно 4-й, 3-й, 2-й, 1-й передач, которые сблокированы с ведомыми шестернями 5, 6, 7, 8 ведомого вала 2 с помощью вилки 30, 31, 32, 33. Ведомый вал содержит шестерню 13, необходимую для передачи вращения от промежуточного вала 3. Ведомый вал содержит также резьбовые зоны 22, 23, 24, 25 соответственно 4-й, 3-й, 2-й, 1-й передачи, а также гладкие зоны 26, 27, 28, 29 и цилиндрические диски 16, 17, 18, 19, 20, ограничивающие участки ведомого вала, соответствующие 4-й, 3-й, 2-й, 1-й передачам, и пружины 21. Ведущий вал 4 содержит шестерню 15, необходимую для передачи вращения от промежуточного вала. Промежуточный вал 3 содержит шестерню 14, необходимую для передачи вращения от промежуточного вала попеременно или на ведущий, или на ведомый вал. Рычаг 34 необходим для перемещения шестерни 14 по промежуточному валу 3. Корпус коробки-автомата содержит маслосливную пробку 34. Отверстие для заливки масла условно не показано. Условно не показан привод спидометра и другие неосновные детали и узлы.
Схема работы предлагаемой коробки-автомата следующая.
При включенном двигателе и выключенном сцеплении рычагом 34 по промежуточному валу 3 шестерня 14 перемещается до зацепления с шестерней 15 ведущего вала 4. После этого включается сцепление, и вращение от двигателя через вал 3 шестерню 14 и шестерню 15 передается на ведущий вал 4. При этом ведомый вал 2 остается неподвижным, так как автомобиль остается неподвижным. Ведомые шестерни 5, 6, 7, 8 будут вращаться на неподвижном ведомом валу 2, из-за того что вращаются ведущие шестерни 9, 10, 11, 12 ведущего вала 4. Под давлением пружин 21 ведомые шестерни 5, 6, 7, 8 переместятся с гладких зон 26, 27, 28, 29 ведомого вала 2 на резьбовые зоны ведомого вала 2. Резьбовые зоны ведомого вала 2 подобраны таким образом, что шестерня 8 раньше остальных ведомых шестерен войдет в соприкосновение со своим цилиндрическим диском 19, застопорится и начнет вращаться вместе с валом 2. При вращении ведущего вала 4 скорость вращения ведущих шестерен 9, 10, 11, 12 будет одинаковая, а ведомых шестерен 5, 6, 7 будет выше, чем шестерни 8 и вала 2, что будет препятствовать их стопорению цилиндрическими дисками 16, 17, 18. При достижении определенной скорости вращения ведомого вала 2 и последующего снижения скорости вращения ведущего вала 4 (сброс газа) ведомый вал 2 по инерции будет вращаться с прежней скоростью, а ведущий вал 4 – с меньшей. При этом скорость вращения шестерни 8 будет меньше, чем скорость вращения вала 2 и оно выйдет из резьбовой зоны 25. Когда скорости вращения ведущего вала 4 и ведомого вала 2 достигнут соответствующих величин, при которых скорость вращения ведомой шестерни 7 будет выше скорости вращения вала 2, шестерня 7 под давлением пружины 21 войдет в резьбовую зону 2-й передачи 24 и далее войдет в соприкосновение с диском 18, застопорится и будет вращаться с новой скоростью, и соответственно будет вращаться ведомый вал 2 с новой скоростью. То есть произойдет переключение в коробке-автомате на 2-ю передачу. Аналогично будет происходить переключение на 3-ю, 4-ю и т.д. передачи.
Задняя скорость включается следующим образом. Выключается сцепление, рычагом 34 шестерня 14 перемещается по валу 3 до зацепления с шестерней 13 ведомого вала. После чего включается сцепление, и тем самым передается вращение от вала 3 на ведомый вал 2 в обратную сторону. При этом ведущий вал 4 будет выключен из работы коробки-автомата. Однако из-за того, что ведомые шестерни 5, 6, 7, 8 и ведущие шестерни 9, 10, 11, 12 находятся в постоянном зацеплении, то при изменении направления вращения ведомого вала 2 шестерня 8 1-й передачи автоматически войдет в соприкосновение с диском 19, застопорится и будет вращать вхолостую вал 2. При этом шестерни 5, 6, 7 будут свободны от стопорения дисками 16, 17, 18 соответственно из-за разницы в передаточных соотношениях шестерен ведущего и ведомого валов.
Таким образом, при включении задней передачи и движении автомобиля назад автоматически происходит подготовка коробки-автомата к включению 1-й передачи для движения автомобиля вперед.
Формула изобретения
1. Механическая многоступенчатая коробка передач с автоматическим переключением скоростей, содержащая корпус, размещенные в нем ведущий вал, ведомый вал, промежуточный вал, шестерни, находящиеся на ведущем, ведомом и промежуточном валах, привод спидометра, механизм переключения задней передачи, отличающаяся тем, что промежуточный вал соединен через сцепление с двигателем и имеет шлицевую поверхность и надетую на него шестерню, которая может свободно перемещаться с помощью рычага и вилки вдоль оси вала и вращается вместе с валом, ведомый вал разделен на участки, соответствующие количеству передач, причем каждый участок ограничен с двух сторон цилиндрическими дисками, жестко и неподвижно закрепленными на валу, которые являются одновременно упорами для пружин и фрикционными дисками сцепления для шестерен, каждый участок разделен на две зоны: одна зона – резьбовая, имеет винтовую резьбу, упирающуюся в неподвижно закрепленный на валу диск с одного конца зоны, и граничит с другой – гладкой зоной, с другого своего конца, резьбовые зоны участков ведомого вала должны быть такими, чтобы за счет длины или шага резьбы, или того и другого одновременно обеспечить включение первой передачи раньше, чем другие передачи, на каждом участке расположены шестерни с разным количеством зубьев, соответствующих своему передаточному числу, на участке передачи вращения от промежуточного вала на ведомый вал шестерня жестко и неподвижно закреплена, на каждом участке ведомого вала расположена пружина, надетая на вал и находящаяся между шестерней и цилиндрическим диском гладкой зоны, каждая из шестерен ведомого вала представляет собой цилиндрический диск с зубьями, плоская поверхность которого, расположенная со стороны резьбовой зоны, является фрикционной, в центре шестерни расположено отверстие с резьбой, диаметр и параметры резьбы которого должны соответствовать диаметру и параметрам резьбы резьбовой зоны на соответствующем участке ведомого вала, чтобы шестерня могла накручиваться на резьбовую зону, а в гладкой зоне свободно перемещаться по ее длине, свободно вращаясь на валу, ведущий вал имеет шлицы, на которых расположены шестерни, каждая из которых может свободно перемещаться вдоль оси и вращаться вокруг своей оси вместе с ведущим валом, каждая из ведущих шестерен находится в постоянном зацеплении с соответствующей шестерней ведомого вала, а также соединена с соответствующей шестерней ведомого вала с помощью вилки, шестерня ведущего вала на участке передачи вращения от промежуточного вала на ведущий вал неподвижно закреплена на ведущем валу и не имеет постоянного зацепления с шестерней промежуточного вала.
2. Коробка передач по п.1, отличающаяся тем, что шестерня участка ведомого вала соединена с соответствующей шестерней ведущего вала с помощью вилки, соединяющей шестерни ведущего и ведомого валов одной передачи, которая обеспечивает только одновременное перемещение шестерен ведущего и ведомого валов одной передачи вдоль продольных осей обоих валов и не препятствует вращению шестерен вокруг продольных осей валов.
3. Коробка передач по п.1, отличающаяся тем, что шестерни всех передач, размещенные на ведущем и ведомом валах, находятся в постоянном зацеплении, кроме шестерен, передающих на ведомый и ведущий валы крутящий момент от промежуточного вала.
РИСУНКИ
|
|