|
|
(21), (22) Заявка: 2007109724/02, 16.03.2007
(24) Дата начала отсчета срока действия патента:
16.03.2007
(46) Опубликовано: 20.12.2008
(56) Список документов, цитированных в отчете о поиске:
SU 668816 А1, 25.06.1979. SU 1461637 А1, 28.02.1989. RU 2147520 С1, 20.04.2000. GB 2098960 А, 01.12.1982. US 6267574 В1, 31.07.2001.
Адрес для переписки:
103735, Москва, ул. Ильинка, 5/2, ООО “Союзпатент”, пат.пов. Ю.В.Пинчуку, рег.№ 656
|
(72) Автор(ы):
ХО Ю-Пей (TW)
(73) Патентообладатель(и):
ХО Ю-Пей (TW)
|
(54) ПРЕСС-ФОРМА С ВЫВОДЯЩЕЙ ТРУБКОЙ ДЛЯ ИЗВЛЕЧЕНИЯ ОТФОРМОВАННОГО ИЗДЕЛИЯ И ПРОПУСКАНИЯ ПОТОКА ВОЗДУХА
(57) Реферат:
Изобретение относится к пресс-формам и, в частности, к конструкции пресс-формы, которая содержит выводящую трубку для извлечения отформованного изделия и пропускания потока воздуха. Пресс-форма включает верхнюю и нижнюю секции, имеющие формовочные поверхности. Упомянутые поверхности образуют полость пресс-формы. В пресс-форме предусмотрен выталкивающий узел, содержащий по меньшей мере одну выводящую трубку. Трубка расположена подвижно внутри нижней секции и имеет выталкивающий конец. Выводящая трубка соединена с воздушной камерой в нижней секции пресс-формы и с ее полостью. При прессовании изделия пневматическое устройство подает сжатый воздух в полость пресс-формы через выводящую трубку. Выталкивающий конец последней перемещается в полость пресс-формы для извлечения спрессованного изделия из нижней секции. В результате обеспечивается повышение срока службы пресс-формы, производительности прессования и качества готовых изделий. 7 з.п. ф-лы, 20 ил.
Область техники, к которой относится изобретение
Данное изобретение относится к пресс-форме и, в частности, к конструкции пресс-формы, которая содержит выводящую трубку для извлечения отформованного изделия и пропускания потока воздуха.
Уровень техники
Как показано на фиг.1, традиционная конструкция 10 пресс-формы включает в себя верхнюю секцию 11 пресс-формы, нижнюю секцию 12 пресс-формы, вентиляционную секцию 13 и выводящую секцию 14. Верхняя и нижняя секции 11, 12 пресс-формы соединены вместе так, чтобы между ними образовалась полость 101 пресс-формы. Верхняя секция 11 пресс-формы сформирована с приемным отверстием 111, которое соединено с полостью 101 пресс-формы. Вентиляционная секция 13 включает в себя воздуховод 131, соединенный с полостью 101 пресс-формы, и множество вентиляционных трубок 132, соединенных с воздуховодом 131 и пневматическим устройством (не показано). Пневматическое устройство работает для откачивания воздуха из полости 101 пресс-формы через вентиляционную секцию 13. Сам по себе формовочный материал 1, поданный через приемное отверстие 111, может быть закачан для заполнения полости 101 пресс-формы. Выводящая секция блок 14 включает в себя подвижное основание 141, расположенное подвижно в нижней секции 12 пресс-формы, и множество выталкивающих стержней 142 с нижними концами, плотно присоединенными к подвижному основанию 141. Верхние концы выталкивающих стержней 142 расположены снаружи полости 101 пресс-формы. После того как изделие отформовано в полости 101 пресс-формы, верхняя секция 11 пресс-формы отодвигается от нижней секции 12 пресс-формы. После этого приводное устройство (такое, как гидравлическое устройство) работает так, чтобы передвигать подвижное основание 141 и выталкивающие стержни 142 вверх в нижней секции 12 пресс-формы. Следовательно, верхние концы выталкивающих стержней 142 двигаются в полость 101 пресс-формы, чтобы тем самым удалить отформованное изделие из нижней секции 12 пресс-формы.
Вышеуказанная традиционная конструкция 10 пресс-формы имеет следующие недостатки.
(1) Так как вентиляционная секция 13 расположена вблизи от левого конца полости 101 пресс-формы, то когда часть полости 101 пресс-формы имеет сложную форму, прессуемому материалу трудно достичь формовочной поверхности, образующей эту часть полости 101 пресс-формы. Чтобы дать прессуемому материалу возможность достичь формовочной поверхности, необходимо увеличить давление для заливки прессуемого материала в полость 101 пресс-формы. Когда увеличенное давление прикладывается между верхней и нижней секциями 11, 12 пресс-формы, могут образоваться щели в конструкции 10 пресс-формы, там, где верхняя и нижняя секции 11, 12 пресс-формы соединяются. Из-за наличия щелей при прессовании у отформованного изделия образуются заусенчатые концы. Далее, когда приложенное давление чрезмерно, верхняя и нижняя секции 11, 12 пресс-формы легко деформируются, что вызывает проблемы с удалением верхней и нижней секций 11, 12 пресс-формы друг от друга и снижение срока службы верхней и нижней секций 11, 12 пресс-формы. Для решения этой проблемы верхняя и нижняя секции 11, 12 пресс-формы могут быть изготовлены из высокопрочного металла. Однако это увеличивает стоимость производства верхней и нижней секций 11, 12 пресс-формы.
(2) Если конструкция 10 пресс-формы имеет множество полостей 101 пресс-формы, то число полостей 101 пресс-формы можно уменьшить, чтобы дать возможность прессуемому материалу 1 полностью заполнить полости 101 пресс-формы. Однако это значительно снижает производительность конструкции 10 пресс-формы.
Раскрытие изобретения
Цель данного изобретения состоит в обеспечении конструкции пресс-формы, которая может преодолеть вышеупомянутые недостатки, связанные с уровнем техники.
В соответствии с этим изобретением конструкция пресс-формы включает в себя выводящую трубку, расположенную подвижно внутри вентиляционного отверстия в нижней секции пресс-формы и имеющую выводящий конец. Выводящая трубка соединена с воздушной камерой в нижней секции пресс-формы и с полостью пресс-формы. Пневматическое устройство действует для откачивания воздуха из полости пресс-формы через выводящую трубку. Выводящая трубка действует для движения внутри вентиляционного отверстия между отведенным положением, в котором выводящий конец расположен вне полости пресс-формы, и выводящим положением, в котором выводящий конец вдвигается внутрь полости пресс-формы так, чтобы отформованное изделие могло удаляться из нижней секции пресс-формы. Пневматическое устройство также действует для введения сжатого воздуха внутрь полости пресс-формы через воздушную камеру и выводящую трубку.
Краткое описание чертежей
Эти и другие признаки и преимущества данного изобретения станут очевидны в нижеследующем подробном описании предпочтительного варианта осуществления данного изобретения со ссылкой на сопровождающие чертежи.
Фиг.1 представляет собой вид в разрезе традиционной конструкции пресс-формы.
Фиг.1А представляет собой условную блок-схему предпочтительного варианта осуществления конструкции пресс-формы согласно данному изобретению, показывающую, как предпочтительный вариант осуществления соединяется с пневматическим устройством и гидравлическим устройством.
Фиг.2 представляет собой вид в перспективе верхней секции пресс-формы предпочтительного варианта осуществления.
Фиг.3 представляет собой вид снизу верхней секции пресс-формы предпочтительного варианта осуществления.
Фиг.4 представляет собой вид в разрезе, взятый вдоль по линии 4-4 на Фиг.3.
Фиг.5 представляет собой вид в разрезе верхней выводящей секции предпочтительного варианта осуществления, когда выводящая трубка верхней выводящей секции расположена в отведенном положении.
Фиг.5А представляет собой условный вид, показывающий кольцевой зазор, образованный между вентиляционной трубкой и выводящим блоком верхней выводящей секции предпочтительного варианта осуществления.
Фиг.6 представляет собой вид в перспективе нижней секции пресс-формы предпочтительного варианта осуществления.
Фиг.7 представляет собой вид сверху нижней секции пресс-формы предпочтительного варианта осуществления.
Фиг.8 представляет собой вид в разрезе, взятый вдоль линии 8-8 на Фиг.7.
Фиг.9 представляет собой вид в разрезе нижней выводящей секции предпочтительного варианта осуществления, когда выводящий конец сокращен.
Фиг.9А представляет собой условный вид, показывающий крестовидный разрез, сформированный в выводящем конце предпочтительного варианта осуществления.
Фиг.10 представляет условный, частично в разобранном состоянии, частично в разрезе, вид предпочтительного варианта осуществления, показывающий, как воздух выдувают из полости пресс-формы.
Фиг.11 представляет собой частичный вид в разрезе предпочтительного варианта осуществления, показывающий отведенное положение выводящего стержня.
Фиг.12 представляет собой частичный вид в разрезе предпочтительного варианта осуществления, показывающий сокращение выводящего стержня.
Фиг.13 представляет собой условный, частично в разобранном состоянии, частично в разрезе, вид предпочтительного варианта осуществления, показывающий, как сжатый воздух вводят в полость пресс-формы.
Фиг.14 представляет собой частичный вид в разрезе предпочтительного варианта осуществления, показывающий выводящее расположение выводящего стержня.
Фиг.15 представляет вид в разрезе верхней выводящей секции предпочтительного варианта осуществления, когда выводящий стержень расположен в выводящем положении.
Фиг.16 представляет собой частичный вид в разрезе предпочтительного варианта осуществления, когда выводящий конец растянут.
Фиг.17 представляет собой вид в разрезе нижней выводящей секции предпочтительного варианта осуществления, когда выводящий конец растянут.
Осуществление изобретения
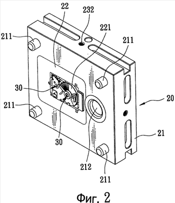
Как показано на Фиг.1А, 2, 6 и 10, предпочтительный вариант осуществления конструкции (М) пресс-формы в соответствии с данным изобретением включает в себя основание 2 пресс-формы и выводящий узел. Основание 2 пресс-формы включает в себя пару из нижней и верхней секций 20, 40 пресс-формы. Выводящий узел включает в себя множество верхних выводящих секций 30 (только одна показана на Фиг.1А и 10) и множество нижних выводящих секций 50 (только одна показана на Фиг.1А и 10). Верхняя секция 20 пресс-формы включает в себя верхнюю половину 21 пресс-формы, верхнюю сердцевину 22 пресс-формы, верхнюю вентиляционную секцию 23 (см. Фиг.14), состоящую из верхней воздушной камеры 231 и вентиляционного отверстия 232, соединенного с верхней воздушной камерой 231, и удерживающий трубку элемент 24. Нижняя секция 40 пресс-формы 40 включает в себя нижнюю половину 41 пресс-формы, нижнюю сердцевину 42 пресс-формы, нижнюю вентиляционную секцию 43, состоящую из нижней воздушной камеры 431 и вентиляционного отверстия 432, соединенного с нижней воздушной камерой 431, и подвижный элемент 44. Пневматическое устройство 60 может быть соединено с основанием 2 пресс-формы так, что верхняя и нижняя воздушные камеры 231, 431 соединены с ней через вентиляционные отверстия 232, 432 соответственно. Гидравлическое устройство 70 может быть соединено с нижними выводящими секциями 50 для перемещения их по вертикали.
На Фиг.3, 4, 5, и 5А верхняя половина 21 пресс-формы включает в себя четыре параллельных позиционирующих штыря 211, вставленных соответственно в четыре позиционирующих отверстия 411 в нижней половине 41 пресс-формы известным образом, и подающее отверстие 212, обеспечивающее подачу через него прессуемого материала в верхнюю половину 21 пресс-формы. Верхняя и нижняя сердцевины 22, 42 пресс-формы сформированы соответственно с верхней и нижней формовочными поверхностями 221, 421, образующими полость пресс-формы между ними. Верхняя сердцевина 22 пресс-формы сформирована далее множеством вертикальных принимающих трубку отверстий 222, расположенных между полостью пресс-формы и верхней воздушной камерой 231 и соединенных с ними. Принимающие трубки отверстия 222 сформированы соответственно в позициях на формовочной поверхности 221, достижение которых прессуемым материалом затруднено. Каждая из верхних выводящих секций 30 включает в себя вентиляционную трубку 31, расположенную внутри соответствующего принимающего трубку отверстия 222 и соединяющуюся с полостью пресс-формы, выводящий стержень 32 и витую пружину 33 сжатия. Удерживающий трубку элемент 24 неподвижно прикреплен к верхней поверхности верхней сердцевины 22 пресс-формы, чтобы предотвратить перемещение вентиляционных трубок 31 относительно верхней сердцевины 22 пресс-формы. Верхняя воздушная камера 231 образована между удерживающим трубку элементом 24 и верхней половиной 21 пресс-формы. Удерживающий трубку элемент 24 сформирован с множеством отверстий 241, имеющих верхние концы, соединенные с верхней воздушной камерой 231, и нижние концы, соединенные соответственно с вентиляционными трубками 31. Каждая из вентиляционных трубок 31 имеет расширенный верхний конец 311, входящий в расширенный конец соответствующего принимающего трубку отверстия 222, и центральное осевое отверстие 312, которое сформировано сквозным и которое имеет конец 313 с расширяющимся наружу отверстием в виде усеченного конуса, расположенный вблизи полости пресс-формы, и часть 314 с расширенным отверстием, расположенную вблизи конца 313 с отверстием в виде усеченного конуса. Каждый из выталкивающих стержней 32 расположен подвижно внутри конца 313 с отверстием в виде усеченного конуса и части 314 с расширенным отверстием соответствующего центрального отверстия 312 и имеет выталкивающий блок 321 в виде усеченного конуса, расположенный на его конце вблизи полости пресс-формы и внутри конца 313 с отверстием в виде усеченного конуса соответствующего центрального отверстия 312, и остановочный блок 322, расположенный на его противоположном конце. Каждая из пружин 33 сжатия расположена внутри соответствующей части 314 расширенного отверстия, намотана на соответствующий выталкивающий стержень 32 и имеет два конца, упирающихся соответственно в соответствующий остановочный блок 322 и кромку 315 соответствующей вентиляционной трубки 31, образующей конец соответствующей части 314 с расширенным отверстием, чтобы смещать соответствующий остановочный блок 322 от кромки 315. По существу, каждый из выталкивающих стержней 32 смещается соответствующей пружиной 33 до отведенного положения, показанного на Фиг.5, 11 и 14, в котором соответствующий выталкивающий блок 321 расположен вне полости пресс-формы и в котором соответствующий выталкивающий блок 321 принимается почти вплотную внутри соответствующего конца 313 с отверстием в виде усеченного конуса, т.е. кольцевой зазор (I) (см. Фиг.5А), служащий воздуховодом, формируется между соответствующим выталкивающим блоком 321 и стенкой соответствующей вентиляционной трубки 31, образующей соответствующий конец 313 отверстия в виде усеченного конуса, и имеет ширину в радиальном направлении от 0,03 до 0,05 мм. По существу, при приведении в действие пневматического устройства 60 воздух может выводиться из полости пресс-формы в каждую из вентиляционных трубок 31 через пространство между соответствующим выталкивающим блоком 321 и соответствующей вентиляционной трубкой 31, либо сжатый воздух может вводиться в полость пресс-формы через верхнюю воздуховодную секцию 23 и соответствующую вентиляционную трубку 31, чтобы перемещать соответствующий выталкивающий блок 321 в выводящую позицию, показанную на Фиг.14 и 15, в которой соответствующий выталкивающий блок 321 перемещается в полость пресс-формы, тем самым облегчая удаление отформованного изделия с формовочной поверхности 221 верхней сердцевины 22 пресс-формы.
С дополнительной ссылкой на Фиг.6, 7, 8, 9 и 9А нижняя сердцевина 42 пресс-формы сформирована далее с множеством вертикальных направляющих отверстий 422, расположенных между полостью пресс-формы и нижней воздушной камерой 431. Направляющие отверстия 422 сформированы соответственно на позициях в формовочной поверхности 421, достижение которых прессуемым материалом затруднено.
Подвижный элемент 44 может быть приведен в движение гидравлическим устройством 70 для перемещения вертикально внутри камеры 412 в нижней половине 41 пресс-формы. Подвижный элемент 44 включает в себя горизонтальную верхнюю пластину 441, горизонтальную среднюю пластину 442 и горизонтальную нижнюю пластину 443. Верхняя пластина 441 имеет множество вертикальных расточенных отверстий 436, сформированных через нее. Каждое из расточенных отверстий 436 имеет часть 437 отверстия малого диаметра, проходящую вниз от верхней поверхности верхней пластины 441, и часть 438 отверстия большого диаметра, проходящую вверх от нижней поверхности верхней пластины 441 и соединенную с частью 437 отверстия малого диаметра. Средняя пластина 442 имеет верхнюю поверхность, соединенную неподвижно с нижней поверхностью верхней пластины 441 и упирающуюся в нее, и множество вертикальных сквозных отверстий 444 (только одно показано на Фиг.8), сформированных сквозь среднюю пластину 442. Нижняя пластина 443 имеет верхнюю поверхность, соединенную неподвижно с нижней поверхностью средней пластины 442 и упирающуюся в нее, и вместе со средней пластиной 442 образует нижнюю воздушную камеру 431 между ними. Нижняя воздушная камера 431 соединена с нижними концами сквозных отверстий 444 в средней пластине 442.
Каждый из нижних выталкивающих блоков 50 сконфигурирован как выводящая трубка и расположен подвижно внутри соответствующего направляющего отверстия 422. Выводящие трубки 50 проходят соответственно сквозь части 437 отверстий малого диаметра. Каждая из выводящих трубок 50 имеет выталкивающий конец 501 вблизи полости пресс-формы и соединительный конец 502, который имеет наружный диаметр больше, чем диаметр остальной части соответствующей выводящей трубки 50, удаленной от полости пресс-формы, который установлен внутри соответствующей части 438 отверстия большого диаметра, который закреплен между верхней и средней пластинами 441, 442 и который соединяется с верхним концом соответствующего сквозного отверстия 444 в средней пластине 442. По существу, выводящие трубки 50 соединены неподвижно с подвижным элементом 44. Гидравлическое устройство 70 действует, чтобы перемещать каждую из выводящих трубок 50 внутри соответствующего направляющего отверстия 422 между отведенным положением, показанным на Фиг.10 и 12, и выводящим положением, показанным на Фиг.13 и 16. В отведенном положении выводящий конец 501 соответствующей выводящей трубки 50 располагается вне полости пресс-формы. В выводящем положении выводящий конец 501 соответствующей выводящей трубки 50 перемещается в полость пресс-формы, чтобы удалять спрессованное изделие из нижней сердцевины 42 пресс-формы.
Каждая из выталкивающих трубок 50 включает в себя жесткое трубчатое тело 51 и концевую часть 52, которая сделана из стальной пружины. Каждое из трубчатых тел 51 имеет центральное осевое отверстие 511, проходящее через нее и имеющее резьбовую часть 512 отверстия. Каждая из концевых частей 52 имеет наружную резьбовую часть 521, сцепляющуюся с соответствующей резьбовой частью 512 отверстия, открытую часть 522, сформированную заодно с наружной резьбовой частью 521 и расположенную снаружи соответствующего трубчатого тела 51, и центральное осевое отверстие 523, проходящее через нее. Каждая из открытых частей 52 сформирована с крестовидной прорезью 524, проходящей через нее вдоль ее осевого и радиального направлений, чтобы разделить соответствующую открытую часть 522 на четыре поворотные части 522′ (см. Фиг.9А), которые имеют свободные концы, составляющие соответствующий выталкивающий конец 501. Когда каждая из выводящих трубок 50 располагается в отведенном положении, соответствующий выталкивающий конец 501 сжат так, что каждая из двух пересекающих прорезь частей (II) (см. Фиг.9А) соответствующего разреза 524 имеет ширину примерно от 0,03 до 0,05 мм и служит воздухопроводом. Поскольку выводящие трубки 50 соединяются с полостью пресс-формы и нижней воздушной камерой 431, то когда прессуемый материал подается в полость пресс-формы, пневматическое устройство 60 может действовать для выведения воздуха из полости пресс-формы в выводящие трубки 50 для того, чтобы способствовать потоку прессуемого вещества, чтобы вызвать его соприкосновение с формовочной поверхностью 421 нижней сердцевины 42 пресс-формы. Пневматическое устройство 60 действует также, чтобы вводить через него сжатый воздух в полость пресс-формы через нижнюю вентиляционную секцию 43 и выводящие трубки 50 для того, чтобы облегчать удаление отформованного изделия от формовочной поверхности 421 нижней сердцевины 42 пресс-формы. Когда сжатый воздух протекает через концевые части 52, свободные концы поворотных частей 522′ каждой концевой части 52 раздвигаются в радиальном направлении друг от друга, как показано на Фиг.17, т.е. выталкивающие концы 501 расширяются. Таким образом, скорость, с которой сжатый воздух протекает в полость пресс-формы через концевые части 52, увеличивается.
При таком пояснении данного изобретения ясно, что многочисленные модификации и изменения могут быть сделаны без отхода от объема и сущности данного изобретения. Поэтому имеется в виду, что данное изобретение должно быть ограничено только как указано прилагаемой формулой изобретения.
Формула изобретения
1. Пресс-форма, приспособленная для пропускания прессуемого материала внутрь нее, содержащая основание (2) пресс-формы, включающее пару из верхней и нижней секций (20, 40), имеющих формовочные поверхности (221, 421), образующие полость пресс-формы между ними, и выталкивающий узел, приспособленный для выталкивания отформованного изделия из нижней секции (40) пресс-формы, и включающий по меньшей мере одну нижнюю выводящую секцию (50), отличающаяся тем, что нижняя секция (40) пресс-формы имеет нижнюю воздушную камеру (431), приспособленную для соединения с пневматическим устройством (60), и по меньшей мере одно направляющее отверстие (422), расположенное между полостью пресс-формы и нижней воздушной камерой (431), причем направляющее отверстие (422) сформировано в формовочной поверхности (421) нижней секции (40) пресс-формы в положении, достижение которого прессуемым материалом затруднено, нижняя выводящая секция (50) выполнена в виде выводящей трубки (50), которая подвижно расположена внутри направляющего отверстия (422), имеет выталкивающий конец (501) и соединена с полостью пресс-формы и нижней воздушной камерой (431) для обеспечения действия пневматического устройства (60) по выкачиванию воздуха из полости пресс-формы в выводящую трубку (50) для того, чтобы способствовать прохождению прессуемого материала и вызвать его соприкосновение с формовочными поверхностями (221, 421) при подаче прессуемого материала внутрь полости пресс-формы, выводящая трубка (50) имеет возможность перемещения внутри направляющего отверстия (422) между отведенным положением, в котором выталкивающий конец (501) выводящей трубки (50) расположен вне полости пресс-формы, и выводящим положением, в котором выталкивающий конец (501) выводящей трубки (50) перемещается в полость пресс-формы для удаления спрессованного продукта из нижней секции (40) пресс-формы, когда верхняя секция (20) пресс-формы удаляется от нижней секции (40) пресс-формы, а пневматическое устройство (60) имеет возможность введения сжатого воздуха в полость пресс-формы через нижнюю воздушную камеру (431) и выводящую трубку (50) для облегчения удаления отформованного изделия из нижней секции (40) пресс-формы.
2. Пресс-форма по п.1, отличающаяся тем, что выводящая секция содержит подвижный элемент (44), расположенный подвижно внутри нижней секции (40) пресс-формы с возможностью приведения в движение гидравлическим устройством (70) для перемещения по вертикали внутри нижней секции (40) пресс-формы, а выводящая трубка (50) имеет стыковочный конец (502), расположенный напротив выталкивающего конца (501) и неподвижно соединенный с подвижным элементом (44).
3. Пресс-форма по п.2, отличающаяся тем, что стыковочный конец (502) выводящей трубки (50) имеет наружный диаметр, превышающий диаметр остальной части выводящей трубки (50), подвижный элемент (44) включает в себя горизонтальную верхнюю пластину (441) с проходящим через нее расточенным отверстием (436), которое имеет часть (437) малого диаметра, проходящую вниз от верхней поверхности верхней пластины (441), и часть (438) большого диаметра, проходящую вверх от нижней поверхности верхней пластины (441) и соединенную с частью (437) малого диаметра, выводящая трубка (50) проходит через часть (437) малого диаметра отверстия горизонтальной верхней пластины, а стыковочный конец (502) выводящей трубки (50) установлен внутри части (438) большого диаметра, горизонтальную среднюю пластину (442), имеющую верхнюю поверхность, соединенную неподвижно с нижней поверхностью верхней пластины (441) и упирающуюся в нее с закреплением стыковочного конца (502) выводящей трубки (50) между верхней и средней пластинами (442), при этом средняя пластина (442) имеет сквозное отверстие (444) с верхним концом, соединенным со стыковочным концом (502) выводящей трубки (50), и горизонтальную нижнюю пластину (443), имеющую верхнюю поверхность, соединенную неподвижно с нижней поверхностью средней пластины (442) и упирающуюся в нее, при этом нижняя пластина (443) объединена со средней пластиной (442) для образования нижней воздушной камеры (431) между ними, которая соединена с нижним концом сквозного отверстия (444) в средней пластине (442).
4. Пресс-форма по п.1, отличающаяся тем, что выводящая трубка (50) в отведенном положении образует по меньшей мере один воздуховод (I, II), имеющий ширину от примерно 0,03 до 0,05 мм.
5. Пресс-форма по п.1, отличающаяся тем, что выводящая трубка (50) включает жесткое трубчатое тело (51) с центральным осевым отверстием (511), которое проходит через него и имеет резьбовую часть (512), концевую часть (52), имеющую часть (521) с наружной резьбой, расположенную в зацеплении с резьбовой частью (512) центрального отверстия (511), и открытую часть (522), сформированную зацело с частью (521) с наружной резьбой и расположенную вне трубчатого тела (51), при этом открытая часть (522) выполнена с по меньшей мере одной прорезью (524), проходящей через нее вдоль ее осевого и радиального направлений для разделения открытой части (522) на множество поворотных частей, имеющих свободные концы, которые составляют выталкивающий конец (501) и имеют возможность удаления друг от друга для увеличения скорости сжатого воздуха, поступающего из пневматического устройства (60) в полость пресс-формы через концевую часть (52).
6. Пресс-форма по п.2, отличающаяся тем, что концевая часть (52) выполнена из пружинной стали.
7. Пресс-форма по п.1, отличающаяся тем, что верхняя секция (20) пресс-формы имеет верхнюю воздушную камеру (231), выполненную с возможностью соединения с пневматическим устройством (60), и по меньшей мере одно отверстие (222) под трубку, расположенное между полостью пресс-формы и верхней воздушной камерой (231) и соединенное с ними, при этом отверстие (222) под трубку в верхней секции (20) пресс-формы выполнено в формовочной поверхности упомянутой верхней секции в положении, достижение которого прессуемым материалом затруднено, а выталкивающий узел включает по меньшей мере одну верхнюю выводящую секцию (30), содержащую вентиляционную трубку (31), расположенную внутри отверстия (222) под трубку в верхней секции (20) пресс-формы и соединенную с верхней воздушной камерой (231) и полостью пресс-формы, при этом вентиляционная трубка (31) имеет центральное осевое отверстие (312) с расширяющимся наружу концом (313) в виде усеченного конуса, расположенным вблизи полости пресс-формы, и выталкивающий стержень (32), расположенный подвижно внутри конца (313) отверстия в виде усеченного конуса и имеющий выталкивающий блок (321) в виде усеченного конуса, расположенный на конце выталкивающего стержня (32) вблизи полости пресс-формы и внутри конца (313) отверстия в виде усеченного конуса, при этом выталкивающий блок (321) выполнен с возможностью смещения в положение вне полости пресс-формы, в котором он размещен почти вплотную внутри конца (313) отверстия в виде усеченного конуса с возможностью подачи воздуха из полости пресс-формы в вентиляционную трубку (31) через пространство между выталкивающим блоком (321) и вентиляционной трубкой (31) с помощью пневматического устройства (60) и перемещения в полость пресс-формы при подаче пневматическим устройством (60) сжатого воздуха в полость пресс-формы через вентиляционную трубку (31).
8. Пресс-форма по п.7, отличающаяся тем, что центральное осевое отверстие (312) вентиляционной трубки (31) имеет расширенную часть (314), расположенную вблизи его конца (313) в виде усеченного конуса, при этом выталкивающий стержень (32) имеет остановочный блок (322), расположенный на его конце, удаленном от полости пресс-формы, верхний выталкивающий блок (30) включает витую пружину (33) сжатия, которая расположена внутри расширенной части (314) отверстия, навита на выталкивающий стержень (32) и имеет два конца, упирающихся соответственно в остановочный блок (322) и кромку (315) вентиляционной трубки (31), образующей конец расширенной части (314) отверстия для смещения остановочного блока (322) от кромки (315).
РИСУНКИ
|
|