|
|
(21), (22) Заявка: 2007128481/15, 24.07.2007
(24) Дата начала отсчета срока действия патента:
24.07.2007
(46) Опубликовано: 20.12.2008
(56) Список документов, цитированных в отчете о поиске:
SU 1741854 А1, 23.06.1992. SU 1393445 A2, 07.05.1988. RU 47765 U1, 10.09.2005. RU 2133222 C1, 20.07.1999. DE 1642898 A, 29.04.1971.
Адрес для переписки:
450078, г.Уфа, ул. Революционная, 96/2, ООО “РН-УфаНИПИнефть”, пат. пов. М.Б. Сафиной, рег.№ 744
|
(72) Автор(ы):
Латыпов Альберт Рифович (RU), Голубев Виктор Федорович (RU), Шаякберов Валерий Фаязович (RU), Голубев Михаил Викторович (RU)
(73) Патентообладатель(и):
ООО “РН-УфаНИПИнефть” (RU)
|
(54) УСТАНОВКА ДЛЯ ПОДГОТОВКИ ВОДЫ
(57) Реферат:
Изобретение относится к оборудованию для нефтедобывающей промышленности, а именно к установкам для подготовки воды, и может быть применено в напорных системах сбора и подготовки нефти. Установка содержит цилиндрическую емкость, к которой подсоединены трубопровод подвода воды, устройство для создания гидрофобного слоя и патрубок отвода воды. Патрубок отвода воды соединен с гидрозатвором, при этом выходное отверстие патрубка отвода воды расположено во внутренней полости гидрозатвора не ниже верхней линии емкости. К гидрозатвору подсоединен трубопровод отвода воды. Гидрозатвор может быть выполнен в виде заглушенного с торцов цилиндра, ось которого перпендикулярна поверхности, а трубопровод отвода воды расположен ниже выходного отверстия патрубка отвода воды. Емкость может быть снабжена газовым колпаком, соединенным патрубком отвода газа с гидрозатвором, к верхней части гидрозатвора подсоединен трубопровод отвода газа. Расположение выходного отверстия патрубка отвода воды во внутренней полости гидрозатвора не ниже верхней линии емкости позволяет постоянно поддерживать полное заполнение емкости. Технический результат состоит в повышении эффективности установки. 2 з.п. ф-лы, 2 ил.
Изобретение относится к области оборудования для нефтедобывающей промышленности, а именно к установкам для подготовки воды, и может быть применено в напорных системах сбора и подготовки нефти.
Известна установка для подготовки воды, содержащая цилиндрическую емкость, ось которой параллельна поверхности, к емкости подсоединены трубопроводы подвода воды, отвода воды и отвода нефти /Вагапов P.P., Хохлов Н.Г., Шагитов З.М. Промысловая подготовка сточных вод на Аскинской группе нефтяных месторождений. – Нефтяное хозяйство, 2006, №3. – С.126-128/.
Недостатками известной установки являются:
– сложность регулирования процесса подготовки, так как приходится поддерживать постоянно полное заполнение емкости очищаемой водой и своевременно отводить всплывающую нефть;
– малая производительность, так как очистка воды производится путем отстоя, который занимает продолжительное время.
Наиболее близким по технической сущности и достигаемому результату к заявляемому изобретению является установка для подготовки воды, содержащая цилиндрическую емкость, ось которой параллельна поверхности, к емкости подсоединены трубопровод подвода воды и устройство для создания гидрофобного слоя (представляющее собой трубопроводы подвода и отвода нефти); к емкости подсоединен трубопровод отвода воды /Патент РФ №2230594, В01D 17/00, опубл. 20.06.2004/.
Недостатком известной установки является сложность регулирования процесса подготовки воды, так как приходится поддерживать постоянно полное заполнение емкости очищаемой водой.
Решаемая задача и ожидаемый технический результат заключаются в повышении эффективности установки за счет упрощения регулирования процесса подготовки воды в установке.
Поставленная задача решается тем, что установка для подготовки воды, содержащая цилиндрическую емкость, ось которой параллельна поверхности, к емкости подсоединены трубопровод подвода воды, устройство для создания гидрофобного слоя и патрубок отвода воды, отличается тем, что патрубок отвода воды соединен с гидрозатвором, при этом выходное отверстие патрубка отвода воды расположено во внутренней полости гидрозатвора не ниже верхней линии емкости, к гидрозатвору подсоединен трубопровод отвода воды
Гидрозатвор выполнен в виде заглушенного с торцов цилиндра, ось которого перпендикулярна поверхности, а трубопровод отвода воды расположен ниже выходного отверстия патрубка отвода воды.
Емкость снабжена газовым колпаком, соединенным патрубком отвода газа с гидрозатвором, к верхней части гидрозатвора подсоединен трубопровод отвода газа.
Подсоединение патрубка отвода воды, расположенного в донной части емкости, к гидрозатвору позволяет отводить подготовленную воду из емкости в гидрозатвор.
Расположение выходного отверстия патрубка отвода воды во внутренней полости гидрозатвора не ниже верхней линии емкости позволяет постоянно поддерживать полное заполнение емкости, так как емкость и гидрозатвор представляют сообщающиеся сосуды.
Подсоединение к гидрозатвору трубопровода отвода воды позволяет отводить подготовленную воду.
В ряде случаев возникает необходимость дегазации воды. Газоотделение происходит в емкости, поэтому необходимо проводить отвод газа из емкости. Соответственно емкость может быть снабжена газовым колпаком, соединенным патрубком отвода газа с гидрозатвором. Выделение газа происходит и в гидрозатворе. Отвод газа из гидрозатвора производится по трубопроводу отвода газа.
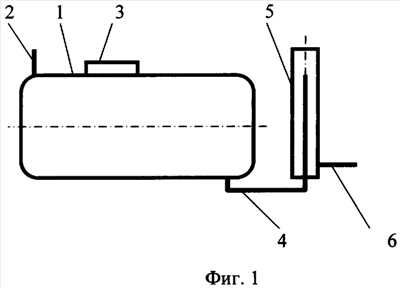
Установка для подготовки воды показана на фиг.1. На фиг.2 показана установка для подготовки воды с газовым колпаком и трубопроводом отвода газа.
Установка для подготовки воды содержит емкость 1, к которой подсоединен трубопровод подвода воды 2 и устройство для создания гидрофобного слоя 3. К донной части емкости 1 подсоединен патрубок отвода воды 4, соединенный с гидрозатвором 5. К гидрозатвору 5 подсоединен трубопровод отвода воды 6.
Газовый колпак 7 соединен с гидрозатвором 5 патрубком отвода газа 8. Из гидрозатвора 5 газ отводится по трубопроводу отвода газа 9.
Установка для подготовки воды работает следующим образом.
По трубопроводу подвода воды 2 в емкость 1 поступает вода, которая проходит через гидрофобный слой, создаваемый устройством для создания гидрофобного слоя 3. При этом происходит очистка воды. По патрубку отвода воды 4 вода поступает в гидрозатвор 5. Так как выходное отверстие патрубка отвода воды 4 в гидрозатворе 5 расположено не ниже верхней линии емкости 1, емкость 1 постоянно заполнена. Из гидрозатвора 5 вода отводится по трубопроводу отвода воды 6.
Выделившийся из воды в емкости 1 газ собирается в газовый колпак 7. Далее газ по патрубку отвода газа 8 поступает в гидрозатвор 5, где происходит дальнейшее выделение газа из поступающей в него воды. Из гидрозатвора 5 газ отводится по трубопроводу отвода газа 9.
Таким образом, заявляемое изобретение эффективнее прототипа, так как позволяет упростить регулирование процесса подготовки воды в установке. При содержании в воде газа повысится надежность работы установки.
Формула изобретения
1. Установка для подготовки воды, содержащая цилиндрическую емкость, ось которой параллельна поверхности, к емкости подсоединены трубопровод подвода воды, устройство для создания гидрофобного слоя и патрубок отвода воды, отличающаяся тем, что патрубок отвода воды соединен с гидрозатвором, при этом выходное отверстие патрубка отвода воды расположено во внутренней полости гидрозатвора не ниже верхней линии емкости, к гидрозатвору подсоединен трубопровод отвода воды.
2. Установка для подготовки воды по п.1, отличающаяся тем, что гидрозатвор выполнен в виде заглушенного с торцов цилиндра, ось которого перпендикулярна поверхности, а трубопровод отвода воды расположен ниже выходного отверстия патрубка отвода воды.
3. Установка для подготовки воды по п.1, отличающаяся тем, что емкость снабжена газовым колпаком, соединенным патрубком отвода газа с гидрозатвором, к верхней части гидрозатвора подсоединен трубопровод отвода газа.
РИСУНКИ
|
|