|
|
(21), (22) Заявка: 2005131316/04, 17.03.2004
(24) Дата начала отсчета срока действия патента:
17.03.2004
(30) Конвенционный приоритет:
20.03.2003 US 10/393,054
(43) Дата публикации заявки: 10.02.2006
(46) Опубликовано: 20.12.2008
(56) Список документов, цитированных в отчете о поиске:
RAUTENBACH R ET AL: “AUFBEREITUNG VON METHANOL/DIMETHYLCARBONAT-STROMEN DURCH KOMBINATION VON PERVAPORATION UND REKTIFIKATION” (CHEMIE INGENIEUR TECHNIK, VERLAG CHEMIE GMBH. WEINHEIM, DE (vol.67, no.11, pages 1498-1501, XP 000536287)), 01.11.1995. JP 7227517, 29.08.1995. US 4444571, 24.04.1984. RU 1699897, 23.12.1993. RU 1332165, 23.08.1987.
(85) Дата перевода заявки PCT на национальную фазу:
11.10.2005
(86) Заявка PCT:
US 2004/007926 (17.03.2004)
(87) Публикация PCT:
WO 2004/085022 (07.10.2004)
Адрес для переписки:
119034, Москва, Пречистенский пер., д.14, стр. 1, 4 этаж, “Гоулингз Интернэшнл ИНК.”, В.Н.Дементьеву
|
(72) Автор(ы):
КОЛЛИНГ Крэйг У. (US), ХАФФ Джордж А. мл. (US), ПИТЧ Стивен Дж. (US)
(73) Патентообладатель(и):
БП КОРПОРЕЙШН НОРТ АМЕРИКА ИНК. (US)
|
(54) ОЧИСТКА ЖИДКИХ СМЕСЕЙ С ИСПОЛЬЗОВАНИЕМ ПЕРЕГОННО-МЕМБРАННОГО РАЗДЕЛЕНИЯ
(57) Реферат:
Изобретение относится к процессам восстановления очищенных продуктов из жидких смесей путем интегрированной фракционной перегонки, а также к устройствам перегонки и мембранного разделения. Интегрированное устройство включает колонну фракционной перегонки и одно или более устройств, использующих селективные мембраны. Жидкую смесь в виде исходного сырья нефтяного происхождения подвергают фракционной перегонке на указанном устройстве. Часть или весь извлекаемый из колонны поток жидкости, состоящий из двух или более составляющих, имеющих разные температуры кипения, распределяют в мембранное устройство для выделения из потока проницаемой и непроницаемой жидкости, содержащих различное количество, по крайней мере, одной из составляющих смеси. Проводят систематический контроль энтальпии для поддержания Показателя Эффективности Мембраны для непроницаемой жидкой среды от 0,5 до 1,5. Обеспечивается одновременное восстановление очень чистых проницаемых продуктов желательного непроницаемого потока и одного или более продуктов перегонки из жидкой смеси, содержащей, по крайней мере, две составляющие с различными температурами кипения. 4 н. и 16 з.п. ф-лы, 3 ил., 5 табл.
Область применения изобретения
Настоящее изобретение относится к процессам восстановления очищенных продуктов из жидких смесей посредством интегрированной фракционной перегонки и устройства разделения с перманентно-селективной мембраной. Более детально, интегрированное устройство по данному изобретению включает колонну фракционной перегонки и одно или более устройств, использующих перманентно-селективные мембраны для восстановления очищенных продуктов. Устройство по настоящему изобретению особенно полезно для одновременного восстановления очень чистых проникающих продуктов, одного или более продуктов перегонки, и/или желательного непроницаемого пара, из жидких смесей, содержащих, по крайней мере, два соединения с различными температурами кипения.
Предпосылки к созданию изобретения
Существует два типа мембран, используемых для разделения газовых смесей: микропористые и непористые. Исследование основных законов, управляющих селективностью эффузии газа через микропористую мембрану, приписывается Т.Грехему. Когда размер поры микропористой мембраны мал по сравнению со средней свободной траекторией неконденсирующихся молекул газа в смеси проникание в газе с меньшим молекулярным весом увеличивается. Практическая и теоретическая степень обогащения, достигаемая за счет данной технологии, очень невелика потому, что отношения молекулярных весов большинства газов не очень большие, а соответствующие селективности пропорциональны квадратным корням этих отношений. Поэтому требуется выполнять большое количество фаз разделения для осуществления результативного разделения данных газов из газовой смеси. Однако в связи с тем, что данный способ разделения относится исключительно к соотношению масс и не относится к химическим отличиям испускаемых молекул, он является единственным способом, использующим мембрану, способную разделить изотопы данных элементов. По этой причине данный метод был выбран для обогащения урана в расщепляемом изотопе 235 для производства атомной бомбы во время Второй Мировой войны. Однако данный способ разделения в действительности очень дорогой в связи с большими капиталовложениями, требуемыми для обработки большого объема газа, жесткими техническими требованиями к мембране, а именно высокой пористости и малому размеру пор, а также высокими энергозатратами для производства.
В системах с непористыми мембранами молекулы проникают через мембрану. Во время такого проникновения через мембрану различные молекулы разделяются за счет различий их коэффициентов диффузии и растворимости внутри мембранной матрицы. На скорость переноса молекул через матрицу влияет не только их размер, но также и химическая природа как проникающих молекул, так и самой полимерной матрицы. Таким образом, достигается концептуально полезное разделение.
В настоящее время существует большое количество способов производства мембран, обладающих как высокой селективностью, так и высокой скоростью потоков. Без достаточно большой скорости течения потоков требуемые площади мембран будут настолько большими, что это сделает их использование абсолютно неэкономичным. Сейчас хорошо известно, что многие полимеры намного лучше пропускают полярные газы (например Н2О, CO2, HS и SO2), чем неполярные газы (N2, О2 и CH4) и что газы с небольшим размером молекул (Не, H2) проникают через полимер быстрее, чем большие молекулы (СН4, С2Н4).
Использование мембранного разделения занимает важное место в химической технологии и используется в широком круге приложений. Разделение газа стало основной областью промышленного использования мембранной технологии за последние 15 лет. Мембранная технология для получения азота из воздуха, удаление углекислого газа из природного газа и ректификация водорода занимают существенную часть данного рынка.
Некоторые наиболее сложные разделения, используемые в нефтехимической промышленности, включают в себя разделение легких олефинов и парафинов. В результате их сходной относительной летучести энергоемкие дистилляционные колонны со множеством тарелок используются для очистки легких олефинов. На протяжении многих лет использование мембран вызывало большой интерес для разделения олефинов и парафинов. Патенты США №3,758,603 и 3,864,418 на имя Роберта Д. Хьюза и Эдварда Ф. Стейгельмана описывают мембраны, используемые в комбинации с методами образования металлического комплекса для содействия выделению этилена из этана и метана. Подобные металлические комплексы и мембранно-гибридные процессы, называемые облегчающими перенос мембранами, были описаны в Патенте США №4,060,566 на имя Роберта Л. Янки и Патенте США №4,614,524 на имя Менхема А. Крауса. Большая часть этих работ сфокусирована на деталях внутренних частей облегчающих перенос мембранных устройств, но не описывают, каким образом объединить их в процесс, который производит продукты, удовлетворяющие рыночным требованиям.
Процессы очистки олефинов с помощью мембран используют облегчающие перенос мембраны в комбинации с дистилляционными колоннами. A.Sungpet и др. в статье “Separation of Ethylene from Ethane Using Perfluorosulfonic Acid Ion-Exchange Membranes” («Выделение этилена из этана с использованием перфторосульфоновой кислоты ионообменных мембран»), опубликованной в ACS Sympoium Series “Chemical Separations with Liquid Membranes”, 270-285 (1996), утверждают, что селективность и проницаемость мембран при выделении олефинов из парафинов слишком медленная, чем требуется; что, в свою очередь, привело к объединению процессов, использующих мембраны с другими видами разделения для получения требуемой сепарации. Мы полагаем, что объединение мембран с дистилляцией интересно также и по другой причине: оно позволяет максимально использовать большое количество построенных дистилляционных емкостей для очистки олефинов.
Одно из первых исследований в области комбинирования облегчающих перенос мембран с дистилляцией для выделения олефинов и парафинов было опубликовано D.Gooschlich и D.Roberts в статье по проекту SRI Project 6519 и контракта Департамента Энергетики США (DOE Contract Number DE-AC07-76ID01570), озаглавленной “Energy Minimization of Separation Process Using Conventional/Membrane Systems” (1990) («Минимизация энергозатрат при сепарации с использованием традиционных/мембранных систем»). Они изучили применение облегчающих перенос мембран в нижних частях дистилляционных колонн для выделения пропилена и пропана. Поскольку пропилен (олефин) является как предпочтительным проникающим компонентом, так и легким компонентом, присутствующим в низкой концентрации в нижней части колонны, то недостатком этого способа является то, что слабая движущая сила действует на очень большие зоны мембраны.
Работа, выполненная R.Noble и соавторами в двух статьях, озаглавленных “Analysis of a Membrane/Distillation Column Hybrid Process” («Анализ гибридного мембранно-дистилляционного процесса»), опубликованной в J. Memb. Sci. 93, 31-34 (1994) и “Design Methodology for a Membrane/Distillation Column Hybrid Process” (Методология проектирования колонн для гибридного мембранно-дистилляционного процесса»), опубликованной в J. Memb. Sci. 99, 259-272 (1995), исследует аспекты проектирования и оптимизации нескольких вариантов объединенных облегчающих перенос мембран и дистилляционных процессов для разделения пропилена и пропана. Их работа сконцентрирована на размещении мембраны вокруг дистилляционной колонны для того, чтобы получить результативный процесс, который обеспечит требуемую сепарацию. Они пришли к выводу, что расположение облегчающих перенос мембран в верхней части колонны предпочтительнее, так как это положение использует преимущество сильной движущей силы пропилена (за счет высокой концентрации пропилена).
Более ранняя работа, изложенная в Патенте США №5,057,641 на имя Ronald J. Valus и др. и опубликованная J. Davis и др. в статье, озаглавленной “Facilitated Transport Membrane Hybrid Systems For Olefin Purification” («Гибридная облегчающая перенос мембранная система для очистки олефинов»), опубликованной в Sep. Sci. Tech 28, 463-476 (1993), также описывает размещение облегчающих перенос мембран в верхней части дистилляционной колонны. Эта работа также описывает размещение облегчающих перенос мембран на отводе перегоночной колонны.
Работа с облегчающими перенос мембранами на основе серебра, начатая R. Hughes в 1973 году, описана в Патенте США №3,758,603 и продолжается до сих пор. Однако недавно опубликованная A.Morisato и др. в журнале Desalination 145, 347-351 (2002) статья, озаглавленная “Transport properties of PA12-PTMO/AgBF4 solid polymer electrolyte membranes for olefin/paraffin separation” («Свойства переноса PA12-PTMO/AgBF4 твердополимерной электролитической мембраны для разделения олефинов/парафинов»), указывает, что использование облегчающих перенос мембран продолжает сталкиваться с трудностями, включающими слабую химическую стабильность из-за отравления носителя.
Успехи в области разработок полимерных мембран сделали их привлекательными для использования в процессах разделения олефинов/парафинов, так как они не зависят от легко отравленных металлических комплексов для достижения разделения. Например, R.Burns и W.Koros представили несколько полимерных материалов, которые могут использоваться для разделения пропилена и пропана, в недавно опубликованной статье, озаглавленной “Defining the Challenges for C3H6/C3H8 Separation Using Polymeric Membranes” («Постановка задач для C3H6/C3H8 разделения с использованием полимерных мембран»), J. Memb. Sci. 211, 299-309 (2003).
Для полимерных мембран высокие градиенты давления вдоль тела мембраны, обеспечивают движущую силу для проникновения. Эти движущие силы вызывают охлаждение в мембране (для материалов с положительными коэффициентами Джоуля-Томсона) для того, чтобы получить проницаемость при низком давлении. Этот эффект отсутствует в облегчающих перенос мембранах и не использовался в процессах, описанных выше.
Незначительное внимание было уделено тепловому балансу вокруг мембранного устройства в среде специалистов по мембранам в первую очередь потому, что компоненты, которые в прошлом предполагались для разделения с помощью мембранных технологий (азот, кислород, углекислый газ, метан, водород), являются сорбированными газами. По мере изучения свойств компонентов для мембранного разделения, которые могут находиться как в жидком, так и в газообразном состоянии при стандартных производственных условиях, возникает потребность понять влияние фазовых преобразований на характеристики мембранных устройств.
Таким образом, в настоящий момент существует потребность в способе и устройстве, использующих перманентно-селективные мембраны для снабжения теплом интегрированных мембранных устройств, в которых мембраны разделения под давлением (по летучести) были бы интегрированы с другими этапами разделения смесей.
Усовершенствованное устройство должно обеспечивать интегрированную последовательность операций, выполняемых за счет потоков в газе и/или жидкости, с использованием перманентно-селективной мембраны, предпочтительнее твердой перманентно-селективной мембраны, которая под действием соответствующих производных от движущих сил обеспечит выборочную проницаемость требуемого продукта, т.е. объединит мембраны разделения под давлением (по летучести) с существующими техническим средствами.
Краткое изложение изобретения
В широком аспекте настоящее изобретение относится к устройствам интегрированного мембранного и дистилляционного разделения и использования его для экономичного разделения жидких смесей. Точнее, настоящее изобретение относится к устройствам, содержащим колонну фракционной перегонки и мембранное устройство, включающее твердую перманентно-селективную мембрану, которые находятся в потоковой связи. Преимущественно устройство по данному изобретению используется для одновременного восстановления продуктов с низкой проницаемостью и других нужных продуктов из смесей, содержащих органические составляющие.
Изобретение рассматривает обогащение жидкого промышленного сырья, например органических материалов различного типа, особенно смесь жидких компонентов, происходящих из нефти. В общем случае жидкое промышленное сырье является газообразной смесью, содержащей компоненты с большей и меньшей селективной проницаемостью. Использование устройства по данному изобретению особенно полезно в процессах обогащения газовой смеси, содержащей олефиновый компонент с большей селективной проницаемостью и соответствующий парафиновый компонент, например, в процессе выделения пропилена из пропана.
С одной стороны, настоящее изобретение представляет собой устройство интегрированного разделения, включающее колонну фракционной перегонки и, по крайней мере, одно перманентно-селективное мембранное устройство, пригодное для одновременного восстановления продукта с очень низкой проницаемостью и другого продукта из жидкой смеси двух или более составляющих, имеющих различные температуры кипения. Устройство включает колонну фракционной перегонки, имеющую отверстие для выпуска паров вверху колонны в потоковой связи с компрессором, и внутреннюю или внешнюю поверхность теплопередачи, по стороне которой происходит контакт жидкости в нижней части колонны и противоположной стороне, по которой происходит контакт сжатых паров; компрессор в потоковой связи со средствами пропорционального сжатия пара между поверхностью теплопередачи колонны, дефлегматора колонны и мембранного холодильника находится в потоковой связи с перманентно-селективным мембранным устройством; мембранное устройство, включающее твердую перманентно-селективную мембрану, которая под действием соответствующих производных от движущих сил обеспечивает проницаемость не менее 0,1×10-10 [см3 при стандартных температуре и давлении (STP) см/(см2·сек·см Hg)] (0.1 Баррер), каналы, имеющие, по крайней мере, одно вводное и одно выпускное отверстия для потока текучей среды, контактирующей с одной стороной мембраны и соприкасающейся с противоположной стороной этой разделительной камеры, имеющей, по крайне мере, одно отверстие для выпуска проницаемого потока; и средства для потоковой связи между противоположной стороной поверхности теплопередачи колонны и колонной фракционной перегонки.
В рамках настоящего изобретения термин «мембранное устройство» определяется как любая часть оборудования или устройства, предназначенная для использования перманентно-селективной мембраны для разделения одного или более компонентов из жидкой смеси, состоящей из двух или более составляющих. Средства для сбора и/или распределения текучей среды во вводные отверстия каналов мембранного устройства преимущественно содержат компрессор и/или насос, предпочтительнее компрессор.
В зависимости от вида разделения, требуемого для одновременного восстановления продукта с очень низкой проницаемостью и другого продукта из питающего потока в конкретном приложении, предпочтительным вариантом реализации устройства интегрированного разделения, согласно настоящему изобретению, является вариант, включающий средства для потоковой связи между выходами каналов мембранного устройства и колонной фракционной перегонки.
С другой стороны, настоящее изобретение содержит способ разделения очищенных продуктов из жидких смесей за счет использования устройства, интегрирующего фракционную перегонку и перманентно-селективную мембрану, который включает: использование устройства интегрированного разделения, содержащего колонну фракционной перегонки и мембранное устройство, предназначенные для использования перманентно-селективной мембраны для разделения одного или более компонентов из жидкой смеси, состоящей из двух или более составляющих; извлечение из колонны потока текучей среды, выводимого за счет фракционной перегонки первичного сырья, содержащего две или более составляющих, имеющих различные температуры кипения; распределение всего или части потока, выводимого из колонны внутрь мембранного устройства для выделения из потока проницаемых и непроницаемых текучих сред, содержащих различное количество, по крайней мере, одного из составляющих компонентов; и систематический контроль энтальпии для поддержания Показателя Эффективности Мембраны для непроницаемых текучих сред в нужном диапазоне, например от 0.5 до 1.
В рамках настоящего изобретения термин «Показатель Эффективности Мембраны» (ПЭМ) определяется как отношение разности между характерной энтальпией питающего потока, входящего в мембранное устройство, и характерной энтальпией вытекающей непроницаемой текучей среды к разности между указанной энтальпией питающего потока и температурой кипения характерной энтальпии непроницаемой жидкости при давлении непроницаемого продукта и смеси.
Предпочтительный процесс, использующий устройство интегрированного разделения, согласно настоящему изобретению контролирует энтальпию для поддержания ПЭМ внутри диапазона примерно от 0.5 до 1.5, предпочтительнее от 0.7 до 1.1, а для получения лучших результатов самым предпочтительным является диапазон от 0.8 до 1.05. Предпочтительно, чтобы текучая среда, извлекаемая из колонны, была в основном испарениями и только небольшая часть непроницаемой текучей среды возвращалась в колонну в основном как жидкость.
В зависимости от требуемого качества разделения способ по данному изобретению дополнительно должен включать извлечение очищенного проницаемого потока из мембранного устройства и один или более потоков с очищенными продуктами, извлекаемыми из колонны фракционной перегонки, например, в которых преобладающим компонентом очищенной проницаемой жидкости будет пропилен. Полезным эффектом является то, что поток текучей среды, извлекаемый из колонны фракционной перегонки, в основном является потоком паров, отводимых из верхней части колонны, часть которых используется в качестве источника оттока жидкости из колонны.
С другой стороны, изобретение представляет способ разделения очищенных продуктов из жидкой смеси за счет использования устройства, интегрирующего перегонку и мембранное разделение, который включает: использование устройства разделения, включающего колонну фракционной перегонки, обеспечивающую соответствующее число фаз контактирования пара с жидкостью, вводные и выпускные отверстия, включающие, по крайней мере, одно выпускное отверстие в потоковой связи с мембранным устройством, включающим большое количество (множество) перманентно-селективных мембран, которое под действием соответствующих производных от движущих сил обеспечивает проницаемость не менее 0.1 Баррера, каналы, имеющие, по крайней мере, одно вводное и одно выпускное отверстие для потока текучей среды, контактирующего с одной стороной мембраны и соприкасающегося с противоположной стороной этой разделительной камеры, имеющей, по крайне мере, одно отверстие для выпуска проницаемого потока; разделяющее с помощью фракционной перегонки сырье, содержащее жидкую смесь, состоящую из низкокипящего компонента и высококипящего компонента, и таким образом снабжает колонну потоком, обогащенным одним компонентом относительно другого; распределение потока колонны, напрямую или опосредовано полученного из нее, во входные отверстия каналов мембранного устройства и разделение распределенного потока посредством селективной проницаемости и таким образом получение очищенной проницаемой текучей среды и непроницаемой текучей среды, при этом контролируя энтальпию распределенного потока для поддержания Показателя Эффективности Мембраны непроницаемой текучей среды в диапазоне от 0.5 до 1.5.
В зависимости от требуемого качества разделения устройство разделения дополнительно должно включать средства отделения потока паров, отводимых в верхней части колонны, по крайней мере, в первую часть для оттока в колонну фракционной перегонки и вторую часть, и средства для использования первой части в виде жидкого оттока. Преимущественно вторая часть парового потока распределяется во вводные отверстия каналов мембранного устройства.
В предпочтительном варианте осуществления изобретения, по крайней мере, часть непроницаемой жидкости возвращается в колонну фракционной перегонки, и/или включает этап извлечения из колонны очищенного дистилляционного продукта, обогащенного одним компонентом относительно другого компонента исходного сырья.
Способ по настоящему изобретению особенно пригоден для разделения очищенных продуктов из исходного сырья, которое содержит в качестве преобладающего компонента исходного сырья смесь из составляющих ее алканов, имеющих от 2 до 4 атомов углерода, и составляющих алкенов, имеющих такое же число атомов углерода. Преимущественно смесь имеет определенный жидкостный коэффициент соотношения алканов и алкенов, который находится в диапазоне от 1.5 до 4.0.
Способ по данному изобретению особенно полезен при обработке смеси текучей среды, содержащей большее количество селективно проницаемого алкенового компонента и соответствующего алканового компонента, например, при выделение пропилена из пропана. Предпочтительно, чтобы очищенный проницаемый поток содержал, по крайней мере, 90 процентов пропилена, более предпочтительно, чтобы уровень содержания пропилена в очищенном проницаемом потоке был не менее 95 процентов, а наиболее предпочтительным вариантом является содержание пропилена, равное 99.5 процентов.
Еще один аспект настоящего изобретения представляет способ выделения очищенных продуктов из смесей текучих сред, использующий устройство, интегрирующее фракционную перегонку и перманентно-селективную мембрану, который включает: использование устройства разделения, включающего (а) колонну фракционной перегонки, имеющую выпусконое отверстие для отвода пара из верхней части в потоковой связи с компрессором, и внутреннюю или внешнюю поверхность теплопередачи, одна сторона которой расположена для контакта с текучей средой в нижней части колонны, а противоположная сторона расположена для контакта с сжатыми парами в верхней части колонны, (б) компрессор в потоковой связи со средствами пропорционального сжатия пара между поверхностью теплопередачи колонны, дефлегматором колонны и прибором охлаждения мембраны, который находится в потоковой связи с перманентно-селективным мембранным устройством, (в) мембранное устройство, включающее твердую перманентно-селективную мембрану, которая под действием соответствующих производных от движущих сил, обеспечивает проницаемость не менее 0.1 Баррера, каналы, имеющие, по крайней мере, одно вводное и одно выпускное отверстие для потока текучей среды, контактирующего с одной стороной мембраны и соприкасающегося с противоположной стороной этой разделительной камеры, имеющей, по крайне мере, одно отверстие для выпуска проницаемого потока, и (г) средства в потоковой связи между противоположной стороной поверхности теплопередачи колонны и колонной фракционной перегонки; разделение с помощью фракционной перегонки исходного сырья, содержащего смесь текучей среды, содержащую низкокипящий компонент и высококипящий компонент, и обеспечение, таким образом, компрессора паровым потоком, обогащенным низкокипящим компонентом; сжатие паров в верхней части колонны и распределение этой части между противоположной стороной поверхности теплопередачи колонны, дефлегматором колонны, и, напрямую или опосредованно, перманентно-селективным мембранным устройством; и выделение из потока, распределенного в мембранное устройство, непроницающего потока с помощью селективной проницаемости, при котором контролируется энтальпия распределенного потока для поддержания Показателя Эффективности Мембраны непроницаемой текучей среды в диапазоне от 0.5 до 1.5.
В зависимости от требуемого качества разделения, способ по данному изобретению дополнительно должен включать извлечение из колонны очищенного дистилляционного продукта, обогащенного одним компонентом относительно другого компонента исходного сырья, и/или извлечение из колонны очищенного дистилляционного продукта, обогащенного низкокипящим компонентом относительно исходного сырья. Преимущественно, по крайней мере, часть непроницаемой жидкой среды возвращается в колонну фракционной перегонки. Как вариант, устройство может дополнительно содержать средства для распределения «очищающего» потока в разделительную камеру, хотя обычно никакой чистки не требуется.
Настоящее изобретение особенно полезно по отношению к разделениям, включающим органические компоненты, особенно составляющие, которые трудно разделить традиционными средствами, такими как фракционная перегонка. Обычно такие органические составляющие химически зависимы, как, например, алканы и алкены с одинаковым углеродным номером.
Для более полного понимания настоящего изобретения должна быть сделана ссылка на его реализацию, иллюстрирующую детали, сопровождаемые чертежами, которые приведены ниже в виде вариантов данного изобретения.
Краткое описание чертежей
Изобретение, детально описанное ниже, со ссылкой на сопроводительные чертежи, которые представляют собой схематические диаграммы последовательности процессов, представляет предпочтительные аспекты способа и устройства, интегрирующего процессы фракционной перегонки и мембранного разделения для одновременного восстановления слабопроницаемого продукта, интегрированного непроницаемого потока и одного или более потоков с конечными продуктами из дистилляционной колонны.
На Фиг.1 представлен схематический чертеж, показывающий вариант осуществления настоящего изобретения, в котором пары, выводимые в верхней части колонны фракционной перегонки, сжимаются и разделяются для получения потоков для мембранного разделения, тепла для колонны-ребойлера и возврата жидкого оттока в колонну.
На Фиг.2 представлен схематический чертеж, показывающий вариант осуществления настоящего изобретения, в котором пары, выводимые в верхней части колонны фракционной перегонки, разделяются для получения потоков для мембранного разделения и возврата жидкого оттока в колонну без сжатия паров, выводимых из верхней части колонны фракционной перегонки.
На Фиг.3 представлен схематический чертеж, показывающий вариант осуществления настоящего изобретения, в котором жидкий поток для мембранного разделения отводится из колонны фракционной перегонки, и, таким образом, получают слабопроницаемый продукт, интегрированный непроницаемый поток и потоки с конечными продуктами из перегоночной колонны.
Общее описание изобретения
Любая твердая перманентно-селективная мембрана, которая под действием соответствующих производных от движущих сил проявляет проницаемость и характеристики, пригодные для требуемой сепарации, может быть использована в соответствии с настоящим изобретением. Пригодные мембраны могут принимать форму однородных мембран, композиционных мембран или асимметричных мембран, которые, например, могут включать гель, ацетат целлюлозы, полисульфоны и полиамиды.
Предпочтительные мембраны для вариантов осуществления настоящего изобретения при разделении пара могут быть двух типов. Первый тип – это композитная мембрана, содержащая микропористое основание, на котором размещен перманентно-селективный слой в виде ультратонкого покрытия. Композитные мембраны предпочтительнее, когда каучукоподобные полимеры используются как перманентно-селективные материалы. Второй тип – это асимметричные мембраны, в которых тонкая, плотная оболочка асимметричной мембраны является перманентно-селективным слоем. Оба типа мембран, как композитная, так и асимметричная, хорошо известны в данной области знаний. Форма, в которой мембраны используются в настоящем изобретении, не является критичной Например, они могут быть использованы в виде плоских листов, дисков, покрытых полых волокон, модулей со спиральной навивкой или любой другой удобной формы.
Движущие силы разделения компонентов испарения за счет проницаемости мембраны включают преимущественно их частичную разницу давления между первой и второй сторонами мембраны. Падение давление по ширине мембраны может быть достигнуто с помощью наддува первой зоны, за счет освобождения содержимого второй зоны, введения очистительного потока или любой комбинации из указанных способов
Мембраны, используемые в каждой группе модулей, могут быть одного типа или разного типа. Также оба элемента могут содержать мембраны, отбирающие только требуемый компонент, а селективность мембран может быть разной. Например, когда промежуточные модули обрабатывают большое количество жидкого сырья, эти модули могут содержать мембраны, обеспечивающие высокую текучесть и среднюю селективность. Группа модулей, которая работает с малыми потоками, может содержать мембраны высокой селективности, но низкой текучести. Подобно этому, промежуточные модули могут содержать один тип мембраны, а продуктивные модули могут содержать другой тип, или все три группы могут содержать различные типы мембран. В полезных реализациях возможно также использование мембран с отличной селективностью в промежуточных модулях и продуктивных модулях.
Соответствующий тип мембранных модулей включает тонкие полые волокна, капиллярные волокна, спирально-навинчатые, рамные и плоские типы. Процесс выбора наиболее подходящего типа мембранного модуля для конкретного вида мембранной сепарации должен уравновешивать множество факторов. Принципиальными параметрами, которые надо принимать во внимание при проектировании модуля, являются ограничение специфических типов мембранных материалов, пригодность для работы в условиях высокого давления, падение давления вдоль проницаемой стороны, контроль загрязнения концентрационной поляризацией, проницаемость необязательного очистительного потока и последний, но не менее важный параметр – стоимость производства.
Мембранные модули из тонких полых волокон используются в двух основных геометрических вариантах. Первый тип – это модель внетрубной зоны питающего теплообменника, которая была использована в системах выделения водорода и реверсивных осмотических системах. В таких модулях кольцо или замкнутая связка волокон содержится в баллоне со сжатым газом. Система герметична со стороны внетрубной зоны теплообменника; проницающий поток проходит через стенку волокна и выходит через открытые концы волокон. Это простая схема для реализации, которая позволяет использовать очень большие мембранные площади в экономичной системе. Так как стенка волокна должна поддерживать значительное гидростатическое давление, волокна обычно имеют малый диаметр и толстые стенки; например, их внешний диаметр составляет от 100 мкм до 200 мкм, а внутренний обычно равен примерно половине внешнего диаметра.
Второй тип мембранных модулей из тонких полых волокон – это модули двухстороннего питающего типа. В данном типе устройства волокна открыты с обоих концов и питающая текучая среда циркулирует через отверстия волокон. Для минимизации падения давления внутри волокон диаметр волокон обычно делают большим, чем у тонких волокон, используемых в системах с внетрубной зоной питающего теплообменника, которые изготавливаются с помощью формования из раствора. Такие так называемые капиллярные волокна используются в ультрафильтрации, диффузионном испарении и в некоторых приложениях обработки газа при низком и среднем давлениях.
Концентрационная поляризация хорошо контролируется в модулях двухстороннего питающего типа. Питающий раствор проходит напрямую сквозь активную поверхность мембраны, не создавая застойных мертвых пространств. Это сильно отличается от модулей внетрубной зоны питающего теплообменника, в которых тяжело избежать передачи по каналу и образование застойных мест, которые вызывают существенные проблемы для концентрационной поляризации. Любые взвешенные твердые частицы в питающем растворе легко захватываются в этих застойных местах, что приводит к невозможности очистки мембраны. Были попытки использования разделительных перегородок для направления питающего потока, но широкого применения это не получило. Более распространенный способ минимизации концентрационной поляризации заключается в направлении питающего потока перпендикулярно направлению полых волокон. Это образует модуль поперечного потока с относительно хорошим распределением потока по всей ширине поверхности мембраны. Несколько мембранных модулей могут быть последовательно соединены таким образом, чтобы было возможно использовать высокоскоростные питающие потоки. Существует несколько вариантов базовой схемы такого решения, которые описаны, например, в Патенте США №3,536,611 на имя Филлип и др., №5,169,530 на имя Стикера и др., №5,352,361 на имя Парседа и др. и №5,470,469 на имя Бэкмена, которые включены здесь как ссылки на каждый патент во всей полноте. Самым большим достижением модуля из тонких волокон является возможность укладывать очень большие по площади мембраны в единый модуль.
Описание предпочтительного варианта изобретения
Для лучшего понимания настоящего изобретения несколько предпочтительных аспектов процессов интегрированной фракционной перегонки и мембранного разделения, а также устройства по данному изобретению для одновременного восстановления слабопроницаемых продуктов, интегрированного непроницаемого потока и одного или более конечных продуктов дистилляции схематически представлены на Фиг.1-3. В этих предпочтительных вариантах изобретения сырьем для дистилляции служит смесь, содержащая более селективно проницаемый алкеновый компонент и соответствующий алкановый компонент, например пропан и пропен (пропилен). Другие примеры легких углеводородных составляющих, которые трудно разделить традиционными методами сепарации, такими как фракционная перегонка, показаны в таблице 1.
| Таблица 1 |
| Нормальная температура кипения легких углеводородных составляющих |
| ТЯЖЕЛЫЕ УГЛЕВОДОРОДЫ |
ТЕПЕРАТУРА КИПЕНИЯ, °С |
ЛЕГКИЕ УГЛЕВОДОРОДЫ |
ТЕПЕРАТУРА КИПЕНИЯ, °С |
| Этан |
-88.5 |
Этен (этилен) |
-102.4 |
| Пропан |
-42.2 |
Пропен (пропилен) |
-47.7 |
| Аллен |
-34.5 |
Пропан |
-42.2 |
| Бутан |
-0.6 |
Метилпропен |
-6.6 |
| Бутан |
-0.6 |
1-Бутен ( -бутилен) |
-6.47 |
| Бутан |
-0.6 |
1,3-Бутадиен |
-4.75 |
2-Бутен ( -бутилен) |
3.37 |
Бутан |
-0.6 |
| n-Бутан |
-0.6 |
Изобутан |
-12 |
1-Бутен ( -бутилен) |
-6.47 |
Метилпропен (изобутилен) |
-6.6 |
2-Бутен ( -бутилен) |
3.73 |
Метилпропен (изобутилен) |
-6.6 |
Конфигурация интегрированной колонны фракционной перегонки и модулей мембранного разделения для специфической сепарации зависит от многих факторов. Эти факторы включают: (1) концентрацию интересующего компонента в питающем потоке; (2) физические и химические свойства компонентов, подлежащих разделению; (3) требуемую чистоту продуктовых потоков; (4) относительные значения продуктов, которые определяют приемлемое восстановление; (5) компромисс между стоимостью мембраны и стоимостью насоса или компрессора; и (6) каким образом мембрана интегрирована с другими этапами процесса обработки. При разделении смесей с использованием интегрированной фракционной перегонки и мембранного разделения требуемая восстанавливаемость и чистота продукта должны достигаться при приемлемых финансовых затратах. Для целей настоящего изобретения термин «модуль мембранного разделения» трактуется как множество перманентно-селективных мембран, формирующих мембранное устройство.
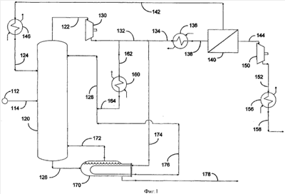
На Фиг.1 колонна фракционной перегонки 120 и устройство мембранного разделения 140 располагаются в соответствии с предпочтительными аспектами изобретения. Сырье, содержащее два или более компонентов, имеющих различные точки кипения, подается из источника 112 через трубопровод 114, в зависимости от производственных условий, с помощью насоса или испарителя и компрессора (не показан), в колонну фракционной перегонки 120. Согласно данному варианту изобретения более селективно-проницаемые компоненты сырья имеют более низкую температуру кипения относительно других компонентов сырья. Такие аспекты изобретения особенно полезны в процессах обработки смесей текучих сред, содержащих более селективно-проницаемый алкеновый компонент и соответствующий алкановый компонент, например, при выделение очищенных продуктов из смеси пропилена и пропана.
Поток испарений в верхней части колонны, на уровне или выше точки росы, подается во входное отверстие компрессора 130 через трубопровод 122, а сжатый поток, имеющий более высокую энтальпию, чем испарения в верхней части колонны, распределяются через коллектор 132. Часть сжатого потока распределяется в устройство мембранного разделения 140 через трубопровод 134, охлаждающий теплообменник 136 и трубопровод 138. Теплообменник 136 спроектирован и функционирует как средство контроля энтальпии потока, распределенного в устройство мембранного разделения 140.
Как требуется для получения пригодного жидкого оттока для фракционной перегонки, другая часть сжатого потока распределяется из коллектора 132 в холодильник через трубопровод 162. Жидкость из холодильника 160 возвращается в верхнюю часть колонны фракционной перегонки 120 через трубопровод 164 и отливается в коллектор 128. Холодильник 160 спроектирован и функционирует для сжатия и переохлаждения потока, конденсирующего из него и подающегося в коллектор оттока 128.
Как показано в данном варианте, равновесный сжатый поток распределяется во внутреннее кольцо ребойлера 170 через трубопровод 174, из которого жидкий конденсат возвращается в колонну фракционной перегонки 120 через трубопровод 176 и коллектор оттока 128. Жидкость из нижней части колонны фракционной перегонки 120 снабжает ребойлер 170 через трубопровод 126, испарения из которого возвращаются в нижнюю часть колонны фракционной перегонки 120 через трубопровод 178, передается в хранилище (не показано).
Непроницаемая текучая среда из устройства мембранного разделения 140 возвращается в колонну фракционной перегонки 120 через трубопровод 142, необязательный теплообменник 146 и трубопровод 124. Согласно данному варианту изобретения взаимодействие между аспектами фракционной перегонки и перманентно-селективного мембранного разделения позволяет работать под контролем энтальпии сжатого потока, распределенного в мембранное устройство, и таким образом поддерживая Показатель Эффективности Мембраны непроницаемой текучей среды из мембранного устройства 140 внутри диапазона от 0.5 до 1.5, предпочтительнее от 0.7 до 1.1, а самым предпочтительным является диапазон от 0.8 до 1.05. Поток проницаемой текучей среды, содержащий более селективно проницаемый компонент испарений верхней части колонны, течет из устройства мембранного разделения 140 в компрессор 150 или альтернативную вакуумную систему (не показана) через трубопровод 144, из которого через трубопровод 152, охлаждающий теплообменник 156 и трубопровод 158 в хранилище очищенных продуктов (не показано).
На Фиг.2 колонна фракционной перегонки 220 и устройство мембранного разделения 240 располагаются в соответствии с другим предпочтительными аспектом изобретения. Сырье, содержащее два или более компонентов, имеющих различные точки кипения, подается из источника 212 через трубопровод 214 в колонну фракционной перегонки 220. Согласно данному варианту изобретения более селективно-проницаемые компоненты сырья имеют более низкую температуру кипения других компонентов сырья. Такие аспекты изобретения особенно полезны в процессах обработки смесей текучих сред, содержащих более селективно-проницаемый алкеновый компонент и соответствующий алкановый компонент, например, при выделении очищенных продуктов из смеси пропилена и пропана.
Поток испарений в верхней части колонны передается из верхней части колонны фракционной перегонки 220 через коллектор 232. Часть потока испарений в верхней части колонны распределяется в устройство мембранного разделения 240 через трубопровод 234, охлаждающий теплообменник 236 и трубопровод 238. Так как требуется производить соответствующий отток жидкости для фракционной перегонки, соответствующая часть потока испарений распределяется из коллектора 232 в холодильник 260 через трубопровод 262. Жидкость из холодильника 260 возвращается в верхнюю часть колонны фракционной перегонки 220 через трубопровод 264, насос для оттока 266 и трубопровод 228.
Жидкость из нижней части колонны фракционной перегонки 220 поступает в ребойлер 270 через трубопровод 226, пары из которого возвращаются в нижнюю часть колонны фракционной перегонки 220 через трубопровод 272. В данном варианте внутреннее кольцо ребойлера 270 снабжается паром из испарителя 280 через трубопровод 274, из которого жидкий конденсат возвращается в испаритель 280 через трубопровод 276. Очищенный высококипящий продукт извлекается из ребойлера 270 и передается в хранилище (не показано) через трубопровод 278.
Непроницаемая текучая среда из мембранного устройства 240 течет в необязательный теплообменник 246 через трубопровод 224 и возвращается в колонну фракционной перегонки 220 посредством трубопровода 248 и насосного трубопровода 222, через трубопровод 242. Согласно данному варианту изобретения взаимодействие между аспектами фракционной перегонки и разделением с помощью перманентно-селективной мембраны выгодно связано с контролем энтальпии текучей среды, распределяемой в мембранное устройство, и таким образом поддерживает Показатель Эффективности Мембраны для непроницаемой текучей среды из мембранного устройства 240 в диапазоне от 0.5 до 1.5, предпочтительнее от 0.7 до 1.1, а самым предпочтительным является диапазон от 0.8 до 1.05. Поток очищенной проницаемой текучей среды, содержащий более слективно-проницаемый компонент испарений в верхней части колонны, течет из мембранного устройства 240 в компрессор 250 или в альтернативную вакуумную систему (не показана) через трубопровод 244, из которой через трубопровод 252, охлаждающий теплообменник 256 и трубопровод 258 в хранилище очищенных проницаемых компонентов (не показано).
На Фиг.3 колонна фракционной перегонки 320 и мембранное устройство 340 располагаются в соответствии с другим предпочтительными аспектом изобретения. В этом варианте изобретения сырье, содержащее две или более составляющих, имеющих различные температуры кипения, и, по крайней мере, один другой более легкий компонент, который не проникает через мембрану. Такие аспекты изобретения особенно полезны в процессах обработки смеси текучей среды, содержащей более селективно проницаемый алкенный компонент, соответствующий алканный компонент, имеющий одинаковое число атомов углерода, и углеводороды, имеющие меньше атомов углерода, например, при выделении очищенных продуктов из смеси пропилена и пропана, которые также содержат меньшее количество этана и/или этилена.
Сырье течет из источника 312 через трубопровод 314 в колонну фракционной перегонки 320. Газовый поток в верхней части колонны направляется из верхней части колонны фракционной перегонки 320 через трубопровод 368, верхний холодильник 360 и трубопровод 364 в газоотделитель 390. Газовый поток, содержащий неконденсируемые составляющие, выпускается из газоотделителя 390 через трубопровод 392 для других целей, хранения/или управления (не показано). Конденсат извлекается из газоотделителя 390 через коллектор 366. Как это требуется для орошения фракционной перегонки, часть конденсата возвращается в верхнюю часть колонны 320 с помощью трубопровода 394, насоса для орошения колонны 396 и трубопровода 398. Очищенный поток в верхней части колонны передается в хранилище (не показано) через трубопровод 368.
Поток жидкой среды, отводимый из колонны фракционной перегонки 320, извлекается через трубопровод 334, расположенный между верхней частью колонны и питающим трубопроводом 314. Отводимый поток распределяется в мембранное устройство 340 через теплообменник 336 и трубопровод 338. Теплообменник 336 спроектирован и работает как средство контроля энтальпии потока, распределяемого в мембранное устройство 340. Согласно настоящему изобретению более селективно-проницаемый компонент сырья имеет более низкую температуру кипения по отношению к другим конденсирующим компонентам сырья. Непроницаемая текучая смесь из мембранного устройства 340 возвращается в колонну фракционной перегонки 320 через трубопровод 342, необязательный теплообменник 346, трубопровод 348, насос 322 и трубопровод 324.
Жидкость из нижней части колонны фракционной перегонки 320 снабжает ребойлер 370 через трубопровод 326, и исходящие испарения возвращаются в колонну фракционной перегонки 320 через трубопровод 372. В данном варианте изобретения внутреннее кольцо ребойлера 370 снабжается потоком из источника 380 через трубопровод 374, из которого жидкий конденсат возвращается в испаритель 380 через трубопровод 376. Очищенный высококипящий продукт извлекается из ребойлера 370 и передается в хранилище (не показано) через трубопровод 378.
В соответствии с вариантом изобретения взаимодействие между аспектами фракционной перегонки и перманентно-селективным мембранным разделением выгодно связано с контролем энтальпии текучей среды, распределяемой в мембранное устройство, и таким образом поддерживает Показатель Эффективности Мембраны для непроницаемой текучей среды из мембранного устройства 340 в диапазоне от 0.5 до 1.5, предпочтительнее от 0.7 до 1.1, а самым предпочтительным является диапазон от 0.8 до 1.05. Поток очищенного проницаемого компонента, содержащий более селективно-проницаемый компонент испарений в верхней части колонны, течет из мембранного устройства 340 в компрессор 350 или альтернативную вакуумную систему (не показана) через трубопровод 344, из которого через трубопровод 352 в хранилище очищенных непроницаемых продуктов (не показано).
ВАРИАНТЫ ИЗОБРЕТЕНИЯ
Приведенные ниже примеры послужат хорошей иллюстрацией специфики описываемых вариантов изобретения. Эти примеры, однако, не могут быть истолкованы как ограничение объема изобретения, так как существует множество вариантов, которые можно предложить без нарушения основной идеи данного изобретения, которые понятны специалистам в данной области знаний.
ОБЩИЙ
Данный вариант демонстрирует критические аспекты предпочтительной конфигурации процесса обработки, использующего мембраны, очищающие летучие вещества, которые интегрированы с другими этапами разделения смесей пропилена и пропана. Особенностью данного изобретения является то, что такое устройство включает устройство перманентно-селективной мембраны, используемое во взаимодействии с колонной фракционной перегонки для одновременного восстановления слабопроницаемого продукта из пропано-пропиленового сырья. Примеры содержат результаты компьютерных расчетов, выполненных с использованием доступных коммерческих программ химического моделирования (например, Aspen Plus от компании Aspen Technology, Inc.), в которой модели мембран были объединены со стандартными моделями расчета оборудования химической обработки. Модели мембран были разработаны компанией ВР и основаны на общепринятых уравнениях проникания газа (см. Shindo et al. “Calculation Methods for Multicomponent Gas Separation by Permeation” (Расчетные методы мультикомпонентного разделеня газа с помощью проникновения) Sep. Sci. Technol. 20, 445-459 (1985), Kovalli et al., “Models and Analyses of Membrane Gas Permeators” («Модели и анализ мембранных разделителей газа»), J. Memb. Sci. 73, 1-23 (1992), и Coker et al., “Modelling Multicomponent Gas Separation Using Hollow-Fiber Membrane Contactors” («Моделирование мультикомпонентного разделения газа с использованием контакторов мембранной фильтрации»), AlChE J. 44, 1289-1302 (1998).
Для целей настоящего изобретения свойство проникновения газов через мембраны измеряется в «Баррерах», который определяется как 10-10 [см3 (STP) см/(см2·сек·см Hg)], и назван в честь Р.М.Баррера. Проницаемость мембран измеряется способностью мембран пропускать газ. Термин «селективность мембраны» определяется как отношение проницаемости двух газов и измеряется способностью мембраны разделять два газа (Например, см. Baker, Richard W., “Membrane Technology and Applications” («Мембранные технологии и их применения»), стр.290-291, McGraw-Hill, New York, 2000).
Все вычисления были выполнены при давлении проницаемого через мембрану компонента, равного 275 кПа (40 psia (фунт на квадратный дюйм)). Проницаемый компонент был сжат до давления, при котором он может быть конденсирован водой при температуре 37.8°С (100° F) и давлении примерно 170 кПа (250 psia). В примерах, в которых существенное переохлаждение непроницаемых компонентов происходит внутри мембранного устройства, площадь мембраны, требуемая для удовлетворения требований к очистке проницаемого компонента, быстро возрастает при росте объема переохлаждения. Преимущественно, согласно предпочтительному способу обработки по данному изобретению, переохлаждение непроницающего компонента внутри мембранного устройства ограничено и, таким образом, становиться выгодным за счет систематического контроля требуемой площади мембраны. Поскольку летучесть жидкости является жесткой функцией температуры, представляется, что движущая сила быстро уменьшается во время переохлаждения непроницаемого компонента.
Место, где непроникающая компонента повторно вводится в колонну, была выбрана таким образом, чтобы непроницаемая композиция соответствовала композиции материала, находящегося в данном положении в колонне. Это соответствует ключевому отношению непроникающей компоненты к ключевому отношению в данной точке колонны, согласно опубликованным правилам (например, Kister, H.Z., “Distillation Design” («Проектирование оборудования для перегонки»), McGraw Hill, 1992).
ПРИМЕР 1
Данный пример раскрывает аспект предпочтительного варианта изобретения, представленного на Фиг.1. Колонна фракционной перегонки 120 была использована как СЗ сплиттер с частью сжатого пара в верхней части, преимущественно распределяемого в устройство мембранного разделения летучих компонентов 140. Вычисления были сделаны для температуры охлаждающей воды в холодильнике 160, равной 37.8°С (100° F). Теплообменники 136 и 146 не использовались в данном примере. Температурный градиент, равный 11.1°С (20° F), учитывался внутри ребойлера для того, чтобы установить давление в нижней части колонны. Падение давления в 70 Па (0.1 psi) для каждой тарелки учитывалось для определения условий всасывания компрессора. В результате давление в верхней части колонны стало равным 970 кПа (140 psia). Доля жидкости в колонне была выбрана таким образом, чтобы разделение могло быть выполнено при наличии 200 тарелок, стандартном требовании для СЗ сплиттеров, а доля пара была выбрана таким образом, чтобы продукт в нижней части колонны удовлетворял требованию 5-ти процентного присутствия пропилена, изложенного в HD-5 для сжиженного нефтяного газа (LPG).
Перед тем как мембрана будет установлена в устройстве, диаметры колонны и компрессора будут калиброваны под обработку 1,210 (м3 в день) (10,000 баррелей в день (BPD)) пропилена заводского уровня (далее RGP – от Refinary-Grade Propylene), содержащего 74 процента пропилена и 26 процентов пропана из источника 112 и продукта в верхней части колонны, который соответствует пропилену полимерного уровня (далее PGP – от Polymer-Grade Propylene), с содержанием пропилена на уровне 99.5 процента.
В данном примере коэффициент опрокидывания потока был понижен и очищение в верхней части колонны было уменьшено для того, чтобы соответствовать и поддерживать энтальпию питающего мембрану потока и Показатель Эффективности Мембраны. Поскольку емкость колонны и компрессора предполагались быть очень большими, коэффициент опрокидывания потока был понижен, интенсивность питания из колонны источника 112 была увеличена, тогда как интенсивность питания была снижена до точки, в которой количество проходящего через верхний компрессор 130 материала остается постоянным. Мембраны (140) были использованы для производства PGP из менее летучих материалов в верхней части колонны. Вычисления были выполнены с использованием пропиленовой проницаемости мембраны, равной 2 Баррерам, и пропиленовой селективностью, равной 15.
Результаты этих вычислений представлены в таблице 1. Площадь мембраны была выбрана с учетом изменения чистоты в верхней части колонны для получения проницаемого компонента, отвечающего требованиям PGP. Охлаждение мембраны было недостаточным при содержании пропилена менее 98 процентов в верхних испарениях до полного (охлаждения после перегрева) сжатия непроницаемого компонента и повторного использования парожидкостной смеси в колонне. При содержании пропилена более 98 процентов в верхней части колонны, когда дебит непроницаемого компонента не был таким высоким, охлаждение мембраны вызывало необходимость переохлаждения непроницаемого компонента. Заметим, что часть жидкости в непроникающем компоненте под высоким давлением также испаряется во время поступления в колонну под давлением 960-1100 кПа (140-160 psia), даже тогда, когда непроницаемый компонент был переохлажден. Таблица 1 показывает, что количество материала, которое может быть обработано, увеличивается до тех пор, пока процент содержания пропилена в верхней части колонны не достигнет 98 процентов. При содержании пропилена ниже 98 процентов в верхней части колонны количество повторно используемого в колонне непроницаемого компонента начинает существенно увеличиваться, а пропускная способность устройства уменьшается. Этот максимум пропускной способности достигается при Показателе Эффективности Мембраны, примерно равном 1.
| Таблица 1 |
| Перегоночная колонна с парокомпрессией |
| ОБЪЕМНЫЙ ПРОЦЕНТ ПРОПИЛЕНА В ВЕРХНЕЙ ЧАСТИ |
ПЭМ   |
УВЕЛИЧЕНИЕ ПРОПУСКНОЙ СПОСОБНОСТИ, ПРОЦЕНТ |
ТЕМПРЕРАТУРА ПЕРЕОХЛАЖДЕНИЯ НЕПРОНИЦАЕМОГО КОМПОНЕНТА/ПАРОВАЯ ФРАКЦИЯ |
ОТНОШЕНИЕ НЕПРОНИЦАЕМОГО КОМПОНЕНТА К ОБЪЕМУ ПИТАНИЯ КОЛОННЫ |
ПЛОЩАДЬ М2×10-3 (Фут2×10-3) |
| 99 |
1.02 |
12 |
19.4°С (35°F) |
0.004 |
23.7 (255) |
| 98 |
1.00 |
22 |
10.0°С (18°F) |
0.04 |
25.2 (271) |
| 97 |
0.65 |
19 |
0.04°С (0.7) |
0.2 |
23.0 (248) |
 ПЭМ – Показатель Эффективности Мембраны |
В соответствии с предпочтительным вариантом изобретения, изображенным на Фиг.1, мембранное устройство объединяется с СЗ сплиттером, который осуществляет компрессию пара. В связи с тем, что давление в выходном патрубке компрессора значительно выше, чем в колонне, непроницаемый через мембрану компонент возвращается на повторное использование в колонну без дополнительного наддува и не требует использования дорого оборудования для вытеснения.
ПРИМЕР 2
Данный пример раскрывает аспект изобретения, представленный на Фиг.1, использующий необязательные теплообменники 136 и 146 для питающего мембрану потока и/или непроницаемый компонент, для того чтобы ограничить количество пара, которое подается в колонну на повторную обработку. В этом примере вычисления были выполнены при условиях, схожих с теми, которые использовались в Примере 1, использующем необязательные теплообменники 136 и 146 для питающего мембрану потока и/или непроницаемый компонент. Необходимо было охладить питающий мембрану поток с 26.7°С до 37.8°С (с 80° F до 100° F) или поток непроницаемого компонента до примерно 21.1°С (70°F) для исключения повторного попадания пара в колонну. Однако это оказывает небольшое влияние на производительность системы разделения пропана и пропилена. Отметим, что абсолютный расход непроницаемого компонента не изменяется при использовании теплообменников 136 и 146, так как абсолютный расход непроницаемого компонента зависит от состава питающего потока, скорости его подачи, площади и перманентной селективности мембраны. Теплообменники влияют на процесс, когда непроницаемый компонент вводится в колонну. Наблюдалось незначительное увеличение пропускной способности за счет теплообменника 146, когда скорость подачи непроницаемого компонента была высокой. Использование теплообменника 136 дает похожие результаты; однако теплообменник 136 оказался значительно более дорогим, нежели теплообменник 146, так как скорость подачи питающего мембрану потока была больше, чем непроницаемого компонента. Требуемая мембранная площадь также была больше (примерно на 25 процентов) при использовании теплообменника 136, так как охлаждение потока, питающего мембрану, приводило к полному сжатию и переохлаждению непроницаемого компонента во время охлаждения мембраны.
Отметим, что температура теплообменника 146 в данном примере была примерно равной 21.1°С (70°F). На практике охлаждающая вода, в общем случае, не будет подходить для такой работы, и потребуется другой источник охлаждения (например, холодильник). Наблюдаемое минимальное увеличение пропускной способности не может быть основанием для дополнительных расходов на теплообменники 136 и 146.
ПРИМЕР 3
Данный пример раскрывает аспект предпочтительного варианта изобретения, представленного на Фиг.2. Колонна фракционной перегонки 220 была использована как СЗ сплиттер с частью сжатого пара в верхней части, преимущественно распределяемого в устройство мембранного разделения летучих компонентов 240. Непроницаемый поток из разделительного устройства 240 был полностью превращен в жидкость и вытеснительно подан с помощью насоса 222 для повторной обработки в колонну 220. Вычисления выполнялись при условии, что температура охлаждающей воды в холодильнике 260 была равной 37.8°С (100°F). В результате это обеспечило давление в верхней части колонны, равное 230 psi. Скорость подачи жидкости в колонну была выбрана из расчета выполнения разделения с помощью 200 тарелок. В то же время скорость подачи пара в колонну была установлена таким образом, что продукты в нижней части колонны удовлетворяли требованиям LPG.
Перед тем как мембрану установить в устройство, диаметр существующей колонны был изменен для обработки 10,000 баррелей в день продукта RGP из источника 212, содержащего 74 процента пропилена и 26 процентов пропана в питающем потоке. Суммарное значение коэффициента опрокидывания потока было снижено, а чистота продуктов в верхней части колонны уменьшена до величины, соответствующей энтальпии питающего мембрану потока и Показателя Эффективности Мембраны. В данном примере скорость подачи в колонну питающего потока была увеличена, в то время как коэффициент опрокидывания потока был уменьшен в колонне до точки, в которой скорость подачи пара остается неизменной. Мембраны (240) использовались для получения PGP продуктов из материалов с меньшей степенью чистоты в верхней части колонны. Вычисления выполнялись с использованием значения пропиленовой проницаемости, равного 2 Баррерам, а пропиленовой селективности – 15.
Результаты вычислений приведены в таблице 2. Площадь мембраны регулировалась для получения проницаемого продукта, удовлетворяющего требованиям PGP. Количество материала, которое могло быть обработано, увеличивалось до тех пор, пока содержание пропилена в верхней части колонны достигало значения примерно 97-98 процентов. При содержании пропилена в верхней части колонны менее 97 процентов количество непроницаемого компонента, возвращаемого в колонну для повторной обработки, начинало существенно возрастать, а пропускная способность устройства – падать. Этот максимум пропускной способности достигается при Показателе Эффективности Мембраны, примерно равном 1.
| Таблица II |
| Ввод непроницаемого компонента в дистилляционную колонну через насос |
| ОБЪЕМНЫЙ ПРОЦЕНТ ПРОПИЛЕНА В ВЕРХНЕЙ ЧАСТИ |
ПЭМ   |
УВЕЛИЧЕНИЕ ПРОПУСКНОЙ СПОСОБНОСТИ, ПРОЦЕНТ |
ПРОИЗВОДИТЕЛЬНОСТЬ ТЕПЛООБМЕННИКА  |
ОТНОШЕНИЕ НЕПРОНИЦАЕМОГО КОМПОНЕНТА К ОБЪЕМУ ПИТАНИЯ КОЛОННЫ |
ПЛОЩАДЬ М2×10-3 (Фут2×10-3) |
| 99 |
1.03 |
15 |
Нет данных |
0.004 |
27.0 (291) |
| 98 |
1.03 |
26 |
Нет данных |
0.04 |
27.7 (298) |
| 97 |
0.76 |
26 |
2.52 (1.0) |
0.2 |
25.3 (272) |
| 96 |
0.43 |
25 |
15.3 (6.2) |
0.5 |
25.1 (271) |
 ПЭМ – Показатель Эффективности Мембраны |
Производительность охладителя 246 по сжатию непроницаемого потока, BTU/час×10-3 (британская тепловая единица/час × 10-3). |
Когда содержание пропилена в верхней части колонны становилось больше 98 процентов, мембранный холодильник полностью сжимал (и переохлаждал) непроницаемый компонент и, таким образом, для обработки непроницаемого компонента не требовалось использования холодильника (246). Ниже 98 процентов повторная обработка непроницаемого компонента увеличивалась с целью удовлетворения PGP требованиям, а охлаждение мембраны снижалось достаточно, чтобы непроницаемый компонент не был полностью сжат. Холодильник 246 использовался для полного сжатия непроницаемого компонента перед отправкой его в насос для непроницаемого компонента. Непредвиденно, в данном примере, не было возможности дальнейшего повышения пропускной способности при использовании холодильника 246, так как повторная обработка непроницаемого компонента снижала емкость устройства для свежего сырья. Такие результаты неожиданно показали, что в данном случае, учитывая эффект охлаждения мембраны в интегрированном процессе, стало возможным исключить холодильник для непроницаемого компонента и снизить капиталовложения и операционные расходы, связанные с ним.
Вариант изобретения, изображенный на Фиг.2, особенно предпочтителен для совместного объединения мембранного устройства и традиционного СЗ сплиттера. В связи с падением давления в мембране необходимо повысить давление непроницаемого компонента перед повторной обработкой в колонне. Экономия затрат на данном устройстве весьма значительная, так как оно использует насос, а не компрессор для повышения давления непроницаемого компонента, полностью исключает газовую компрессию, что, как правило, связано с высокими капиталовложениями, операционными и обслуживающими затратами.
Отметим, что холодильник 236 может также использоваться для гарантирования того, что при повторной обработке непроницаемого компонента он будет полностью превращен в жидкость после охлаждения мембраны. Однако использование холодильника 236 будет более дорогим, чем холодильника 246, так как холодильник 236 будет охлаждать поток, питающий мембрану, который имеет большую скорость подачи, нежели поток непроницаемого компонента.
ПРИМЕР 4
В данном примере использовались те же вычисления, что и в Примере 3, но с использованием значения селективности пропилена, равного 35, а проницаемости пропилена, равной 1 Барреру. Использовалось более высокое значение проницаемости пропилена, когда селективность снижалась, по причине изложенной в литературе по мембранам (см., например, Robeson, “Correlation of Separation Factor Versus Permeability for Polymeric Membranes” («Корреляция коэффициента разделения и проницаемости для полимерных мембран»), J. Memb. Sci. 62, 165-185 (1991) или Burns, R.L. Et al., “Defining the Challenges for C3PH6/C3H8 Separation Using Polymeric Membranes” («Постановка задач для C3H6/C3H8 разделения с использованием полимерных мембран»), J. Memb. Sci., 211, 299-309 (2003), заключающееся в том, что снижение селективности в общем случае приводит к очень высоким значениям проницаемости. Результаты этих вычислений показаны в таблице 3. Повышение пропускной способности было достигнуто для устройства, показанного на Фиг.2, когда селективность мембраны была выше. Это показывает, что устройство, представленное на Фиг.2, предпочтительнее даже в случае высоких значений селективности мембраны. При более высокой проницаемости пропилена его концентрация в потоке, питающем мембрану, и скорость подачи орошаемой жидкости в колонне дополнительно могут быть снижены перед стеканием восстановленного проницаемого компонента, когда важным становится процесс обработки непроницаемого компонента. Для этого потребовалось увеличить площадь мембраны, так как проницаемость пропилена была низкой. Как и в примере 3, в данном случае было возможным исключить холодильник 246 для непроницаемого компонента при минимальном влиянии на увеличение пропускной способности, когда охлаждение мембраны было существенным для того, чтобы полностью сжать непроницаемый компонент при Показателе Эффективности Мембраны, примерно равном 1.
| Таблица III |
| Ввод непроницаемого компонента в дистилляционную колонну через насос |
| ОБЪЕМНЫЙ ПРОЦЕНТ ПРОПИЛЕНА В ВЕРХНЕЙ ЧАСТИ |
ПЭМ   |
УВЕЛИЧЕНИЕ ПРОПУСКНОЙ СПОСОБНОСТИ, ПРОЦЕНТ |
ПРОИЗВОДИТЕЛЬНОСТЬ ТЕПЛООБМЕННИКА  |
ОТНОШЕНИЕ НЕПРОНИЦАЕМОГО КОМПОНЕНТА К ОБЪЕМУ ПИТАНИЯ КОЛОННЫ |
ПЛОЩАДЬ МЕМБРАНЫ М2×10-3 (Фут2×10-3) |
| 97 |
0.97 |
39 |
Нет данных |
0.03 |
67.7 (730) |
| 96 |
0.98 |
43 |
Нет данных |
0.05 |
66.4 (716) |
| 95 |
1.00 |
43 |
0.07 (0.03) |
0.1 |
62.0 (669) |
| 94 |
0.86 |
39 |
2.52 (1.0) |
0.2 |
60.3 (651) |
 ПЭМ – Показатель Эффективности Мембраны |
Производительность охладителя 246 по сжатию непроницаемого потока, BTU/час×10-3 (британская тепловая единица/час × 10-3). |
ПРИМЕР 5
Данный пример раскрывает аспект предпочтительного варианта изобретения, представленного на Фиг.3. Колонна фракционной перегонки 320 была использована как СЗ сплиттер с отводом потока, преимущественно распределяемого в устройство мембранного разделения летучих компонентов 340. Непроницаемый поток из разделительного устройства 340 был полностью превращен в жидкость и вытеснительно подан с помощью насоса 322 для повторной обработки в колонну 320. На Фиг.3 показано устройство, в котором мембрана для разделения летучих компонентов располагается на отводе перегоночной колонны, а непроницаемый компонент полностью превращается в жидкость, давление которой повышается с помощью насоса, перед повторной обработкой в колонне.
Сырье из источника 312 содержит компоненты, имеющие точки кипения ниже, чем пропилен. Преимущественно получают насыщенные пропиленом побочные продукты, позволяя при этом легким материалам покидать колонну через ее верхнюю часть. Используемый здесь питающий поток из источника 312 содержит 2 процента веса этана, 69 процентов веса пропилена и 28 процентов веса пропана. Этан был выбран потому, что его температура кипения более низкая и он часто присутствует в потоках крекинг-процессов, используемых для производства пропилена. Этан должен извлекаться таким образом, чтобы он не заканчивался в процессах получения продуктов, обогащенных пропиленом и пропаном. В данном примере продукты извлекались только через трубопроводы 392, 352 и 378. Вычисления были выполнены для температуры охлаждающей воды, равной 37.8°С (100°F), для получения оттока из колонны. В результате давление в верхней части колонны становится равным примерно 2200 кПа (320 psi). Вычисления были выполнены для колонны, имеющей 200 тарелок. Пар отводился с тарелки 20 (если нумеровать сверху). Скорость подачи пара в колонну выбиралась таким образом, чтобы продукты в нижней части колонны соответствовали спецификациям LPG. Мембраны (340) использовались для получения PGP продуктов. Вычисления были выполнены для проницаемости пропилена через мембрану в 2 Баррера и селективностью пропилена-15.
Смесь питающего мембрану потока была уменьшена за счет увеличения скорости отвода пара для того, чтобы изменять Показатель Эффективности Мембраны. Одновременно площадь мембраны была подобрана таким образом, чтобы проникающие продукты соответствовали требованиям PGP. Результаты приведены в Таблице IV. Для питающего мембрану потока содержание пропилена было больше 96 процентов, степень охлаждения мембраны была достаточной для полного сжатия (и переохлаждения) непроницаемого компонента, а использование холодильника 346 не потребовалось для сжижения непроницаемого компонента. После того как содержание пропилена в питающем мембрану потоке упало ниже 96 процентов, объем повторной обработки непроницаемого компонента увеличился, при этом охлаждение мембраны стало недостаточным для полного сжатия непроницаемого компонента и, таким образом, потребовалось использование холодильника 346. Такое развитие процесса, требующее использования холодильника 346, происходит, когда Показатель Эффективности Мембраны примерно равен 1.
Данный пример показывает, что устройство, представленное на Фиг.3, было предпочтительным вариантом размещения мембраны на отводе колонны, в то время как легкие компоненты в питающем колонну потоке концентрируются в продукте в ее верхней части. Для очистки пропилена данное устройство может одновременно производить деэтанизацию и получение требуемых продуктов, таких как PGP и LPG. Использование насоса для повышения давления непроницаемого компонента было предпочтительным, так как это исключает дорогостоящий процесс газовой компрессии. Очередная настройка Показателя Эффективности Мембраны дала возможность исключения холодильника для непроницаемого компонента, а также обеспечила связанное с этим снижение капиталовложений и операционных затрат.
| Таблица IV |
| ОТВОДИМЫЙ ИЗ КОЛОННЫ ПЕРЕГОНКИ ПРОНИЦАЕМЫЙ КОМПОНЕНТ, СОДЕРЖАЩИЙ 99.5 ПРОЦЕНТОВ ПРОПИЛЕНА |
| ОТВОДИМЫЙ ПРОПИЛЕН, ПРОЦЕНТ |
ПРОИЗВОДИТЕЛЬНОСТЬ ТЕПЛООБМЕННИКА 346, BTU/час × 10-3 |
ПЭМ   |
| 98 |
Нет данных |
1.01 |
| 97 |
Нет данных |
1.02 |
| 96 |
1.16 |
0.80 |
| |
(0.46) |
|
 ПЭМ – Показатель Эффективности Мембраны |
ПРИМЕР 6
Данный пример раскрывает аспект предпочтительного варианта изобретения, представленного на Фиг.3, с помощью которого одновременно получают два конечных продукта, обогащенных пропиленом, и один конечный продукт, обогащенный пропаном. Сырье из источника 312, содержащее 74 процента пропилена и 26 процентов пропана, подавалось в объеме 1,210,000 л в день (10,000 баррелей в день). Вычисления были выполнены для температуры охлаждающей воды, равной 37.8°С (100°F), для полного сжатия компонентов в верхней части колонны. В результате давление в верхней части колонны становится равным примерно 160 кПа (230 psi). Вычисления были выполнены для колонны, имеющей 200 тарелок. Пар отводился с тарелки 65 (если нумеровать сверху).
В данном примере скорость оттока жидкости в колонне была подобрана для получения жидкого продукта в верхней части колонны (368), удовлетворяющего спецификациям PGP. Отводимый компонент направлялся в мембранный модуль 340, а площадь мембраны подбиралась для получения проницаемого продукта, удовлетворяющего спецификациям для класса химического пропилена (CGP), с содержанием пропилена в 95 процентов. Скорость подачи пара в колонну выбиралась таким образом, чтобы продукты в нижней части колонны соответствовали спецификациям LPG.
Смесь питающего мембрану потока была уменьшена, а скорость отвода пара увеличена для того, чтобы подобрать энтальпию питающего мембрану потока и Показатель Эффективности Мембраны. Коэффициент опрокидывания потока подбирался для получения жидкого продукта в верхней части колонны, удовлетворяющего спецификациям PGP, а площадь мембраны была подобрана для получения проницаемого компонента, удовлетворяющего спецификациям CGP. Результаты вычислений показаны в Таблице V. Когда содержание пропилена в отводимом потоке уменьшалось, количество производимого продукта PGP также снижалось, а количество CGP продукта увеличивалось. Когда содержание пропилена в питающем мембрану потоке было примерно выше 83 процентов, охлаждение мембраны было достаточным для полного сжатия (и переохлаждения) непроницаемого компонента, а использование холодильника 346 не потребовалось для сжижения непроницаемого компонента. После того как содержание пропилена в питающем мембрану потоке упало ниже 83 процентов, объем повторной обработки непроницаемого компонента увеличился, при этом охлаждение мембраны стало недостаточным для полного сжатия непроницаемого компонента и, таким образом, потребовалось использование холодильника 346. Такое развитие процесса, требующее использования холодильника 346, происходит, когда Показатель Эффективности Мембраны примерно равен 1.
| Таблица V |
| ОТВОДИМЫЙ ИЗ ДИСТИЛЛЯЦИОННОЙ КОЛОННЫ ПРОНИЦАЕМЫЙ КОМПОНЕНТ, СОДЕРЖАЩИЙ 95 ПРОЦЕНТОВ ПРОПИЛЕНА |
| ОТВОДИМЫЙ ПРОПИЛЕН, ПРОЦЕНТ |
ОТНОШЕНИЕ ОБЪЕМА ПРОДУКТА PGP к CGP |
ПРОИЗВОДИТЕЛЬНОСТЬ ТЕПЛООБМЕННИКА 346, BTU/час × 10-3 |
ПЭМ
  |
| 90 |
1 8 |
Нет данных |
1.03 |
| 85 |
0.46 |
Нет данных |
1 02 |
| 80 |
0.31 |
0.28 |
0.97 |
 ПЭМ – Показатель Эффективности Мембраны |
Данный пример показывает устройство, представленное на Фиг.3, с помощью которого одновременно получают два конечных продукта, обогащенных пропиленом, и один конечный продукт, обогащенный пропаном. Использование насоса для повышения давления непроницаемого компонента было предпочтительным, так как это исключает дорогостоящий процесс газовой компрессии. Данный пример показал, что соответствующие количества двух обогащенных пропиленом продуктов (PGP и CGP) могут быть подобраны с использованием значения содержания пропилена в питающем мембрану потоке, скорости отвода потока и Показателя Эффективности Мембраны. На рынке существует потребность, и поэтому ценность каждого обогащенного пропиленом продукта будет служить руководством для подобного подбора. Подбор Показателя Эффективности Мембраны также позволяет исключить использование холодильника для непроницаемого компонента и, соответственно, связанные с этим капиталовложения и операционные расходы.
В данном изобретении термин «преимущественно» определяется для условий, когда содержание компонентов более 50 процентов. Термин «существенно» определяется как совершение действия с достаточной частотой или присутствие в таких пропорциях, которые в должной мере оказывают воздействие на макроскопические свойства связанного компонента или системы. В случаях, когда частота или содержание для такого воздействия не ясны, «существенно» должно рассматриваться как двадцать процентов и выше. Термин «сырье, по существу состоящее из…» обозначает объемное содержание сырья не менее 95 процентов. Термин «по существу свободен от…» обозначает полное исключение небольших вариаций, которые имеют не более чем незначительный эффект на макроскопическое качество, и конечный продукт не содержит примесей более 1 процента.
Формула изобретения
1. Способ разделения очищенных продуктов из жидких смесей с использованием устройства, интегрирующего фракционную перегонку и селективное мембранное разделение, включающий:
использование устройства интегрированного разделения, включающее колонну фракционной перегонки и мембранное устройство, предназначенное для использования селективной мембраны для разделения одного или более компонентов из жидкой смеси, состоящей из одной или более составляющих;
извлечение из колонны потока жидкости, получаемой фракционной перегонкой исходного сырья нефтяного происхождения, содержащего две или более составляющих, имеющих различные температуры кипения;
распределение всего или части потока, извлекаемого из колонны в мембранное устройство для выделения из потока проницаемой и непроницаемой жидких сред, содержащих различное количество, по крайней мере, одной из составляющих смеси; и
систематический контроль энтальпии для поддержания Показателя Эффективности Мембраны для непроницаемой жидкой среды в диапазоне от 0,5 до 1,5.
2. Способ по п.1, в котором наряду с жидкостью, извлекаемой из колонны, из нее удаляется пар, а извлеченная непроницаемая жидкость возвращается в колонну.
3. Способ по п.1, который дополнительно включает извлечение из мембранного устройства потока очищенной проницаемой жидкой среды, и одного или более потоков очищенных продуктов из колонны фракционной перегонки.
4. Способ по п.3, в котором преобладающим компонентом очищенной приникающей жидкой среды является пропилен.
5. Способ по п.1, в котором жидкость, извлекаемая из колонны фракционной перегонки, в основном является потоком испарений верхней части колонны, часть которого используется как источник оттока жидкости из колонны.
6. Способ разделения очищенных продуктов из жидких смесей с использованием устройства, интегрирующего перегонку и мембранное разделение, включающий:
использование устройства разделения, включающего колонну фракционной перегонки, имеющую соответствующее число фаз парожидкостного контакта, вводные отверстия и выпускные отверстия, включая, по крайней мере, одно выпускное отверстие в поточном сообщении с мембранным устройством, содержащим множество твердых селективных мембран, которые под действием соответствующих производных от движущих сил обеспечивают проницаемость, по крайней мере, 0,1·10-10 {см3 при стандартных температуре и давлении (STP) см/(см2 с см Hg)} (0,1 Баррер), каналы, имеющие, по крайней мере, одно вводное отверстие и одно выпускное отверстие для потока жидкости, контактирующего с одной стороной мембраны, и соприкасающегося с противоположной стороной проницаемой камеры, имеющей, по крайней мере, одно отверстие для выпуска проницаемого потока;
разделение с помощью фракционной перегонки исходного сырья, содержащего жидкую смесь, включающую низкокипящий углеводородный компонент и высококипящий углеводородный компонент, и таким образом, обеспечение колонны оттоком, обогащенным одним компонентом относительно другого;
распределение вытекающего из колонны потока напрямую или опосредованно во вводное отверстие канала мембранного устройства; и
разделение распределенного потока с помощью селективного проницания, и получения очищенной проницаемой жидкой среды и непроницаемой жидкой среды, с контролем при этом энтальпии распределенного потока для поддержания Показателя Эффективности Мембраны для непроницаемой жидкой среды в диапазоне от 0,5 до 1,5.
7. Способ по п.6, в котором устройство разделения дополнительно включает средства деления парового потока в верхней части колонны, по крайней мере, на первую часть, для оттока в колонну фракционной перегонки и вторую часть, и средства для использования первой части в качестве жидкого оттока.
8. Способ по п.7, в котором вторая часть парового потока распределяется во вводное отверстие канала мембранного устройства.
9. Способ по п.6, в котором, по крайней мере, часть непроницаемой жидкой среды возвращается в колонну фракционной перегонки.
10. Способ по п.6, в котором дополнительно осуществляется извлечение из колонны очищенного перегонного продукта, обогащенного одним компонентом относительно другого компонента исходного сырья.
11. Способ по п.6, в котором исходное сырье содержит смесь алкановой составляющей, имеющей от 2 до 4 атомов углерода, и алкеновой составляющей, имеющей такое же количество атомов углерода, как и преобладающий компонент сырьевого потока.
12. Способ по п.11, в котором смесь имеет жидкостный коэффициент отношения алкеновой составляющей к алкановой в диапазоне, примерно, от 1,5 до 4.
13. Способ по п.6, в котором очищенный проницаемый поток содержит, по крайней мере, 95% пропилена.
14. Непрерывный способ разделения очищенных продуктов из жидких смесей с использованием устройства, интегрирующего фракционную перегонку и мембранное разделение, включающий:
использование устройства разделения, включающего (а) колонну фракционной перегонки, имеющей выпускное отверстие в верхней части колонны в потоковой связи с компрессором, внутреннюю или внешнюю поверхность теплопередачи, одна сторона которой расположена для контакта с текучей средой в нижней части колонны, а противоположная сторона расположена для контакта со сжатым паром верхней части колонны, (b) компрессор в потоковой связи со средствами пропорционального сжатия пара между поверхностью теплопередачи колонны, дефлегматора колонны, и холодильника мембраны, который находится в потоковой связи с устройством селективной мембраны, (с) мембранное устройство, включающее твердую селективную мембрану, которая под действием соответствующих производных от движущих сил обеспечивает проницаемость, по крайней мере, 0,1·10-10 {см3 при стандартных температуре и давлении (STP) см/(см2 с см Hg)} (0,1 Баррер), каналы, имеющие, по крайней мере, одно вводное отверстие и одно выпускное отверстие для потока жидкости, контактирующего с одной стороной мембраны, и соприкасающегося с противоположной стороной этой проницаемой камеры, имеющей, по крайне мере, одно отверстие для выпуска проницаемого потока, и (d) средства для потоковой связи между противоположной стороной поверхности теплопередачи колонны и колонной фракционной перегонки;
разделение путем фракционной перегонки исходного сырья нефтяного происхождения, содержащего жидкую смесь, включающую низкокипящий углеводородный компонент и высококипящий углеводородный компонент, и таким образом, снабжающее компрессор паровым потоком, обогащенным низкокипящим компонентом;
сжатие пара в верхней части колонны и распределение его частей между поверхностью теплопередачи колонны, дефлегматором колонны, и напрямую, или опосредованно, мембранным устройством; и
разделение из потока, распределенного из мембранного устройства, непроницаемого потока с помощью селективного проницания, с контролем при этом энтальпии распределенного потока для поддержания Показателя Эффективности Мембраны для непроницаемой жидкой среды в диапазоне от 0,5 до 1,5.
15. Способ по п.14, в котором дополнительно осуществляется извлечение из колонны очищенного перегонного продукта, обогащенного одним компонентом относительно другого компонента исходного сырья.
16. Способ по п.14, в котором, по крайней мере, часть непроницаемой текучей среды возвращается в колонну фракционной перегонки.
17. Способ по п.14, в котором дополнительно осуществляется извлечение из колонны очищенного перегонного продукта, обогащенного низкокипящим компонентом относительно исходного сырья.
18. Способ по п.14, в котором очищенный проницаемый поток содержит, по крайней мере, 99,5% пропилена.
19. Интегрированное устройство перегонки и мембранного разделения, включающее:
колонну фракционной перегонки, имеющей выпускное отверстие в верхней части колонны в потоковой связи с компрессором, внутреннюю или внешнюю поверхность теплопередачи, одна сторона которой предназначена для контакта с текучей средой в нижней части колонны, а противоположная сторона предназначена для контакта со сжатым паром верхней части колонны;
компрессор в потоковой связи со средствами пропорционального сжатия пара между поверхностью теплопередачи колонны, дефлегматора колонны, и холодильника мембраны, который находится в потоковой связи с устройством селективной мембраны;
мембранное устройство, включающее твердую селективную мембрану, которая под действием соответствующих производных от движущих сил обеспечивает проницаемость, по крайней мере, 0,1·10-10 { см3 при стандартных температуре и давлении (STP) см/(см2 с см Hg)} (0,1 Баррер), каналы, имеющие, по крайней мере, одно вводное отверстие и одно выпускное отверстие для потока жидкости, контактирующего с одной стороной мембраны, и соприкасающегося с противоположной стороной этой проницаемой камеры, имеющей, по крайне мере, одно отверстие для выпуска проницаемого потока; и
средства для потоковой связи между противоположной стороной поверхности теплопередачи колонны и колонной фракционной перегонки.
20. Устройство по п.19, которое дополнительно снабжено средствами потоковой связи между выпускными отверстиями каналов мембранного устройства и колонной фракционной перегонки.
РИСУНКИ
|
|