|
(21), (22) Заявка: 2007119263/11, 23.05.2007
(24) Дата начала отсчета срока действия патента:
23.05.2007
(46) Опубликовано: 20.12.2008
(56) Список документов, цитированных в отчете о поиске:
US 3908364 А, 30.09.1975. RU 15366 U1, 10.10.2000. GB 1268839 A, 29.03.1972. RU 94027643 A1, 20.09.1996.
Адрес для переписки:
614097, г.Пермь, а/я 10941, ООО “Старт-Пермь”
|
(72) Автор(ы):
Казанцев Игорь Львович (RU), Казанцев Лев Васильевич (RU)
(73) Патентообладатель(и):
Общество с ограниченной ответственностью “Старт-Пермь” (RU)
|
(54) МОДЕЛЬНЫЙ РАКЕТНЫЙ ДВИГАТЕЛЬ
(57) Реферат:
Изобретение предназначено для использования в ракетно-космическом моделизме, технических видах творчества молодежи и детских развивающих играх. Модельный ракетный двигатель содержит корпус с соплом. Топливный заряд выполнен из пастообразного топлива. Двигатель снабжен формообразующим начальную поверхность горения заряда устройством и компенсатором температурного расширения заряда. Достигается повышение безопасности. 4 з.п. ф-лы, 3 ил.
Изобретение относится к индустрии игрушек, а именно к модельным ракетным двигателям (МРД) для ракетно-космического моделирования в технических видах творчества.
Общеизвестен МРД [5], содержащий бумажный или пластмассовый корпус, в котором смонтированы сопло, заряд твердого топлива из черного или баллиститного пороха, пиротехнический замедлитель-трассер, сгорающий с выделением цветного дыма для обозначения траектории полета модели после окончания работы МРД, и вышибной заряд, срабатывающий от теплового импульса замедлителя и выталкивающий из корпуса модели полезную нагрузку – следующую ступень ракеты, летательный аппарат, средства спасения и т.п.
Существующие МРД, а также спортивные соревнования и игры с запусками моделей различных ракет, ракетопланов, моделей-копий относятся к потенциально опасным видам изделий и работ. Это связано, в первую очередь, с высокой температурой продуктов сгорания МРД, создающей опасность ожогов и пожаров при неосторожном обращении с двигателем, случайном падении аварийной ракеты на сухую траву и др. горючие материалы, а также с возможностью взрывного разрушения некондиционного МРД, например, с трещиной твердотопливного заряда, образовавшейся при падении, ударе, отслоении от корпуса, в результате детской шалости т.п.
Указанные обстоятельства привели к введению обоснованных ограничений со стороны надзорных государственных органов по перевозке, распространению и эксплуатации МРД, организации работ со школьниками и спортсменами, что существенно сдерживает развитие и массовость технических видов творчества и развивающих игр с использованием МРД.
Определенным ограничением для поиска альтернативных конструктивных и материаловедческих решений по МРД спортивных классов явилось и требование Международной авиационной федерации по использованию в МРД зарядов исключительно из твердого топлива.
Целью предлагаемого изобретения является повышение безопасности, зрелищности и расширение игровых возможностей МРД.
Поставленная цель достигается тем, что в МРД, содержащем корпус с соплом и топливный заряд, заряд двигателя выполнен из пастообразного топлива, а двигатель снабжен формообразующим начальную поверхность горения заряда устройством и компенсатором температурного расширения заряда.
Техническими предпосылками для решения поставленной цели является разработка пастообразных ракетных топлив и их успешное опробование в 1970-90 г.г. на ряде образцов отечественной и зарубежной ракетной техники. Пастообразное топливо и заряд из него, в силу своего физического вязкотекучего состояния, не образует трещин, не отслаивается от стенок при деформациях корпуса, взрывобезопасные рецептуры обеспечивают безопасность при падении двигателей, прострелах, ударах молотком, воздействии детонирующего импульса и тепловых нагрузок.
Определенным недостатком двигателя на пастообразном топливе является необходимость введения в конструкцию устройств для компенсации температурного расширения и поддержания формы начальной поверхности горения заряда, обусловленных различием коэффициентов линейного расширения материала корпуса и заряда, а также физической вязкотекучей природой топлива.
Применительно к МРД наиболее распространенного в России класса А с суммарным импульсом до 2.5 Н×сек и габаритами корпуса порядка 10 мм по диаметру и 40-55 мм по длине, приемлемые показатели по линейному расширению и прочности могут обеспечиваться при использовании в качестве силовой оболочки корпуса ряда полимерных материалов типа наполненного стекловолокном полиэтилена высокой плотности, полибутилентерефталата, полипропилена и др. Однако необходимость введения эффективной тепловой защиты корпуса из-за резкого снижения прочности полимеров при нагреве свыше 80-120°С усложняет и утяжеляет конструкцию МРД, чем ограничивает использование корпусов из подобных материалов в качестве компенсаторов температурного расширения преимущественно для МРД первоначального обучения ракетомоделизму и для развивающих детских игр.
Для МРД из конструкционных материалов, более термопрочных по сравнению с полимерами, проблема компенсации температурного расширения пастообразного заряда остается актуальной.
Известен ракетный двигатель [4], содержащий корпус с зарядом пастообразного топлива, гибкую мембрану, охватывающую заряд со стороны сопла и поддерживаемую силовым фиксирующим устройством, расположенным вдоль корпуса с возможностью продольного перемещения, воспламенитель и сопло. Недостатками такого решения являются высокие действующие напряжения в мембране и ее повышенная толщина, затрудняющая воспламенение заряда.
Известен также двигатель отечественной градобойной системы “Небо”, температурный компенсатор которого выполнен в виде размещенного в полости соплового днища подпружиненного подвижного поршня с профилированными окнами, закрытыми фольгой. Скользящее уплотнение поршня выполнено из двух колец из химически стойкой резины. Такая конструкция обеспечивала стабильный запуск и расчетную диаграмму тяги, но при хранении ракеты из-за потери герметичности скользящего уплотнения на одном боку образовались газовые пузыри, которые при запуске приводили к увеличению поверхности горения, взрывам ракет и разрушению пусковых установок [2].
Общим недостатком известных компенсирующих устройств является их сложность, наличие взаимно перемещающихся элементов и пружинных элементов в полости камеры сгорания, что делает их малоэффективными при использовании в малогабаритных изделиях типа МРД.
Усовершенствование предложенного МРД заключается в том, что компенсатор температурного расширения заряда выполнен в виде упругого корпуса двигателя с поперечным сечением переменной кривизны, т.е. некруглой, например, эллиптической или треугольной формы.
При изменения температуры и, соответственно, объема топливного заряда, некруглый корпус упруго деформируется с изменением кривизны, что обеспечивает существенно большее изменение внутреннего объема по сравнению с круглым корпусом. При этом внутри корпуса сохраняется небольшое избыточное давление, благоприятное для исключения образования в топливе газовых пузырей, расслоений и прочих дефектов.
Предложено выполнять поперечное сечение корпуса с участками нулевой и/или отрицательной кривизны, например, гантелеобразной, треугольной формы с плоскими или вогнутыми гранями, что позволяет компенсировать более широкие диапазоны температур эксплуатации МРД, в частности с корпусами из термостойких композиционных материалов с низкими коэффициентами линейного расширения типа углепластиков.
Повышенная деформативность сечения корпуса позволяет разместить участок некруглого сечения не на всей длине корпуса, а лишь на части, сохранив круглую форму на торцах, стыкуемых с передним и сопловым днищами. Изготовление корпусов с переменной по длине формой сечения не представляет особых технологических трудностей, в частности, для оболочек, получаемых методом намотки на некруглые упругие оправки с равными периметрами круглых и некруглых сечений.
Для существенного повышения безопасности МРД, используемых для начального обучения ракетомоделистов или в других видах развивающих игр, предложено использовать пастообразное топливо аэрозольного огнетушащего состава (АОС), например, [3]. Наряду с механической и взрывобезопасностью пастообразного топлива, АОС обеспечивает повышенную пожарную безопасность МРД за счет образования при сгорании АОС мелкодисперсного, ингибирующего процессы горения аэрозоля на основе солей щелочных и щелочно-земельных металлов. АОС и продукты их сгорания не токсичны, не наносят вред окружающей среде, не разрушают озоновый слой атмосферы и легко утилизируются [1]. Этот синергизм пастообразных АОС обеспечивает качественно новый уровень безопасности МРД, а обильное дымовыделение повышает зрелищность запусков и расширение игровых возможностей МРД, в частности, при использовании в качестве дымовых генераторов для развивающих игр.
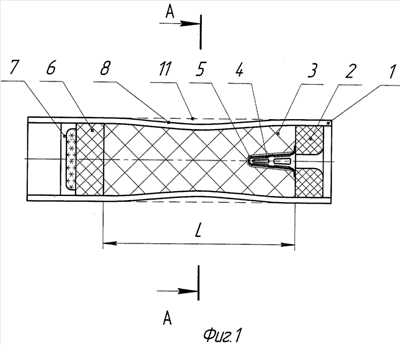
Сущность изобретения поясняется на чертежах, где показаны:
на фиг.1 – общий вид МРД с зарядом на пастообразном топливе;
на фиг.2 – поперечный разрез А-А корпуса по фиг.1 в форме эллипса;
на фиг.3 – поперечный разрез А-А корпуса по фиг.1 в форме треугольника с вогнутыми гранями (вариант исполнения).
Показанный на фиг.1 МРД содержит упругий термозащищенный корпус 1, сопло 2, пастообразный топливный заряд 3 из АОС, смонтированное на сопле 2, формообразующее начальную поверхности горения устройство 4, выполненное в виде конической перфорированной оболочки, покрытой со стороны заряда тонкостенной пленкой или фольгой 5; передний торец заряд 3 закрыт через герметичную пленку или фольгу замедлителем-трассером 6 и вышибным зарядом 7. На части длины корпуса L его сечение выполнено переменной кривизны – в форме эллипса 8 (фиг.2) или треугольной формы 9 с элементами отрицательной кривизны (фиг.3). Некруглая форма сечения корпуса дает возможность корпусу упруго деформироваться при изменении объема и внутреннего давления со стороны заряда. При минимальной температуре сечения принимают форму с наименьшей площадью, а при максимальной температуре или при работе МРД – форму круга 10. Корпус при этом восстанавливает цилиндрическую форму 11 на всей длине.
Работа МРД. Перед запуском в полость формообразующего устройства 4 устанавливают электровоспламенитель (на фиг.1 не показан), представляющий собой спираль накаливания с нанесенной на ней пиротехнической обмазкой. Образующиеся после подачи электрического импульса на спираль продукты сгорания пиротехнической обмазки нагревают фольгу 5 и воспламеняют заряд 3. Поперечное сечение корпуса 1 под действием внутреннего давления из эллиптического принимает круглую форму 11. При этом за счет перемещения пастообразного заряда к переднему днищу несколько увеличивается горящая поверхность заряда, после выгорания которого поджигается замедлитель-трассер 6, а после его сгорания срабатывает вышибной заряд 7.
Основные технические решения предложенного МРД подтверждены огневыми стендовыми испытаниями макетов МРД на пастообразном АОС типа «Туман» [3]. Использование предлагаемого изобретения обеспечивает повышенную безопасность, зрелищность запусков МРД и расширение игровых возможностей детских развивающих игр.
Заявитель является субъектом малого предпринимательства.
Использованные источники
1. В.В.Агафонов, Н.П.Копылов. Установки аэрозольного пожаротушения; Элементы и характеристики, проектирование, монтаж и эксплуатация. – М.: ВНИИПО, 1999.
2. В.Н.Аликин, A.M.Липанов, С.Ю.Серебренников и др. Пороха, топлива и заряды. Том.2. Заряды народно-хозяйственного назначения. – М.: Химия, 2004. Стр.44.
3. Патент №2075984 РФ. Аэрозольобразующий огнетушащий состав, МПК 6 А62D 1/00.
4. Патент №3908364 США. Ракетный двигатель, НКИ 60-252, 1975.
5. П.Эльштейн. Конструктору моделей ракет. Перевод с польского. – М.: Мир, 1978, стр.139-150.
Формула изобретения
1. Модельный ракетный двигатель, содержащий корпус с соплом и топливный заряд, отличающийся тем, что заряд выполнен из пастообразного топлива, а двигатель снабжен формообразующим начальную поверхность горения заряда устройством и компенсатором температурного расширения заряда.
2. Двигатель по п.1, отличающийся тем, что компенсатор температурного расширения заряда выполнен в виде упругого корпуса двигателя с поперечным сечением переменной кривизны.
3. Двигатель по п.2, отличающийся тем, что поперечное сечение корпуса содержит участки нулевой и/или отрицательной кривизны.
4. Двигатель по п.2, отличающийся тем, что поперечное сечение корпуса с переменной кривизной выполнено на части длины корпуса.
5. Двигатель по п.1, отличающийся тем, что заряд пастообразного топлива выполнен из аэрозольного огнетушащего состава.
РИСУНКИ
|