|
|
(21), (22) Заявка: 2006110571/14, 18.08.2004
(24) Дата начала отсчета срока действия патента:
18.08.2004
(30) Конвенционный приоритет:
10.09.2003 US 10/659,455
(43) Дата публикации заявки: 20.10.2007
(46) Опубликовано: 20.12.2008
(56) Список документов, цитированных в отчете о поиске:
US 6079409 А, 27.06.2000. RU 2144386 C1, 20.01.2000. US 5285778 A, 15.02.1994. US 6050264 A, 18.04.2000.
(85) Дата перевода заявки PCT на национальную фазу:
10.04.2006
(86) Заявка PCT:
EP 2004/009259 (18.08.2004)
(87) Публикация PCT:
WO 2005/023350 (17.03.2005)
Адрес для переписки:
191186, Санкт-Петербург, а/я 230, “АРС-ПАТЕНТ”, пат.пов. М.В.Хмаре, рег. № 771
|
(72) Автор(ы):
БРЭЙН Арчибальд Ян Джереми (BE)
(73) Патентообладатель(и):
ДЗЕ ЛАРИНДЖЕАЛ МАСК КОМПАНИ ЛИМИТЕД (SC)
|
(54) ВОЗДУХОВОДНОЕ УСТРОЙСТВО В ВИДЕ ЛАРИНГЕАЛЬНОЙ МАСКИ С ВОЛОКОННО-ОПТИЧЕСКИМ БЛОКОМ
(57) Реферат:
Воздуховодное устройство в виде ларингеальной маски, содержащее воздуховодную трубку, которая образует между своими проксимальным концом и дистальным концом внутренний канал, в который может быть введена эндотрахеальная трубка, и корпус, содержащий надувную манжету и образующий отверстие, сообщающееся с внутренним каналом. Корпус устройства можно ввести через рот пациента в заданное конечное положение, а манжета выполнена таким образом, что, будучи надутой при заданном конечном положении корпуса маски, она окружает голосовую щель пациента. Чтобы обеспечить оператору возможность дистанционного просмотра, устройство по изобретению дополнительно содержит наблюдательный волоконно-оптический блок, имеющий проксимальный конец и дистальный конец, расположенный около дистального конца воздуховодной трубки. 9 з.п. ф-лы, 8 ил.
Область техники, к которой относится изобретение
Настоящее изобретение относится к воздуховодному устройству в виде ларингеальной маски с волоконно-оптическим блоком. Более конкретно, изобретение относится к интубационной ларингеальной маске, содержащей указанный блок.
Уровень техники
Ларингеальная маска представляет собой хорошо известное устройство, полезное для обеспечения дыхательных путей у пациентов, которые находятся в бессознательном состоянии. Из многочисленных публикаций, описывающих такие устройства, можно указать на патент США №4509514. Ларингеальные маски применялись в течение многих лет, представляя альтернативу более старой, лучше известной эндотрахеальной трубке. По меньшей мере, в течение семидесяти лет эндотрахеальные трубки, содержащие длинную гибкую трубку с надувным баллоном на ее дистальном конце, использовались для установления дыхательных путей у потерявших сознание пациентов. В процессе использования дистальный конец эндотрахеальной трубки вводят пациенту через рот и проводят через входное отверстие гортани (так называемую голосовую щель) в трахею. После установки маски в заданное положение баллон надувают, формируя таким образом изолирующее уплотнение внутренней поверхности трахеи. Затем для вентилирования легких пациента к проксимальному концу трубки можно приложить повышенное давление. Кроме своей главной функции, указанное уплотнение между баллоном и внутренней поверхностью трахеи защищает легкие от нежелательной аспирации (например, предотвращает засасывание рвотных масс, выделяемых из желудка, в легкие пациента).
Несмотря на свою высокую эффективность, эндотрахеальные трубки имеют несколько существенных негативных свойств. Так, принципиальным недостатком является сложность введения трубки пациенту надлежащим образом. Эта процедура требует высокой квалификации персонала. К тому же, даже при соблюдении указанного условия, введение эндотрахеальной трубки иногда затруднено или вообще невозможно. В ряде случаев затруднения такого рода заканчивались трагически и приводили к смерти пациента вследствие невозможности достаточно быстро установить пациенту воздуховод. Кроме того, для введения эндотрахеальной трубки, как правило, необходимо манипулировать головой и шеей пациента, а также принудительным образом широко раскрыть его челюсти. Из-за таких вынужденных манипуляций введение указанной трубки пациенту становится затруднительным или нежелательным, поскольку пациент может повредить шею.
В отличие от эндотрахеальной трубки введение ларингеальной маски пациенту, т.е. установка воздуховода, осуществляется относительно легко. Кроме того, такая маска представляет собой “неприхотливое” устройство в том смысле, что даже при неправильном введении тенденция установления воздуховода сохранится. Таким образом, ларингеальную маску часто рассматривают как устройство “спасения жизни”. При этом ее можно ввести посредством только относительно небольшого количества манипуляций, касающихся головы, шеи и челюстей пациента. Далее, указанная маска обеспечивает вентилирование легких пациента, не требуя для этого контакта с чувствительной внутренней поверхностью трахеи, а размер установленного воздуховода обычно значительно превышает аналогичный параметр зндотрахеальной трубки. К тому же по сравнению с эндотрахеальными трубками ларингеальная маска в меньшей степени вызывает кашель. Вследствие указанных преимуществ ларингеальная маска в последние годы получила широкое применение.
В патентах США №5303697 и 6079409 описаны примеры известного устройства, тип которого можно определить как “воздуховодное устройство в виде интубационной ларингеальной маски”. Интубационная маска полезна также для облегчения введения эндотрахеальной трубки, т.к. после установки такой маски пациенту она может выполнять функцию направляющей при последующем введении указанной трубки. Применение ларингеальной маски в таком варианте облегчает процедуру, обычно трактуемую как “введение эндотрахеальной трубки вслепую”. Для введения интубационной маски пациенту требуются только небольшие движения его головы, шеи и челюстей. Эндотрахеальную трубку можно вводить сразу после установки маски, причем для этого фактически не требуется дополнительных смещений пациента. Таким образом, указанная ситуация существенно отличается от варианта, когда для введения эндотрахеальной трубки без помощи интубационной ларингеальной маски приходится производить существенные перемещения головы, шеи и челюстей пациента.
Одна из распространенных модификаций интубационной ларингеальной маски в течение многих лет продавалась под названием “Fastrach” фирмой Laryngeal Mask Company (Кипр). Передняя сторона указанной маски 100 изображена на фиг.1А. На фиг.1В эта же маска представлена в сечении плоскостью, обозначенной на фиг.1А стрелками 1В-1В.
Маска 100 содержит жесткую стальную воздуховодную трубку 110, силиконовый корпус 130, жесткую стальную рукоятку 180 и шланг 190 для надувания манжеты. Рукоятка 180 и корпус 130 прикреплены к воздуховодной трубке 110 соответственно около ее проксимального конца 112 и дистального конца 114. Корпус состоит из куполообразной несущей пластины 132 и надувной манжеты 134. Кроме того, в нем имеется пластинка 150, приподнимающая надгортанник. Один конец 152 указанной пластинки прикреплен к несущей пластине 132, а другой конец 154 можно свободно перемещать, т.е. он не прикреплен к какому-либо участку маски. С остальной маской пластинка 150 связана шарнирно. На фиг.1А и 1В она показана в своей исходной позиции (т.е. в позиции, занимаемой пластинкой 150, когда на нее не воздействуют внешние усилия).
Процедура использования маски такова. Из манжеты 134 выпускают воздух, после чего корпус маски вводят через рот в глотку пациента. При этом проксимальный конец 112 воздуховодной трубки и рукоятка 180 остаются снаружи относительно рта пациента. Указанную рукоятку можно использовать для манипулирования маской. Затем надувают манжету 134, формируя по периметру голосовой щели изолирующее уплотнение. После такой установки маски 100 ее дистальное отверстие 117 (показанное на фиг.1А) совмещается с голосовой щелью пациента, т.е. посредством маски обеспечивают изолированный воздуховод от проксимального конца 112 трубки 110 к трахее пациента. Пока пластинка 150 находится в исходной позиции, показанной на фиг.1А и 1В, она предотвращает опускание надгортанника пациента в чашеобразное пространство, сформированное надутой манжетой и несущей пластиной. Таким образом, предотвращается блокирование надгортанником воздуховодного прохода, обеспеченного маской. На фиг.1C показана эндотрахеальная трубка 195, введенная через маску 100. Дистальный конец 196 трубки вводят в проксимальный конец 112 воздуховодной трубки, а затем продвигают трубку 195 до тех пор, пока ее конец 196 не достигнет корпуса 130 маски и пройдет через него. Как показано на чертеже, дистальный конец 196 эндотрахеальной трубки 195, проходя через корпус маски, смещает дистальный (т.е. “свободный”) конец 154 пластинки 150 с исходной позиции.
Как видно из фиг.1В, воздуховодная трубка 110 образует изогнутый участок, расположенный от проксимальной линии 116 до дистальной линии 118, причем линии 116, 118 пересекаются в центре С кривизны данного участка. Как показано на фиг.1В и 1C, несущая пластина 132 имеет пологий направляющий выступ 140. Изгиб воздуховодной трубки 110 и выступ 140 позволяют провести введение эндотрахеальной трубки вслепую. В данном случае имеется в виду, что при введении маски 100 пациенту указанный изгиб и выступ гарантируют совмещение дистального наконечника введенной затем эндотрахеальной трубки с трахеей после его прохождения через дистальное отверстие маски 100. Угол , определяемый линиями 116, 118, составляет приблизительно 120°. Еще приблизительно 17° к этому изгибу добавляет выступ 140. Таким образом, эндотрахеальная трубка, введенная через маску, изгибается приблизительно в пределах 137°.
Модель Fastrach является многоразовым устройством. Ее можно многократно стерилизовать (и снова использовать), прежде чем она станет слишком изношенной для дальнейшего использования. Однако, хотя эффективность устройства Fastrach весьма высока, проблема улучшения интубационных ларингеальных масок сохраняет свою актуальность.
Раскрытие изобретения
Задача, на решение которой направлено настоящее изобретение, состоит в разработке таких улучшенных устройств.
Согласно изобретению предлагается воздуховодное устройство в виде ларингеальной маски, содержащее воздуховодную трубку. Данная трубка между своими проксимальным и дистальным концами образует внутренний канал, в который можно ввести эндотрахеальную трубку. К дистальному концу воздуховодной трубки присоединен корпус маски, содержащий надувную манжету и формирующий отверстие, сообщающееся с внутренним каналом. При этом корпус можно через рот пациента ввести в заданное конечное положение. Манжета выполнена таким образом, чтобы она, находясь в надутом состоянии при установке корпуса маски в конечное положение, охватывала (окружала по периметру) голосовую щель пациента. Кроме того, маска содержит наблюдательный волоконно-оптический блок, имеющий проксимальный и дистальный концы, причем дистальные концы данного блока и воздуховодной трубки расположены рядом друг с другом. Тем самым оператору предоставляется возможность дистанционного наблюдения (просмотра).
Таким образом, маска содержит оптическую систему, позволяющую врачу перед введением эндотрахеальной трубки через маску удостовериться, что дистальный конец маски надлежащим образом совмещен с трахеей пациента.
Воздуховодную трубку, вместо стали, можно изготовить из недорогого материала, такого как пластик. Тогда ее можно использовать в одноразовом варианте.
Корпус маски может содержать пластинку, приподнимающую надгортанник. Она задает размер диафрагмы и может занимать как исходную, так и открытую позиции, причем наблюдательный волоконно-оптический блок обеспечивает наблюдение зоны, определяемой указанной диафрагмой.
Предпочтительно, чтобы наблюдательный блок у своего дистального конца содержал линзу, пространственно отделенную от внутреннего канала, чтобы устранить возможность контакта с введенной в канал эндотрахеальной трубкой. Такое расположение при введении или выведении трубки помогает избежать ее повреждения линзой.
Корпус маски может содержать несущую пластину, имеющую пологий направляющий выступ. Данный выступ образует опорную поверхность, которая поддерживает эндотрахеальную трубку, введенную во внутренний канал. Выступ может иметь прорезь, сквозь которую проложен оптоволоконный жгут волоконно-оптического блока.
Маска может содержать защитное средство для предотвращения контакта материала, отделившегося от эндотрахеальной трубки, с линзой. Данное средство может быть выполнено с возможностью предотвращения контакта материала, отделившегося (соскоблившегося) от эндотрахеальной трубки при ее введении во внутренний канал. В порядке альтернативы или дополнительно такую же возможность можно обеспечить по отношению к выведению эндотрахеальной трубки из внутреннего канала. Защитное средство может содержать одну или более канавок, расположенных между линзой и внутренним каналом. Все канавки или каждую из них по отдельности можно сформировать в виде интегральной части несущей пластины.
В альтернативном варианте все канавки или каждую из них по отдельности можно сформировать на кольце, расположенном на несущей пластине, причем линзу волоконно-оптического блока проводят в этом случае через отверстие в данном кольце.
Остальные задачи, на решение которых направлено настоящее изобретение, и его преимущества станут очевидны для специалистов в данной области из дальнейшего, более подробного описания и чертежей, на которых несколько вариантов осуществления представлены и описаны только в качестве иллюстрации оптимального выполнения изобретения.
Краткое описание чертежей
Фиг.1А иллюстрирует известную ларингеальную маску на виде спереди. Фиг.1В иллюстрирует эту же маску в сечении плоскостью 1В-1В, показанной на фиг.1А.
Фиг.1C иллюстрирует эндотрахеальную трубку, которая введена через маску, показанную на фиг.1А.
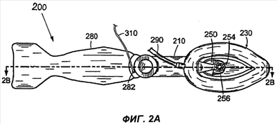
Фиг.2А иллюстрирует сконструированную согласно изобретению интубационную ларингеальную маску на виде спереди.
Фиг.2В иллюстрирует эту же маску в сечении плоскостью 2В-2В, показанной на фиг.2А.
Фиг.2С иллюстрирует эту же маску в сечении плоскостью 2С-2С, показанной на фиг.2В.
Фиг.2D в увеличенном масштабе иллюстрирует участок маски, который ограничен пунктирной окружностью, обозначенной на фиг.2В, как 2D.
Фиг.3 иллюстрирует эндотрахеальную трубку, которая введена через интубационную ларингеальную маску, сконструированную согласно изобретению.
Осуществление изобретения
На фиг.2А на виде спереди показана одноразовая интубационная ларингеальная маска 200, сконструированная согласно изобретению. На фиг.2В и 2С эта же маска представлена в сечениях соответственно плоскостью 2В-2В, показанной на фиг.2А, и плоскостью 2С-2С, показанной на фиг.2В. Фиг.2D в увеличенном масштабе иллюстрирует участок маски 200, который ограничен пунктирной окружностью, обозначенной на фиг.2В, как 2D.
Маска 200 содержит жесткую воздуховодную трубку 210, силиконовый корпус 230, жесткую рукоятку 280 и шланг 290 для надувания манжеты. Рукоятка 280 и корпус 230 прикреплены к воздуховодной трубке 210 соответственно около ее проксимального конца 212 и дистального конца 214. Указанный корпус 230 состоит из куполообразной силиконовой несущей пластины 232 и надувной манжеты 234. Кроме того, в нем имеется пластинка 250, приподнимающая надгортанник. Один конец 252 указанной пластинки прикреплен к несущей пластине 232, а другой конец 254 можно свободно перемещать, т.е. он не прикреплен к какому-либо другому участку маски. Из фиг.2 В видно, что воздуховодная трубка 210 образует изогнутый участок, расположенный от проксимальной линии 216 до дистальной линии 218, которые пересекаются в центре С кривизны данной трубки. Как показано на фиг.2В, 2D, несущая пластина 232 имеет пологий выступ 240. Как и в известной маске 100, угол , определяемый линиями 216, 218, составляет приблизительно 120°, и еще приблизительно 17° к этому изгибу добавляет выступ 240. Чтобы адаптировать маску для пациентов большего или меньшего роста, к воздуховодной трубке можно прикреплять корпуса различных размеров, причем выступы в других корпусах маски могут соответствовать не 17°, а иному углу, который немного отличается от этого значения в ту или иную сторону.
Как наилучшим образом показано на фиг.2С, воздуховодная трубка 210 образует внутренний воздуховодный канал 215, проходящий от проксимального конца 212 трубки к ее дистальному концу 214. Когда маска 200 введена пациенту, надутая манжета 234 формирует изолирующее уплотнение по периметру голосовой щели пациента, а внутренний (воздуховодный) канал 215 сообщается с легкими пациента. При этом рукоятка 280 и проксимальный конец 212 воздуховодной трубки остаются снаружи относительно рта пациента, а маска обеспечивает изолированный воздуховод от проксимального конца трубки через канал 215 к голосовой щели пациента.
Из сопоставления фиг.1А-1В и 2А-2В можно заключить, что маски 100 и 200 имеют много общего. Оба устройства содержат силиконовые корпуса, жесткие воздуховодные трубки и жесткие рукоятки. Однако, в то время как многоразовая маска 100 имеет стальную воздуховодную трубку и стальную рукоятку, маска 200 представляет собой одноразовое устройство, а ее воздуховодная трубка 210 и рукоятка 280 изготовлены из пластикового (например, из поликарбонатного) материала. Предпочтительно использовать для указанных компонентов жесткий материал, такой как поликарбонат. Вследствие замены стали на жесткий пластик стенка воздуховодной трубки 210 толще стенки трубки 110. Для трубки 210 показанные на фиг.2С толщина Т стенки и диаметр D внутреннего канала 215, по существу, равны соответственно 1,9 мм и 12,2 мм.
Другим важным отличием между ларингеальными масками 100 и 200 является наличие во втором случае волоконно-оптического блока в форме волоконно-оптической системы 300. Она состоит из оптоволоконного жгута 310, ограниченного по своей длине проксимальным концом 312 и дистальным концом, причем к волокнам жгута у их дистального конца прикреплена линза 314. После введения маски 200 пациенту проксимальный конец 312 оптоволоконного жгута 310 остается снаружи (относительно рта), и его можно присоединять к стандартным просмотровым устройствам (например, к экранам или окулярам). Линза 314 расположена около направляющего выступа 240.
Хотя изгиб воздуховодной трубки и форма направляющего выступа обычно облегчают введение эндотрахеальной трубки вслепую, волоконно-оптическая система 300 обеспечивает существенное преимущество, позволяя наблюдать анатомию пациента в зоне, совмещенной с дистальным концом ларингеальной маски 200. В результате можно регулировать совмещение указанного конца маски с голосовой щелью пациента, причем еще до попытки ввести через маску эндотрахеальную трубку. Если по данным оптического наблюдения дистальный конец ларингеальной маски недостаточно точно совмещен с голосовой щелью, для небольших регулировок позиции маски можно воспользоваться рукояткой 280. Тем самым облегчается последующее введение эндотрахеальной трубки. В этом заключается отличие от известных устройств, в которых поиск голосовой щели и ее идентификацию проводят посредством дорогостоящего механизма, встроенного непосредственно в сам волоконно-оптический кабель, причем для указанного кабеля предусмотрена возможность изгибания его дистального конца только в одной плоскости.
Как наилучшим образом показано на фиг.2С, кроме своего центрального внутреннего канала 215, воздуховодная трубка 210 имеет также паз 219. Этот паз выполнен в стенке воздуховодной трубки 210, причем с наружной стороны, и с внутренним каналом 215 не сообщается. В нем помещается часть оптоволоконного жгута 310. Как показано на фиг.2В, паз 219 пролегает от участка 330 на воздуховодной трубке до направляющего выступа 240. Участок 330 находится около места соединения рукоятки 280 с воздуховодной трубкой 210 и смещен в сторону дистального конца этой трубки. Как отмечалось выше, оптоволоконный жгут 310 ограничен своим проксимальным концом 312 и положением линзы 314. У оптоволоконного жгута 310 имеются свободный отрезок, начинающийся у проксимального конца 312 и проходящий через отверстие 282, выполненное в рукоятке 280, до участка 330, и “защищенный” отрезок – от участка 330 до линзы 314.
Как наилучшим образом показано на фиг.2А и 2D, пластинка 250, приподнимающая надгортанник, имеет форму лопасти и на своем дистальном конце 254 снабжена отверстием 256. В исходной позиции пластинки 250 (когда манжета 234 надута, а на пластинку не воздействуют какие-либо внешние усилия) линза 314 волоконно-оптической системы 300 совмещена с отверстием 256, т.е. пластинка 250 не препятствует обзору, проводимому посредством линзы.
На фиг.2С верхняя точка воздуховодной трубки 210 обозначена, как 340. В данной точке при введении маски трубка будет контактировать с верхними зубами пациента. Как показано на фиг.2С, на участке 330 воздуховодной трубки паз 219 смещен от точки 340, чтобы зубы пациента не контактировали с оптоволоконным жгутом 310 и не повредили его. Хотя на участке 330 паз 219 смещен относительно верхней точки, далее по длине трубки по направлению к корпусу маски он занимает более центральное положение. В результате линза 314 на дистальном конце оптоволоконного жгута расположена соосно с отверстием 256 в пластинке 250, приподнимающей надгортанник (см. фиг.2А и 2D).
Оптоволоконный жгут 310 обычно содержит два пучка оптических волокон. Первый из них переносит свет от проксимального конца 312 к линзе, чтобы осветить анатомию пациента. Другой пучок переносит свет, воспринятый линзой 314, обратно к проксимальному концу жгута, обеспечивая просмотр анатомии. В проиллюстрированном варианте осуществления изобретения оба пучка волокон проложены в одном и том же пазу 219. Однако следует иметь в виду, что воздуховодную трубку можно снабдить двумя пазами, и каждый пучок оптических волокон поместить в отдельный паз. В таких вариантах осуществления изобретения пазы могут совмещаться у направляющего выступа 240, так что оба пучка волокон и линза оказываются в единственной прорези, проходящей вдоль выступа.
Как наилучшим образом показано на фиг.2D, волоконно-оптический блок 300 содержит также кольцо 360. Оно расположено напротив дистального конца направляющего выступа 240 и вмещает в себя дистальный участок оптоволоконного жгута 310 и линзу 314. Данное кольцо можно изготовить в виде составной части несущей пластины корпуса 230 маски. Корпус 230, состоящий из куполообразной несущей пластины 232, направляющего выступа 240, кольца 360 и манжеты 234, можно сформировать, например, посредством литья под давлением в виде единственной монолитной детали.
На фиг.3 показана эндотрахеальная трубка 195, введенная через ларингеальную маску 200. Одна из полезных функций кольца 360 заключается в том, что оно в любой ситуации гарантирует пространственное разделение трубки 195 и линзы 314. Обычно поверхность указанной линзы образует четко выраженный прямой угол. Поэтому желательно отделить ее от трубки 195, чтобы обеспечить отсутствие контакта линзы с манжетой трубки 195, т.к. в результате такого контакта манжета может порваться. Возвращаясь к фиг.2D, следует отметить, что наличие кольца 360 гарантирует также, что линза 314 на расстояние В смещена от линии, продолжающей опорную поверхность 242. Значение В может составлять приблизительно 2 мм.
Кроме центрального отверстия, предназначенного для размещения линзы 314 и дистального конца оптоволоконного жгута 310, кольцо 360 снабжено также первой и второй канавками (соответственно 370 и 380), способствующими защите линзы. Перед введением эндотрахеальной трубки 195 через интубационную маску (см. фиг.3) на манжету трубки 195 часто наносят смазочный материал. Желательно предотвратить его попадание на линзу 314, что может воспрепятствовать просмотру через линзу. При введении трубки 195 через маску 200 весь смазочный материал, который мог бы соскоблиться с трубки, собирается в канавке 370. Тем самым предотвращается попадание указанного материала на линзу. Аналогичным образом, когда трубку 195 выводят через маску 200, весь соскабливаемый с трубки смазочный материал собирается в канавке 380, что также предотвращает его попадание на линзу. Желательность описанной защиты линзы 314 от смазочного материала, который мог бы отделиться от трубки при ее выведении, связана с тем, что иногда может возникнуть необходимость вывести одну эндотрахеальную трубку, а затем ввести другую.
Вертикальную кромку канавки 380 можно пространственно отделить от дистального конца кольца 360 примерно на 2,5 мм. Такую же кромку, образующую проксимальный конец канавки 370, можно пространственно отделить от дистального конца кольца 360 приблизительно на 5 мм. Глубина обеих канавок может составлять приблизительно 1,5 мм.
Формула изобретения
1. Воздуховодное устройство в виде ларингеальной маски, содержащее:
воздуховодную трубку, образующую между своими проксимальным концом и дистальным концом внутренний канал, выполненный с возможностью ввода в него эндотрахеальной трубки,
корпус маски, присоединенный к дистальному концу воздуховодной трубки, при этом корпус маски содержит надувную манжету, формирует отверстие, сообщающееся с внутренним каналом, и выполнен с возможностью введения через рот пациента в заданное конечное положение внутри пациента, а манжета способна, будучи надутой при заданном конечном положении корпуса маски, охватывать голосовую щель пациента, и
наблюдательный волоконно-оптический блок, обеспечивающий возможность дистанционного просмотра пользователем и имеющий проксимальный конец и дистальный конец, расположенный рядом с дистальным концом воздуховодной трубки,
причем корпус маски содержит пластинку, приподнимающую надгортанник и образующую диафрагму волоконно-оптического блока, при этом пластинка выполнена с возможностью находиться в исходной позиции и в открытой позиции, а волоконно-оптический блок обеспечивает обзор зоны, расположенной за диафрагмой, образованной пластиной.
2. Устройство по п.1, отличающееся тем, что волоконно-оптический блок содержит у своего дистального конца линзу, которая пространственно отделена от внутреннего канала для предотвращения контакта между линзой и эндотрахеальной трубкой, введенной во внутренний канал.
3. Устройство по любому из предшествующих пунктов, отличающееся тем, что корпус маски содержит несущую пластину, при этом на несущей пластине сформирован направляющий выступ, образующий опорную поверхность для поддержки эндотрахеальной трубки, введенной во внутренний канал.
4. Устройство по п.3, отличающееся тем, что в выступе выполнена прорезь, сквозь которую проложен оптоволоконный жгут волоконно-оптического блока.
5. Устройство по п.2, отличающееся тем, что содержит защитное средство для предотвращения контакта материала, отделившегося от эндотрахеальной трубки, с линзой.
6. Устройство по п.5, отличающееся тем, что защитное средство выполнено с возможностью предотвращения контакта материала, отделившегося от эндотрахеальной трубки при ее введении, с линзой.
7. Устройство по п.5, отличающееся тем, что защитное средство выполнено с возможностью предотвращения контакта материала, отделившегося от эндотрахеальной трубки при ее выведении, с линзой.
8. Устройство по любому из пп.5-7, отличающееся тем, что защитное средство содержит одну или более канавок, расположенных между линзой и внутренним каналом.
9. Устройство по п.8, отличающееся тем, что единственная или каждая канавка является интегральной частью несущей пластины.
10. Устройство по п.8, отличающееся тем, что единственная или каждая канавка сформирована на кольце, расположенном на несущей пластине, при этом линза волоконно-оптического блока проведена через отверстие в кольце.
РИСУНКИ
|
|