|
|
(21), (22) Заявка: 2007128971/14, 27.07.2007
(24) Дата начала отсчета срока действия патента:
27.07.2007
(46) Опубликовано: 20.12.2008
(56) Список документов, цитированных в отчете о поиске:
CN 1631350, 29.06.2005. RU 16997 U1, 10.03.2001. CN 2522065 Y, 27.11.2002. RU 2145834 С1, 27.02.2000. RU 2195917 С2, 10.01.2003.
Адрес для переписки:
432027, г.Ульяновск, Северный Венец, 32, ГОУ ВПО “Ульяновский государственный технический университет”, проректору по научной работе
|
(72) Автор(ы):
Белый Давид Михайлович (RU)
(73) Патентообладатель(и):
Государственное образовательное учреждение высшего профессионального образования “Ульяновский государственный технический университет” (RU)
|
(54) МАССАЖНЫЙ КОВРИК
(57) Реферат:
Изобретение относится к области медицины, а именно физиотерапии, магнитотерапии и лечебно-оздоровительным тренажерам. Массажный коврик выполнен из двух соединенных между собой слоев эластичной резины и имеет равномерно расположенные по всей рабочей поверхности массажные выступы и иглы. Коврик снабжен набором П-образных постоянных магнитов с углублениями в торцах коротких боковых стоек. Эластичные слои выполнены из магнитомягкой резины на основе полярного каучука СКН-40 с ферритовым наполнителем Ф1. Массажные выступы выполнены в виде размещенных поперек коврика между его слоями параллельно друг другу тонких ферромагнитных стержней, каждая пара которых расположена с противоположной полярностью полюсов на концах каждого стержня, при этом на выступающие по бокам из тела коврика концы каждой пары ферромагнитных стержней плотно надеты П-образные магниты. Технический результат – расширение функциональных возможностей устройства. 3 ил.
Изобретение относится к области медицины, а именно физиотерапии, магнитотерапии и лечебно-оздоровительным тренажерам.
Известно устройство для воздействия на организм человека магнитным полем, содержащее постоянные магниты различных полярностей с однополюсными наконечниками, расположенные по разные стороны от поверхности с размещенным на ней человеком /см. патент СССР на изобретение №751310, кл. А61N 1/42; А61В 5/10, 1979 [1]/.
Недостатками известного устройства при его значительной сложности являются ограниченные функциональные возможности вследствие невозможности одновременно с магнитотерапией воздействовать на организм человека путем приложения физических нагрузок к его телу, проводить механический массаж, иглотерапию, лечебную физкультуру и т.д.
Известно также устройство для магнитотерапии, выполненное в виде спортивного снаряда с размещенными на нем постоянными магнитами /см. патент РФ на изобретение №2162716, кл. А61N 2/06; В63В 21/00, 1996 [2]/.
Недостатками данного устройства также являются ограниченные функциональные возможности, что объясняется невозможностью наряду с магнитотерапией и физическими нагрузками осуществлять одновременный механический массаж и раздражающее воздействие на кожу.
Наиболее близким устройством того же назначения к заявленному изобретению по совокупности существенных признаков является массажный коврик из натуральной кожи, имеющий массажные выступы в виде равномерно расположенных по всей поверхности коврика узелков, образованных продольными полосками кожи, скрепленными петлевым соединением с поперечными полосками, закрепленными в специальных отверстиях коврика /см. патент РФ на полезную модель №59974, кл. А61Н 21/00, 2006 [3]/, и принятый за прототип.
Недостатками устройства-прототипа являются его ограниченные функциональные возможности вследствие невозможности им, наряду с механическим массажем и физическими воздействиями на организм человека, одновременно проводить магнитотерапию.
Сущность изобретения заключается в создании предельно простой конструкции массажного коврика как разновидности лечебно-оздоровительного спортивного тренажера, отличающейся высокой универсальностью, способностью проведения массажа, лечебной физкультуры, иглотерапии и, одновременно, эффективным магнитотерапевтическим воздействием на человеческий организм за счет использования специальных конструкций и магнитных материалов с особыми физическими свойствами.
Технический результат – расширение функциональных возможностей устройства.
Указанный технический результат при осуществлении изобретения достигается тем, что в известном массажном коврике, выполненном из плотной ткани и имеющем равномерно расположенные по поверхности массажные выступы, особенность заключается в том, что коврик состоит из двух соединенных между собой слоев эластичной магнитомягкой резины на основе полярного каучука СКН-40 с ферритовым наполнителем Ф1, одна из рабочих поверхностей которых изготовлена в виде многоигольчатого аппликатора, а массажные выступы выполнены в виде размещенных поперек коврика между его слоями периодически параллельно друг другу тонких ферромагнитных стержней, при этом коврик снабжен набором П-образных постоянных магнитов, каждый из которых плотно надет углублениями в торцах коротких боковых стоек на выступающие по бокам из тела коврика концы близрасположенной пары ферромагнитных стержней с противоположной полярностью полюсов на концах каждого стержня.
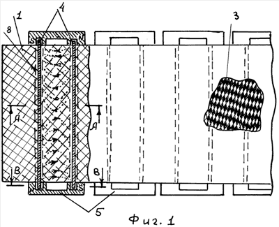
Сущность изобретения поясняется чертежами, где на фиг.1 схематично изображен предлагаемый коврик на общем виде; на фиг.2 и фиг.3 – соответственно раврезы по А-А и В-В на фиг.1.
Массажный коврик состоит из двух соединенных /склеенных/ между собой слоев 1 и 2 плотной ткани, выполненной в виде эластичной магнитомягкой резины на основе полярного каучука СКН-40 с ферритовым наполнителем Ф1, при этом рабочая поверхность одного из слоев 1 изготовлена в виде многоигольчатого аппликатора 3. Равномерно по всей поверхности коврика расположены массажные выступы 4, выполненные в виде размещенных поперек коврика между его слоями 1 и 2 периодически параллельно друг другу тонких ферромагнитных стержней 4. Кроме того, коврик снабжен набором П-образных постоянных магнитов 5 с короткими боковыми стойками 6. При этом каждый из магнитов 5 плотно надет углублениями /глухими отверстиями/ 7 в торцах боковых стоек 6 на выступающие по бокам коврика из его тела концы близрасположенной пары ферромагнитных стержней 4 с противоположной полярностью полюсов на концах каждого стержня 4. Для обеспечения заданной прочности слои 1 и 2 коврика прошиты /прострочены/ специальными швами 8 с обеих сторон каждого стержня 4 по всей ширине коврика. В нерабочем состоянии коврика постоянные магниты 5 сняты со стержней 4, и коврик свернут в рулон. В рабочем состоянии коврик разложен, магниты 5 плотно надеты своими глухими отверстиями 7 на выступающие с боков коврика концы стержней 4. Стержни 4 выполнены из ферромагнитного материала, то есть магнитомягкого материала со значительной магнитной проницаемостью /электротехнической стали Э41 либо Э310, или из железоникелевого сплава типа пермаллои/, выполняя функцию магнитопровода, при этом каждая пара постоянных магнитов 5, надетая на концы пары стержней 4, образует замкнутую четырехугольную магнитную систему, причем противоположная полярность полюсов магнитов 5 на концах каждого из стержней 4 обеспечивает однонаправленное замыкание магнитных силовых линий в каждой из таких магнитных систем. Выполнение всего тела коврика из слоев 1, 2 из слоев эластичной магнитной резины /магнитомягкой резины с высокой магнитной проницаемостью/ обеспечивает не просто кольцевое замыкание магнитных силовых линий по контуру каждой из магнитных систем, состоящих из двух магнитов 5 и двух стержней 4, а плавное равномерное замыкание силовых линий между каждой парой стержней 4 по телу коврика 1, 2 между стержнями /указанный характер распределения силовых линий в одной из магнитных систем показан точками на фиг.1/. В результате в комплексе данная конструкция обеспечивает практически равномерное распределение плотности магнитных силовых линий по всему телу коврика. Изготовление слоев 1 и 2 коврика из эластичной магнитомягкой резины на основе полярного каучука СКН-40 с ферритовым наполнителем Ф1 /см. книгу А.Г.Алексеева, Л.Е.Коренева. “Эластичные магнитные материалы”. М.: “Химия”, 1976 [4], стр.117-119/ обеспечивает максимальный предел прочности при сохранении высокой эластичности и высокой магнитной проницаемости, то есть оптимальное сочетание повышенных механических, магнитных и эксплуатационных характеристик коврика. Процесс изготовления таких магнитных резин /см. [4], стр.154-157/ либо методом шприцевания смеси вулканизацией, либо сжатием смеси в гидравлических прессах многократно серийно отработан, причем позволяет получить практически любую форму изделия, а также его поверхности, в том числе рабочую поверхность, покрытую многоигольчатым аппликатором 3.
Работа предлагаемого устройства осуществляется следующим образом.
Как уже было сказано выше, перед эксплуатацией коврик разворачивается и постоянные магниты 5 плотно надеваются на выступающие с боков коврика концы ферромагнитных стержней 4. При физических упражнениях человека на коврике кроме физических нагрузок и лечебной физкультуры за счет контакта тела человека с массажными выступами /стержнями 4/ осуществляется активный механический массаж тела. В случае необходимости при размещении коврика в положении с верхним рабочим слоем 1 /см. фиг.2/, покрытым многоигольчатым аппликатором 3, при физических упражнениях одновременно осуществляется и раздражающее воздействие на кожу человека, идентичное иглотерапии. Одновременно с этим за счет активного движения человека при его физических упражнениях в зоне силовых линий магнитного поля осуществляется процесс лечебной физкультуры вместе с магнитотерапией. В результате предлагаемое устройство, отличаясь предельной простотой, оказывает универсальное физиотерапевтическое воздействие и магнитотерапевтическое воздействие на организм человека, то есть характеризуется широкими функциональными возможностями и областями использования.
Формула изобретения
Массажный коврик, выполненный из двух соединенных между собой слоев эластичной резины и имеющий равномерно расположенные по всей рабочей поверхности массажные выступы и иглы, отличающийся тем, что он снабжен набором П-образных постоянных магнитов с углублениями в торцах коротких боковых стоек, а эластичные слои выполнены из магнитомягкой резины на основе полярного каучука СКН-40 с ферритовым наполнителем Ф1, массажные выступы выполнены в виде размещенных поперек коврика между его слоями параллельно друг другу тонких ферромагнитных стержней, каждая пара которых расположена с противоположной полярностью полюсов на концах каждого стержня, при этом на выступающие по бокам из тела коврика концы каждой пары ферромагнитных стержней плотно надеты П-образные магниты.
РИСУНКИ
|
|