|
|
(21), (22) Заявка: 2007107312/02, 26.02.2007
(24) Дата начала отсчета срока действия патента:
26.02.2007
(46) Опубликовано: 27.11.2008
(56) Список документов, цитированных в отчете о поиске:
RU 2228512 С2,10.05.2004. RU 2204111 С2, 10.05.2003. DE 2754420 A1, 13.06.1979. DE 3940595 A1, 13.06.1991. FR 2065676 А, 06.08.1971.
Адрес для переписки:
300001, г.Тула, Щегловская засека, ГУП “Конструкторское бюро приборостроения”
|
(72) Автор(ы):
Завальнюк Анатолий Гаврилович (RU), Козлов Владимир Иванович (RU), Колотилин Владимир Иванович (RU)
(73) Патентообладатель(и):
Государственное унитарное предприятие “Конструкторское бюро проборостроения” (RU)
|
(54) СПОСОБ ОТРАБОТКИ БОЕПРИПАСА И ПОЛИГОН ДЛЯ ЕГО РЕАЛИЗАЦИИ
(57) Реферат:
Изобретение относится к области испытаний, а конкретно к способам отработки боеприпасов. Технический результат – обеспечение возможности отработки боеприпасов на всей траектории полета за счет повышения точности регистрации параметров движения боеприпаса от пусковой установки до цели. Способ отработки боеприпаса включает его запуск и контроль параметров функционирования боеприпаса. Измеряют скорость боеприпаса в точке, расположенной на известном расстоянии от цели, определяют полетное время боеприпаса от этой точки до цели с учетом времени срабатывания боеприпаса на цели, определяемого по вспышке при его срабатывании на цели. Выполняют расчет длины траектории полета боеприпаса от точки до цели и по этим параметрам судят о функционировании боеприпаса. Полигон для отработки боеприпасов содержит пусковую установку, устройства для измерения скорости боеприпаса и цель. Полигон также снабжен регистрирующим комплексом, средством для начала отсчета полетного времени, установленным в точке, где боеприпас имеет скорость, равную измеряемой устройствами для измерения скорости боеприпаса, и фотоприемным устройством с прицелом, предназначенным для наведения его на цель и установленным на дальности прямой видимости от цели. 2 ил.
Изобретение относится к области испытаний, а конкретно к способам отработки боеприпасов.
Известен способ определения времени полета ракеты (аналог предлагаемого изобретения), включающий запуск ракеты, ее полет до касания земли (цели) и отсчет времени от первого движения ракеты на пусковой установке до момента касания земли (см. П.Эльштейн «Конструктору моделей ракет», М. «Мир», 1978 г., стр.223-224).
По способу время полета измеряется двумя хронометристами с секундомерами или другими устройствами для отсчета времени, имеющими точность не менее 0,2 с. Полное время полета отсчитывается от первого движения ракеты на пусковой установке до момента ее касания земли. Считается, что ракета закончила полет, если она коснулась поверхности земли, встретилась с препятствием, которое определенно прекратило ее полет, или вышла из поля зрения хронометристов.
Регистрируемое время определяется, как среднее между замерами двух хронометристов, округляемое до ближайшего целого числа секунд.
Недостатком известного способа является большая погрешность определения времени полета ракеты, и он применим при испытаниях малоскоростных ракет (моделей), где не требуется высокая точность. При отработке боеприпасов, скорость которых намного выше, а время полета равно секундам, человек с помощью секундомера не в состоянии точно определить его длительность.
Известен способ испытаний минометного выстрела (прототип предлагаемого изобретения, см. МПК8 F42B 35/00, патент РФ №2228512, заявка №2002118667 от 10.07.2002 г.), включающий закрепление минометного ствола на опоре, заряжание в ствол снаряда с метательным зарядом, стрельбу (запуск боеприпаса) и контроль параметров функционирования снаряда и метательного заряда. В способе дополнительно контролируют закон изменения давления в каморе ствола миномета и функционирование узлов и элементов снаряда на начальном участке траектории, после проведения контрольных операций осуществляют улавливание снаряда и его элементов, при этом в качестве опоры ствола используют ствол орудия.
Реализация способа испытаний осуществляется с помощью устройства для испытаний минометного выстрела, включающего ствол миномета, опору, узел крепления ствола на опоре, ударно-спусковой механизм, что является пусковой установкой, и систему контроля параметров в виде датчика давления, установленного на каморе ствола миномета, и средств измерений параметров снаряда, размещенных вдоль и по траектории начального участка его движения, в том числе блокирующие устройства в виде рам-мишеней или соленоидных блокировок для определения скорости снаряда. При этом на траектории по направлению движения снаряда установлен уловитель (цель) снаряда и его элементов. При запуске снаряда подается электрический импульс на пирозапал ударно-спускового механизма, при этом происходит воспламенение заряда и снаряд выталкивается из ствола. При выстреле контролируется давление в каморе ствола, скорость и положение снаряда и его элементов во время движения.
Изобретение обеспечивает возможность натурной стрельбы в условиях ограниченного пространства стрельбовых трасс испытательной станции и повышение качества и эффективности отработки снарядов только на начальном участке траектории и представляет собой полигон малого размера, что решает вопросы отработки боеприпасов на начальном участке траектории (возмущение при выходе боеприпаса из пусковой установки, раскрытие стабилизаторов и др.). Так как начальный участок составляет незначительную часть всей траектории полета боеприпаса, то оценить полностью его работоспособность не представляется возможным.
Задачей, на решение которой направлено предлагаемое изобретение, является обеспечение возможности отработки боеприпасов на всей траектории полета за счет повышения точности регистрации параметров движения боеприпаса от пусковой установки до цели.
Решение поставленной задачи достигается тем, что в способе отработки боеприпаса, включающем его запуск и контроль параметров функционирования боеприпаса, измеряют скорость боеприпаса в точке, расположенной на известном расстоянии от цели, определяют полетное время боеприпаса от этой точки до цели с учетом времени срабатывания боеприпаса на цели, определяемого по вспышке при его срабатывании на цели, выполняют расчет длины траектории полета боеприпаса от точки до цели и по этим параметрам судят о функционировании боеприпаса.
Реализация способа осуществляется на полигоне для отработки боеприпасов, содержащем пусковую установку, устройства для измерения скорости боеприпаса и цель. При этом полигон снабжен регистрирующим комплексом, средством для начала отсчета полетного времени, установленным в точке, где боеприпас имеет скорость, равную измеряемой устройствами для измерения скорости боеприпаса, и фотоприемным устройством с прицелом, предназначенным для наведения его на цель, и установленным на дальности прямой видимости от цели, при этом устройства для измерения скорости боеприпаса, фотоприемное устройство и средство для начала отсчета полетного времени электрически связаны с регистрирующим комплексом, синхронизированным с запуском боеприпаса.
Регистрация скорости боеприпаса в точке, расположенной на известном расстоянии от цели, и полетного времени боеприпаса от этой точки до цели позволяет определить падение его скорости на траектории, а расчет длины реальной траектории боеприпаса повышает точность определения падения его скорости и, следовательно, точность определения параметров боеприпаса, в том числе и коэффициента лобового аэродинамического сопротивления.
Размещение на полигоне устройства для начала отсчета полетного времени позволяет определить момент пролета боеприпасом точки, в которой он имеет измеренную скорость.
Фотоприемное устройство позволяет получить отметку времени при срабатывании боеприпаса на цели, а так как момент времени пролета боеприпаса через устройство для начала отсчета полетного времени и момент времени срабатывания его на цели фиксируются единым регистрирующим комплексом, то полетное время боеприпаса определяется с высокой точностью.
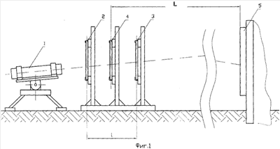
Предлагаемое изобретение поясняется чертежами, где показаны:
на Фиг.1 – полигон, на котором реализован способ отработки боеприпасов (вид сбоку);
на Фиг.2 – полигон, вид сверху.
Полигон, на котором реализован способ отработки боеприпасов, включает пусковую установку 1, два устройства 2 и 3 (соленоидные, фотоэлектрические или другие устройства), размещенные на расстоянии l (измерительная база) друг от друга для измерения на измерительной базе скорости боеприпаса, и устройство 4 для начала отсчета полетного времени, установленное посередине, между устройствами 2 и 3. На достаточном для отработки боеприпаса расстоянии L от пусковой установки (расстояние, на котором происходит функционирование всех узлов и элементов боеприпаса в соответствии с циклограммой работы) размещена цель 5. В районе пусковой установки 1 установлено фотоприемное устройство (ФПУ) 6, выполненное в виде фотоприемника (ФП) 7 с усилителем (не показан), установленного в трубе 8. ФПУ оборудовано прицелом. В качестве прицела использована трубка холодной пристрелки 9 (ТХП), установленная с помощью оправки 10 в трубу 8. Устройства 2, 3, 4 и ФПУ 6 электрически связаны с единым регистрирующим комплексом (не показан), синхронизированным с запуском боеприпаса.
При работе на полигоне выполняются следующие операции:
– наведение пусковой установки 1 на цель 5 по горизонтали и вертикали с учетом угла превышения для учета проседания боеприпаса, которое зависит от его начальной скорости и расстояния до цели (полетного времени);
– наведение ФПУ 6 на цель с помощью ТХП 9;
– извлечение оправки 10 с ТХП 9 из трубы 8 ФПУ 6;
– подключение устройств 2, 3, 4 и ФПУ 6 к регистрирующему комплексу;
– включение регистрирующего комплекса;
– запуск боеприпаса;
– регистрация параметров и их обработка.
Боеприпас пролетает через устройства 2, 3 и 4, которые на регистрирующем комплексе дадут три отметки. Отметки с устройств 2 и 3 используются для расчета скорости боеприпаса. Отметка с устройства 4 является началом отсчета полетного времени. Вторую отметку полетного времени боеприпаса даст ФП 7 при срабатывании его на цели 5. После эксперимента проводится обработка полученных данных. По отметкам, полученным с устройств 2 и 3, определяется время пролета боеприпаса между ними, затем длина измерительной базы l делится на это время, что дает среднюю скорость боеприпаса на базе l, которую он имеет посередине между устройствами 2 и 3, где установлено устройство 4. При вычислении скорости боеприпаса, измеренной в средней точке участка (измерительной базы l), делается общепринятое (зафиксированное стандартами) допущение, что боеприпас на этом участке движется равнозамедленно. По отметкам с устройства 4 и ФПУ 6 определяется полетное время боеприпаса от устройства 4 до цели. Далее проводится расчет длины реальной траектории боеприпаса с учетом начальной скорости, угла превышения установки и расстояния от устройства 4 до цели 5. По скорости боеприпаса, зафиксированной в месте установки устройства 4, длине расчетной траектории и полетному времени судят о функционировании боеприпаса. Изготавливая различные варианты боеприпасов и проводя их испытания, можно выбрать оптимальную конструкцию, то есть целенаправленно вести отработку.
Предлагаемое изобретение может быть использовано для контроля качества серийно изготавливаемой продукции. Так при приемке неуправляемых боеприпасов на кучность и меткость значение начальной скорости и полетного времени, измеренное с высокой точностью, позволяет судить о стабильности проверяемой продукции.
Формула изобретения
1. Способ отработки боеприпаса, включающий его запуск и контроль параметров функционирования боеприпаса, отличающийся тем, что измеряют скорость боеприпаса в точке, расположенной на известном расстоянии от цели, определяют полетное время боеприпаса от этой точки до цели с учетом времени срабатывания боеприпаса на цели, определяемого по вспышке при его срабатывании на цели, выполняют расчет длины траектории полета боеприпаса от точки до цели и по этим параметрам судят о функционировании боеприпаса.
2. Полигон для отработки боеприпасов, содержащий пусковую установку, устройства для измерения скорости боеприпаса и цель, отличающийся тем, что он снабжен регистрирующим комплексом, средством для начала отсчета полетного времени, установленным в точке, где боеприпас имеет скорость, равную измеряемой устройствами для измерения скорости боеприпаса, и фотоприемным устройством с прицелом, предназначенным для наведения его на цель и установленным на дальности прямой видимости от цели, при этом устройства для измерения скорости боеприпаса, фотоприемное устройство и средство для начала отсчета полетного времени электрически связаны с регистрирующим комплексом, синхронизированным с запуском боеприпаса.
РИСУНКИ
|
|