|
|
(21), (22) Заявка: 2006112897/02, 19.04.2006
(24) Дата начала отсчета срока действия патента:
19.04.2006
(43) Дата публикации заявки: 10.11.2007
(46) Опубликовано: 27.11.2008
(56) Список документов, цитированных в отчете о поиске:
US 5661254 А, 26.08.1997. RU 2257531 С1, 27.07.2005. RU 2204108 С1, 10.05.2003. RU 2127861 C1, 20.03.1999.
Адрес для переписки:
105005, Москва, Госпитальный пер., 10, ГОУ ВПО “МГТУ имени Н.Э. Баумана”, ректору И.Б.Федорову
|
(72) Автор(ы):
Одинцов Владимир Алексеевич (RU)
(73) Патентообладатель(и):
Государственное образовательное учреждение высшего профессионального образования “Московский государственный технический университет имени Н.Э.Баумана” (ГОУ ВПО “МГТУ им.Н.Э.Баумана”) (RU)
|
(54) СИСТЕМА САМООБОРОНЫ ТРАНСПОРТНОГО СРЕДСТВА “ИНРОГ”
(57) Реферат:
Изобретение относится к системам самообороны транспортного средства. Система содержит пусковой контейнер со стволами с антиснарядами с боевой частью, установленный на вращающемся основании и снабженный механизмом вертикального наведения, радиолокационную станцию обнаружения и измерения траекторных параметров нападающего снаряда, систему прицеливания с приводом. Каждый антиснаряд содержит траекторный взрыватель временного или неконтактного типа, расположенный в его донной части с детонатором. Боевая часть содержит заряд взрывчатого вещества, на переднем торце которого расположен осколочный блок, выполненный в виде набора готовых поражающих элементов с формой, обеспечивающей их плотную укладку. В задней части антиснаряда – реактивный двигатель твердого топлива и раскрывающийся стабилизатор. Стволы пускового контейнера снабжены устройствами бесконтактного ввода установок электромагнитного сигнала во взрыватель, расположенными в плоскостях, проходящих через донные взрыватели антиснарядов. На внешней поверхности антиснарядов установлены приемники электромагнитного сигнала, изолированные от корпуса антиснаряда и соединенные с донными взрывателями. Обеспечивается надежная защита транспортного средства от снарядов. 13 з.п. ф-лы, 4 ил.
Изобретение относится к системам самообороны транспортных средств, преимущественно танков, против нападающих снарядов, преимущественно противотанковых управляемых ракет и противотанковых гранат. Как правило, эти системы содержат осколочный антиснаряд, выбрасываемый навстречу нападающему снаряду и поражающий его круговым или направленным осколочным полем. Эти системы также часто называют системами активной защиты (САЗ). Известны отечественные САЗ “Арена” (Коломенское КБ машиностроения), “Дрозд” (Тульское КБ приборостроения), SPATEM (французская фирма GIAT) и многие другие.
В качестве прототипа заявляемого изобретения принята система самообороны по патенту №5661254 США, заявленная германской фирмой “Diehl” 21.01.97. В отличие от САЗ “Арена” она обеспечивает перехват нападающих снарядов на больших расстояниях. Срыв атаки может быть достигнут одним из двух способов:
– поражением системы управления, приводящим к пролету снаряда мимо цели (применим для всех видов боевых частей);
– поражением (разрушением) боевой части (применим для кумулятивных БЧ).
В системах ближнего перехвата возможен только второй способ, т.к. повреждение системы управления на малых дальностях от защищаемого объекта не приводит в промаху. Между тем, в настоящее время интенсивно разрабатываются управляемые снаряды с бронебойными сердечниками, например танковый снаряд X-ROD США, которые могут поражаться только первым способом, что, в свою очередь, требует большой дальности перехвата.
Система самообороны содержит пусковой контейнер с антиснарядами, установленный на вращающемся основании и снабженный механизмом вертикального наведения, радиолокационную станцию обнаружения и измерения траекторных параметров нападающего снаряда, систему прицеливания с приводом, а антиснаряды содержат головной траекторный взрыватель временного или неконтактного типа, осколочную боевую часть, содержащую заряд взрывчатого вещества (ВВ), осколочный блок, расположенный между головным взрывателем и зарядом ВВ и донный детонатор, а в задней части – реактивный двигатель твердого топлива и раскрывающийся стабилизатор.
Основным недостатком системы является расположение траекторного взрывателя снаряда впереди осколочного блока, и, как следствие, снижение эффективности действия. Как показано в ряде работ (см. например, статью В.А.Одинцова “Направленные осколочные потоки”, “Техника и вооружение”, №9, 2000 г., стр.26), расположение взрывателя впереди блока приводит, с одной стороны, к снижению скорости метания за счет увеличения суммарной метаемой массы, а с другой – к расстройству осевого потока с потерей значительной части готовых поражающих элементов.
Другим, менее существенным недостатком конструкции антиснаряда является размещение перьевого стабилизатора внутри корпуса снаряда, что приводит к уменьшению объема реактивного двигателя, а, следовательно, и к уменьшению сообщаемой им скорости. Невысокая скорость разгона антиснаряда будет дополнительно обусловлена отсутствием в системе метательного порохового заряда в стволе (так называемого “активного” заряда). Осколочный блок выполнен насыпным из сферических готовых поражающих элементов (ГПЭ), что приводит к сильной пластической деформации ГПЭ при взрывном нагружении, значительным затратам энергии на эту деформацию и, как следствие, к снижению скорости ГПЭ. Следует также отметить, что в описании не оговорен способ ввода установки в головной взрыватель.
Настоящее изобретение направлено на устранение указанных недостатков. Техническое решение состоит в том, что:
– взрыватель антиснаряда переносится в его донную часть и объединяется с детонатором;
– перьевой стабилизатор с плоскими перьями, утопленными в корпусе снаряда, заменяется стабилизатором, содержащим лопасти стабилизаторов, выполненные в виде частей цилиндрической поверхности, оси вращения которых расположены по образующим корпуса;
– в задней части антиснаряда расположен метательный пороховой заряд со средством воспламенения;
– готовые поражающие элементы осколочного блока выполнены в форме, обеспечивающей их плотную укладку, например, в форме куба или шестигранной призмы;
– стволы пускового контейнера снабжены устройствами бесконтактного ввода установок, например индукторами, расположенными в плоскостях, проходящих через донные взрыватели антиснарядов, а на внешней поверхности антиснарядов установлены приемники электромагнитного сигнала, изолированные от корпуса антиснаряда и соединенные с донными взрывателями.
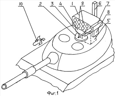
Изобретение иллюстрируется чертежами: фиг.1 – система самообороны, установленная на танке; фиг.2 – продольное сечение ствола пускового контейнера с размещенным в нем антиснарядом; фиг.3 – общая схема антиснаряда; 4 – схема действия системы самообороны.
Общая компоновка системы самообороны танка показана на фиг.1. Система содержит пусковой контейнер 1, установленный на вращающемся основании 2 и снабженный механизмом вертикального наведения 3 и, в общем случае, тормозом отказа и накатником (показаны единым блоком 4), радиолокационную станцию 5 обнаружения и измерения траекторных параметров нападающего снаряда с антенной 6, систему прицеливания с приводом.
На схеме фиг.1 пусковой контейнер установлен на башне танка в едином блоке с крупнокалиберным зенитным пулеметом 7 и его магазином 8. Предусмотрены и другие варианты размещения пускового контейнера и пулемета. Пусковой контейнер выполнен в виде набора стволов 9 (фиг.2), содержащих антиснаряды 10 (на фиг.1 показан после вылета из контейнера). Стволы имеют закрытый задний торец. В задней части каждого ствола расположен метательный (стартовый) пороховой заряд 11, установленный либо на заднем торце антиснаряда, либо в задней части ствола со средством воспламенения 12. На поверхности стволов установлены индукторы, например, в виде индуктивных катушек 13, при этом индукторы расположены в плоскостях, проходящих через взрыватели антиснарядов.
Антиснаряд, представленный на фиг.3, содержит головной колпак 14, корпус 15 с зарядом ВВ 16 и донным траекторным электронным взрывателем 17 с детонатором 18. К переднему торцу заряда ВВ примыкает осколочный блок 19. На внешней поверхности антиснаряда установлен приемник электромагнитного сигнала 20, изолированный от корпуса антиснаряда и соединенный с взрывателем.
В задней части антиснаряда установлен реактивный двигатель твердого топлива 21 и раскрывающийся стабилизатор 22, лопасти которого выполнены в виде частей цилиндрической поверхности, оси вращения которых расположены по образующим корпуса. Метательный (стартовый) пороховой заряд 11 со средством воспламенения 12 в данном варианте исполнения установлен в кольцевом пространстве между двигателем и корпусом антиснаряда. Осколочный блок антиснаряда выполнен в виде однослойного или многослойного набора готовых поражающих элементов (ГПЭ), изготовленных из стали или тяжелых сплавов на основе вольфрама или тантала, в форме, обеспечивающей их плотную укладку в блоке, например, в форме куба или шестигранной призмы.
Для реализации стрельбы с ударным разрывом взрыватель антиснаряда может быть оснащен механизмом контактного (ударного) действия. При этом часть корпуса, находящаяся в контакте с зарядом взрывчатого вещества, может быть выполнена с заданным дроблением или содержать готовые поражающие элементы.
Действие системы (фиг.4) происходит следующим образом. Радиолокационная станция обнаруживает нападающий снаряд и измеряет его траекторные параметры, система прицеливания наводит пусковой контейнер на нападающий снаряд и определяет момент запуска антиснаряда, а в случае применения временного взрывателя вводит в него временную установку. Выброс антиснаряда из ствола пускового контейнера производится пороховым метательным зарядом. Закрытая схема ствола позволяет получить достаточно высокую начальную скорость. Поглощение отдачи производится тормозом отката. Дальнейший разгон антиснаряда производится его реактивным двигателем.
Подрыв антиснаряда на заданном расстоянии U от атакующего снаряда может быть реализован либо с помощью неконтактного взрывателя типа дальномер, либо с помощью временного взрывателя. Неконтактный взрыватель обеспечивает меньший разброс расстояния U, но он подвержен при настильной траектории воздействию сигналов, отраженных от поверхности земли, а с другой стороны – радиоэлектронному противодействию. Антиснаряд с временным взрывателем является более надежным. Оптимальная величина расстояния U рассчитывается по условию максимальной вероятности поражения антиснаряда пучком ГПЭ (см. В.А.Одинцов “Конструкции осевого действия”, изд-во МГТУ им. Баумана, 1995 г.).
Как уже указывалось выше, предлагаемая САЗ может включать в себя и зенитный пулемет танка, а при определенных условиях – и курсовой пулемет. Их действие синхронизируется специальной системой. При наиболее простой схеме зенитный пулемет жестко установлен на пусковом контейнере. Недостатком этой схемы является невозможность одновременной борьбы с нападающим снарядом и воздушной целью. В другом варианте пусковой контейнер и зенитный пулемет установлены на разных основаниях и имеют раздельные приводы.
Ниже приводится вариант расчетных характеристик системы:
| Общая масса, кг |
400 |
| Количество стволов |
8 |
| Калибр антиснаряда, мм |
80 |
| Масса антиснаряда, кг |
3,5 |
| Скорость в конце активного участка, м/с |
250 |
| Максимальная дальность перехвата, м |
300 |
| Масса блока ГПЭ, кг |
1,0 |
| Масса одного ГПЭ, г |
2 |
| Количество ГПЭ в блоке |
500 |
| Дальность подрыва от нападающего снаряда, м |
10 |
| Радиус поражаемого круга, м |
1,0 |
| Средняя плотность ГПЭ в поражаемом круге, 1/м2 |
160 |
| Площадь лобовой проекции нападающего снаряда |
|
| (ПТУР TOW США, диаметр 152 мм), м2 |
0,018 |
| Число ГПЭ, попадающих в лобовую площадь |
3 |
Система может быть также использована для борьбы с различными наземными танкоопасными целями, например, расчетами РПГ и т.п. При этом стрельба может вестись как с установкой на траекторный разрыв (действие осевого поля ГПЭ), так и с установкой на ударный разрыв (действие кругового поля осколков корпуса).
Преимущество системы самообороны, построенной на использовании осколочно-пучковых антиснарядов, будет проявляться особенно ярко при наличии в боекомплекте танковой пушки осколочно-пучковых снарядов (см. например, пат.№2018779 РФ, статью В.А.Одинцова “Новый снаряд для танков”, “Военный Парад”, ноябрь-декабрь 1996 г., стр.50), поскольку при этом может быть использована общая высокоточная система траекторного подрыва.
Формула изобретения
1. Система самообороны транспортного средства, содержащая пусковой контейнер со стволами с антиснарядами с боевой частью, установленный на вращающемся основании и снабженный механизмом вертикального наведения, радиолокационную станцию обнаружения и измерения траекторных параметров нападающего снаряда, систему прицеливания с приводом, отличающаяся тем, что каждый антиснаряд содержит траекторный взрыватель временного или неконтактного типа, расположенный в его донной части с детонатором, боевая часть содержит заряд взрывчатого вещества, на переднем торце которого расположен осколочный блок, выполненный в виде набора готовых поражающих элементов с формой, обеспечивающей их плотную укладку, в задней части антиснаряда – реактивный двигатель твердого топлива и раскрывающийся стабилизатор, а стволы пускового контейнера снабжены устройствами бесконтактного ввода установок электромагнитного сигнала во взрыватель, расположенными в плоскостях, проходящих через донные взрыватели антиснарядов, а на внешней поверхности антиснарядов установлены приемники электромагнитного сигнала, изолированные от корпуса антиснаряда и соединенные с донными взрывателями.
2. Система по п.1, отличающаяся тем, что осколочный блок антиснаряда выполнен в виде многослойного или однослойного набора готовых поражающих элементов, изготовленных из стали или тяжелых сплавов на основе вольфрама или тантала.
3. Система по п.2, отличающаяся тем, что готовые поражающие элементы выполнены в форме куба или шестигранной призмы.
4. Система по п.1, отличающаяся тем, что антиснаряд снабжен тонкостенным головным колпаком.
5. Система по п.1, отличающаяся тем, что пусковой контейнер выполнен в виде набора стволов, имеющих закрытый задний торец.
6. Система по п.5, отличающаяся тем, что в задней части ствола размещен метательный пороховой заряд со средством воспламенения.
7. Система по п.5, отличающаяся тем, что пусковой контейнер выполнен с тормозом отката и накатником.
8. Система по п.1, отличающаяся тем, что стволы пускового контейнера выполнены в виде набора труб, открытых с обеих сторон.
9. Система по любому из пп.5 или 8, отличающаяся тем, что устройства бесконтактного ввода установок электромагнитного сигнала во взрыватель выполнены в виде индукторов.
10. Система по п.1, отличающаяся тем, что пусковой контейнер с основанием расположен на крыше башни транспортного средства, преимущественно танка.
11. Система по п.1, отличающаяся тем, что пусковой контейнер выполнен в едином блоке с зенитным пулеметом.
12. Система по п.1, отличающаяся тем, что взрыватель антиснаряда дополнительно оснащен механизмом контактного действия.
13. Система по п.1, отличающаяся тем, что часть корпуса, находящаяся в контакте с зарядом взрывчатого вещества, выполнена с заданным дроблением или содержит готовые поражающие элементы.
14. Система по п.10, отличающаяся тем, что элементы в траекторном взрывателе временного типа антиснаряда одинаковые с системой траекторного подрыва снарядов танковой пушки.
РИСУНКИ
|
|