|
| На основании пункта 1 статьи 1366 части четвертой Гражданского кодекса Российской Федерации патентообладатель обязуется заключить договор об отчуждении патента на условиях, соответствующих установившейся практике, с любым гражданином Российской Федерации или российским юридическим лицом, кто первым изъявил такое желание и уведомил об этом патентообладателя и федеральный орган исполнительной власти по интеллектуальной собственности. |
|
(21), (22) Заявка: 2007108921/06, 13.03.2007
(24) Дата начала отсчета срока действия патента:
13.03.2007
(46) Опубликовано: 27.11.2008
(56) Список документов, цитированных в отчете о поиске:
SU 1368045 A1, 23.01.1988. SU 1599116 A1, 15.10.1990. SU 814474 A, 10.04.1981. RU 2084292 C1, 20.07.1997. SU 688771 A, 30.09.1979. DE 715339 А, 27.11.1941. SU 747236 А, 15.04.1989. SU 1373975 А2, 15.02.1988. GB 994109 A, 02.06.1965.
Адрес для переписки:
123458, Москва, ул. Твардовского, 11, кв.92, О.С. Кочетову
|
(72) Автор(ы):
Кочетов Олег Савельевич (RU), Кочетова Мария Олеговна (RU), Кочетов Сергей Савельевич (RU), Кочетов Сергей Сергеевич (RU), Костылева Анастасия Витальевна (RU), Боброва Екатерина Олеговна (RU)
(73) Патентообладатель(и):
Кочетов Олег Савельевич (RU)
|
(54) ФОРСУНКА ЦЕНТРОБЕЖНАЯ
(57) Реферат:
Изобретение относится к средствам распыливания жидкостей и растворов и может применяться в двигателестроении, химической и пищевой промышленности. Центробежная форсунка содержит корпус с камерой, в которой расположен шнек с винтовой внешней канавкой, причем в днище корпуса выполнено дроссельное отверстие, а в верхней части размещен штуцер с цилиндрическим отверстием, внутри шнека выполнено отверстие с винтовой нарезкой, а под шнеком расположена камера смешения. Камера смешения состоит из цилиндрической и конической частей, направление винтовой нарезки указанного отверстия либо противоположно, либо попутно направлению винтовой внешней канавки шнека, причем шнек жестко связан с Т-образной дроссельной шайбой, в торцевой цилиндрической части которой выполнены, по крайней мере, три дроссельных отверстия, а в жестко с ней связанной, осевой цилиндрической части – осевое дроссельное отверстие. Шнек форсунки выполнен из твердых материалов: или карбида вольфрама, или рубина, или сапфира. Изобретение позволяет повысить эффективность распыления. 1 з.п. ф-лы, 1 ил.
Изобретение относится к средствам распыливания жидкостей и растворов и может применяться в двигателестроении, химической и пищевой промышленности.
Известна центробежная форсунка, содержащая корпус с камерой, в которой расположен шнек с винтовой внешней канавкой, причем в днище корпуса выполнено дроссельное отверстие, а в верхней части размещен штуцер с цилиндрическим отверстием, внутри шнека выполнено отверстие с винтовой нарезкой, а под шнеком расположена камера смешения (см. а.с. СССР №1368045, МПК В05В 1/34, 1988).
Недостатком известной акустической форсунки является то, что она не обеспечивает высокой степени распыла.
Технический результат – повышение эффективности распыления.
Это достигается тем, что центробежная форсунка содержит корпус с камерой, в которой расположен шнек с винтовой внешней канавкой, причем в днище корпуса выполнено дроссельное отверстие, а в верхней части размещен штуцер с цилиндрическим отверстием, внутри шнека выполнено отверстие с винтовой нарезкой, а под шнеком расположена камера смешения. Согласно изобретению камера смешения состоит из цилиндрической и конической частей, направление винтовой нарезки указанного отверстия либо противоположно, либо попутно направлению винтовой внешней канавки шнека, причем шнек жестко связан с Т-образной дроссельной шайбой, в торцевой цилиндрической части которой выполнены, по крайней мере, три дроссельных отверстия, а в жестко с ней связанной, осевой цилиндрической части – осевое дроссельное отверстие. Шнек форсунки выполнен из твердых материалов: или карбида вольфрама, или рубина, или сапфира.
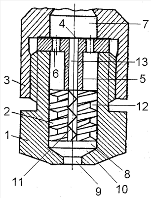
На чертеже изображена центробежная форсунки для распыливания жидкостей, общий вид.
Центробежная форсунка состоит из корпуса 1 с крышкой 3, внутри которого расположен шнек 2. Внешняя поверхность шнека 2 представляет собой винтовую канавку с правой (или левой) нарезкой. Внутри шнека 2 выполнено отверстие 11 с левой (или правой) винтовой нарезкой. В днище корпуса 1 выполнено дроссельное отверстие 9, ось которого совпадает с осью отверстия 11 в шнеке 2. Между нижним торцом шнека 2 и срезом дроссельного отверстия 9 расположена камера смешения, состоящая из цилиндрической 8 и конической 10 частей.
Шнек 2 жестко связан с Т-образной дроссельной шайбой 5, в торцевой цилиндрической части 4 которой выполнены, по крайней мере, три дроссельных отверстия 6, а в, жестко с ней связанной, осевой цилиндрической части – осевое дроссельное отверстие 13. Гидравлическое сопротивление дроссельных отверстий 6 и 13 подбирается в зависимости от свойств распыливаемой жидкости и требуемой степени ее распыла.
Подача жидкости (раствора) осуществляется через отверстие в штуцере 7, закрепленном в верхней части корпуса 1 через торцевую цилиндрическую часть 4 Т-образной дроссельной шайбы 5.
Центробежная форсунка для распыливания жидкостей работает следующим образом.
Жидкость подается по отверстию в штуцере 7 и через Т-образную дроссельную шайбу 5 поступает одновременно по двум направлениям: во-первых, в винтовую внешнюю полость 12 шнека 2 через дроссельные отверстия 6, во-вторых, в отверстие 11 с винтовой нарезкой через дроссельное отверстие 13. Вращающийся поток жидкости из винтовой внешней полости 12 шнека 2 поступает в камеру смешения, состоящую из цилиндрической 8 и конической 10 частей. С другой стороны, в камеру смешения поступает жидкость из отверстия 11 с винтовой нарезкой, совершая вращение в сторону, противоположную внешнему потоку, идущему по шнеку 2, либо совершая попутное (одинаковое) вращение. При взаимодействии вращающихся потоков в камере смешения происходит дополнительное дробление капель жидкости за счет их соударения в попутных или противоположно вращающихся потоках жидкости (внешнего и внутреннего). Суммарный мелкодисперсный вращающийся поток выходит через дроссельное отверстие 9, причем направление его вращения определяется гидравлическим сопротивлением внешней винтовой полости 12 или винтовой полости отверстия 11 шнека 2.
Шнек 2 форсунки может быть выполнен из твердых материалов: карбида вольфрама, рубина, сапфира. При среднем диаметре дроссельного отверстия 9, находящемся в диапазоне 2,5…3,5 мм, и давлении жидкости 6…9 МПа обеспечивается распыление от 400 до 1000 кг/ч жидкости. Форсунка проста в изготовлении и обслуживании.
Формула изобретения
1. Центробежная форсунка, содержащая корпус с камерой, в которой расположен шнек с винтовой внешней канавкой, причем в днище корпуса выполнено дроссельное отверстие, а в верхней части размещен штуцер с цилиндрическим отверстием, внутри шнека выполнено отверстие с винтовой нарезкой, а под шнеком расположена камера смешения, отличающаяся тем, что камера смешения состоит из цилиндрической и конической частей, направление винтовой нарезки указанного отверстия либо противоположно, либо попутно направлению винтовой внешней канавки шнека, причем шнек жестко связан с Т-образной дроссельной шайбой, в торцевой цилиндрической части которой выполнены, по крайней мере, три дроссельных отверстия, а в жестко с ней связанной осевой цилиндрической части – осевое дроссельное отверстие.
2. Центробежная форсунка по п.1, отличающаяся тем, что шнек форсунки выполнен из твердых материалов: или карбида вольфрама, или рубина, или сапфира.
РИСУНКИ
|
|