|
| На основании пункта 1 статьи 1366 части четвертой Гражданского кодекса Российской Федерации патентообладатель обязуется заключить договор об отчуждении патента на условиях, соответствующих установившейся практике, с любым гражданином Российской Федерации или российским юридическим лицом, кто первым изъявил такое желание и уведомил об этом патентообладателя и федеральный орган исполнительной власти по интеллектуальной собственности. |
|
(21), (22) Заявка: 2007108912/06, 13.03.2007
(24) Дата начала отсчета срока действия патента:
13.03.2007
(46) Опубликовано: 27.11.2008
(56) Список документов, цитированных в отчете о поиске:
SU 1368045 A1, 23.01.1988. SU 1599116 A1, 15.10.1990. SU 814474 A, 10.04.1981. RU 2084292 С1, 20.07.1997. SU 688771 А, 30.09.1979. DE 715339 A, 27.11.1941. SU 747236 А, 15.04.1989. SU 1373975 А2, 15.02.1988. GB 994109 А, 02.06.1965.
Адрес для переписки:
123458, Москва, ул. Твардовского, 11, кв.92, О.С. Кочетову
|
(72) Автор(ы):
Кочетов Олег Савельевич (RU), Кочетова Мария Олеговна (RU), Кочетов Сергей Савельевич (RU), Кочетов Сергей Сергеевич (RU), Костылева Анастасия Витальевна (RU), Боброва Екатерина Олеговна (RU)
(73) Патентообладатель(и):
Кочетов Олег Савельевич (RU)
|
(54) ЦЕНТРОБЕЖНАЯ ФОРСУНКА
(57) Реферат:
Изобретение относится к средствам распыливания жидкостей и растворов и может применяться в двигателестроении, химической и пищевой промышленности. Центробежная форсунка содержит корпус с камерой, в которую запрессован шнек, причем в днище корпуса выполнено дроссельное отверстие, а в верхней части размещен штуцер с цилиндрическим отверстием, внутри шнека выполнено отверстие с винтовой нарезкой, а над дроссельным отверстием расположена коническая камера смешения для формирования суммарного мелкодисперсного вращающегося потока. Штуцер снабжен диффузором и прокладкой, направление винтовой нарезки указанного отверстия либо совпадает, либо противоположно направлению внешней винтовой нарезки шнека, при этом шнек форсунки выполнен из твердых материалов: или карбида вольфрама, или рубина, или сапфира. Изобретение позволяет повысить эффективность распыления. 1 ил.
Изобретение относится к средствам распыливания жидкостей и растворов и может применяться в двигателестроении, химической и пищевой промышленности.
Известна центробежная форсунка, содержащая корпус с камерой, в которую запрессован шнек, причем в днище корпуса выполнено дроссельное отверстие, а в верхней части размещен штуцер с цилиндрическим отверстием, внутри шнека выполнено отверстие с винтовой нарезкой, а над дроссельным отверстием расположена коническая камера смешения для формирования суммарного мелкодисперсного вращающегося потока (см. а.с. СССР №1368045, МПК В05В 1/34, 1988).
Недостатком известной акустической форсунки является то, что она не обеспечивает высокой степени распыла.
Технический результат – повышение эффективности распыления.
Это достигается тем, что центробежная форсунка содержит корпус с камерой, в которую запрессован шнек, причем в днище корпуса выполнено дроссельное отверстие, а в верхней части размещен штуцер с цилиндрическим отверстием, внутри шнека выполнено отверстие с винтовой нарезкой, а над дроссельным отверстием расположена коническая камера смешения для формирования суммарного мелкодисперсного вращающегося потока. Согласно изобретению штуцер снабжен диффузором и прокладкой, направление винтовой нарезки указанного отверстия либо совпадает, либо противоположно направлению внешней винтовой нарезки шнека, при этом шнек форсунки выполнен из твердых материалов: или карбида вольфрама, или рубина, или сапфира.
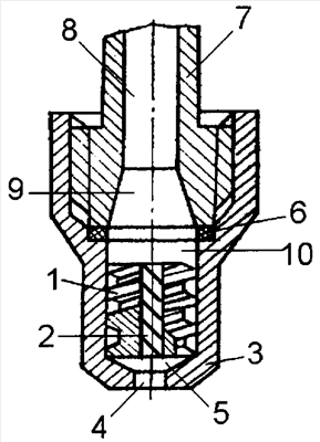
На чертеже изображена центробежная форсунки для распыливания жидкостей, общий вид.
Центробежная форсунка состоит из корпуса 3, внутри которого расположен шнек 1, запрессованный в корпус 3. Внешняя поверхность шнека 1 представляет собой винтовую канавку с правой (или левой) нарезкой. Внутри шнека 1 выполнено отверстие 2 с левой (или правой) винтовой нарезкой. В днище корпуса 3 выполнено дроссельное отверстие 4, ось которого совпадает с осью отверстия 2 в шнеке 1. Между нижним торцом шнека 1 и срезом дроссельного отверстия 4 расположена коническая камера смешения 5. Подача жидкости (раствора) осуществляется через штуцер 7, закрепленный в верхней части корпуса 3 через герметизирующую прокладку 6. Внутри штуцера 7 выполнено цилиндрическое отверстие 8, переходящее в диффузор 9, который соединен с цилиндрической камерой 10, выполненной в корпусе 3, в которую запрессован шнек 1.
Центробежная форсунка для распыливания жидкостей работает следующим образом.
Жидкость подается по цилиндрическому отверстию 8 в диффузор 9, а из него – в камеру 10, из которой под давлением поступает одновременно по двум направлениям: во-первых, в винтовую внешнюю полость шнека 1, и во-вторых, – в отверстие 2 с винтовой нарезкой. Вращающийся поток жидкости из винтовой внешней полости шнека 1 поступает в камеру смешения 5. С другой стороны, в камеру 5 поступает жидкость из отверстия 2 с винтовой нарезкой, совершая вращение в сторону, противоположную внешнему потоку, идущему по шнеку 1, либо совершая попутное (одинаковое) вращение. При взаимодействии вращающихся потоков в камере смешения 5 происходит дополнительное дробление капель жидкости за счет их соударения в попутных или противоположно вращающихся потоках жидкости (внешнего и внутреннего). Суммарный мелкодисперсный вращающийся поток выходит через дроссельное отверстие 4, причем направление его вращения определяется гидравлическим сопротивлением, соответственно, внешней или внутренней винтовых полостей и канавок шнека 1.
Шнек 1 форсунки может быть выполнен из твердых материалов: карбида вольфрама, рубина, сапфира.
При среднем диаметре дроссельного отверстия 4, находящемся в диапазоне 2,5…3,5 мм, и давлении подаваемой через цилиндрическое отверстие 8 жидкости под давлением 6…9 МПа обеспечивается распыление от 400 до 1000 кг/ч жидкости. Форсунка проста в изготовлении и обслуживании.
Формула изобретения
Центробежная форсунка, содержащая корпус с камерой, в которую запрессован шнек, причем в днище корпуса выполнено дроссельное отверстие, а в верхней части размещен штуцер с цилиндрическим отверстием, внутри шнека выполнено отверстие с винтовой нарезкой, а над дроссельным отверстием расположена коническая камера смешения для формирования суммарного мелкодисперсного вращающегося потока, отличающаяся тем, что штуцер снабжен диффузором и прокладкой, направление винтовой нарезки указанного отверстия либо совпадает, либо противоположно направлению внешней винтовой нарезки шнека, при этом шнек форсунки выполнен из твердых материалов: или карбида вольфрама, или рубина, или сапфира.
РИСУНКИ
|
|