|
|
(21), (22) Заявка: 2006136072/06, 11.10.2006
(24) Дата начала отсчета срока действия патента:
11.10.2006
(43) Дата публикации заявки: 20.04.2008
(46) Опубликовано: 27.11.2008
(56) Список документов, цитированных в отчете о поиске:
RU 2206822 C1, 16.10.1998. RU 2066811 C1, 20.09.1996. SU 1129460 A, 15.12.1984. SU 614285 A, 31.05.1978. EP 0971168 A, 12.01.2000. JP 2001025686 A, 30.01.2001.
Адрес для переписки:
347928, Ростовская обл., г. Таганрог, ул. Ленина, 220, ОАО ТКЗ “Красный котельщик”, Инженерный центр, отдел ОП и КП
|
(72) Автор(ы):
Сивцов Александр Иванович (RU)
(73) Патентообладатель(и):
Открытое акционерное общество “Таганрогский котлостроительный завод “Красный котельщик” (RU)
|
(54) ВПРЫСКИВАЮЩИЙ ПАРООХЛАДИТЕЛЬ
(57) Реферат:
Изобретение предназначено для охлаждения пара и может быть использовано в теплоэнергетике. Впрыскивающий пароохладитель содержит цилиндрический корпус, защитную рубашку, конусообразный патрубок, водоподводящую трубу, центробежную форсунку с цилиндрической внутренней полостью и донышком. Внутренняя цилиндрическая полость форсунки выполнена плавно переходящей в полусферическую полость, а внутренняя полость донышка выполнена также в виде полусферы. Изобретение обеспечивает повышение эксплуатационной надежности пароохладителя и энергоблока в целом. 2 ил.
Предлагаемое изобретение относится к области теплоэнергетики и, в частности, к конструкциям впрыскивающих пароохладителей, используемых в парогенераторах энергетических блоков для поддержания на расчетном уровне температуры пара.
Известен пароохладитель, содержащий участок паропровода с установленной внутри защитной рубашкой, водоподводящим устройством, выполненным в виде радиального штуцера с конусообразным донышком и внутренним цилиндрическим каналом, а также консольно прикрепленным к донышку водоподводящим насадком, насадок на всем протяжении выполнен прямолинейным, а внутренний канал штуцера выполнен по длине со ступенчатым изменением диаметра для размещения на насадке в зоне канала с большим диаметром радиальных ребер-ограничителей осевого перемещения насадка (см. патент RU 2206822, F22G 5/12, опубликованный 20.06.2003).
Недостатком этого пароохладителя является низкая эксплуатационная надежность.
Предлагаемым изобретением решается задача повышения эксплуатационной надежности пароохладителя и энергоблока в целом.
Для достижения указанного технического результата во впрыскивающем пароохладителе, содержащем цилиндрический корпус, защитную рубашку, конусообразный патрубок, водоподводящую трубу, центробежную форсунку с цилиндрической внутренней полостью и донышком; внутренняя цилиндрическая полость форсунки выполнена плавно переходящей в полусферическую полость, а внутренняя полость донышка выполнена также в виде полусферы.
Отличительными признаками предлагаемого впрыскивающего пароохладителя от указанного выше известного, наиболее близкого к нему, является то, что внутренняя цилиндрическая полость форсунки выполнена плавно переходящей в полусферическую полость, а внутренняя полость донышка выполнена также в виде полусферы.
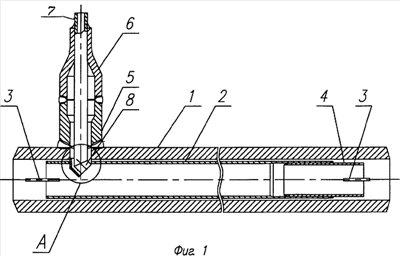
Предлагаемый впрыскивающий пароохладитель иллюстрируется чертежами, представленными на фиг.1-2.
На фиг.1 показан общий вид впрыскивающего пароохладителя.
На фиг.2 – узел А фиг.1.
Впрыскивающий пароохладитель (фиг.1) содержит цилиндрический корпус 1, выполненный из толстостенной трубы, защитную рубашку 2, выполненную из тонкостенной трубы и закрепленную на корпусе 1 с помощью пластин 3 с одной стороны и с другой стороны с помощью цилиндрической опоры 4, закрепленной на корпусе 1 также с помощью пластин 3; штуцер 5 с конусообразным патрубком 6 для ввода и закрепления водоподводящей трубы 7, на одном конце которой закреплена с помощью сварки втулка 8 с посадочным местом для центробежной форсунки, содержащей корпус 9 (фиг.2), изготовленный из эрозиостойкого металла путем последовательной наплавки его на углеродистый металл (на эскизе не показан) с последующей механической обработкой, в процессе которой остается венец 10 из этого металла, закрепляющий с помощью сварки корпус форсунки 9 на втулке 8. Корпус форсунки 9, имеет цилиндрическую внутреннюю полость 11, которая выполнена плавно переходящей в полусферическую полость 12, а донышко 13, изготовленное также из эрозиостойкого металла, соединяющееся с помощью сварки с корпусом форсунки 9, имеет полусферическую внутреннюю полость 14, тангенциальные каналы 15, соединяющие внутреннюю полость водоподводящей трубы 7 с внутренней полостью 11 центробежной форсунки, и сопло 16, размещенное на вершине полусферической полости 12 и соединяющее внутреннюю полость 11 центробежной форсунки с внутренней полостью защитной рубашки 2, защитный кожух 17.
Работа впрыскивающего пароохладителя осуществляется следующим образом.
Для приведения температуры пара на расчетный уровень вода по водоподводящей трубе 7 через тангенциальные каналы 15 подается во внутреннюю полость 11 центробежной форсунки. Получив круговое движение, вода через сопло 16 в мелкодисперсном состоянии поступает во внутреннюю полость защитной рубашки 2 и, перемешиваясь с паром, охлаждает его до расчетного уровня, при этом защитный кожух 17 предотвращает прямой контакт высокотемпературного пара с водоподводящей трубой 7, имеющей температуру впрыскиваемой воды, исключая тем самым термические напряжения и образование трещин в водоподводящей трубе 7, обеспечивая надежную работу пароохладителя и энергоблока в целом.
Формула изобретения
Впрыскивающий пароохладитель, содержащий цилиндрический корпус, защитную рубашку, конусообразный патрубок, водоподводящую трубу, центробежную форсунку с цилиндрической внутренней полостью и донышком, отличающийся тем, что внутренняя цилиндрическая полость форсунки выполнена плавно переходящей в полусферическую полость, а внутренняя полость донышка выполнена также в виде полусферы.
РИСУНКИ
|
|