|
|
(21), (22) Заявка: 2007118594/06, 10.05.2007
(24) Дата начала отсчета срока действия патента:
10.05.2007
(46) Опубликовано: 27.11.2008
(56) Список документов, цитированных в отчете о поиске:
SU 705131 A, 25.12.1979. SU 726391 A, 05.04.1980. RU 2176053 C1, 20.11.2001. RU 2088866 C1, 27.08.1997. SU 1229531 A1, 07.05.1986. RU 2092750 C1, 10.10.1997. GB 2103354 A, 16.02.1983. ТИТОВ В.А. Монтаж оборудования насосных и компрессорных станций. Недра, 1979, с.20, 47, 49.
Адрес для переписки:
191186, Санкт-Петербург, а/я 189, ООО “НПФ “ЭМ-ТУРБО”, М.И. Новикову
|
(72) Автор(ы):
Новиков Михаил Иванович (RU), Иванов Виктор Анатольевич (RU)
(73) Патентообладатель(и):
Новиков Михаил Иванович (RU), Иванов Виктор Анатольевич (RU)
|
(54) КОМПРЕССОРНАЯ СТАНЦИЯ ПОДГОТОВКИ ГАЗА ДЛЯ ПОДАЧИ ЕГО В МАГИСТРАЛЬНЫЙ ГАЗОПРОВОД
(57) Реферат:
Изобретение относится к области транспорта газа. Техническим результатом изобретения является повышение надежности магистральных газопроводов путем подачи в них компримированного газа пониженной температуры. На компрессорной станции подготовки газа для подачи его в магистральный газопровод, содержащей газоперекачивающие агрегаты, включающие центробежные нагнетатели с приводом от газотурбинных двигателей, теплообменные аппараты охлаждения газа, трубопроводы и запорные органы, в каждом из газоперекачивающих агрегатов на одном вале и в одном корпусе с центробежным нагнетателем, приводимом газотурбинным двигателем, установлен газотурборасширитель, причем выход теплообменного аппарата охлаждения газа, чей вход соединен с выходом нагнетателя, соединен с входом газотурборасширителя, выход которого соединен трубопроводом с магистральным газопроводом, при этом газоперекачивающие агрегаты с газотурборасширителем собраны попарно в блок-контейнерах с возможностью работы каждого из газоперекачивающих агрегатов одного блок-контейнера параллельно или последовательно. 3 ил.
Предлагаемое изобретение относится к области транспорта газа, в частности к компрессорным станциям подготовки газа, в том числе получаемого в результате переработки нефтяного попутного газа на газоперерабатывающих заводах, для подачи его в магистральные газопроводы.
Известен газоперекачивающий агрегат компрессорной станции магистрального газопровода, содержащий стационарный газотурбинный привод, центробежный нагнетатель, воздухоочистительное устройство, воздуховоды и газоходы, в котором газотурбинный привод выполнен в виде модульного блока с подачей в него воздуха для охлаждения газотурбинного привода и поддержания повышенного давления (см., например, пат. РФ №2200255, 7F04D 25/02; 2002104572/06, 26.02.2002).
Известна блочно-компрессорная газораспределительная станция с автономной системой питания электроэнергией, содержащая использующий высвобождающуюся в процессе расширения газа полезную энергию турбодетандер для привода генератора (см., например, пат. RU 2270395 С2, F17D 1/04, 2006.01).
Известна компрессорная станция газопровода для повышения давления природного газа в ходе его транспортировки, содержащая газоперекачивающие агрегаты, соединенные на входе технологическими трубопроводами обвязки с системой подготовки технологического газа и на выходе с установкой охлаждения технологического газа, выполненной в виде аппарата воздушного охлаждения, и через запорную арматуру и подводящий и отводящий трубопроводы с магистральным газопроводом (см., например, пат. 2277670, Россия, МПК F17D 1/07, №2004108954/06, 26.03.2004, опубл. 10.06.06).
Известна установка для охлаждения природного газа, содержащая расположенные на одном вале компрессор и турбодетандер и теплообменный аппарат охлаждения газа, вход (“по газу”) которого соединен с выходом компрессора, а выход с входом турбодетандера, чей выход соединен трубопроводом с магистральным газопроводом (см., например, SU 726391 А, F25B 11/00, 05.04.1980, 2 с.) – прототип.
Предлагаемое изобретение решает задачу повышения надежности магистральных трубопроводов для перекачки газа (газопроводов) путем подачи в них компримированного (сжатого) газа пониженной температуры с помощью блочных компрессорных станций с установленными на них газоперекачивающими агрегатами с газотурборасширителями.
Для достижения указанного технического результата на компрессорной станции, содержащей газоперекачивающие агрегаты, включающие центробежные нагнетатели с приводом от газотурбинных двигателей, теплообменные аппараты охлаждения газа, трубопроводы и запорные органы, согласно изобретению в каждом из газоперекачивающих агрегатов на одном вале и в одном корпусе с центробежным нагнетателем, приводимом газотурбинным двигателем, установлен газотурборасширитель, причем выход теплообменного аппарата охлаждения газа, чей вход соединен с выходом нагнетателя, соединен с входом газотурборасширителя, выход которого соединен трубопроводом с магистральным газопроводом, при этом газоперекачивающие агрегаты с газотурборасширителями собраны попарно в блок-контейнерах с возможностью работы каждого из газоперекачивающих агрегатов одного блок-контейнера параллельно или последовательно.
Отличительным признаком предлагаемого изобретения является то, что в каждом из газоперекачивающих агрегатов компрессорной станции на одном вале и в одном корпусе с центробежным нагнетателем, приводимом газотурбинным двигателем, установлен газотурборасширитель, причем выход теплообменного аппарата охлаждения газа, чей вход соединен с выходом нагнетателя, соединен с входом газотурборасширителя, выход которого соединен трубопроводом с магистральным газопроводом, при этом газоперекачивающие агрегаты с газотурборасширителями собраны попарно в блок-контейнерах с возможностью работы каждого из газоперекачивающих агрегатов одного блок-контейнера параллельно или последовательно.
Опыт эксплуатации различных газопроводов показывает необходимость поддержания минимально низкой (и по возможности постоянной) плюсовой температуры транспортируемого газа. Для вечномерзлых грунтов северных районов (где проложены многие магистральные газопроводы) оптимальным является поддержание даже отрицательной температуры транспортируемого газа, хотя из-за угрозы выпадения кристаллогидратов (твердых) углерода это и нежелательно (дополнительное загрязнение газопровода). Охлаждение газа (после сжатия в нагнетателе) традиционным способом (в теплообменных аппаратах воздушного охлаждения газа, установленных в настоящее время, как правило, на всех газотурбинных компрессорных станциях магистральных газопроводов) не позволяет значительно уменьшить температуру транспортируемого газа. Если температура окружающей среды +25° … +35°С (летом), то охладить газ после сжатия его в нагнетателе в аппарате воздушного охлаждения реально возможно только до температуры +35° … +45°С соответственно. Транспорт по трубопроводу газа с такой температурой приводит к снижению надежности и сокращению времени эксплуатации газопроводов (особенно в северных районах, с учетом наличия вечной мерзлоты). Поэтому, например, для подачи в магистральный газопровод низкого (40 кгс/см2) или высокого (76 кгс/см2) давления газа с газоперекачивающих заводов (ГПЗ) (как правило это сухой очищенный газ давлением 25…40 кгс/см2 и температурой +50°С) его необходимо дополнительно компримировать и охладить с помощью (дожимной) компрессорной станции (КС) с целью доведения параметров газа, полученного на выходе ГПЗ, до значений, необходимых для закачки в магистральный газопровод.
Предлагаемую компрессорную станцию подготовки газа для подачи его в магистральный газопровод можно проиллюстрировать с помощью чертежей фиг.1, фиг.2 и фиг.3, на которых схемно представлены газоперекачивающий агрегат с газотурборасширителем, компрессорная линия (“мини”-КС), состоящая из двух размещенных в блок-контейнере таких газоперекачивающих агрегатов, и компрессорная станция, состоящая из компрессорных линий.
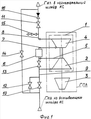
В газоперекачивающем агрегате (ГПА) с газотурборасширителем (газоперекачивающий агрегат с “непосредственным охлаждением” газа) (фиг.1) в одном корпусе 1 и на одном вале с центробежным нагнетателем (ЦН) 2, приводимом газотурбинным двигателем (ГТД) 3, выполнен газотурборасширитель (ГТР) 4. Выход нагнетателя 2 соединен трубопроводом 5 с входом теплообменного (например, воздушного) аппарата охлаждения (предварительного) газа (АВО) 6, а выход АВО6 трубопроводом 7 соединен с входом ГТР4, выход которого трубопроводом 8 соединен с нагнетательным шлейфом компрессорной станции (КС). Вход ЦН2 соединен трубопроводом 9 с всасывающим шлейфом КС. В трубопроводной обвязке ГПА выполнены запорные органы 10, 11, 12, 13, 14, 15, 16.
На фиг.2 представлена компрессорная линия (“мини”-КС), где газоперекачивающие агрегаты (ГПА) с газотурборасширителями 17 и 18 размещены в блок-контейнере (модуле) 19 (аппараты воздушного охлаждения газа (предварительного) 20 и 21 размещены вне блок-контейнера). В трубопроводной обвязке ГПА 17 и 18 установлены АВО 20 и 21 и запорные органы 22, 23, 24, 25, 26, 27, 28, 29. Трубопроводом 30 входы центробежных нагнетателей в ГПА 17 и 18 соединены с всасывающим шлейфом КС. Выходы газотурборасширителей ГПА 17 и 18 трубопроводом 31 соединены с нагнетательным шлейфом КС.
На фиг.3 схемно представлена компрессорная станция, на которой установлены компрессорные линии КЛ 32, 33, 34 и 35, обвязанные всасывающими и нагнетательными трубопроводами с запорными органами (позиции не указаны).
Газоперекачивающий агрегат с газотурборасширителем работает следующим образом (см. фиг.1). Газ, вышедший с ГПЗ, по трубопроводу 9 поступает на всас (вход) центробежного нагнетателя 2 ГПА. В ЦН2, приводимом ГТДЗ, газ компримируется (сжимается) до давления, значительно превышающего значение, необходимое для подачи его в магистральный газопровод. После ЦН2 по трубопроводу 5 газ поступает в АВО6, где происходит его охлаждение (предварительное), затем по трубопроводу 7 поступает на вход установленного в корпусе 1 ГТР4, в котором расширяется до давления, необходимого для закачки в газопровод, с совершением полезной работы при этом, отдаваемой валу нагнетателя 2, и понижением температуры газа. Из ГТР4 по трубопроводу 8 газ необходимых параметров поступает в магистральный газопровод низкого давления (например, 40 кгс/см2). С помощью запорных органов 10, 11, 12, 13, 14, 15, 16, установленных в трубопроводной обвязке ГПА, обеспечивают “подключение-отключение” ГПА к газопроводу и эксплуатацию ГПА.
При необходимости подачи газа в магистральный газопровод “высокого” давления (например, 76 кгс/см2) используют компрессорную линию КЛ, состоящую из двух ГПА 17 и 18, размещенных в блок-контейнере 19 (см. фиг.2). Газ, поступающий по коллектору всасывания 30 через открытый запорный орган (кран) 22 на вход (всас) ГПА 17, после компримирования в нем (с охлаждением в АВО20) через открытый запорный орган 24 поступает на вход ГПА 18. Запорные органы 23, 25, 26 и 28 при этом должны быть закрыты. После компримирования в ГПА 18 (с охлаждением в АВО21) газ через открытые органы 27 и 29 (обратный клапан) по нагнетательному трубопроводу 31 поступает в магистральный газопровод высокого давления. Возможно компримировать газ сначала в ГПА 18, а затем в ГПА 17. В этом случае должны быть открыты запорные органы 23, 25, 26, 28, а закрыты 22, 24, 27, 29. Возможна также работа ГПА 17 и 18 в “параллель”, для подачи в газопровод “низкого” давления большего количества газа ( двойной производительности ГПА). При этом запорные органы (краны) 24 и 25 закрыты, а 22, 23, 26, 27, 28, 29 открыты. Запорные органы (обратные клапаны) 28 и 29 предотвращают обратный поток газа.
При необходимости подачи в магистральный газопровод больших объемов газа КС выполняют в виде нескольких компрессорных линий КЛ (“мини”-КС), например четырех, 32, 33, 34, 35 (фиг.3), из которых одна (любая) – резервная. Запорные органы на всасывающих и нагнетательных трубопроводах “компрессорных линий” компрессорной станции позволяют использовать различные варианты подключения КЛ 32, 33, 34, 35 к магистральным газопроводам низкого или высокого давлений.
Предлагаемая компрессорная станция (укомплектованная ГПА с газотурборасширителями) может быть применена и при перекачке по магистральным газопроводам “обычного” природного газа.
Формула изобретения
Компрессорная станция подготовки газа для подачи его в магистральный газопровод, содержащая газоперекачивающие агрегаты, включающие центробежные нагнетатели с приводом от газотурбинных двигателей, теплообменные аппараты охлаждения газа, трубопроводы и запорные органы, отличающаяся тем, что в каждом из газоперекачивающих агрегатов на одном вале и в одном корпусе с центробежным нагнетателем, приводимом газотурбинным двигателем, установлен газотурборасширитель, причем выход теплообменного аппарата охлаждения газа, чей вход соединен с выходом нагнетателя, соединен с входом газотурборасширителя, выход которого соединен трубопроводом с магистральным газопроводом, при этом газоперекачивающие агрегаты с газотурборасширителем собраны попарно в блок-контейнерах с возможностью работы каждого из газоперекачивающих агрегатов одного блок-контейнера параллельно или последовательно.
РИСУНКИ
|
|