|
(21), (22) Заявка: 2007121950/06, 13.06.2007
(24) Дата начала отсчета срока действия патента:
13.06.2007
(30) Конвенционный приоритет:
14.06.2006 DE 202006009337.0
(46) Опубликовано: 27.11.2008
(56) Список документов, цитированных в отчете о поиске:
ЕР 0897788 А, 24.02.1999. RU 2028316 C1, 29.10.1995. RU 1128680 С1, 20.01.1995. DE 3530187 A, 05.03.1987. US 4605525 A, 12.08.1999.
Адрес для переписки:
103735, Москва, ул.Ильинка, 5/2, ООО “Союзпатент”, А.А.Силаевой
|
(72) Автор(ы):
РУДИ Роберто (CH), ШНАЙДЕР Роберт (CH), ДЕМУТ Роланд (CH)
(73) Патентообладатель(и):
БРУГГ РОР АГ, ХОЛДИНГ (CH)
|
(54) ВОДОПРОВОДНАЯ ТРУБА С ТЕПЛОИЗОЛЯЦИЕЙ
(57) Реферат:
Изобретение относится к области теплоизоляции труб. В водопроводной трубе с теплоизоляцией с по меньшей мере одной внутренней трубой, слоем теплоизоляции на базе полиуретановой пены, окружающим внутреннюю трубу, пленкой, окружающей слой теплоизоляции, а также гофрированной внешней трубой из термопластичного полимера, теплоизоляционный материал состоит из имеющей частично открытые поры полиуретановой пены с относительным удлинением при разрыве более 15%, между слоем теплоизоляции и пленкой имеется упруго деформируемый промежуточный слой из мягкой полимерной пены, который, по меньшей мере, склеен с пленкой и внешняя труба имеет гофрировку с глубиной гофра от 5/D до 12/D и расстояние между гофрами от 10/D до 25/D, где D – наружный диаметр внешней трубы, измеренный по вершине гофра. Техническим результатом изобретения является повышение гибкости трубы и ее теплоизоляционных свойств. 9 з.п. ф-лы, 1 ил.
Изобретение относится к водопроводной трубе с теплоизоляцией в соответствии с ограничительной частью пункта 1 формулы изобретения.
Из ЕР 0897788 В1 известна водопроводная труба с теплоизоляцией для применения в местных и дальних тепловых сетях в качестве трубопроводов для питьевой воды и канализационных трубопроводов, а также в многочисленных других специальных областях, которая состоит из внутренней трубы, выполненной из полимера, преимущественно из отвержденного полиэтилена, по которой идет среда, окружающего внутреннюю трубу теплоизоляционного слоя на основе полиуретановой пены, а также внешней оболочки из полимера, которая снабжена гофрировкой. Между теплоизоляционным слоем и внешней оболочкой дополнительно предусмотрена пленка из полимера.
Известная водопроводная труба хорошо изгибается и может доставляться на строительную площадку смотанной в кольца или намотанной на барабан. Благодаря хорошей гибкости водопроводная труба при прокладке может без проблем приспосабливаться почти ко всем условиям на местности.
У известной водопроводной трубы, которая продается на рынке под названием «Calpex», теплоизоляционный слой состоит из жесткой полиуретановой пены, которая придает водопроводной трубе выдающиеся теплоизоляционные свойства.
Недостатком этой водопроводной трубы является то, что радиус изгиба у нее относительно большой и, например, у самого малого типа трубы он ограничен 0,7 м.
Задачей настоящего изобретения является улучшение известной трубы в направлении возможности уменьшения радиуса изгиба без разрыва пленки, чтобы она могла изгибаться с меньшим радиусом без разрыва пленки. В частности, не должен значительно ухудшаться показатель теплоизоляции. Кроме этого не должна ухудшаться поперечная жесткость водопроводной трубы.
Это достигается тем, что в водопроводной трубе с теплоизоляцией с по меньшей мере одной внутренней трубой, слоем теплоизоляции на базе полиуретановой пены, окружающим внутреннюю трубу, пленкой, окружающей слой теплоизоляции, а также гофрированной внешней трубой из термопластичного полимера:
– теплоизоляционный материал состоит из имеющей частично открытые поры полиуретановой пены с относительным удлинением при разрыве более 15%;
– между слоем теплоизоляции и пленкой имеется упруго деформируемый промежуточный слой из мягкой полимерной пены, который по меньшей мере склеен с пленкой;
– внешняя труба имеет гофрировку с глубиной гофра от 5/D до 12/D и расстояние между гофрами от 10/D до 25/D, где D – наружный диаметр внешней трубы, измеренный по вершине гофра.
Кроме того, в предпочтительных вариантах выполнения изобретения в водопроводной трубе:
– промежуточный слой состоит из полиэтиленовой пены;
– промежуточный слой представляет собой экструдированный слой;
– промежуточный слой состоит из ленты вспененного материала, который способом продольной обкатки наложен на внутреннюю трубу или по винтовой линии намотан на внутреннюю трубу;
– отношение толщины теплоизоляционного слоя и промежуточного слоя лежит между 10 и 2;
– внутренняя труба или внутренние трубы состоят из отвержденного полиэтилена;
– внешняя труба состоит из полиэтилена высокой плотности;
– пленка непроницаема для воды, водяного пара и вспенивающих агентов;
– пленка представляет собой алюминиевую фольгу, которая по меньшей мере на одной стороне имеет сополимерный слой;
– пленка представляет собой полимерную пленку с вакуумной металлизацией.
Существенное преимущество изобретения следует усматривать в том, что с помощью простых средств удалось получить обладающую высокой гибкостью, снабженную теплоизоляцией водопроводную трубу, которая имеет высокие, теплоизоляционные свойства, которые лишь в незначительной степени отличаются от хороших теплоизоляционных свойств известной водопроводной трубы. Благодаря измененной величине гофрировки предложенная согласно изобретению водопроводная труба получает поперечную устойчивость, которая соответствует поперечной устойчивости известной водопроводной трубы, несмотря на то, что поскольку теплоизоляционный слой или промежуточный слой «мягче», чем слой полиуретановой пены у известной водопроводной трубы. «Мягкий» промежуточный слой, кроме того, имеет преимущество в том, что он служит в качестве подкладочного слоя для пленки, благодаря чему исключается разрыв пленки при изгибе водопроводной трубы.
Изобретение более подробно поясняется с помощью примера выполнения, представленного на чертеже.
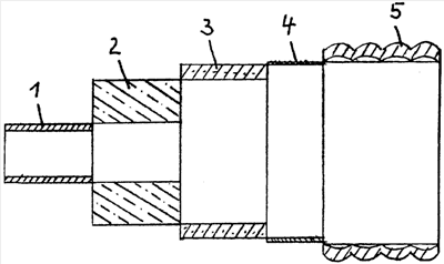
На чертеже показан вид сбоку водопроводной трубы, в соответствии с изобретением, на которой в виде уступов изображены отдельные элементы.
Позицией 1 обозначена внутренняя труба, которая служит для транспортировки среды. Внутренняя труба 1 состоит преимущественно из отвержденного полиэтилена. Внутри своей стенки или поверх ее она может иметь слой, блокирующий диффузию водяного пара. Слой, блокирующий диффузию, может быть представлен металлической фольгой или же подходящей полимерной пленкой. Вместо изображенной на фигуре отдельной внутренней трубы может быть предусмотрено две или несколько внутренних труб. Внутренняя труба 1 или внутренние трубы заключены в слой 2 теплоизоляции, который состоит из полиуретановой пены с частично открытыми порами. Примененная полиуретановая пена несколько мягче, чем полиуретановая пена, используемая в водопроводной трубе согласно уровню техники. Слой 2 теплоизоляции заключен в промежуточный слой 3, состоящий из упруго деформируемого вспененного материала. Предпочтительно – это полиэтиленовая пена. Может применяться также вспененный материал на базе полиуретана.
Промежуточный слой 3 может закрепляться на слое 2 теплоизоляции в форме ленты, а именно, или путем продольного надевания или путем намотки. Однако предпочтительным является нанесение промежуточного слоя 3 с помощью экструзии.
Над промежуточным слоем 3 находится пленка 4, которая служит в качестве слоя, блокирующего диффузию. Задачей фольги 4 является препятствовать попаданию водяного пара в промежуточный слой 3, соответственно слой 2, теплоизоляции. Кроме того, она должна препятствовать выходу вспенивающих агентов, находящихся в порах вспененного материала в слоях 2 и 3. Пленка 4 выполнена из препятствующего диффузии полимера, например EVOH, но может быть выполнена также из металла, например из алюминия, покрытого сополимером алюминия или полимерной пленки с вакуумной металлизацией. Применение металлосодержащей пленки 4 имеет дополнительное преимущество в том, что эффект теплоизоляции увеличивается благодаря уменьшению потерь на излучение.
Пленка 4 должна быть склеена по меньшей мере с одним из смежных слоев 3 или 5, чтобы препятствовать разрыву пленки 4 в случае изгиба. Промежуточный слой 3 дополнительно имеет задачу воспринимать радиальное растяжение внутренней трубы 1 и благодаря этому препятствовать повреждению пленки 4.
Внешняя труба 5 представляет собой полимерную трубу с кольцевой гофрировкой, которая преимущественно состоит из полиэтилена высокой плотности (HDPE). Изготовление внешней трубы 5 описано в ЕР 0897788. В отличие от известной внешней трубы гофрировка внешней трубы 5 выполнена таким образом, что может достигаться более высокая поперечная жесткость; и, следовательно, могут восприниматься более высокие транспортные нагрузки.
В отличие от известной водопроводной трубы, у которой теплоизоляционный слой состоит из жесткой полиуретановой пены, более мягкая пена у водопроводной трубы согласно изобретению не имеет такой высокого предела прочности при сжатии. В случае механической нагрузки, например, при изгибе или приложении силы, действующей в радиальном направлении, могло бы произойти уменьшение толщины стенки теплоизоляционного слоя, вследствие чего имели бы место увеличенные тепловые потери в месте силового воздействия.
С этой целью расстояние между гофрами меньше и глубина гофров больше, чем у известной водопроводной трубы.
Для слоя 2 теплоизоляции применяется полиуретановая пена со следующими свойствами:
Плотность 45-65 кг/м3;
Относительное удлинение при разрыве свыше 15%;
Предел прочности при сжатии от 50 до 100 кПа.
Промежуточный слой 3 состоит из полиэтиленовой пены, которая получается с помощью экструзии.
Ее свойства:
Плотность 20-40 кг/м3;
Относительное удлинение при разрыве >100%;
Предел прочности при сжатии 5-30 кПа.
Внешняя труба 5 имеет следующие показатели:
Толщина стенки 1,0-2,5 мм;
Расстояние между гофрами 10-25 мм;
Глубина гофра 5-12 мм;
Наружный диаметр 90 до 180 мм.
Приведенные величины относятся к определенному типу водопроводной трубы. В частности, показатели для внешней трубы 5 могут изменяться в зависимости от типа водопроводной трубы.
Формула изобретения
1. Водопроводная труба с теплоизоляцией с, по меньшей мере, одной внутренней трубой, слоем теплоизоляции на базе полиуретановой пены, окружающим внутреннюю трубу, пленкой, окружающей слой теплоизоляции, а также гофрированной внешней трубой из термопластичного полимера, отличающаяся наличием следующих признаков:
a) теплоизоляционный материал состоит из имеющей частично открытые поры полиуретановой пены с относительным удлинением при разрыве более 15%,
b) между слоем теплоизоляции и пленкой имеется упругодеформируемый промежуточный слой из мягкой полимерной пены, который, по меньшей мере, склеен с пленкой, и
c) внешняя труба имеет гофрировку с глубиной гофра от 5/D до 12/D и расстояние между гофрами от 10/D до 25/D, где D наружный диаметр внешней трубы, измеренный по вершине гофра.
2. Водопроводная труба с теплоизоляцией по п.1, отличающаяся тем, что промежуточный слой состоит из полиэтиленовой пены.
3. Водопроводная труба с теплоизоляцией по одному из пп.1 или 2, отличающаяся тем, что промежуточный слой представляет собой экструдированный слой.
4. Водопроводная труба с теплоизоляцией по п.1, отличающаяся тем, что промежуточный слой состоит из ленты вспененного материала, который способом продольной обкатки наложен на внутреннюю трубу или по винтовой линии намотан на внутреннюю трубу.
5. Водопроводная труба с теплоизоляцией по п.1, отличающаяся тем, что отношение толщины теплоизоляционного слоя и промежуточного слоя лежит между 10 и 2.
6. Водопроводная труба с теплоизоляцией по п.1, отличающаяся тем, что внутренняя труба или внутренние трубы состоят из отвержденного полиэтилена.
7. Водопроводная труба с теплоизоляцией по п.1, отличающаяся тем, что внешняя труба состоит из полиэтилена высокой плотности.
8. Водопроводная труба с теплоизоляцией по п.1, отличающаяся тем, что пленка непроницаема для воды, водяного пара и вспенивающих агентов.
9. Водопроводная труба с теплоизоляцией по п.8, отличающаяся тем, что пленка представляет собой алюминиевую фольгу, которая, по меньшей мере, на одной стороне имеет сополимерный слой.
10. Водопроводная труба с теплоизоляцией по п.8, отличающаяся тем, что пленка представляет собой полимерную пленку с вакуумной металлизацией.
РИСУНКИ
|