|
|
(21), (22) Заявка: 2007115344/11, 23.04.2007
(24) Дата начала отсчета срока действия патента:
23.04.2007
(46) Опубликовано: 27.11.2008
(56) Список документов, цитированных в отчете о поиске:
RU 2230241 С2, 10.06.2004. UA 61670 А, 15.11.2003. US 5934422 А, 10.08.1999. US 6003644 А, 21.12.1999.
Адрес для переписки:
399770, Липецкая обл., г. Елец, ул. Коммунаров, 28, Елецкий государственный университет им. И.А. Бунина
|
(72) Автор(ы):
Сливинский Евгений Васильевич (RU), Савин Леонид Алексеевич (RU), Радин Сергей Юрьевич (RU), Зайцев Андрей Анатольевич (RU)
(73) Патентообладатель(и):
Государственное образовательное учреждение высшего профессионального образования “Елецкий государственный университет им. И.А. Бунина” (RU)
|
(54) ГИДРАВЛИЧЕСКИЙ АМОРТИЗАТОР
(57) Реферат:
Изобретение относится к области машиностроения и может быть использовано в рессорном подвешивании рельсовых и безрельсовых транспортных средств. Гидравлический амортизатор содержит рабочий цилиндр и установленный в нем подвижно поршень с клапанами. На штоке жестко закреплен поршень и пара кольцевой формы упоров. В пространстве между упорами подвижно на шпонке размещен подпружиненный с двух торцевых сторон пружинами сжагия поршень. Поршень снабжен вертикально расположенными каналами, переходящими в горизонтальные. Каналы контактируют с изменяющимися по ширине вертикальными углублениями. Углубления выполнены на круговой образующей поверхности штока и взаимосвязаны с горизонтальными участками вертикальных каналов, которые размещены в штоке, а затем переходят в горизонтальные участки. Продольные оси последних расположены над кольцевой формы упорами в надпоршневой и подпоршневой полостях рабочего цилиндра. Достигается упрощение конструкции и повышение эффективности использования. 3 ил.
Предлагаемое изобретение относится к области машиностроения и может быть использовано в рессорном подвешивании рельсовых и безрельсовых транспортных средств.
Известен гидравлический амортизатор, описанный в книге Дербаремдикер А.Д. Гидравлический амортизатор автомобилей. – М.: Машиностроение, 1962 г. стр.8 рис.4.
Такой гидравлический амортизатор состоит из рабочего цилиндра, в котором подвижно в вертикальной его плоскости размещен поршень, жестко закрепленный на штоке. Поршень снабжен рядом деталей, в том числе пружинами и клапанами, которые в процессе хода поршня подвержены значительным нагрузкам при создаваемых поршнем давлениях от 15 до 30 МПа, что существенно сказывается на их надежности. В то же время существенным недостатком амортизатора является то, что он имеет постоянные силы сопротивления хода поршня и не может регулировать их величину в зависимости от резких увеличений их нагрузок, создаваемых микро- и макропрофилем дорог, воздействующих через колеса на подвеску транспортных средств.
Известен также гидравлический амортизатор (гидравлический гаситель колебаний), описанный и показанный на стр.95 рис.62 книги Конструкция расчет и проектирование локомотивов: учебник для студентов, обучающихся по специальности «Локомотивостроение» / А.А.Камаев и др. Под ред. А.А.Камаева – М.: Машиностроение, 1981 г. Конструкция такого гидравлического гасителя колебаний (амортизатора) аналогична вышеописанной и поэтому недостатки их подобны.
Поэтому целью предлагаемого изобретения является упрощение конструкции гидравлического амортизатора и повышение эффективности его использования в эксплуатационных условиях.
Поставленная цель достигается тем, что на штоке жестко закреплена пара кольцевой формы упоров, в пространстве между которыми подвижно на шпонке размещен подпружиненный с двух его торцевых сторон пружинами сжатия поршень, снабженный вертикально расположенными каналами, переходящими в горизонтальные, контактирующими с изменяющимися по ширине вертикальными углублениями на круговой образующей поверхности штока, упомянутые углубления взаимосвязаны с горизонтальными участками вертикальных каналов, размещенных в штоке, также затем переходящих в горизонтальные участки так, что продольные оси последних расположены над кольцевой формы упорами соответственно в надпоршневой и подпоршневой полостях рабочего цилиндра.
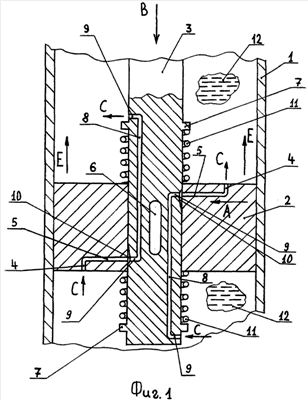
На фиг.1 показана часть гидравлического амортизатора в разрезе, на фиг.2 – вырезанная часть его штока и на фиг.3 – вид на шток по стрелке А.
Гидравлический амортизатор состоит из рабочего цилиндра 1 и поршня 2 со штоком 3. В поршне 2 выполнены вертикальные каналы 4, переходящие в горизонтальные каналы 5. Поршень 2 при помощи скользящей шпонки 6 закреплен на штоке 3, имеющем кольцевой формы упоры 7 и участки вертикальных каналов 8, сопрягаемые с участками горизонтальных каналов 9. В зоне примыкания участков горизонтальных каналов 9 к поршню 2 на поверхностях штока 3 выполнены углубления 10. Между кольцевой формы упоров 7 и поршнем 2 размещены пружины сжатия 11. Рабочий цилиндр 1 заправлен рабочей жидкостью 12.
Работает гидравлический амортизатор следующим образом. При медленном перемещении штока 3, например, по стрелке В, за счет заранее подобранной жесткости пружины сжатия, поршень 2 находится на равном расстоянии относительно кольцевой формы упоров 7 так, как это показано на фиг.2. При этом рабочая жидкость 12 поступает по стрелке С (см. нижнюю часть чертежа фиг.1) в каналы 4, 5, 9, 8, истекая по ним также по стрелке С в надпоршневую полость амортизатора, оказывая определенное сопротивление движению поршня 2 совместно со штоком 3 за счет малого диаметра перечисляемых каналов. В случае же, если нагрузка на шток 3 поршня 2 будет значительной по величине (динамической) и мгновенной по времени, поршень 2 начнет перемещаться относительно штока 3 на скользящей шпонке 6 по стрелке Е, упруго деформируя верхнюю пружину сжатия 11. Такое движение поршня 2 относительно штока 3 будет способствовать сокращению количества тока рабочей жидкости 12 из подпоршневой полости амортизатора в надпоршневую полость. Так, во-первых, горизонтальный канал 5, находящийся справа относительно продольной оси штока (см. фиг.1) полностью перекроется штоком 3 и рабочая жидкость 12 не сможет протекать в участке вертикального канала 8 и, во-вторых, в горизонтальный канал 5, находящийся с левой стороны чертежа фиг.1, количество протекаемой рабочей жидкости 12 значительно уменьшится за счет того, что углубление 10 в штоке имеет изменяющуюся по высоте ширину (см. фиг.3). Такое явление, связанное с движением поршня 2 относительно штока 3, будет способствовать эффективному демпфированию динамических составляющих, действующих на подвеску транспортного средства при его движении. При перемещении штока 3 в направлении, обратном стрелке В, картина сопротивления току рабочей жидкости 12 будет аналогична вышеописанной, с той лишь разницей, что перекрываться штоком 3 полностью будет находящийся слева горизонтальный канал 5, а правый горизонтальный канал 5 частично. Следует отметить, что конструктивно гидравлический амортизатор можно выполнить с гораздо большим числом указанных выше каналов различного диаметра, что позволит существенно расширить его эксплуатационные возможности.
Технико-экономическое преимущество предложенного технического решения в сравнении с известными очевидно, так как он проще по конструкции и, следовательно, обладает повышенной надежностью в эксплуатационных условиях.
Формула изобретения
Гидравлический амортизатор, содержащий рабочий цилиндр и установленный в нем подвижно поршень с клапанами, жестко закрепленный на штоке, отличающийся тем, что на штоке жестко закреплена пара кольцевой формы упоров, в пространстве между которыми подвижно на шпонке размещен подпружиненный с двух его торцевых сторон пружинами сжатия поршень, снабженный вертикально расположенными каналами, переходящими в горизонтальные, контактирующими с изменяющимися по ширине вертикальными углублениями, выполненными на круговой образующей поверхности штока, упомянутые углубления взаимосвязаны с горизонтальными участками вертикальных каналов, размещенных в штоке, затем переходящих в горизонтальные участки так, что продольные оси последних расположены над кольцевой формы упорами в соответственно надпоршневой и подпоршневой полостях рабочего цилиндра.
РИСУНКИ
|
|