|
(21), (22) Заявка: 2007104687/11, 06.02.2007
(24) Дата начала отсчета срока действия патента:
06.02.2007
(46) Опубликовано: 27.11.2008
(56) Список документов, цитированных в отчете о поиске:
RU 2162175 С2, 20.01.2001. US 4577842 А, 25.03.1986. US 3897856 А, 05.08.1975.
Адрес для переписки:
607188, Нижегородская обл., г. Саров, пр. Мира, 37, ФГУП “РФЯЦ-ВНИИЭФ”, начальнику ОПИНТИ
|
(72) Автор(ы):
Федоров Виталий Дмитриевич (RU)
(73) Патентообладатель(и):
Российская Федерация в лице Федерального агентства по атомной энергии (RU), Федеральное государственное унитарное предприятие “Российский федеральный ядерный центр-Всероссийский научно-исследовательский институт экспериментальной физики” – ФГУП “РФЯЦ-ВНИИЭФ” (RU)
|
(54) ГИДРОУПОР
(57) Реферат:
Изобретение относится к области машиностроения, а именно к демпфирующим устройствам. Гидроупор содержит корпус с двумя полостями, заполненными рабочей средой. Корпус состоит из двух соосно установленных полукорпусов с возможностью возвратно-поступательного перемещения относительно друг друга и с образованием кольцевого зазора между ними. Первый полукорпус выполнен в виде цилиндрического стакана, на открытом торце которого и перпендикулярно его оси установлено плоское кольцо. Кольцо жестко связано с боковой поверхностью стакана своим внутренним диаметром. Второй полукорпус состоит из большего и меньшего соосно расположенных и установленных один в другом цилиндрических стаканов, основания которых жестко соединены между собой. На открытом торце большего стакана и перпендикулярно его оси установлено плоское кольцо. Кольцо жестко связано с боковой поверхностью стакана своим наружным диаметром и расположено напротив плоского кольца первого полукорпуса. Наружная полость образована плоскими кольцами и боковыми поверхностями стаканов первого полукорпуса и большего стакана второго полукорпуса. Внутренняя полость образована основаниями стаканов первого полукорпуса, меньшего стакана второго полукорпуса и их боковыми поверхностями, в которых выполнены перепускные отверстия. Достигается повышение несущей способности гидроупора. 3 ил.
Изобретение относится к области машиностроения, а именно к демпфирующим устройствам, и может быть использовано в качестве демпфера с повышенной несущей способностью, уменьшенными габаритами по высоте и меньшей массой.
Известен гидроупор (см. патент №2162175, кл. МПК F16f 9/14, опубликованный в БИ №9, 2001 г.), содержащий корпус, шток и расположенный в замкнутом объеме корпуса поршень, жестко соединенный со штоком и делящий корпус на две заполненные рабочей средой и сообщенные перепускным отверстием поршня полости. Недостатком данной конструкции является присутствие в ней таких элементов, как поршень и шток, что приводит к увеличению на 30-50% габаритных размеров конструкции.
Вышеуказанное устройство является наиболее близким по технической сущности к заявляемому устройству и поэтому выбрано в качестве прототипа.
Решаемой технической задачей является создание гидроупора с уменьшенными габаритами по высоте и меньшей массой.
Техническим результатом является повышение несущей способности гидроупора.
Технический результат в заявляемом устройстве достигается тем, что гидроупор содержит корпус с двумя полостями, заполненными рабочей средой. Новым является то, что корпус состоит из двух соосно установленных полукорпусов с возможностью возвратно-поступательного перемещения относительно друг друга и с образованием кольцевого зазора между ними, при этом первый полукорпус выполнен в виде цилиндрического стакана, на открытом торце которого и перпендикулярно его оси установлено плоское кольцо, жестко связанное с боковой поверхностью стакана своим внутренним диаметром, второй полукорпус состоит из большего и меньшего, соосно расположенных и установленных один в другой цилиндрических стаканов, основания которых жестко соединены между собой, при этом на открытом торце большего стакана и перпендикулярно его оси установлено плоское кольцо, жестко связанное с боковой поверхностью стакана своим наружным диаметром и расположенное напротив плоского кольца первого полукорпуса, при этом наружная полость образована плоскими кольцами и боковыми поверхностями стаканов первого полукорпуса и большего стакана второго полукорпуса, а внутренняя полость образована основаниями стаканов первого полукорпуса и меньшего стакана второго полукорпуса, и их боковыми поверхностями, в которых выполнены перепускные отверстия, причем полости расположены соосно друг другу в плоскости, перпендикулярной оси перемещения полукорпусов гидроупора, а площади основания полостей и кольцевого зазора выбраны из соотношения:

где Sn – площадь основания наружной полости, контактирующая с рабочей средой;
Sв – площадь основания внутренней полости, контактирующая с рабочей средой;
Sк – площадь основания кольцевого зазора,
а диаметры боковых поверхностей полостей выбраны из условия:

где Д1 – максимальный диаметр внутренней полости, контактирующий с рабочей средой;
Д2 – наружный диаметр наружной полости, контактирующий с рабочей средой;
Д3 – внутренний диаметр наружной полости, контактирующий с рабочей средой;
Д4 – внутренний диаметр кольцевого зазора.
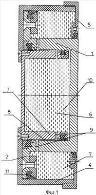
На фиг.1 представлена конструкция заявляемого устройства, на фиг.2 и 3 показаны схемы заявляемого и известного гидроупоров.
Устройство состоит из первого и второго полукорпусов, заполненных рабочей средой 10. Первый полукорпус состоит из стакана 1, на открытом торце которого установлено плоское кольцо 2. Второй полукорпус состоит из большего стакана 4 и установленного внутрь его меньшего стакана 3, основания которых жестко соединены между собой. К открытому торцу большего стакана 4 жестко присоединено плоское кольцо 5, установленное напротив плоского кольца 2 первого полукорпуса.
Полукорпуса по посадочным поверхностям, внутренней поверхности стакана 1 первого полукорпуса и наружной поверхности меньшего стакана 3 второго полукорпуса, входят друг в друга, образуя внутреннюю 6 и наружную 7 полости. Между взаимодействующими стенками полукорпусов – внутренней поверхностью стакана 1 первого полукорпуса и наружной поверхностью меньшего стакана 3 второго полукорпуса предусмотрен кольцевой зазор 8, по которому, наряду с перепускными отверстиями 9, выполненными в этих стенках, обеспечивается сообщение рабочей среды 10, находящейся в наружной и внутренней полостях гидроупора.
Полость 6 является центральной и может быть как цилиндрической так и кольцевой. Она образована донной частью и внутренней поверхностью стакана 1 первого полукорпуса, и донной частью и внутренней поверхностью меньшего стакана 3 второго полукорпуса. Полость 7 образована плоским кольцом 2 и наружной поверхностью стакана 1 первого полукорпуса и плоским кольцом 5 и внутренней поверхностью большего стакана 4 второго полукорпуса и расположена между плоскими кольцами первого и второго полукорпуса, ограничиваясь величиной их хода по высоте. Она является периферийной – выполнена в виде кольца и концентрично охватывает снаружи внутреннюю полость, а ее наружная стенка отстоит от стенки внутренней полости на расстоянии, равном ширине плоских колец. Данные полости в отличие от полости существующего гидроупора установлены концентрично одна относительно другой в плоскости, расположенной перпендикулярно оси перемещения полукорпусов гидроупора. Обе полости при взаимодействии полукорпусов взаимодействуют друг с другом по посадочным поверхностям своих боковых стенок, образуя телескопическое соединение. Такое конструктивное исполнение полостей позволяет получить минимальные размеры конструкции гидроупора по высоте за счет отсутствия в ней штока и поршня как таковых (см. фиг.2).
Как видно из приведенных на фиг.2 и 3 схем, при одинаковом увеличении высоты конструкции на величину h, максимальная высота предлагаемого гидроупора составит величину 2h, в то время как в существующем гидроупоре такое же увеличение высоты приводит к увеличению максимальной высоты конструкции до величины больше 3h.
Перепускное отверстие 9 выполнено на разных уровнях у разных стенок полостей гидроупора. В боковой поверхности стакана 1 первого полукорпуса оно выполнено в нижнем уровне стенки, а в боковой поверхности меньшего стакана 3 второго полукорпуса оно выполнено в верхнем уровне. За счет этого удается обеспечить постоянное перетекание рабочей среды через него при любой высоте сжатия гидроупора и, соответственно, любом положении боковых стенок взаимодействующих полостей во всем диапазоне хода гидроупора.
Для уплотнения мест контакта стенок внутренней 6 и наружной 7 полостей предусмотрены уплотнительные элементы – сальники 11, установленные на концевых участках стенок по месту их контакта друг с другом.
В заявляемом устройстве исключение таких элементов, как шток и поршень, позволяет значительно снизить габаритные размеры – высоту конструкции (теоретически не менее 30%, а практически за счет конкретных конструктивных размеров самих деталей, входящих в конструкцию, до 50% габаритной высоты конструкции гидроупора) при сохранении ее диаметральных размеров.
При этом благодаря примененной компоновке конструкции элементы гидроупора при его работе испытывают только растягивающие (боковые стенки) и сжимающие (основания) усилия, что позволяет повысить допускаемые в них напряжения сжатия по сравнению с прототипом.
Выполнение корпуса гидроупора из двух частей – двух полукорпусов, которые взаимодействуют таким образом, что могут сходиться и расходиться на величину хода гидроупора – h, при этом при одном направлении хода полость 4 увеличивает свой объем на определенную величину за счет увеличения высотного размера, а полость 5 уменьшает его на такую же величину за счет уменьшения высотного размера, что позволяет в данной конструкции достигнуть минимизацию ее высотных габаритов. При обратном ходе полукорпусов картина меняется точно наоборот. При этом, поскольку данный гидроупор выполнен по замкнутой схеме (рабочая среда при работе гидроупора не выходит за пределы объемов его полостей), то для его нормальной работы необходимо выполнить конструкцию гидроупора таким образом, чтобы в ней были созданы условия, обеспечивающие выполнение физических законов при движении полукорпусов в данной замкнутой системе.
Основным условием нормального функционирования конструкции в этих условиях, исходя из законов сплошной среды, является требование по обеспечению равенства объемов рабочей среды, перетекающей из одной полости 6 гидроупора в другую полость 7 через кольцевой зазор 8. Для этого необходимо, чтобы:

где V1 объем рабочей среды, вытекающей (поступающий) из полости 6;
V2 объем рабочей среды, поступающий (вытекающий) в полость 7;
V3 объем рабочей среды, поступающий (вытекающий) в кольцевой зазор 8.

где S1 – площадь сечения внутренней полости 6;
h1 – величина хода внутренней полости гидроупора 6;

где S2 – площадь сечения наружной (кольцевой) полости 7;
h2 – величина хода наружной (кольцевой) полости гидроупора 7;

где S3 – площадь сечения кольцевого зазора 8;
h3 – величина хода кольцевого зазора 9;
Так как h1=h2=h3 – полости являются жестко связанными частями взаимодействующих полукорпусов, то при равенстве объемов по условию (1) получаем равенство (2)
; где ; ; 
где D1 – наружный диаметр внутренней полости, контактирующий с рабочей средой;
D2 – наружный диаметр наружной (кольцевой) погости, контактирующий с рабочей средой;
D3 – внутренний диаметр наружной полости, контактирующий с рабочей средой;
D5 – наружный диаметр кольцевого зазора равный диаметру D1;
D4 – внутренний диаметр кольцевого зазора.
Т.о. равенство (2) запишется в виде:
; или

Равенство (2.1) говорит о том, что площади сечения обеих полостей гидроупора, контактирующих с рабочей средой, внутренней и наружной (цилиндрической и кольцевой) и кольцевого зазора должны удовлетворять соотношению (2.1).
А для этого размеры полостей должны быть выполнены с размерами, удовлетворяющими соотношению (2.1).
Условия (2) и (2.1) являются основными условиями нормального функционирования конструкции заявляемого гидроупора.
Гидроупор работает следующим образом.
При возникновении в конструкции растягивающих (сжимающих) усилий полукорпуса начинают расходиться (сжиматься), увеличивая (уменьшая) при этом объем полости 6 и уменьшая (увеличивая) ровно на столько же объем полости 7 и кольцевого зазора 8. За счет этого паста из полости 6 (полости 7) через перепускное отверстие 9, выполненное в боковых стенках стакана 1 первого и меньшего стакана 3 второго полукорпуса, и кольцевой зазор 8, образованный между боковыми поверхностями данных стаканов (Фиг.1), перетекает из полости 6 (полости 7) в полость 7 (полость 6). При этом этот процесс происходит без возникновения в камерах воздушных зазоров за счет равенства объемов рабочей среды, перетекающей по обеим полостям. За счет этого конструкция в любой момент времени при любой величине хода гидроупора – h готова к восприятию возможных ударных нагрузок, приходящихся на конструкцию, в которую установлен данный гидроупор. Запирание гидроупора при ударных нагрузках обеспечивается размерами и количеством перепускных отверстий 9, выполняемых во взаимодействующих стенках гидроупора.
При отработке был изготовлен опытный образец, который подтвердил работоспособность заявляемого устройства.
Формула изобретения
Гидроупор, содержащий корпус с двумя полостями, заполненными рабочей средой, отличающийся тем, что корпус состоит из двух соосно установленных полукорпусов с возможностью возвратно-поступательного перемещения относительно друг друга и с образованием кольцевого зазора между ними, при этом первый полукорпус выполнен в виде цилиндрического стакана, на открытом торце которого и перпендикулярно его оси установлено плоское кольцо, жестко связанное с боковой поверхностью стакана своим внутренним диаметром, второй полукорпус состоит из большего и меньшего соосно расположенных и установленных один в другом цилиндрических стаканов, основания которых жестко соединены между собой, при этом на открытом торце большего стакана и перпендикулярно его оси установлено плоское кольцо, жестко связанное с боковой поверхностью стакана своим наружным диаметром и расположенное напротив плоского кольца первого полукорпуса, при этом наружная полость образована плоскими кольцами и боковыми поверхностями стаканов первого полукорпуса и большего стакана второго полукорпуса, а внутренняя полость образована основаниями стаканов первого полукорпуса, меньшего стакана второго полукорпуса и их боковыми поверхностями, в которых выполнены перепускные отверстия, причем полости расположены соосно друг другу в плоскости, перпендикулярной оси перемещения полукорпусов гидроупора, а площади основания полостей и кольцевого зазора выбраны из соотношения
sн+sк=sв,
где sн – площадь основания наружной полости, контактирующая с рабочей средой;
sв – площадь основания внутренней полости, контактирующая с рабочей средой;
sк – площадь основания кольцевого зазора,
а диаметры боковых поверхностей полостей выбраны из условия:
Д1 2=(Д2 2-Д3 2)+(Д1 2-Д4 2),
где Д1 – максимальный диаметр внутренней полости, контактирующий с рабочей средой;
Д2 – наружный диаметр наружной полости, контактирующий с рабочей средой;
Д3 – внутренний диаметр наружной полости, контактирующий с рабочей средой;
Д4 – внутренний диаметр кольцевого зазора.
РИСУНКИ
|