|
| На основании пункта 1 статьи 1366 части четвертой Гражданского кодекса Российской Федерации патентообладатель обязуется заключить договор об отчуждении патента на условиях, соответствующих установившейся практике, с любым гражданином Российской Федерации или российским юридическим лицом, кто первым изъявил такое желание и уведомил об этом патентообладателя и федеральный орган исполнительной власти по интеллектуальной собственности. |
|
(21), (22) Заявка: 2007127141/06, 16.07.2007
(24) Дата начала отсчета срока действия патента:
16.07.2007
(46) Опубликовано: 27.11.2008
(56) Список документов, цитированных в отчете о поиске:
US 5419135 А, 30.05.1995. SU 1806275 A3, 30.03.1993. RU 2011934 C1, 30.04.1994. SU 42380 A, 21.07.1934. RU 219081 C2, 10.10.2000.
Адрес для переписки:
620007, г.Екатеринбург, а/я 45, И.Д. Джавадову
|
(72) Автор(ы):
Джавадов Игорь Джавад оглы (RU)
(73) Патентообладатель(и):
Джавадов Игорь Джавад оглы (RU)
|
(54) КОСМИЧЕСКИЙ СИЛОВОЙ ГЕНЕРАТОР
(57) Реферат:
Изобретение относится к космической технике и предназначено, в основном, для производства электроэнергии на Луне. В космическом силовом генераторе, преимущественно, для использования на поверхности Луны, содержащем объединенные в замкнутую систему котел для испарения рабочего тела, имеющий выходной и входной патрубки, паровую турбину, связанную с электрогенератором, конденсатор, насос для конденсата, соединенный с входным патрубком, конденсатор выполнен в виде кожуха, разделенного на первую и вторую секции при помощи перегородки, имеющей канал для отработанного пара, причем турбина установлена в первой секции, соединенной с выходным патрубком котла, а насос соединен со второй секцией, установленной в заглублении в лунном грунте с возможностью теплообмена с холодным грунтом, имеющим температуру ниже температуры конденсации рабочего тела. Техническим результатом изобретения является повышение эффективности при упрощении конструкции. 1 з.п. ф-лы, 2 ил.
Предлагаемое изобретение, относящееся к космической технике, предназначено для использования на поверхности Луны или иного спутника, получающего достаточное количество радиации от Солнца.
Известна паросиловая установка, в которой паровой котел выполнен в виде пакета труб с вогнутой поверхностью для поглощения солнечной радиации (см. патент GB №2196104, 1984). Наиболее близким по назначению и конструкции к заявляемому устройству является, на наш взгляд, космический силовой генератор по патенту США №5419135, 1995, – прототип. Данный генератор, сконструированный для электроснабжения аппаратуры шаттла, содержит котел, паровую турбину, электрогенератор и конденсатор из труб, оборудованных плавниками.
К недостаткам прототипа следует отнести его сравнительно невысокую эффективность. Проблема в том, что конденсатор здесь охлаждается за счет излучения в вакуум, а радиация при низких температурах является малоэффективным механизмом теплоотдачи. Для повышения эффективности предлагается дополнительно опрыскивать конденсатор отработанной водой из других агрегатов шаттла, но это существенно усложняет конструкцию генератора (нужно иметь насос, разбрызгиватель и арматуру, незамерзающие в условиях космоса).
Технической задачей является повышение эффективности космического силового генератора, упрощение его конструкции.
Технический результат достигается тем, что в космическом силовом генераторе, преимущественно, для использования на поверхности Луны, содержащем объединенные в замкнутую систему котел для испарения рабочего тела, имеющий выходной и входной патрубки, паровую турбину, связанную с электрогенератором, конденсатор, насос для конденсата, соединенный с входным патрубком, конденсатор выполнен в виде кожуха, разделенного на первую и вторую секции при помощи перегородки, имеющей канал для отработанного пара, причем турбина установлена в первой секции, соединенной с выходным патрубком котла, а насос соединен со второй секцией, установленной в заглублении в лунном грунте с возможностью теплообмена с холодным грунтом, имеющим температуру ниже температуры конденсации рабочего тела. Устройство характеризуется тем, что перегородка между секциями выполнена из теплоизолирующего материала.
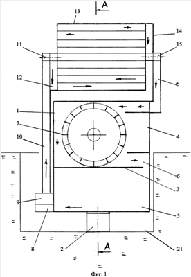
Конструкция генератора поясняется чертежами, на которых показано: фиг.1 – сечение вертикальной плоскостью, фиг.2 – вид А-А на фиг.1.
В конкретном примере генератор содержит конденсатор, выполненный в виде герметичного несущего кожуха 1, который установлен на поворотной опоре 2. Теплоизолирующая перегородка 3 делит кожух 1 на первую (верхнюю) секцию 4 и вторую (нижнюю) секцию 5. К кожуху присоединен патрубок 6 для подачи рабочего пара в секцию 4, в которой смонтирована турбина 7. В перегородке 3 имеется канал «б» для выпуска отработанного пара в секцию 5, которая соединена патрубком 8 с насосом 9. Выход насоса 9 соединен с трубопроводом 10, который связан при помощи шарнирного соединения 11 с входным патрубком 12 котла 13. Выходной патрубок 14 котла связан при помощи шарнирного соединения 15 и патрубка 6 с секцией 4 кожуха 1. Турбина 7 соединена при помощи вала 16 с электрогенератором 17, установленным на каретке 18.
Пакет 19 труб котла выполнен с вогнутой поверхностью, зачерненной для концентрации и лучшего поглощения солнечной радиации. На противоположных краях пакета установлены фотодатчики (не показаны). Пакет 19 оборудован приводом поворота вокруг горизонтальной оси, совпадающей с осями шарниров 11, 15 (не показан). Приводы пакета 19 и опоры 2 управляются аппаратурой автоматики (не показано). К кожуху прикреплена крышка 20 для закрытия углубления в лунном грунте в виде холодного погреба 21, в котором установлена секция 5. Глубину погреба 21 определяют исходя из теплофизических свойств рабочего тела и глубины залегания слоя вечной мерзлоты. Критерием здесь является температурный диапазон, в котором отработанный пар наилучшим образом конденсируется в жидкость, которую можно перекачивать гидронасосом. В широком смысле – это диапазон от точки конденсации рабочего тела до точки замерзания. Длинными стрелками на фиг.1 показано движение конденсата, короткими – движение пара. Стрелка С на фиг.2 указывает направление на Солнце.
Работа космического силового генератора на Луне основана на использовании естественного, от +130°С днем до – 170°С ночью, перепада температур на ее поверхности (см., например, Физика космоса, под ред. Сюняева Р.А., «Советская Энциклопедия», М., 1986, с 348). По этой причине в лунном грунте, начиная с определенной глубины (около 0,5 м), существует вечная мерзлота.
Космический силовой генератор работает следующим образом. Если нормаль С к поверхности пакета 19 направлена не на Солнце, то фотодатчики на противоположных концах пакета освещены с различной интенсивностью. Тогда в аппаратуре автоматики появляются разностные сигналы, которые включают приводы поворота опоры 2 и пакета 19. Пакет вращается в двух плоскостях, пока фотодатчики не будут освещены одинаково. Тогда автоматика зафиксирует пакет в положении, когда его вогнутая поверхность поглощает максимум солнечной радиации. Если серый лунный грунт нагревается до +130°С, то зачерненная вогнутая поверхность котла нагреется, как минимум, до +300°С. При таких условиях рабочим телом в котле может служить обыкновенная дистиллированная вода.
Через некоторое время жидкость в котле закипает. Рабочий пар под давлением поступает из котла через патрубки 14, 6 в секцию 4, где установлена турбина 7. Бьющий из сопла пар вращает турбину, которая передает крутящий момент через вал 16 электрогенератору 17. (Как вариант, якорь электрогенератора может быть встроен непосредственно в ступицу колеса турбины; тогда вал 16 не нужен – не показано). Электрогенератор 17 заряжает стационарную аккумуляторную батарею, к которой подключаются конечные потребители (не показано). Для надежности имеется дублирующий электрогенератор 17, связанный с другим концом вала 16.
Отработанный пар проходит через канал б в секцию 5, которая имеет значительно более низкую температуру благодаря контакту с холодным лунным грунтом в погребе 21. Пар быстро превращается в конденсат, который стекает на дно кожуха и попадает в патрубок 8. После включения насоса 9 конденсат перекачивается через трубу 10 и патрубок 12 в котел 13. Перемещаясь по трубам котла, раскаленным солнечной радиацией, жидкость быстро закипает. Рециркулированный пар проходит через патрубки 14, 6 и снова попадает в секцию 4, поддерживая вращение турбины.
В отличие от прототипа, в предлагаемой установке конденсатор выполнен в виде простого, технологичного в изготовлении двухсекционного кожуха, одна из секций которого отводит тепло, используя более эффективный механизм теплопередачи за счет контакта с холодным лунным грунтом. Неочевидным в предлагаемом решении является размещение турбины внутри конденсатора, что существенно упрощает конструкцию силового генератора. Благодаря интенсивному теплообмену конденсатор работает более эффективно, при этом турбина генерирует большую мощность.
Устройство может быть использовано на любом ином спутнике, получающем достаточное количество солнечной радиации.
Описанное выше техническое решение отвечает, на взгляд заявителя, требованиям новизны, неочевидности и промышленной применимости, в связи с чем предлагается к правовой защите патентом на изобретение.
Формула изобретения
1. Космический силовой генератор преимущественно для использования на поверхности Луны, содержащий объединенные в замкнутую систему котел для испарения рабочего тела, имеющий выходной и входной патрубки, паровую турбину, связанную с электрогенератором, конденсатор, насос для конденсата, соединенный с входным патрубком, отличающийся тем, что конденсатор выполнен в виде кожуха, разделенного на первую и вторую секции при помощи перегородки, имеющей канал для отработанного пара, причем турбина установлена в первой секции, соединенной с выходным патрубком котла, а насос соединен со второй секцией, установленной в заглублении в лунном грунте с возможностью теплообмена с холодным грунтом, имеющим температуру ниже температуры конденсации рабочего тела.
2. Силовой генератор по п.1, отличающийся тем, что указанная перегородка выполнена из теплоизолирующего материала.
РИСУНКИ
|
|