|
(21), (22) Заявка: 2007108210/06, 05.03.2007
(24) Дата начала отсчета срока действия патента:
05.03.2007
(46) Опубликовано: 27.11.2008
(56) Список документов, цитированных в отчете о поиске:
DE 3714774 A, 24.11.1988. DE 4322058 A, 03.02.1994. RU 2230220 C2, 10.06.2004. RU 2140565 C, 27.10.1999. US 2005206351 A, 22.09.2005. US 2007028587 A, 08.02.2007. WO 2005113980 A, 01.12.2005. GB 2255152 A, 28.10.1992. SU 1373866 A1, 29.04.1986.
Адрес для переписки:
445039, Самарская обл., г. Тольятти, ул. Автостроителей, 94, кв.107, И.Г.Скибицкому
|
(72) Автор(ы):
Скибицкий Иван Григорьевич (RU)
(73) Патентообладатель(и):
Скибицкий Иван Григорьевич (RU)
|
(54) СПОСОБ ПОЛУЧЕНИЯ ЭЛЕКТРИЧЕСКОЙ ЭНЕРГИИ
(57) Реферат:
Изобретение относится к электроэнергетике и может быть использовано в автономных системах электроснабжения. Способ получения электрической энергии заключается в разгоне стартерным двигателем инерционного аккумулятора через промежуточный вал, в качестве которого используют вал асинхронного электродвигателя, отключенного в момент разгона от генератора, причем после разгона электродвигатель вводят в рабочий режим, обеспечивающийся постоянной его подпиткой электрической энергией от генератора с одновременным отключением стартерного привода, при этом в качестве последнего используется двигатель внутреннего сгорания, вал которого соединен с валом асинхронного электродвигателя через коробку передач, а в качестве электрогенератора используют синхронный генератор с самовозбуждением. Техническим результатом является получение электрической энергии на основе использования типовых устройств, упрощение системы в обслуживании и эксплуатации, увеличение экономичности с точки зрения расхода топлива. 1 ил.
Изобретение относится к энергетике и может быть использовано для получения электрической энергии без использования систем централизованного электроснабжения.
Известен способ получения энергии, предусматривающий использование дизель-генераторов [Толшин В.И. Устойчивость параллельной работы дизель-генераторов. Ленинград: Машиностроение, 1970 г., стр.200].
При получении энергии с использованием дизель-генераторов переменного тока параллельно с сетью бесконечной мощности в ряде случаев наблюдаются периодические колебания мощности и тока, которые сопровождаются колебаниями чисел оборотов агрегатов, нестабильностью напряжения и частоты, а так же колебанием элементов регуляторов скорости.
В то же время постоянная работа дизеля вызывает большой расход топлива и, как следствие, значительное загрязнение воздуха окружающей среды, что требует применения мощной системы приточно-вытяжной вентиляции.
Известен способ регулирования скорости вращения системы «генератор-двигатель», предусматривающий использование схемы «генератор-двигатель», в которой непосредственно электрически соединены якоря обеих машин накоротко в случае, когда двигатель постоянного тока питают отдельным генератором, при этом один конец вала генератора постоянного тока вращают приводным двигателем (дизельным, синхронным или асинхронным), а другой конец вала – возбудителем, питающим обмотку возбуждения этого генератора и обмотку возбуждения двигателя постоянного тока, вал которого соединен с валом исполнительного механизма, а на вал приводного двигателя насаживают маховик [Кулик Ю.Д. Электрические машины. Учеб. Пособие для ВУЗов. – М.: Высшая школа, 1971 г., стр.372-373].
Этот способ не предназначен для получения электрической энергии из-за его другого технологического применения.
Известен способ получения энергии, предусматривающий использование электромашинного агрегата, включающего турбогенератор, инерционный накопитель энергии (маховик) и электродвигатель [Наука стран социализма. Семидесятые годы. Сборник. – М.: Знание, 1980 г., стр.126, рис.13].
Использование такой схемы не исключает расхода топлива на вращение турбогенератора, а только уменьшает его, электродвигатель получает электроэнергию извне и служит для подкрутки маховика и для облегчения работы турбогенератора.
Задача, на решение которой направлено заявляемое изобретение, заключается в разработке такой системы автономного электроснабжения, которая позволила бы отказаться от услуг систем централизованного электроснабжения за счет повышения степени использования эффекта рекуперации энергии инерционным аккумулятором.
Эта задача решается тем, что в способе получения электрической энергии, предусматривающем использования эффекта рекуперации энергии инерционным аккумулятором, часть полученной электроэнергии используется для привода во вращение вала электродвигателя, накопление энергии инерционным аккумулятором производят путем его разгона до номинальной частоты вращения стартерным приводом с передачей вращающегося момента через вал асинхронного электродвигателя, а работу этого аккумулятора в штатном режиме производят с постоянном подпиткой асинхронного электродвигателя энергией, вырабатываемой электрогенератором, работающим синхронно с инерционным аккумулятором и связанным с ним ременной передачей, при этом при разгоне инерционного аккумулятора асинхронный электродвигатель не подключен к генератору и его вал выступает как промежуточный вал для передачи вращающегося момента на инерционный аккумулятор, а в момент завершения разгона этот электродвигатель вводят в рабочий режим с отключением стартерного привода, причем в качестве стартерного привода используют двигатель внутреннего сгорания, вал которого соединен с валом асинхронного электродвигателя через коробку передач, а в качестве генератора используют синхронный электрогенератор.
Накопление энергии инерционным аккумулятором путем его разгона до номинальной частоты вращения стартерным приводом позволяет облегчить начало вращения в процессе разгона инерционного аккумулятора.
Производство, накопление энергии инерционным аккумулятором путем его разгона до номинальной частоты вращения стартерным приводом позволяют облегчить начало вращения.
Передача вращающего момента от стартерного привода на инерционный аккумулятор (маховик) через вал асинхронного электродвигателя обеспечивает прямую передачу этого момента одновременно и на этот вал, подготавливая асинхронный электродвигатель к работе в штатном режиме.
Осуществление работы инерционного аккумулятора в штатном режиме с постоянной подпиткой асинхронного электродвигателя энергией обеспечивает поддержание постоянства частоты вращения этого аккумулятора.
Вырабатывание энергии для подпитки асинхронного электродвигателя электрогенератором обеспечивает поддержание работы в штатном режиме за счет использования обратной связи. Работа электрогенератора синхронно с инерционным аккумулятором обеспечивает автономность работы всей системы, не зависящей от внешних воздействий. Связь электрогенератора с инерционным аккумулятором через ременную передачу обеспечивает точность передачи вращающего момента с вала аккумулятора на вал электрогенератора (при заранее рассчитанных диаметрах шкивов).
Неподключение синхронного электродвигателя при разгоне инерционного аккумулятора даст возможность улучшить условия его пуска в момент включения в работу.
Использование вала асинхронного электродвигателя как промежуточного вала при разгоне инерционного аккумулятора дает возможность прямой передачи вращающего момента стартерного электродвигателя на маховик.
Введение в момент завершения разгона маховика асинхронного электродвигателя в рабочий режим обеспечивает получение номинальных оборотов синхронного электрогенератора, при которых происходит его самовозбуждение с последующей подачей напряжения от электрогенератора к асинхронному электродвигателю.
Отключение его в момент завершения разгона стартерного привода обеспечивает экономию топлива на работу ДВС стартерного привода.
Использование в качестве стартерного привода двигателя внутреннего сгорания дает возможность получить вращающий момент для разгона системы, а соединение вала этого двигателя с валом асинхронного электродвигателя через коробку передач обеспечивает плавность разгона маховика.
Использование в качестве электрогенератора синхронного электрогенератора позволяет применять общепромышленные образцы этого типа электрических машин.
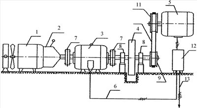
Предлагаемое изобретение иллюстрируется чертежом, на котором представлена система получения электрической энергии в виде схемы цепи аппаратов.
На схеме показана энергетическая установка, преимущественно для систем автономного электроснабжения, содержащая двигатель внутреннего сгорания 1, выполняющий роль стартерного привода, коробку передач 2, асинхронный электродвигатель 3, инерционный аккумулятор 4 и синхронный электрогенератор 5, соединенный силовым кабелем 6 с асинхронным электродвигателем.
Двигатель внутреннего сгорания 1 снабжен системой охлаждения и выполнен с возможностью соединения с коробкой передач 2 через муфту сцепления (не показана), вал асинхронного электродвигателя соединен с выходным валом коробки передач и валом маховика через муфты 7, вал маховика 4 установлен на подшипниковых опорах 8 и со свободной стороны снабжен шкивом 9 для ременного привода 10 вала синхронного электрогенератора через шкив 11, установленный на валу последнего.
Для управления работой электрической частью системы установлен пульт управления 12, который производит включение и отключение синхронного электродвигателя и подачу напряжения потребителю по кабелю 13.
Способ получения электрической энергии осуществляют следующим образом. Включают двигатель внутреннего сгорания 1 и последовательным переключением передач с использованием муфты сцепления производят разгон маховика 4 до номинальной частоты вращения, при этом происходит одновременно и раскрутка ротора асинхронного электродвигателя 3.
Асинхронный электродвигатель работает в период разгона в качестве промежуточного вала для передачи вращающего момента на маховик. После того как маховик начнет вращаться с номинальной частотой вращения, стартерный привод отключают путем разъединения вала двигателя внутреннего сгорания с входным валом коробки передач 2 с использованием муфты сцепления и включают обратную связь, обеспечивающую подачу электроэнергии, вырабатываемой синхронным генератором 3, также находящимся в этот момент в номинальном режиме работы, на асинхронный электродвигатель 3, тем самым способствуя введению его в рабочий режим. Этот режим заключается в осуществлении постоянной подпитки маховика кинетической энергией вращения, передаваемой ему через вал двигателя в моменты уменьшения оборотов маховика из-за потерь на механические, тепловые сопротивления и одновременно в случае увеличения нагрузки со стороны потребителей электроэнергии.
Пример. Способ получения энергии осуществлен на установке, содержащей в качестве стартерного привода двигатель внутреннего сгорания ВАЗ 2103, в качестве асинхронного электродвигателя 4А180М4У3, в качестве инерционного аккумулятора (маховика) металлический цилиндр, в качестве синхронного генератора ЕСС-92-4, имеющие следующие основные технический характеристики:
стартерный двигатель – мощность 60 л.с. (50 кВт);
асинхронный двигатель – мощность 30 кВт, частота вращения n=1490 об/мин;
инерционный аккумулятор (маховик) – масса 200 кг, диаметр 1 м, частота вращения n=1490 об/мин;
синхронный генератор – мощность 93,7 кВт, частота вращения n=750 об/мин.
После разгона маховика до n=1490 об/мин и синхронного генератора до n=750 об/мин стартерный двигатель был отключен и, соответственно, в качестве нагрузки синхронного генератора был включен асинхронный электродвигатель, поддерживающий номинальную скорость вращения инерционного аккумулятора.
Мощность инерционного аккумулятора была рассчитана по формуле:
Pm= 2mR2n2, где
m – масса маховика кг;
R – радиус маховика м;
n – частота вращения об/сек.
При m=300 кг, R=1 м и n=1000 об/мин мощность инерционного аккумулятора составила 206 кВт.
При выводе установки на штатный режим работы была получена электроэнергия напряжением 0,4 кВ, мощностью 93,7 кВт, что оказалось достаточным для энергоснабжения двух коттеджей площадью по 500 м2 каждый с общей установленной мощностью на каждом коттедже по 30 кВт, включая расход энергии на освещение, отопление и различные бытовые приборы.
Формула изобретения
Способ получения электрической энергии, предусматривающий использование эффекта рекуперации энергии инерционного аккумулятора для привода во вращение вала электрогенератора, отличающийся тем, что накопление энергии инерционным аккумулятором производят путем его разгона до номинальной частоты вращения стартерным приводом с передачей вращающего момента через вал асинхронного электродвигателя, а работу этого аккумулятора в штатном режиме производят с постоянной подпиткой асинхронного электродвигателя энергией, вырабатываемой электрогенератором, работающим синхронно с инерционным аккумулятором и связанным с ним ременной передачей, при этом при разгоне инерционного аккумулятора асинхронный электродвигатель не подключен к генератору и его вал выступает как промежуточный для передачи вращающего момента на инерционный аккумулятор, а в момент завершения разгона этот электродвигатель вводят в рабочий режим с отключением стартерного привода, причем в качестве стартерного привода используют двигатель внутреннего сгорания, вал которого соединен с валом асинхронного электродвигателя через коробку передач, а в качестве электрогенератора используют синхронный электрогенератор с самовозбуждением.
РИСУНКИ
|