|
|
(21), (22) Заявка: 2007117819/06, 15.05.2007
(24) Дата начала отсчета срока действия патента:
15.05.2007
(46) Опубликовано: 27.11.2008
(56) Список документов, цитированных в отчете о поиске:
SU 1828000 A1, 10.10.1995. RU 2052781 C1, 20.01.1996. RU 2099589 C1, 20.12.1997. RU 2070988 C1, 27.12.1996. US 4524620 A, 25.06.1985.
Адрес для переписки:
141980, Московская обл., г. Дубна, ул. Жуковского, 2а, ОАО “ГосМКБ “РАДУГА” им. А.Я. Березняка”, патентный отдел
|
(72) Автор(ы):
Войцехович Александр Николаевич (RU), Карпов Сергей Иванович (RU), Макаров Александр Федотович (RU), Обрезчиков Владимир Васильевич (RU), Птуха Николай Анатольевич (RU), Щеглов Валерий Анатольевич (RU)
(73) Патентообладатель(и):
ОТКРЫТОЕ АКЦИОНЕРНОЕ ОБЩЕСТВО “ГОСУДАРСТВЕННОЕ МАШИНОСТРОИТЕЛЬНОЕ КОНСТРУКТОРСКОЕ БЮРО “РАДУГА” ИМЕНИ А.Я БЕРЕЗНЯКА” (RU)
|
(54) ВЕТРОКОЛЕСО
(57) Реферат:
Изобретение относится к конструктивным элементам ветряных двигателей, а конкретно – к конструкции лопастей и ступиц ветроколес. Ветроколесо содержит ступицу и лопасти, имеющие лонжероны и обшивки, систему, сигнализирующую о трещинообразовании, включающую установленный на лонжероне чувствительный элемент и размещенное в ступице усиливающе-регистрирующее устройство. Чувствительный элемент выполнен в виде не менее чем одной подпружиненной проволоки, коэффициент температурного удлинения материала которой близок к коэффициенту температурного удлинения материала лонжерона, при этом один конец проволоки закреплен на конце лонжерона, второй подсоединен к усиливающе-регистрирующему устройству, а промежуточная часть проволоки выполнена с возможностью скольжения по лонжерону. Кроме того, ветроколесо может содержать устройство автоматического останова, подсоединенное к усиливающе-регистрирующему устройству, выполненному в виде разноплечего рычага, короткое плечо которого взаимодействует с фланцем, закрепленным на конце подпружиненной проволоки, а длинное плечо взаимодействует с устройством автоматического останова. Использование изобретения обеспечивает получение сигнала о появлении трещин, предупреждение поломки лопасти, а также повышение надежности ветроколеса и его ресурса. 2 з.п. ф-лы, 5 ил.
Изобретение относится к конструктивным элементам ветряных двигателей, а конкретно к конструкции лопастей и ступиц ветроколес.
Известно ветроколесо, которое принято за прототип, содержащее ступицу и лопасти, имеющие лонжерон и обшивку (а.с. SU №1828000 А1).
Все данные признаки есть и в предлагаемом техническом решении.
В процессе эксплуатации ветроколеса в силовом элементе лопасти – лонжероне под действием внешних нагрузок (центробежных и изгибающих сил, вибраций) возможны деформации, возникновение трещин, возможно и внезапное разрушение лонжерона, что особенно опасно, учитывая значительные размеры данных лопастей – от нескольких метров до десятков метров.
Предлагаемым изобретением решаются задачи получения сигнала о появлении трещин, предупреждения поломки лопасти, повышения надежности ветроколеса и повышения ресурса.
Для достижения названного технического результата ветроколесо, содержащее ступицу и лопасти, имеющие лонжероны и обшивки, содержит систему, сигнализирующую о трещинообразовании, включающую установленный на лонжероне чувствительный элемент и размещенное в ступице усиливающе-регистрирующее устройство; при этом чувствительный элемент выполнен в виде не менее чем одной подпружиненной проволоки, коэффициент температурного удлинения материала которой близок к коэффициенту температурного удлинения материала лонжерона; при том один конец проволоки закреплен на конце лонжерона, второй подсоединен к усиливающе-регистрирующему устройству, а промежуточная часть проволоки выполнена с возможностью скольжения по лонжерону.
Кроме того, для предотвращения поломки ветроколесо может содержать автоматическое устройство останова, например фиксатор или тормоз, подсоединенные к усиливающе-регистрирующему устройству.
При этом усиливающе-регистрирующее устройство для останова может быть выполнено в виде разноплечего рычага, короткое плечо которого взаимодействует с фланцем, закрепленным на конце подпружиненной проволоки, а длинное плечо – с устройством автоматического останова.
Отличительными признаками предлагаемого устройства от прототипа является содержание системы, сигнализирующей о трещинообразовании, включающей установленный на лонжероне чувствительный элемент и размещенное в ступице усиливающе-регистрирующее устройство; при этом чувствительный элемент выполнен в виде не менее чем одной подпружиненной проволоки, коэффициент температурного удлинения материала которой близок к коэффициенту температурного удлинения материала лонжерона; при этом один конец проволоки закреплен на конце лонжерона, а второй подсоединен к усиливающе-регистрирующему устройству, а промежуточная часть проволоки выполнена с возможностью скольжения по лонжерону. Кроме того, ветроколесо может содержать автоматическое устройство останова, например фиксатор или тормоз, подсоединенные к усиливающе-регистрирующему устройству. При этом усиливающе-регистрирующее устройство для останова может быть выполнено (как наиболее простой вариант) в виде разноплечего рычага, короткое плечо которого взаимодействует с фланцем, закрепленным на конце подпружиненной проволоки, а длинное плечо – с концевым выключателем, укрепленным на раме ступицы.
Благодаря наличию указанных отличительных признаков достигается следующий технический результат – появилась возможность в процессе эксплуатации ветроэнергетической установки получать сигнал о появлении трещин, предупреждать о поломках лопасти; повышается надежность и ресурс ветроколеса, а также увеличивается безопасность его эксплуатации, особенно в случае наличия устройства автоматического останова ветроколеса.
Предлагаемое техническое решение иллюстрируется чертежами, представленными на фиг.1-5.
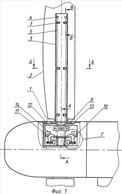
На фиг.1 изображено ветроколесо в продольном разрезе лопасти.
На фиг.2 изображено сечение А-А фиг.1.
На фиг.3 изображено сечение Б-Б фиг.1.
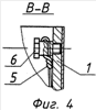
На фиг.4 изображено сечение В-В фиг.1.
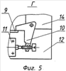
На фиг.5 изображен элемент Г фиг.1.
Представленное на фиг.1-5 ветроколесо содержит ступицу 1, лопасть 2 с лонжероном 3 и обшивкой 4, чувствительный элемент – две подпружиненные проволоки 5, установленные в зоне трещинообразования лонжерона 3 лопасти ветроколеса 2. Проволоки жестко закреплены при помощи болта 6 на конце лонжерона 3. Две проволоки 5 применяются для повышения надежности сигнализирующей системы.
Для снижения влияния температурных факторов материал проволоки 5 выбирается с коэффициентом температурного удлинения, близким (равным) к материалу лонжерона 3.
Проволока 5 имеет возможность продольно скользить по направляющим 7 и по роликам 8, ограничивающим ее поперечное перемещение.
На другом конце проволока 5 содержит фланец 9, взаимодействующий с усиливающе-регистрирующим устройством.
Усиливающе-регистрирующее устройство выполнено в виде разноплечевого рычага 10, короткое плечо которого взаимодействует с фланцем 9.
Длинное плечо рычага 10 взаимодействует с концевым выключателем 11, установленным на раме 12.
Ролики 8, рычаги 10, концевые выключатели 11 крепятся на раму 12 с помощью кронштейнов 13, 14, 15. Рама 12 установлена на ступицу 1 ветроколеса.
Работает устройство следующим образом.
При работе ветроустановки в лонжероне 3 лопасти 2 может возникнуть усталостная трещина, что приводит к повышенному изгибу лопасти, и, как следствие, к ее удлинению.
При этом проволока 5 перемещается вверх, перемещая вверх фланец 9.
Фланец 9 взаимодействует с коротким плечом рычага 10, которое задействует концевой выключатель 11, приводящий в действие систему регистрации величины трещины или автоматического останова колеса.
Формула изобретения
1. Ветроколесо, содержащее ступицу и лопасти, имеющие лонжероны и обшивки, отличающееся тем, что содержит систему, сигнализирующую о трещинообразовании, включающую установленный на лонжероне чувствительный элемент и размещенное в ступице усиливающе-регистрирующее устройство, при этом чувствительный элемент выполнен в виде не менее чем одной подпружиненной проволоки, коэффициент температурного удлинения материала которой близок к коэффициенту температурного удлинения материала лонжерона, притом один конец проволоки закреплен на конце лонжерона, второй подсоединен к усиливающе-регистрирующему устройству, а промежуточная часть проволоки выполнена с возможностью скольжения по лонжерону.
2. Ветроколесо по п.1, отличающееся тем, что содержит устройство автоматического останова, подсоединенное к усиливающе-регистрирующему устройству.
3. Ветроколесо по п.2, отличающееся тем, что усиливающе-регистрирующее устройство выполнено в виде разноплечего рычага, короткое плечо которого взаимодействует с фланцем, закрепленным на конце подпружиненной проволоки, а длинное плечо взаимодействует с устройством автоматического останова.
РИСУНКИ
|
|