|
|
(21), (22) Заявка: 2006130903/06, 28.08.2006
(24) Дата начала отсчета срока действия патента:
28.08.2006
(43) Дата публикации заявки: 10.03.2008
(46) Опубликовано: 27.11.2008
(56) Список документов, цитированных в отчете о поиске:
RU 2143579 С1, 27.12.1999. RU 2131989 С1, 20.06.1999. RU 2132477 С1, 27.06.1999. JP 2001140698 А, 22.05.2001. US 2935846 А, 10.05.1960. FR 2728627 А1, 28.06.1996. DE 4217051 A1, 02.12.1993.
Адрес для переписки:
141070, Московская обл., г. Королев, ул. Ленина, 4а, ОАО “РКК “Энергия” им. С.П. Королева”, отдел интеллектуальной собственности
|
(72) Автор(ы):
Банин Виктор Никитович (RU), Гореликов Владимир Иванович (RU)
(73) Патентообладатель(и):
Открытое акционерное общество “Ракетно-космическая корпорация “Энергия” имени С.П. Королева” (RU)
|
(54) СИСТЕМА НАДДУВА ТОПЛИВНЫХ БАКОВ
(57) Реферат:
Изобретение относится к космической технике, а точнее к области проектирования и эксплуатации реактивных двигательных установок (РДУ) космических летательных аппаратов (КЛА). В системе наддува топливных баков в каждую пневмомагистраль после газовых редукторов введены два параллельно включенных трубопровода, каждый из которых имеет ответвление с дополнительным предохранительным клапаном на выходе, включенное в общую дренажную магистраль, каждый из параллельно включенных трубопроводов имеет дополнительный пускоотсечный клапан, при этом эти трубопроводы сообщены между собой перепускным трубопроводом, включенным после ответвления на дополнительный предохранительный клапан перед дополнительным пускоотсечным клапаном, а общая дренажная магистраль сообщена с безмоментным устройством. Изобретение обеспечивает повышение надежности и долговечности системы наддува. 1 ил.
Изобретение относится к космической технике, a точнее к области проектирования и эксплуатации реактивных двигательных установок (РДУ) космических летательных аппаратов (КЛА).
Система наддува топливных баков горючего и окислителя двигательной установки КЛА используется для создания импульсов тяги, необходимых как для перемещения центра масс КЛА (коррекция траектории движения, торможение КЛА для обеспечения его схода с орбиты), так и для создания управляющих моментов относительно его центра масс (ориентация, развороты и т.д.). Импульсы тяги для различных режимов управления аппаратом в пространстве создаются с помощью имеющихся на борту реактивных двигателей (РД), величины тяг которых в зависимости от их назначения изменяются в широких пределах (от нескольких сотен кгс до единиц и менее кгс). Работа указанных двигателей с заданными параметрами обеспечивается системами наддува топливных баков и подачи топлива к входам двигателей.
Известны системы наддува топливных баков горючего и окислителя двигательной установки (ДУ) КЛА (см., например, журнал №7 «Авиация и космонавтика», М., Воениздат, 1978, стр.36, 37, рис.2). Системы наддува содержат баллоны высокого давления, заполненные газом, например азотом, которые служат для обеспечения выдавливания топлива из топливных баков и подачи его к реактивным двигателям двигательной установки. Баллоны высокого давления связаны с газовыми полостями топливных баков посредством пневмомагистралей, содержащих пускоотсечные клапаны и газовые редукторы. Заправка баллонов газом высокого давления производится на Земле перед стартом ракеты-носителя.
Известна также система наддува топливных баков горючего и окислителя ДУ КЛА (см., например, патент РФ №2143579 с приоритетом от 31.08.1998 г., кл. F02К 9/50), выбранная в качестве прототипа.
Система содержит баллоны высокого давления, связанные пневмомагистралями с газовыми полостями соответствующих топливных баков горючего и окислителя, и установленные на пневмомагистралях пускоотсечные клапаны, дроссельные устройства, газовые редукторы и предохранительные клапаны. В таких системах выдавливание топлива из топливных баков производят газом, например азотом или гелием, закачанным в баллоны высокого давления на Земле перед стартом. В процессе работы системы наддува в условиях невесомости, в случае повышения давления выше расчетного (допускаемого при нормальной работе топливных баков) в пневмомагистрали на входе в газовую полость топливного бака (например, при отказе газового редуктора) срабатывает предохранительный клапан, установленный на данной пневмомагистрали, и происходит дренаж значительной части газа в космическое пространство, что сохраняет целостность топливных баков и системы в целом, но уменьшает срок службы системы из-за потери значительной части газа. Также система слабо защищена от воздействий на КЛА при срабатывании предохранительной арматуры, что приводит к уменьшению надежности и срока службы системы.
Общими недостатками известных аналогов и прототипа системы наддува топливных баков и системы в целом являются недостаточная надежность и долговечность системы.
Задачей настоящего изобретения является создание такой системы наддува топливных баков горючего и окислителя, например, ДУ КЛА, которая обладала бы большей надежностью и долговечностью.
Технический результат достигается тем, что в системе наддува топливных баков, содержащей баллоны высокого давления, связанные пневмомагистралями с газовыми полостями соответствующих топливных баков горючего и окислителя, и установленные на пневмомагистралях пускоотсечные клапаны, дроссельные устройства, газовые редукторы и предохранительные клапаны, в отличие от известной в каждую пневмомагистраль после газовых редукторов введены два параллельно включенных трубопровода, каждый из которых имеет ответвление с дополнительным предохранительным клапаном, ответвления подсоединены на выходе к общей (объединяющей их) дренажной магистрали, каждый из параллельно включенных трубопроводов снабжен дополнительным пускоотсечным клапаном, при этом параллельно включенные трубопроводы сообщены между собой перепускным трубопроводом, включенным после ответвления с дополнительным предохранительным клапаном и перед дополнительным пускоотсечным клапаном, а общая дренажная магистраль сообщена с безмоментным устройством.
Технический результат заключается в том, что по сравнению с известными техническими решениями в предлагаемой системе наддува топливных баков горючего и окислителя в случае повышения давления выше расчетного происходит дренаж незначительной (минимальной) части газа в космическое пространство, а также предусмотрено закрытие пускоотсечных клапанов и отсечение газовой полости от поступления газа, что обеспечивает высокую надежность и долговечность.
Техническое решение позволяет смягчить и выровнять напор срабатываемого газа при возникновении инерционности срабатывания пускоотсечных и предохранительных клапанов.
Использование предлагаемой системы наддува топливных баков горючего и окислителя, например, на космическом орбитальном комплексе типа «МКС»-«Прогресс»-«Шатлл» позволит дать значительный экономический эффект за счет повышения надежности и долговечности системы.
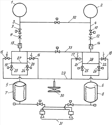
Суть изобретения поясняется чертежом. Предлагаемая система наддува топливных баков состоит из следующих основных узлов, деталей и агрегатов: баллонов высокого давления 1, 2, связанных соответственно пневмомсинстралями 3, 4 с газовыми полостями 5, 6 соответствующих топливных баков горючего 7 и окислителя 8, и установленных на пневмомагистралях 3, 4 пускоотсечных клапанов 9, 10, дроссельных устройств 11, 12, газовых редукторов 13, 14 и предохранительных клапанов 15, 16, 17, 18. В каждую пневмомагистраль 3, 4 после газовых редукторов 13, 14 введены два параллельно включенных трубопровода 19, 20 и 21, 22, имеющих ответвления с дополнительными предохранительными клапанами 15, 16 (17, 18) в них, и пускоотсечные клапаны 23, 24 (25, 26) в каждый из параллельно включенных трубопроводов, при этом ответвление с дополнительным предохранительным клапаном 15 (16, 17, 18) выполнено соответственно перед пускоотсечным клапаном 23 (24, 25, 26), и выходы ответвлений связаны (объединены) с общей дренажной магистралью 29, сообщенной с безмоментным устройством 30, а после ответвления, перед дополнительным пускоотсечным клапаном 23 (24, 25, 26) включен перепускной трубопровод 27 (28), сообщающий трубопроводы 19 и 20 (21 и 22). Выдавливаемое топливо (горючее и окислитель) из топливных баков 7, 8 подается к потребителю, например к реактивным двигателям 31. Безмоментное устройство 30 выполнено в виде пустотелого диска с равномерно и диаметрально противоположным расположением по внешнему торцу диска одинаковых отверстий, имеющих одинаковые размеры, что защищает КЛА от воздействий реактивных сил, возникающих при сбросе газа под давлением. Система снабжена перепускными магистралями 32 и 33.
Работает система наддува топливных баков следующим образом. Для выдавливания и подачи топлива к реактивным двигателям 31 из топливных баков горючего 7 и окислителя 8 открывают пускоотсечные клапаны 9, 10, и газ, например гелий, из баллонов высокого давления 1, 2 под высоким давлением (порядка 350 кгс/см2) проходит через дроссельные устройства 11, 12, где в результате дросселирования давление понижается (порядка 350 кгс/см2) и подается в газовые редукторы 13, 14, которые понижают давление газа до заданного и необходимого давления (порядка 10 кгс/см2) для выдавливания топлива из топливных баков 7, 8 и подачи его к РД 31. После газовых редукторов 13, 14 газ проходит через параллельно включенные трубопроводы 19, 20 и 21, 22 и поступает в газовые полости 5, 6 топливных баков 7, 8, откуда производится выдавливание и подача топлива к РД 31. Дополнительные пускоотсечные клапаны 23, 24 и 25, 26 находятся в нормально открытом состоянии. В процессе работы системы наддува топливных баков в условиях невесомости в случае повышения давления выше расчетного (допускаемого при нормальной работе топливных баков 7 (8)) в пневмомагистрали 3 (4) на входе в газовую полость 5 (6) топливного бака 7 (8), например, при отказе газового редуктора 13 (14) срабатывают предохранительные клапаны 15, 16 (17, 18), подключенные в параллельно включенные трубопроводы 19, 20 (21, 22), и происходит дренаж незначительной части газа в космическое пространство через общую дренажную магистраль 29, сообщенную с безмоментным устройством 30. Сброс незначительного (минимального) количества газа при срабатывании предохранительных клапанов 15, 16 (17, 18) происходит за счет установки в параллельно включенные контуры 19, 20 (21, 22) после включения предохранительных клапанов 15, 16 (17, 18) пускоотсечных клапанов 23, 24 (25, 26), которые при повышении давления в пневмомагистрали 3 (4) на входе в газовую полость 5 (6) топливного бака 7 (8) по команде от бортового пульта управления клапанами моментально срабатывают на закрытие и отсечение газовой полости 5 (6) топливного бака 7 (8) от поступления в нее газа из пневмомагистрали 3 (4), расположенной между пускоотсечными клапанами 9 (10) и дополнительными пускоотсечными клапанами 23, 24 (25, 26). Для перепуска газа между пневмомагистралями 3, 4 предусмотрены перепускные магистрали 32 и 33, снабженные пускоотсечными клапанами. Перепускной трубопровод 27 и 28 обеспечивает проход газа из одного контура 19 (21) в другой 20 (22) в случае срабатывания предохранительных клапанов 15, 16 (17, 18), что смягчает и выравнивает напор срабатываемого газа при возникновении инерционности срабатывания пускоотсечных и предохранительных клапанов. Полому предлагаемая система наддува топливных баков 7, 8, в которой пневмомагистрали 3, 4 снабжены параллельно включенными трубопроводами 19, 20 и 21, 22 с включенными в них дополнительными предохранительными клапанами 15, 16 и 17, 18 и с установленными на них дополнительными пускоотсечными клапанами 23, 24 и 25, 26, обеспечивает повышение надежности и долговечности системы наддува, что выполняет поставленную задачу.
Формула изобретения
Система наддува топливных баков, содержащая баллоны высокого давления, связанные пневмомагистралями с газовыми полостями соответствующих топливных баков горючего и окислителя, и установленные на пневмомагистралях пускоотсечные клапаны, дроссельные устройства, газовые редукторы и предохранительные клапаны, отличающаяся тем, что в каждую пневмомагистраль после газовых редукторов введены два параллельно включенных трубопровода, каждый из которых имеет ответвление с дополнительным предохранительным клапаном, ответвления подсоединены на выходе к общей дренажной магистрали, каждый из параллельно включенных трубопроводов снабжен дополнительным пускоотсечным клапаном, при этом параллельно включенные трубопроводы сообщены между собой перепускным трубопроводом, включенным после ответвления с дополнительным предохранительным клапаном и перед дополнительным пускоотсечным клапаном, а общая дренажная магистраль сообщена с безмоментным устройством.
РИСУНКИ
|
|