|
|
(21), (22) Заявка: 2006118375/06, 26.05.2006
(24) Дата начала отсчета срока действия патента:
26.05.2006
(43) Дата публикации заявки: 10.12.2007
(46) Опубликовано: 27.11.2008
(56) Список документов, цитированных в отчете о поиске:
RU 2143579 С1, 27.12.1999. RU 2131989 С1, 20.06.1999. RU 2132477 С1, 27.06.1999. JP 2001140698 А, 22.05.2001. US 2935846 А, 10.05.1960. FR 2728627 А1, 28.06.1996. DE 4217051 A1, 02.12.1993.
Адрес для переписки:
141070, Московская обл., г. Королев, ул. Ленина, 4а, ОАО “РКК “Энергия” им. С.П. Королева”, отдел интеллектуальной собственности
|
(72) Автор(ы):
Банин Виктор Никитович (RU), Гореликов Владимир Иванович (RU), Хитев Николай Иванович (RU)
(73) Патентообладатель(и):
Открытое акционерное общество “Ракетно-космическая корпорация “Энергия” имени С.П. Королева” (RU)
|
(54) СИСТЕМА НАДДУВА ТОПЛИВНЫХ БАКОВ
(57) Реферат:
Изобретение относится к области проектирования и эксплуатации систем хранения и подачи компонентов топлива двигательных установок (ДУ) космических летательных аппаратов (КЛА). В систему наддува топливных баков, содержащую баллоны высокого давления, связанные пневмомагистралями с газовыми полостями топливных баков горючего и окислителя, и, установленные на пневмомагистралях дроссельные устройства, пускоотсечные клапаны, газовые редукторы и предохранительные клапаны, сообщенные на выходе с безмоментным устройством, введен подогреватель, выполненный в виде многоконтурного теплообменника, подключенного к бортовой системе терморегулирования, каждый контур которого включен в соответствующую пневмомагистраль после дроссельного устройства, установленного на выходе из баллона высокого давления, причем подогреватель снабжен дополнительными теплообменными контурами, выполненными в виде змеевиков, размещенных в кожухе теплообменника, при этом дополнительные теплообменные контуры включены в соответствующие пневмомагистрали перед предохранительными клапанами. Изобретение обеспечивает повышение надежности и эффективности работы системы. 1 ил.
Изобретение относится к космической технике, а точнее к области проектирования и эксплуатации систем хранения и подачи компонентов топлива двигательных установок (ДУ) космических летательных аппаратов (КЛА).
Система наддува топливных баков, например, двигательной установки космического летательного аппарата используется в современных реактивных двигательных установках (РДУ) КЛА, применяемых для создания импульсов тяги, необходимых, как для перемещения центра масс КЛА (коррекция траектории движения, торможение КЛА для обеспечения его схода с орбиты), так и для создания управляющих моментов относительно его центра масс (ориентация, развороты и т.д.). Импульсы тяги для различных режимов управления аппаратом в пространстве создаются с помощью имеющихся на борту реактивных двигателей (РД), величины тяг которых в зависимости от их назначения изменяются в широких пределах (от нескольких сотен кГс до единиц и менее кГс). Работа указанных двигателей с заданными параметрами обеспечивается системами наддува топливных баков и подачи топлива к входам двигателей.
Известны системы наддува топливных баков горючего и окислителя двигательной установки КЛА (см., например, журнал №7 «Авиация и космонавтика», М., Воениздат, 1978 г., стр.36, 37, рис.2). Система содержит источники газа – баллоны высокого давления, сообщенные пневмомагистралями с газовыми полостями топливных баков горючего и окислителя, и установленные на пневмомагистралях пускоотсечные клапаны и газовые редукторы. В таких системах выдавливание топлива из топливных баков производят газом, например азотом или гелием, закачанным в баллоны высокого давления на Земле перед стартом. Понижение давления до необходимого рабочего давления производят посредством газовых редукторов, имеющих значительный перепад давления, что усложняет их конструкцию и работу.
Недостатками аналогов системы наддува топливных баков является низкая надежность и малая эффективность из-за отсутствия подогрева и терморегулирования газа, поступающего в полость наддува топливных баков.
Известна также система наддува топливных баков (см., например, патент России №2143579 с приоритетом от 31.08.1998 г., кл. F02K 9/50), выбранная в качестве прототипа, которая содержит баллоны высокого давления, связанные пневмомагистралями с газовыми полостями соответствующих топливных баков горючего и окислителя и установленные на пневмомагистралях дроссельные устройства, пускоотсечные клапаны, газовые редукторы и предохранительные клапаны, сообщенные на выходе с безмоментным устройством. Выдавливание топлива из топливных баков производят газом, например азотом или гелием, закачанным в баллоны высокого давления (порядка 350 кГс/см2) на Земле перед стартом. Понижение давления до необходимого рабочего давления (порядка до 10 кГс/см2) производят ступенчатым способом: до 30 кГс/см2 посредством дроссельного устройства с последующим понижением до рабочего давления 10 кГс/см2 посредством газового редуктора. Такое понижение давления улучшает условия работы газового редуктора, но также, как и в выше указанном аналоге, газ поступает в арматуру и газовые полости топливных баков со значительно пониженной температурой (в результате эффекта дросселирования), что отрицательно сказывается, как на арматуре, так и на конструкции и работе топливных баков, содержащих эластичную перекладную мембрану, контактирующую с выдавливаемым топливом.
Недостатками прототипа системы наддува топливных баков так же, как и у аналогов, являются низкая надежность и малая эффективность из-за отсутствия подогрева и терморегулирования газа, поступающего в полость наддува топливных баков.
Задачей настоящего изобретения является создание такой системы наддува топливных баков, которая обладала бы возможностью подогрева и стабильного поддержания заданной температуры газа надуваемого в газовую полость топливных баков, что обеспечит повышение надежности и эффективности работы системы.
Технический результат достигается за счет того, что в систему наддува топливных баков, содержащую баллоны высокого давления, связанные пневмомагистралями с газовыми полостями топливных баков горючего и окислителя, и, установленные на пневмомагистралях дроссельные устройства, пускоотсечные клапаны, газовые редукторы и предохранительные клапаны, сообщенные на выходе с безмоментным устройством, введен подогреватель, выполненный в виде многоконтурного теплообменника, подключенного к бортовой системе терморегулирования, каждый контур которого включен в соответствующую пневмомагистраль после дроссельного устройства, установленного на выходе из баллона высокого давления, причем подогреватель снабжен дополнительными теплообменными контурами, выполненными в виде змеевиков, размещенных в кожухе теплообменника, при этом дополнительные теплообменные контуры включены в соответствующие пневмомагистрали перед предохранительными клапанами.
Технический результат достигается тем, что по сравнению с известными техническими решениями предлагаемая система наддува топливных баков горючего и окислителя, при использовании, например, в ДУ КЛА типа «Прогресс» обеспечивает повышение надежности и эффективности системы за счет введения подогрева газа, как после дросселирования, так и после прохождения газового редуктора на входе в предохранительные клапаны и в газовые полости топливных баков, что подтверждено испытаниями опытных образцов, изготовленных с использованием предлагаемого технического решения.
Использование предлагаемой системы наддува топливных баков, например, на космическом орбитальном комплексе типа «МКС»-«Прогресс»-«Шатлл» позволит дать значительный экономический эффект за счет повышения надежности и эффективности путем введения подогрева газа после дроссельных устройств и дополнительно после газовых редукторов на входе в предохранительные клапаны и в газовые полости топливных баков горючего и окислителя.
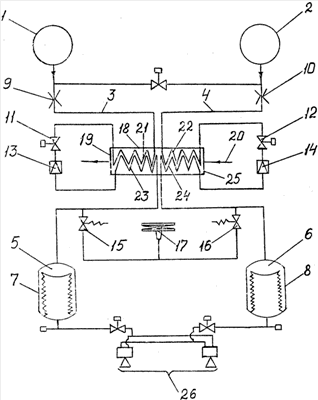
Сущность изобретения поясняется чертежом. Система наддува топливных баков содержит следующие основные узлы и агрегаты: баллоны высокого давления 1, 2, связанные соответственно пневмомагистралями 3, 4 с газовыми полостями 5, 6 соответствующих топливных баков горючего 7 и окислителя 8, и установленные на пневмомагистралях 3, 4 соответствующие им дроссельные устройства 9, 10, пускоотсечные клапаны 11, 12, газовые редукторы 13, 14 и предохранительные клапаны 15, 16, сообщенные на выходе с безмоментным устройством 17. Система снабжена подогревателем 18, выполненным в виде многоконтурного теплообменника 19, подключенного к бортовой системе терморегулирования (СТР) 20, каждый контур 21, 22 которого включен в соответствующую пневмомагистраль 3, 4 после дроссельного устройства 9, 10, установленного на выходе из баллона высокого давления 1, 2. В состав подогревателя 18 дополнительно введены теплообменные контуры 23, 24, выполненные в виде змеевиков, размещенных в кожухе 25 теплообменника 19. Дополнительные теплообменные контуры 23, 24 включены в соответствующие пневмомагистрали 3, 4 перед предохранительными клапанами 15, 16. Дроссельные устройства 9, 10 выполнены, например, в виде дроссельных шайб, а безмоментное устройство 17 – в виде пустотелого диска с равномерно и диаметрально расположенными по периметру диска отверстиями, сечения которых равны (одинаковы по форме), или в виде безмоментного сопла. Безмоментное устройство 17 используют для исключения реактивных нагрузок, воздействующих на КЛА при сбросе газа через предохранительные клапаны 15, 16.
Работает система наддува топливных баков следующим образом. Для выдавливания и подачи топлива к потребителю, например, к РД КЛА 26 из топливных баков горючего 7 и окислителя 8 открывают пускоотсечные клапаны 11, 12 и газ, например гелий, из баллонов высокого давления 1, 2 (с давлением порядка 350 кГс/см2) проходит через дроссельные устройства 9, 10, где в процессе дросселирования наряду с понижением давления (порядка 350 кГс/см2) значительно понижается температура газа. Охлажденный газ далее поступает в контуры 21, 22 теплообменника 19, где за счет нагрева от СТР 20 подогревается до заданной температуры, после чего через пускоотсечные клапаны 11, 12 поступает в газовые редукторы 13, 14, вторично понижающие давление газа до заданного 10 кГс/см2 и необходимого для выдавливания топлива из топливных баков 7, 8 и подачи его к РД КЛА 26, при этом за счет нагрева улучшаются условия работы газовых редукторов 13, 14 и клапанов 11, 12. В результате вторичного понижения давления газа происходит также охлаждение его, что неблагоприятно сказывается на работе предохранительных клапанов 15, 16, сообщенных на выходе с безмоментным устройством 17, а также отрицательно воздействует на конструкцию топливных баков 7, 8 и состояние хранящегося в них топлива, подаваемого к потребителю. Для исключения указанных недостатков в состав подогревателя 18 дополнительно введены теплообменные контуры 23, 24, выполненные в виде змеевиков, размещенных в кожухе 25 теплообменника 19, при этом дополнительные теплообменные контуры 23, 24 включены в соответствующие пневмомагистрали 3, 4 перед предохранительными клапанами 15, 16 на входе в газовые полости 5, 6 топливных баков 7, 8. Таким образом, вторично охлажденный газ после газовых редукторов 13, 14 поступает в дополнительные контуры 23, 24, где дополнительно подогревается до заданной температуры, необходимой для нормальной работы указанной арматуры и топливных баков. Подогретый до заданной температуры газ из дополнительных теплообменных контуров 23, 24 поступает в газовые полости 5, 6 топливных баков 7, 8, из которых производится выдавливание и подача топлива к потребителю, например, к РД КЛА 26. Итак, введение в состав системы подогревателя 18 и дополнительных теплообменных контуров 23, 24 с включением их в их пневмомагистрали 3, 4 согласно предлагаемого технического решения позволяет повысить надежность и эффективность системы наддува топливных баков за счет подогрева и стабильного поддержания заданной температуры газа, наддуваемого в газовую полость 5, 6 топливных баков 7, 8, что обеспечивает выполнение поставленной задачи.
Формула изобретения
Система наддува топливных баков, содержащая баллоны высокого давления, связанные пневмомагистралями с газовыми полостями соответствующих топливных баков горючего и окислителя, и установленные на пневмомагистралях дроссельные устройства, пускоотсечные клапаны, газовые редукторы и предохранительные клапаны, сообщенные на выходе с безмоментным устройством, отличающаяся тем, что в нее введен подогреватель, выполненный в виде многоконтурного теплообменника, подключенного к бортовой системе терморегулирования, каждый контур которого включен в соответствующую пневмомагистраль после дроссельного устройства, установленного на выходе из баллона высокого давления, причем подогреватель снабжен дополнительными теплообменными контурами, выполненными в виде змеевиков, размещенных в кожухе теплообменника, при этом дополнительные теплообменные контуры включены в соответствующие пневмомагистрали перед предохранительными клапанами.
РИСУНКИ
|
|