|
|
(21), (22) Заявка: 2007108820/06, 09.03.2007
(24) Дата начала отсчета срока действия патента:
09.03.2007
(46) Опубликовано: 27.11.2008
(56) Список документов, цитированных в отчете о поиске:
FR 2713701 A1, 16.06.1995. US 1732818 A, 22.10.1929. EP 0243559 A1, 27.08.1986. US 4220219 A, 02.09.1980. SU 1554486 A1, 27.11.1985.
Адрес для переписки:
424000, Республика Марий Эл, г.Йошкар-Ола, пл. Ленина, 3, отдел интеллектуальной собственности МГТУ
|
(72) Автор(ы):
Царев Евгений Михайлович (RU)
(73) Патентообладатель(и):
Государственное образовательное учреждение высшего профессионального образования Марийский государственный технический университет (RU)
|
(54) ГЛУШИТЕЛЬ
(57) Реферат:
Изобретение относится к двигателям внутреннего сгорания и может быть использовано для снижения шума выхлопных газов. Глушитель содержит цилиндрический корпус с торцами, входной и выходной патрубки, которые внутри корпуса помещены в промежуточные стаканы, выполненные в виде полых цилиндров, один из свободных концов которых заглушен заглушкой. Глушитель содержит перегородку, выполненную в виде пластины с диаметром, равным внутреннему диаметру корпуса, и имеющей перфорацию на половине площади. На теле промежуточных стаканов, а также на входном и выходном патрубках, перпендикулярно их осям, выполнены пазы, в которые вмонтированы расположенные в шахматном порядке пластины в виде половинок круга. Перегородка установлена между промежуточными стаканами на стержне, закрепленном на заглушке одного стакана. Такое выполнение позволяет снизить уровень шума выхлопных газов двигателя. 4 ил.
Изобретение относится к двигателям внутреннего сгорания и может быть использовано для снижения звука выхлопных газов при выбросе их в атмосферу.
Известны технические решения (а.с. №800397, №1036941, №1108227, №1138528, №1370263, RU 2224896, RU 2276735), содержащие корпус, впускную и выпускную трубы, перегородки.
Основными недостатками их является громоздкость конструкции.
Наиболее близким по технической сущности является устройство (заявка Франции №2713701, МПК F01N 1/08), содержащее корпус, выполненный в виде полого цилиндра с торцами, входной и выходной патрубки, которые внутри корпуса помещены в промежуточные стаканы, выполненные в виде полых цилиндров, один из свободных концов которых заглушен заглушкой.
Основным недостатком этого устройства является недостаточное шумоглушение.
Задачей, решаемой заявителем, является повышение эффективности шумоглушения.
Поставленная цель достигается тем, что глушитель снабжен перегородкой, выполненной в виде пластины с диаметром, равным внутреннему диаметру корпуса, имеющей перфорацию на половине площади, на теле промежуточных стаканов, а также на входном и выходном патрубках, перпендикулярно их осям, выполнены пазы, в которые жестко вмонтированы расположенные в шахматном порядке пластины в виде половинок круга, при этом перегородка установлена между промежуточными стаканами на стержне, закрепленном на заглушке одного стакана.
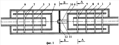
Изобретение поясняется чертежами, где на фиг.1 показан вид сбоку (сечение), на фиг.2 показан вид сверху и движение газов внутри устройства (сечение), а на фиг.3 – поперечное сечение, на фиг.4 показано поперечное сечение.
Глушитель состоит из корпуса 1, изготовленного в виде полого цилиндра, с торцов которого закреплены входной 2 и выходной 3 патрубки, а внутри корпуса 1 они помещены в промежуточные стаканы 4 и 5, выполненные в виде полых цилиндров, один из свободных концов которых заглушен заглушками 6, при этом на теле промежуточных стаканов 4 и 5, а также на входном 2 и выходном 3 патрубках, перпендикулярно их осям, в шахматном порядке выполнены пазы 7, в которые жестко вмонтированы цилиндрические пластины 8 и 9 в виде половинок круга, а между промежуточными стаканами 4 и 5 на стержне 10, закрепленном на заглушке 6 одного из стаканов с наружной стороны, установлена перегородка 11 в виде пластины диаметром, равным внутреннему диаметру корпуса 1, с перфорацией 12, выполненной на половине ее площади.
Устройство работает следующим образом. От двигателя внутреннего сгорания газы подаются во входной 2 патрубок устройства. Они проходят по нему, огибая расположенные в шахматном порядке пластины 8, и переходят вовнутрь промежуточного стакана 4, а затем вовнутрь корпуса 1, где, перемещаясь, огибают те же самые пластины 8.
Далее, перемещаясь, внутри корпуса 1 они проходят сквозь отверстия перегородки 11 и заходят в промежуточный стакан 5, а затем в выходной патрубок 3, огибая встречающиеся на пути уже свои пластины 9.
При этом за счет применения данного устройства значительно снижается уровень шума выхлопных газов и уменьшаются его габариты.
Формула изобретения
Глушитель шума преимущественно двигателя внутреннего сгорания, содержащий корпус в виде полого цилиндра, входной и выходной патрубки, которые внутри корпуса помещены в промежуточные стаканы, выполненные в виде полых цилиндров, один из свободных концов которых заглушен заглушкой, отличающийся тем, что глушитель снабжен перегородкой, выполненной в виде пластины с диаметром, равным внутреннему диаметру корпуса, и имеющей перфорацию на половине площади, на теле промежуточных стаканов, а также на входном и выходном патрубках, перпендикулярно их осям, выполнены пазы, в которые жестко вмонтированы расположенные в шахматном порядке пластины в виде половинок круга, при этом перегородка установлена между промежуточными стаканами на стержне, закрепленном на заглушке одного стакана.
РИСУНКИ
|
|