|
|
(21), (22) Заявка: 2007100635/06, 09.01.2007
(24) Дата начала отсчета срока действия патента:
09.01.2007
(46) Опубликовано: 27.11.2008
(56) Список документов, цитированных в отчете о поиске:
RU 2287709 C2, 07.02.2005. SU 901805 A1, 30.01.1982. SU 703368 A1, 15.12.1979. SU 826189 A1, 30.04.1981. RU 2056606 C1, 21.01.1993. SU 1806275 A3, 30.03.1993.
Адрес для переписки:
305040, г.Курск, ул. 50 лет Октября, 94, КурскГТУ, ОИС
|
(72) Автор(ы):
Ежов Владимир Сергеевич (RU)
(73) Патентообладатель(и):
Государственное образовательное учреждение высшего профессионального образования “Курский государственный технический университет” (RU)
|
(54) МУЛЬТИТЕПЛОТРУБНЫЙ ДВИГАТЕЛЬ
(57) Реферат:
Изобретение относится к теплоэнергетике и может быть использовано для утилизации вторичных энергоресурсов. Мультитеплотрубный двигатель включает корпус, внутри которого по ходу движения пара расположены испарительная камера, состоящая из вертикальных испарительных гильз и сепарационной секции, внутренняя поверхность которых частично покрыта полосами пористого материала (фитиля), образующими между собой канавки, и сплошным слоем того же фитиля, в которой расположены распределительные коллекторы, снабженные форсунками, размещенными в центре входа в испарительные гильзы, отделенная снизу глухой перегородкой, покрытой фитилем и сепарационным элементом, рабочая камера, заполненная другим фитилем, через боковые стенки которой и слои фитиля насквозь пропущен вал, снабженный силовой турбиной и питательными насосами, соединенными с резервуарами рабочей жидкости и разбрызгивающими форсунками, соединенная с испарительной камерой через паровое сопло, а через патрубок мятого пара с конденсационной камерой, состоящей из распределительной секции, днище которой через отверстия соединено с конденсационными гильзами, дно которых, в свою очередь, соединено с фитилем рабочей камеры подъемными фитилями, причем выходной конец вала соединен с рабочим органом. Изобретение позволяет повысить эффективность теплового двигателя. 5 ил.
Предлагаемое изобретение относится к теплоэнергетике и может быть использовано для утилизации вторичных тепловых энергоресурсов и низкопотенциальной тепловой энергии природных источников, а именно для трансформации тепловой энергии в другие виды энергии.
Известно устройство (тепловой двигатель) для утилизации тепла огнетехнического агрегата, содержащее последовательно соединенные между собой парогенератор (испарительную камеру), подключенный к огнетехническому агрегату (горячей среде), силовую турбину, конденсатор (конденсационную камеру), питательный насос, подогреватель и воздушный теплообменник [1].
Основными недостатками известного устройства (теплового двигателя) являются невозможность утилизации низкопотенциальных вторичных тепловых энергоресурсов, тепловых ресурсов природных источников, громоздкость конструкции и невозможность работы при изменении ориентации в пространстве, что сужает область его применения и, в конечном счете, снижает его эффективность.
Более близким к предлагаемому изобретению является теплотрубный двигатель, который содержит помещенные в одном корпусе, последовательно соединенные между собой: испарительную камеру с канавками, находящуюся в контакте с горячей средой, адиабатно-изоэнтропную (рабочую) камеру, конденсационную камеру, находящуюся в контакте с холодной средой, питательный насос, при этом испарительная камера отделена от рабочей глухой перегородкой с вогнутым перфорированным сепарационным элементом, боковые стенки ее, глухая перегородка и крышка изнутри покрыты фитилем и слоем пористого материала, в рабочей камере стены корпуса также покрыты изнутри фитилем, а через боковые стены ее и фитиль насквозь пропущен вал, на который насажено колесо силовой турбины с лопатками, помещенной в корпус турбины, сообщающийся с испарительной камерой через паровое сопло, патрубок мятого пара, с конденсационной камерой, боковые стенки которой также покрыты изнутри фитилем, являющимся продолжением фитиля рабочей камеры, при этом один конец вала соединен с рабочим органом, а на другой насажен ротор питательного насоса, который сообщается с цилиндрическим резервуаром рабочей жидкости, размещенным в толще фитиля и сообщающимся с ним через поры фитиля на своей наружной поверхности, по центральной оси которого проходит вал, а с испарительной камерой питательный насос соединен напорным трубопроводом, снабженным на конце форсункой [2].
Основным недостатком известного теплотрубного двигателя является невозможность его использования ввиду малой мощности (меньше 1 кВт) при утилизации низкопотенциального тепла вторичных и природных источников в промышленных масштабах, что сужает область его применения и снижает эффективность.
Техническим результатом, на решение которого направлено предлагаемое изобретение, является увеличение мощности теплотрубного двигателя и связанные с этим возможность его применения в промышленных масштабах при утилизации тепла (в том числе и низкопотенциального) в различных отраслях народного хозяйства и повышение эффективности.
Технический результат достигается в мультитеплотрубном двигателе (МТТД), включающем корпус, внутри которого по ходу движения пара расположены испарительная камера, состоящая из вертикальных испарительных гильз, внутренняя поверхность которых частично покрыта полосами пористого материала (фитиля), образующими между собой канавки, и соединенных открытым торцом с сепарационной секцией, внутренняя поверхность которой также покрыта сплошным слоем того же фитиля и в которой расположены передний и задний распределительные коллекторы, снабженные форсунками, размещенными в центре входа в испарительные гильзы, отделенная снизу глухой перегородкой, покрытой фитилем с перфорированным сепарационным элементом, выполненным в виде треугольной призмы, рабочая камера, заполненная другим фитилем, через боковые стенки которой и слои фитиля насквозь пропущен вал, на который насажено колесо силовой турбины, помещенной в корпус турбины, сообщающийся с испарительной камерой через паровое сопло, а через патрубок мятого пара с конденсационной камерой, состоящей из распределительной секции, днище которой через отверстия соединено с конденсационными гильзами, дно которых, в свою очередь, соединено с фитилем рабочей камеры подъемными фитилями, проходящими через центр конденсационных гильз, не касаясь внутренней поверхности их стенок, причем на наружной поверхности боковых стенок рабочей камеры устроены передний и задний питательные насосы, соединенные через всасывающие отверстия с передним и задним резервуарами рабочей жидкости, представляющими собой цилиндрические полости, размещенные в фитиле рабочей камеры и сообщающиеся с ним через поры в наружной поверхности, по центральной оси которых проходит вал, на который насажены роторы питательных насосов, соединенных через напорные трубопроводы с передним и задним коллекторами испарительной камеры, а выходной конец вала соединен также с рабочим органом.
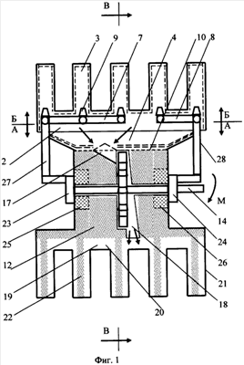
На фиг.1, 2 представлен общий вид предлагаемого мультитеплотрубного двигателя, на фиг.3 – внутренняя поверхность испарительных гильз 3, на фиг.4 – план размещения гильз 3 и распределительных коллекторов 7 и 8, на фиг.5 – нижняя поверхность испарительной камеры 2.
МТТД состоит из корпуса 1, внутри которого по ходу движения пара расположены испарительная камера 2, состоящая из испарительных гильз 3, соединенных своими открытыми торцами с крышкой сепарационной секции 4, внутренняя поверхность которых покрыта полосами пористого материала (фитиля) 5, образующими между собой канавки 6, и сплошным слоем фитиля 5, в которой размещены передний и задний распределительные коллекторы 7 и 8, соответственно, снабженные форсунками 9, размещенными в центре входа в испарительные гильзы 3, отделенная снизу глухой перегородкой 10, также покрытой слоем фитиля 5, с перфорированным сепарационным элементом 11, выполненным в виде треугольной призмы 9, рабочая камера 12, заполненная своим фитилем 13, через боковые стенки которой и фитиль 13 насквозь пропущен вал 14, на который насажено колесо силовой турбины 15, помещенной в корпус турбины 16, сообщающийся с испарительной камерой 2 через паровое сопло 17, соединенное со стыковочной кромкой перегородки 10, а через патрубок мятого пара 18 с конденсационной камерой 19, состоящей из распределительной секции 20, днище которой через отверстия соединено с конденсационными гильзами 21, дно которых, в свою очередь, соединено с фитилем 13 подъемными фитилями 22, проходящими через центр конденсационных гильз 21, не касаясь поверхности их внутренних стенок, причем на наружной поверхности торцевых стенок рабочей камеры 12 устроены передний и задний питательные насосы 23 и 24, соответственно соединенные через всасывающие отверстия с передним и задним резервуарами рабочей жидкости 25 и 26, представляющими собой цилиндрические полости, размещенные в фитиле 13 и сообщающиеся с ним через поры в наружной поверхности, по центральной оси которых проходит вал 14, на который насажены роторы насосов 23 и 24, соединенные через напорные трубопроводы 27 и 28 с передним и задним коллекторами 7 и 8 испарительной камеры 2 соответственно, а выходной конец вала 14 соединен также с рабочим органом (на фиг.1 не показан).
В основе работы предлагаемого МТТД лежит основной цикл паросиловой установки – цикл Ренкина, согласно которому положительная работа расширения пара в турбине значительно превышает отрицательную работу насоса по сжатию конденсата [3, с.117], и высокая эффективность передачи теплоты в тепловых трубах, обусловленная высокими значениями коэффициента теплопередачи в процессах испарения и конденсации [4, с.146], которые делятся на три участка: зона испарения (подвода теплоты), адиабатная зона (переноса теплоты) и зона конденсации (отвода теплоты), покрытых изнутри фитилем и частично заполненных рабочей жидкостью-переносчиком теплоты, в качестве которой используются вода, спирты, хладоны, жидкие металлы и т.д. [5, с.106].
Предлагаемый МТТД работает следующим образом.
Предварительно перед началом работы из камер 2, 9, 17 МТТД удаляют воздух и закачивают рабочую жидкость, которую выбирают в зависимости от температурного потенциала холодной и горячей сред, отдельно в испарительную камеру 2 до полного насыщения фитиля 5 и совместно в рабочую и конденсационную камеры 12 и 19 соответственно (штуцера для удаления воздуха и подачи рабочей жидкости на фиг.1 не показаны), в количестве, достаточном для заполнения объема пор фитилей 13 и 22, резервуаров рабочей жидкости 25, 26, насосов 23, 24 и напорных трубопроводов 27, 28 с коллекторами 7 и 8, после чего корпус 1 МТТД устанавливают таким образом, чтобы испарительная камера 2 с испарительными гильзами 3 контактировала с горячей средой, а конденсационная камера 10 с конденсационными гильзами 21 – с холодной. В результате нагрева испарительных гильз 3 испарительной камеры 2 происходит испарение рабочей жидкости в канавках 6, находящейся в фитиле 5, который предотвращает образование паровой пленки на внутренней поверхности торца и таким образом интенсифицирует процесс испарения [6, с.22], образуется пар, создается давление в испарительной камере 2, полученный пар, проходя через перфорированный сепарационный элемент 11, освобождается от уносимых капель рабочей жидкости, которая отбрасывается на поверхность фитиля 5 и транспортируется им в испарительные гильзы 3, через паровое сопло 17 поступает на лопатки колеса силовой турбины 15, вращая его совместно с валом 14, который сообщает вращательное движение роторам питательных насосов 23 и 24 и вращающий момент М на рабочем конце вала 14, в результате чего в корпусе турбины 16 происходит изоэнтропное теплопадение пара с одновременным снижением его температуры и давления [3, с.331], после чего отработавший пар через патрубок мятого пара 18 попадает в конденсационную камеру 19 через распределительную секцию 20, где давление пара уменьшается еще в результате его дальнейшего расширения, откуда равномерно распределяется по конденсационным гильзам 21, конденсируется там за счет контакта наружной поверхности конденсационных гильз 21 с холодной средой, после чего образовавшийся конденсат всасывается подъемными фитилями 22 в поры фитиля 13, откуда под воздействием капиллярных сил и разрежения, создаваемого насосами 23 и 24, адиабатно [5, с.106] транспортируется в резервуары рабочей жидкости 25 и 26, откуда насосами 23 и 24 через напорные трубопроводы 27 и 28, коллекторы 7 и 8 и форсунки 9 под давлением, величина которого определяется рабочим давлением пара в испарительной камере 2, рабочая жидкость разбрызгивается по внутренней поверхности испарительных гильз 3, испаряется с поверхности канавок 6, в соответствии с вышеописанным процессом цикл повторяется. При этом парная установка питательных насосов 23 и 24, резервуаров 25 и 26, напорных трубопроводов 27 и 28 коллекторов 7 и 8 с форсунками 9 обусловлена необходимостью обеспечения равномерной нагрузки на фитиль 13 и равномерного распределения рабочей жидкости в испарительные гильзы 3.
Таким образом, конструкция предлагаемого МТТД обеспечивает возможность получения механической энергии за счет утилизации вторичных тепловых энергоресурсов различного потенциала (энергии сбросных вод, отходящих газов и т.д.), тепловых ресурсов природных источников (энергии солнца, воды и т.д.) в значительном количестве (на несколько порядков больше, чем в известном теплотрубном двигателе (ТТД) [2] за счет многократного увеличения площади контакта с горячей и холодной средами) при любой ориентации в пространстве, что позволяет использовать его в промышленных масштабах и обеспечивает его высокую эффективность в различных отраслях народного хозяйства.
ЛИТЕРАТУРА
1. А.с. №769038, Мкл. F01K 17/06, 1980.
2. Патент РФ №2287709, МПК F/01K 25/00, 2006.
3. И.Н.Сушкин. Теплотехника. – М.: Металлургия, 1973, 480 с.
4. А.Н.Плановский, П.И.Николаев. Процессы и аппараты химической и нефтехимической технологии. – М.: Химия, 1987, 496 с.
5. В.В.Харитонов и др. Вторичные теплоэнергоресурсы и охрана окружающей среды. – Минск: Выш. школа, 1988, 170 с.
6. Тепловые трубы и теплообменники: от науки к практике. Сборник научн. трудов. М.: – 1990, 157 с.
Формула изобретения
Мультитеплотрубный двигатель, содержащий помещенные в одном корпусе, последовательно соединенные между собой испарительную камеру, снабженную канавками и покрытую изнутри пористым материалом (фитилем), отделенную снизу глухой перегородкой, также покрытой фитилем с перфорированным элементом, в которую помещен напорный трубопровод с форсункой, контактирующей с горячей средой, рабочую камеру, заполненную фитилем, в которую помещены цилиндрический резервуар рабочей жидкости, размещенные на одном валу силовая турбина, питательный насос и рабочий орган, конденсационную камеру с фитилем, находящуюся в контакте с холодной средой, отличающийся тем, что испарительная камера снабжена испарительными гильзами с канавками на внутренней поверхности, образованными промежутками между полосами фитиля, соединенными открытыми торцами с отверстиями в крышке сепарационной секции, распределительными коллекторами с форсунками, установленными в центре входа в каждую испарительную гильзу, перфорированным сепарационным элементом, выполненным в виде треугольной призмы, рабочая камера снабжена двумя резервуарами рабочей жидкости и двумя питательными насосами, конденсационная камера снабжена конденсационными гильзами, соединенными открытыми торцами с днищем распределительной секции, дно которых, в свою очередъ, соединено подъемными фитилями, пропущенными по центру каждой конденсационной гильзы, не касаясь ее стенок, с фитилем рабочей камеры.
РИСУНКИ
|
|