|
|
(21), (22) Заявка: 2007107273/03, 26.02.2007
(24) Дата начала отсчета срока действия патента:
26.02.2007
(46) Опубликовано: 27.11.2008
(56) Список документов, цитированных в отчете о поиске:
RU 2255211 С1, 27.06.2005. SU 1613587 А1, 15.12.1990. RU 2084625 С1, 20.07.1997. RU 2161698 С2, 10.01.2001. RU 2211311 С2, 27.08.2003. US 5458199 А, 05.05.1970.
Адрес для переписки:
423236, Республика Татарстан, г. Бугульма, ул. М. Джалиля, 32, “ТатНИПИнефть”, сектор создания и развития промышленной собственности
|
(72) Автор(ы):
Мусин Камиль Мугаммарович (RU), Салахов Линар Тагирович (RU), Страхов Дмитрий Витальевич (RU), Зиятдинов Радик Зяузятович (RU), Оснос Владимир Борисович (RU)
(73) Патентообладатель(и):
Открытое акционерное общество “Татнефть” им. В.Д. Шашина (RU)
|
(54) СКВАЖИННАЯ НАСОСНАЯ УСТАНОВКА ДЛЯ ДОБЫЧИ НЕФТИ И ЗАКАЧКИ ВОДЫ В ПЛАСТ
(57) Реферат:
Изобретение относится к нефтегазодобывающей промышленности и может быть использовано для добычи нефти и утилизации попутно добываемой воды. Обеспечивает повышение качества скважинной сепарации водогазонефтяной смеси на жидкие фазы, а также снижение затрат на потребляемую электроэнергию с возможностью регулируемого отбора нефти из скважины. Сущность изобретения: скважинная насосная установка для добычи нефти и закачки воды в пласт содержит насосы, выполненные плунжерными с возможностью их последовательного расположения в скважине. При этом устьевой привод насосов выполнен с возможностью осуществления возвратно-поступательного перемещения. Каждый из плунжерных насосов имеет входные и выходные устройства, со штоками. Установка также содержит пакер, имеющий возможность расположения между пластами. При этом верхний пласт – это обводненный продуктивный пласт для добычи водогазонефтяной смеси. Нижний пласт служит для приема воды. Входное устройство расположено ниже верхнего насоса и выполнено в виде цилиндрической емкости с верхним боковым отверстием, герметично вставленным внутрь сверху входным патрубком верхнего насоса. Нижний насос выполнен в виде цилиндра, герметично вставленного в канал пакера с полым плунжером, шток которого выполнен полым и жестко соединен с емкостью. Входное устройство нижнего насоса выполнено из двух устройств, первое из которых выполнено в виде обратного клапана, сообщающего низ полого штока с внутри-скважинным пространством, а второе – в виде заглушенного сверху патрубка с боковым каналом вверху, сообщающим полый шток с входным патрубком верхнего насоса выше емкости. При этом площадь кольцевого сечения между входным патрубком, трубкой и емкостью выбрана таким образом, что максимальная скорость течения водонефтяной смеси вниз в этом сечении превышает скорость всплытия нефти в воде не более, чем в два раза, а минимальный объем входного патрубка между боковым каналом заглушенного патрубка и верхним насосом должен быть не менее половины объема жидкости, поступающей в верхний насос при всасывании. 1 ил.
Изобретение относится к нефтегазодобывающей промышленности и может быть использовано для добычи нефти и утилизации попутно добываемой воды.
Известно устройство для добычи нефти из обводненного продуктивного пласта (патент RU №2190094, МПК 7 Е21В 43/38, С02F 1/48, опубл. в бюл. №27 от 27.09.2002 г.), содержащее колонну насосно-компрессорных труб, два винтовых насоса с общим валом, приемную камеру, размещенную напротив продуктивного интервала, пакер, изолирующий продуктивный пласт, при этом устройство снабжено омагничивателями, установленными в приемной камере, куда поступает водогазонефтяная смесь из продуктивного пласта, при этом общий вал винтовых насосов выполнен магнитным, при этом омагничиватели винтовых насосов обладают разными магнитными свойствами, для чего они выполнены со ступенчатой внутренней поверхностью и установлены на верхнем насосе расширенной частью вверх, а на нижнем насосе – расширенной частью вниз, при этом омагничиватели установлены каждый с возможностью ограниченного осевого перемещения и фиксации относительно приема насоса, причем длина входного омагничивателя выбрана не менее длины перфорированной части обсадной колонны.
Наиболее близкой по технической сущности является скважинная насосная установка для добычи нефти и закачки воды в пласт (патент RU №2284410, МПК 7 Е21В 43/40, 43/14, опубл. в бюл. №27 от 27.09.2006 г.), содержащая насосы с возможностью их последовательного расположения в скважине и имеющих входные и выходные устройства, привод насосов и пакер, имеющий возможность расположения между пластами в скважине, один из которых с водонефтяной смесью, а другой, нижний – для приема воды, при этом скважинная насосная установка содержит винтовые насосы с их приводом на поверхности и полированный шток с сальником, соединяющим червячный вал верхнего насоса с червячным валом нижнего насоса, входное устройство которого имеет радиальные отверстия для поступления водной фазы из водонефтяной смеси и пазы, при этом нижний насос имеет кожух, образующий канал для нагнетания воды в нижний пласт через этот канал, и пазы входного устройства нижнего насоса при том же вращении червячного вала.
Как аналогу, так и прототипу в той или иной степени присущи общие недостатки:
во-первых, необходимо заранее подбирать соотношение подач винтовых насосов, которые не регулируются в процессе эксплуатации в зависимости от соотношения долей нефти и воды в пластовой жидкости, которые изменяются в процессе эксплуатации, а это не позволяет эффективно вести отбор продукции, то есть в добываемой нефти может быть вода и, наоборот, в воде, которую закачивают в пласт, может быть нефть;
во-вторых, низкая степень сепарации скважинной водогазонефтяной смеси, которая происходит только в межколонном пространстве скважины на приеме насоса, что не позволяет качественно разделить водогазонефтяную смесь на легкую (нефть) и тяжелую (воду) жидкие фазы,
в-третьих, высокое потребление электроэнергии винтовыми насосами.
Технической задачей изобретения является повышение качества скважинной сепарации водогазонефтяной смеси на жидкие фазы, а также снижение затрат на потребляемую электроэнергию с возможностью регулируемого отбора нефти из скважины.
Поставленная техническая задача решается скважинной насосной установкой для добычи нефти и закачки воды в пласт, содержащей насосы с возможностью их последовательного расположения в скважине и имеющие входные и выходные устройства, устьевой привод насосов, соединенный штоками с ними, и пакер, имеющий возможность расположения между пластами в скважине, один из которых с водонефтяной смесью, а другой, нижний – для приема воды, при этом входное устройство расположено ниже верхнего насоса, а выходное устройство нижнего насоса выполнено в виде канала, проходящего через пакер, для нагнетания воды в нижний пласт.
Новым является то, что насосы выполнены плунжерными, привод – с возможностью осуществления возвратно-поступательного перемещения, причем входное устройство верхнего насоса выполнено в виде цилиндрической емкости с верхним боковым отверстием и герметично вставленным внутрь сверху входным патрубком верхнего насоса, при этом нижний насос выполнен в виде цилиндра, герметично вставленного в канал пакера, с полым плунжером, полый шток которого жестко соединен с емкостью, причем входное устройство нижнего насоса выполнено из двух устройств, первое из которых выполнено в виде обратного клапана, сообщающего низ полого штока с внутрискважинным пространством, а второе – в виде заглушенного сверху патрубка с боковым каналом вверху, сообщающим полый шток с входным патрубком верхнего насоса выше емкости, при этом площадь кольцевого сечения между входным патрубком трубкой и емкостью выбрана таким образом, что максимальная скорость течения водонефтяной смеси вниз в этом сечении превышает скорость всплытия нефти в воде не более, чем в два раза, а минимальный объем входного патрубка между боковым каналом заглушенного патрубка и верхним насосом должен быть не менее половины объема жидкости, поступающей в насос при всасывании.
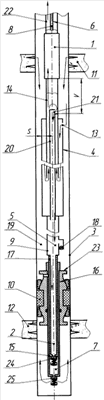
На чертеже схематично изображена конструкция предлагаемой скважинной насосной установки для добычи нефти и закачки воды в пласт.
Скважинная насосная установка для добычи нефти и закачки воды в пласт содержит насосы 1 и 2, выполненные плунжерными с возможностью их последовательного расположения в скважине 3, причем устьевой привод (не показан) насосов 1 и 2 выполнен с возможностью осуществления возвратно-поступательного перемещения.
Каждый из плунжерных насосов 1 и 2 имеет входные 4 и 5 и выходные 6 и 7 устройства соответственно, а также штоки 8 и 9 соответственно. Установка также содержит пакер 10, имеющий возможность расположения между пластами 11 и 12, причем верхний 11 – это обводненный продуктивный пласт, откуда производится добыча водогазонефтяной смеси, а нижний 12 – пласт для приема воды.
Входное устройство 4 верхнего насоса 1 расположено ниже его и выполнено в виде цилиндрической емкости с верхним боковым отверстием 13, и герметично вставленным внутрь сверху входным патрубком 14 верхнего насоса 1. Нижний насос 2 выполнен в виде цилиндра 15, герметично вставленного в канал 16 пакера 10 с полым плунжером 17, шток 9 которого выполнен полым и жестко соединен с цилиндрической емкостью 4.
Входное устройство 5 нижнего насоса 2 выполнено из двух устройств, первое из которых выполнено в виде обратного клапана 18, сообщающего низ полого штока 9 с внутрискважинным пространством 19, а второе – в виде заглушенного сверху патрубка 20 с боковым каналом 21 вверху, сообщающим полый шток 9 с входным патрубком 14 верхнего насоса 1 выше цилиндрической емкости 4.
Устройство работает следующим образом.
Сначала в скважину 3, например, на технологической колонне насосно-компрессорных труб (не показано) спускают цилиндр 15 нижнего насоса 2, на наружной поверхности которого герметично зафиксирован пакер 10, и устанавливают его между пластом 11, из которого производят откачку обводненной продукции (водогазонефтяной смеси), и пластом 12, в которой производят закачку воды (например, поглощающим). После этого производят посадку и запакеровку пакера 10, после чего технологическую колонну насосно-компрессорных труб извлекают из скважины 3.
Далее в скважину 3 на колонне НКТ 22 в сборе спускают оставшуюся часть устройства до тех пор, пока полый плунжер 17 нижнего насоса 2 герметично не войдет в цилиндр 15 нижнего насоса 2 и не упрется в его верхний торец 23.
Запускают устройство в работу, при этом в качестве плунжерных насосов 1 и 2 применяются обычные штанговые глубинные насосы (ШГН) любой известной конструкции, причем плунжер (не показан) верхнего насоса 1, соединенный со штоком 8, под действием привода совершает осевое возвратно-поступательное перемещение.
Полый плунжер 17 нижнего насоса 2 жестко соединен с колонной насосно-компрессорных труб 22, посредством полого штока 9, емкости 4 и входного патрубка 14 с корпусом верхнего насоса 1 и совершает осевое возвратно-поступательное перемещение за счет растяжения-сжатия колонны насосно-компрессорных труб 22, происходящего в результате работы устройства, при этом цилиндр 15 нижнего насоса 2 остается неподвижным благодаря пакеру 10, который запакерован в скважине 3.
В процессе работы устройства водогазонефтяная смесь из обводненного продуктивного пласта 11 поступает во внутрискважинное пространство 19 скважины 3, где под действием сил гравитации происходит разделение водогазонефтяной смеси на жидкие фазы и газ. Газ по внутрискважинному пространству 19 между колонной насосно-компрессорных труб 22 и скважиной 3 поднимается на поверхность. Жидкие фазы разделяются, причем более тяжелая жидкая фаза (вода) оседает вниз, а более легкая (нефть) поднимается наверх. Нефть вместе с остатками воды, неотделившейся от нефти, во внутрискважинном пространстве 19 через верхнее боковое отверстие 13 попадает в емкость 4 и по кольцевому сечению между наружной стенкой емкости 4 и входного патрубка 14 верхнего насоса опускается вниз. В определенный момент поток жидкости изменяет направление движения на 360° и попадает в кольцевое пространство между входным патрубком 14 и заглушенным сверху патрубком 20, по которому поднимается вверх до тех пор, пока не выйдет из емкости 4 и не попадет внутрь входного патрубка 14 верхнего насоса, при этом нефть, как более легкая фракция, всплывает вверх и попадает на прием верхнего насоса 1, а вода, как более тяжелая фракция, оседает вниз и через боковой канал 21, в который она попадает только сверху, поступает внутрь заглушенного сверху патрубка 20, по которому опускается вниз и поступает во входное устройство 5 нижнего насоса 2 внутрь полого штока 9.
Вода из внутрискважинного пространства 19 скважины 3 над пакером 10 через обратный клапан 18 поступает во входное устройство 5 нижнего насоса 2 внутрь полого штока 9, где соединяется с водой, поступающей из заглушенного сверху патрубка 20. Из полого штока 9 вода опускается вниз, заполняя полый плунжер 17, поступает на прием нижнего насоса 2. Для нормальной работы установки обратный клапан 18 выполнен из материала, плотность которого равна или чуть больше плотности тяжелой фракции (воды).
Работа устройства продолжается, при этом верхний насос 1 осуществляет откачку нефти из входного парубка 14, которая поднимается вверх по колонне насосно-компрессорных труб 22 на поверхность, а нижний насос 2 осуществляет откачку воды, находящейся внутри полого штока 9 в пласт 12.
При этом в процессе хода полого плунжера 17 вверх относительно цилиндра 15 нижнего насоса 2 его всасывающий клапан 24 открыт, а нагнетательный клапан 25 закрыт. В результате вода из полого плунжера 17 попадает внутрь цилиндра 15 под всасывающий клапан 24, то есть происходит цикл «всасывания». При ходе полого плунжера 17 вниз относительно цилиндра 15 нижнего насоса 2 всасывающий клапан 24 закрыт, а нагнетательный клапан 25 открыт. В результате вода из цилиндра 15 нижнего насоса 2 через нагнетательный клапан 25 поступает в пласт 12, который поглощает откачиваемую воду.
Непопадание нефти в боковой канал 21 заглушенного патрубка 20 в процессе работы установки обеспечивается конструктивными размерами установки, а именно площадь кольцевого сечения – s между входным патрубком 14 и емкостью 4 выбрана таким образом, что максимальная скорость течения водонефтяной смеси вниз в этом сечении превышает скорость всплытия нефти в воде не более, чем в два раза, а минимальный объем входного патрубка 14 между боковым каналом 21 заглушенного патрубка 20 и верхним насосом 1 должен быть не менее половины объема жидкости – V, поступающей в верхний насос 1 при всасывании.
В дальнейшем цикл работы устройства повторяется.
В зависимости от доли нефти, поступающей на прием верхнего насоса 1 приводом (например, станком-качалкой), установленным на устье скважины, регулируют длину хода верхнего насоса 1, то есть с увеличением обводненности водогазонефтяной смеси, поступающей во внутрискважинное пространство 19, уменьшают длину хода штока 8 и соответственно хода плунжера (не показано) верхнего насоса 1 и наоборот.
Предлагаемое устройство позволяет повысить эффективность скважинной сепарации (разделения) водогазонефтяной смеси на жидкие фазы благодаря возможности сепарации во входном устройстве верхнего насоса, а также снизить затраты на потребляемую электроэнергию из-за использования плунжерных насосов. Кроме того, установка позволяет регулировать отбор нефти из скважины, за счет подбора длины хода плунжера верхнего насоса, на устье скважины в зависимости от доли нефти в пластовой жидкости.
Формула изобретения
Скважинная насосная установка для добычи нефти и закачки воды в пласт, содержащая насосы с возможностью их последовательного расположения в скважине и имеющие входные и выходные устройства, устьевой привод насосов, соединенный штоками с ними, и пакер, имеющий возможность расположения между пластами в скважине, один из которых с водонефтяной смесью, а другой, нижний – для приема воды, при этом входное устройство расположено ниже верхнего насоса, а выходное устройство нижнего насоса выполнено в виде канала, проходящего через пакер, для нагнетания воды в нижний пласт, отличающаяся тем, что насосы выполнены плунжерными, привод – с возможностью осуществления возвратно-поступательного перемещения, причем входное устройство верхнего насоса выполнено в виде цилиндрической емкости с верхним боковым отверстием и герметично вставленным внутрь сверху входным патрубком верхнего насоса, при этом нижний насос выполнен в виде цилиндра, герметично вставленного в канал пакера, с полым плунжером, полый шток которого жестко соединен с емкостью, причем входное устройство нижнего насоса выполнено из двух устройств, первое из которых выполнено в виде обратного клапана, сообщающего низ полого штока с внутрискважинным пространством, а второе – в виде заглушенного сверху патрубка с боковым каналом вверху, сообщающим полый шток с входным патрубком верхнего насоса выше емкости, при этом площадь кольцевого сечения между входным патрубком, трубкой и емкостью выбрана таким образом, что максимальная скорость течения водонефтяной смеси вниз в этом сечении превышает скорость всплытия нефти в воде не более чем в два раза, а минимальный объем входного патрубка между боковым каналом заглушенного патрубка и верхним насосом должен быть не менее половины объема жидкости, поступающей в насос при всасывании.
РИСУНКИ
|
|