|
|
(21), (22) Заявка: 2007112902/03, 06.04.2007
(24) Дата начала отсчета срока действия патента:
06.04.2007
(46) Опубликовано: 27.11.2008
(56) Список документов, цитированных в отчете о поиске:
US 5413184 А, 09.05.1995. SU 1208197 А1, 30.01.1986. RU 58170 U1, 10.11.2006. RU 2137915 C1, 20.03.1999. RU 2286442 C1, 27.10.2006. US 5692565 A, 02.12.1997.
Адрес для переписки:
423236, Республика Татарстан, г. Бугульма, ул. М. Джалиля, 32, “ТатНИПИнефть”, сектор создания и развития промышленной собственности
|
(72) Автор(ы):
Тахаутдинов Шафагат Фахразович (RU), Рахманов Рифкат Мазитович (RU), Гарифов Камиль Мансурович (RU), Исмагилов Фанзат Завдатович (RU), Стерлядев Юрий Рафаилович (RU), Шакиров Талгат Хайруллович (RU), Кадыров Альберт Хамзеевич (RU), Глуходед Александр Владимирович (RU), Балбошин Виктор Александрович (RU), Рахманов Ильгам Нухович (RU)
(73) Патентообладатель(и):
Открытое акционерное общество “Татнефть” им. В.Д. Шашина (RU)
|
(54) УСТАНОВКА ДЛЯ ПЕРФОРАЦИИ ОБСАДНОЙ КОЛОННЫ В СКВАЖИНЕ
(57) Реферат:
Изобретение относится к нефтегазодобывающей промышленности, в частности к способам и устройствам для вторичного вскрытия пласта. Установка включает отклоняющее устройство с изогнутым каналом, спущенное в обсадную колонну на трубах, внутрь которых спущен двигатель с выходным валом, соединенным гибким валом с режущим инструментом, снабженным ограничителем хода. Двигатель снабжен якорем, фиксирующим его относительно труб. Между выходным и гибким валами установлен промежуточный вал с грузом, соединенный с выходным валом с возможностью ограниченного осевого перемещения. Изогнутый канал дополнительно оснащен сверху – входной, а снизу – выходной направляющими втулками. Гибкий вал снабжен верхним и нижним центраторами, выполненными с возможностью скользящего взаимодействия соответственно с входной и выходной направляющими втулками. Повышается надежность и работоспособность установки. 2 з.п. ф-лы, 3 ил.
Изобретение относится к нефтегазодобывающей промышленности, в частности, к способам и устройствам для вторичного вскрытия пласта (перфорации).
Известно устройство для радиального вскрытия пласта, включающее отклонитель, спущенный на колонне труб, с буровым наконечником (см. стр.31, май 2004, специализированный журнал «Бурение & нефть», Москва, 52 стр.).
Недостатками устройства являются сложность конструкции и неперпендикулярность к стенке обсадной колонны просверливаемого отверстия, что увеличивает его длину в металле и усложняет дальнейший поворот к горизонтали.
Наиболее близка по технической сущности к предлагаемой установке, содержащей колонну труб с отклонителем в виде изогнутого канала в корпусе, в которую на второй колонне труб спущен гидравлический двигатель со сверлом на гибком валу (патент US №5413184, Е21В 7/08, опубл. 09.05.1995 г.).
Недостатками установки являются низкие надежность и работоспособность из-за отсутствия центровки сверла и промежуточного вала, отсутствия контроля нагрузки на сверло, возможность заклинивания при выходе сверла наружу обсадной трубы.
Технической задачей, решаемой предлагаемым изобретением является создание надежной и работоспособной установки.
Эта задача решается установкой для перфорации обсадной колонны в скважине, включающей отклоняющее устройство с изогнутым каналом, спущенное в обсадную колонну на трубах, внутрь которых спущен двигатель с выходным валом, соединенным гибким валом с режущим инструментом, снабженным ограничителем хода.
Новым является то, что двигатель снабжен якорем, фиксирующим его относительно труб, а между выходным и гибким валами установлен промежуточный вал с грузом, соединенный с выходным валом с возможностью ограниченного осевого перемещения, при этом изогнутый канал дополнительно оснащен сверху – входной, а снизу – выходной направляющими втулками, гибкий вал снабжен верхним и нижним центраторами, выполненными с возможностью скользящего взаимодействия соответственно с входной и выходной направляющими втулками.
Новым является также то, что режущее устройство выполнено в виде ступенчатого сверла, сужающегося от гибкого вала.
Кроме того, новое и то, что на конце нижнего центратора установлена втулка с подшипником, выполненная с возможностью вращения и взаимодействия с обсадной колонной после окончания ее перфорации режущим инструментом.
Суть изобретения заключается в том, что центровка сверла исключает его «рыскание» по стенке колонны и обеспечивает быстрое гарантированное начало сверления, а центровка конца промежуточного вала на входе в изогнутый канал исключает «разбивание» последнего и гибкого вала от неуравновешенного вращения. Груз и возможность ограниченного осевого перемещения исключают давление внутренней колонны труб на сверло и обеспечивают постоянную нагрузку на сверло. Вторая ступень на сверле исключает его «проваливание» и заклинивание при выходе из отверстия, а втулка с подшипником – трение металла о металл, которое также может привести к увеличению сопротивления сверла и поломке гибкого вала. К тому же уменьшение сопротивления сверла служит сигналом окончания сверления.
При этом двигатель может быть гидравлическим или электрическим, и спущен на трубах или кабеле.
На чертежах изображены примеры конкретного выполнения установки.
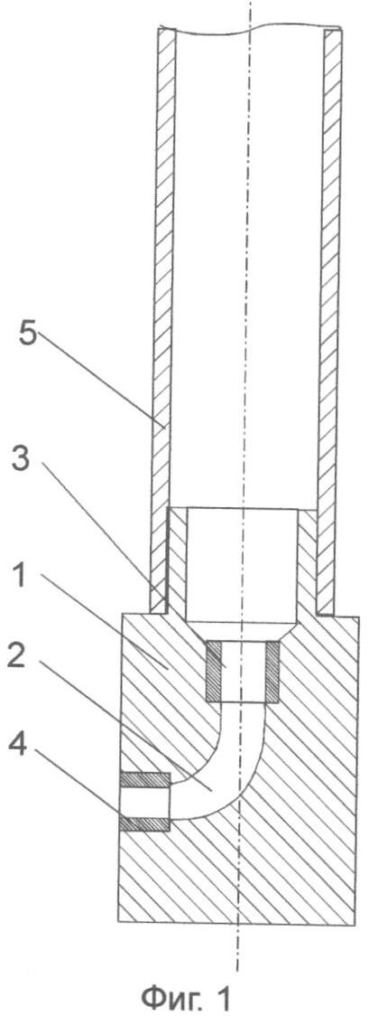
На фиг.1 показано отклоняющее устройство.
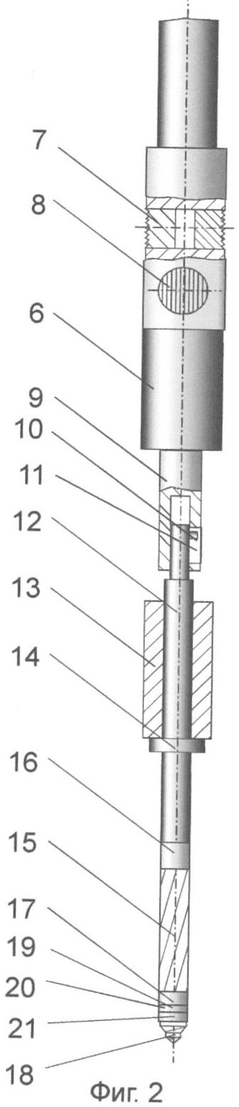
На фиг.2 показана сверлильная компоновка.
На фиг.3 изображено сверло в увеличенном масштабе.
Отклоняющее устройство содержит корпус 1 (см. фиг.1) с изогнутым каналом 2, оснащенным входной 3 и выходной 4 направляющими втулками. Спускают устройство на трубах 5.
Сверлильная компоновка, содержащая гидравлический двигатель 6 (см. фиг.2) с гидравлическим якорем 7, плашки 8 которого размещены в поперечных окнах корпуса. Выходной вал 9 двигателя 6 соединен посредством шпонки 10 и канавки 11 с промежуточным валом 12, на который надет груз 13, опирающийся на буртик 14. Промежуточный вал 12 соединен с гибким валом 15, имеющим верхний 16 и нижний 17 центраторы. На конце гибкого вала 15 установлено ступенчатое сверло 18 с ограничителем хода 19, в который через подшипник 20 упирается втулка 21. Спускают всю компоновку на трубах 22.
Сверло 18 (см. фиг.3) содержит ступени меньшего 23 и большего 24 диаметров.
Работает установка следующим образом.
Сначала на колонне труб 5 (см. фиг.1) в скважину спускают отклоняющее устройство. Затем внутрь труб 5 на трубах 22 (см. фиг.2) спускают сверло 18 до упора в стенку обсадной колонны (не показана).
После этого компоновку приподнимают на половину хода шпонки 10 в канавке 11 и подают в трубы 22 жидкость под давлением. Жидкость прижимает плашки 8 гидравлического якоря 7 к стенкам трубы 5 (см. фиг.1) и приводят в действие двигатель 6 (см. фиг.2). Вращение выходного вала 9 передается через шпонку 10 и канавку 11 на промежуточный вал 12, а с него через гибкий вал 15 на сверло 18, которое под действием постоянной нагрузки, обеспечиваемой давлением груза 13 на буртик 14, перемещаясь по изогнутому каналу 2 (см. фиг.1) корпуса 1 отклоняющего устройства, сверлит стенку обсадной колонны.
При этом верхний центратор 16 (см. фиг.2) гибкого вала 15, взаимодействуя со втулкой 3 (см. фиг.1), обеспечивает вращение без биения промежуточного вала 12 (см. фиг.2), а нижний центратор 17, вращаясь внутри выходной направляющей втулки 4 (см. фиг.1), обеспечивает центровку сверла 18 (см. фиг.2) и беспрепятственное, без «рыскания» начало сверления.
Сначала сверлит ступень 23 (см. фиг.3) меньшего диаметра, а когда кончик сверла 18 начинает выходить с обратной стороны стенки обсадной колонны, в работу вступает большая 24 ступень сверла, предотвращая «проваливании» и заклинивание сверла 18. Далее меньшая ступень 23 проходит насквозь, а сверление продолжается до упора втулки 21 (см. фиг.2) в стенку обсадной колонны. После этого сверло 18 перестает сверлить, не оказывает сопротивления и свободно вращается с упором через втулку 21 и подшипник 20 в ограничитель хода 19. Это приводит к снижению расхода и давления закачиваемой жидкости, что служит сигналом окончания сверления.
Таким образом, предлагаемое изобретение позволит повышать надежность и работоспособность установки для сверления обсадной колонны.
Формула изобретения
1. Установка для перфорации обсадной колонны в скважине, включающая отклоняющее устройство с изогнутым каналом, спущенное в обсадную колонну на трубах, внутрь которых спущен двигатель с выходным валом, соединенным гибким валом с режущим инструментом, снабженным ограничителем хода, отличающаяся тем, что двигатель снабжен якорем, фиксирующим его относительно труб, а между выходным и гибким валами установлен промежуточный вал с грузом, соединенный с выходным валом с возможностью ограниченного осевого перемещения, при этом изогнутый канал дополнительно оснащен сверху – входной, а снизу – выходной направляющими втулками, гибкий вал снабжен верхним и нижним центраторами, выполненными с возможностью скользящего взаимодействия соответственно с входной и выходной направляющими втулками.
2. Установка по п.1, отличающаяся тем, что режущий инструмент выполнен в виде ступенчатого сверла, сужающегося от гибкого вала.
3. Установка по п.1, отличающаяся тем, что на конце нижнего центратора установлена втулка с подшипником, выполненная с возможностью вращения и взаимодействия с обсадной колонной после окончания ее перфорации режущим инструментом.
РИСУНКИ
|
|