|
|
(21), (22) Заявка: 2006130195/03, 21.08.2006
(24) Дата начала отсчета срока действия патента:
21.08.2006
(43) Дата публикации заявки: 27.02.2008
(46) Опубликовано: 27.11.2008
(56) Список документов, цитированных в отчете о поиске:
SU 211473 A1, 01.01.1968. SU 1015074 A1, 30.04.1983. RU 2093663 C1, 20.10.1997. US 4889184 A, 26.12.1989. WO 9706343 A, 20.02.1997. CA 2366693 A1, 04.07.2003.
Адрес для переписки:
450062, Башкортостан, г.Уфа, а/я 44, Б.З.Султанову
|
(72) Автор(ы):
Султанов Байрак Закиевич (RU), Галимуллин Миниварис Литфуллинович (RU), Булгаков Раушан Фаритович (RU)
(73) Патентообладатель(и):
Общество с ограниченной ответственностью “Нафтасервис” (RU)
|
(54) УСТЬЕВОЙ САМОУПЛОТНЯЮЩИЙСЯ САЛЬНИК ШТАНГОВОЙ НАСОСНОЙ УСТАНОВКИ
(57) Реферат:
Изобретение относится к нефтегазодобывающей промышленности, а именно к насосным установкам для добычи нефти, в конструкции которых используются штанги. Устьевой самоуплотняющийся сальник штанговой насосной установки содержит нижний и верхний уплотнительные элементы и двухразмерный по внутреннему диаметру корпус, снабженный упорной плитой, на которой размещен нижний утолщенный конец двухразмерного корпуса. В корпусе устьевого сальника размещен дифференциальный поршень, большая площадь которого выполнена с возможностью взаимодействия со скважинной жидкостью, а меньшая – с нижним эластичным элементом. В верхней части корпуса размещена разделительная шайба, жестко закрепленная разделительной втулкой, снабженной накидной гайкой, в верхней части которой находится полость, гидравлически связанная с помощью шланга высокого давления с межтрубным пространством нефтяной скважины. Нижний утолщенный конец двухразмерного корпуса снабжен нажимной втулкой, взаимодействующей с упорной плитой посредством цилиндрической резьбы. Обеспечивает экологическую безопасность, упрощает эксплуатацию скважинных штанговых насосных установок. 1 ил.
Изобретение относится к нефтедобывающей промышленности, а именно к насосным установкам для добычи нефти, в конструкции которых используются штанги.
Известен самоуплотняющийся устьевой сальник глубинно-насосной установки. Он включает корпус, тройник, эластичную втулку, уплотнительный элемент, взаимодействующий с механической пружиной (см. авторское свидетельство №21/473. класс 5а, 43; 1965). Недостатком данного сальника является то, что его самоуплотнение основано на действии механической пружины, часто выходящей из строя из-за коррозии в агрессивной среде скважинного флюида. Кроме этого, данный устьевой сальник при малейшем износе пропускает скважинную жидкость в атмосферу, загрязняя окружающую среду [1].
Известен также устьевой сальник для штанговых скважинных насосных установок для добычи нефти (см. патент US №4889184 А; опубликован 26.12.1989), включающий корпус с утолщением в нижней части, внутри которого размещен уплотнительный элемент, взаимодействующий с нажимной втулкой. Нижний утолщенный корпус сальника взаимодействует с упорной плитой посредством нажимной втулки, снабженной цилиндрической резьбой.
Недостатком данной конструкции является то, что она не позволяет предотвратить утечки скважинной жидкости в окружающую среду, так как при утечке скважинная жидкость поступает в открытые полости системы. Кроме этого, по мере износа эластичного уплотнительного элемента утечки скважинной жидкости в окружающую среду будут возрастать.
Целью предлагаемого изобретения является упрощение конструкции устьевого самоуплотняющегося сальника и полное предотвращение загрязнения окружающей среды за счет исключения выхода в атмосферу скважинных флюидов (газов и жидкости). С этой целью корпус устьевого сальника скважинной насосной установки выполнен двухступенчатым по внутреннему диаметру, в котором размещен дифференциальный поршень, взаимодействующий с откачиваемой жидкостью и упругим нижним элементом. При этом верхний упругий элемент размещен в разделительной втулке, которая вместе с накидной гайкой образует герметичную полость, гидравлически связанную с затрубным пространством скважины посредством высоконапорного шланга. Герметизация указанной полости производится специальной манжетой, размещенной в проточке накидной гайки. Для осуществления гидравлической связи полость снабжена высоконапорным шлангом, в состав которого входит капельница, а нижний конец присоединен к штуцеру, установленному на фланце скважинной головки.
Нижняя часть корпуса устьевого сальника снабжена выступом и связана с упорной плитой, соединенной с муфтой, закрепленной на фланце колонны головки. Выступ корпуса закреплен нажимной втулкой, что позволяет корпусу при регулировании его положения перемещаться в радиальном направлении.
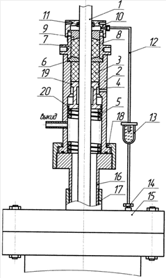
Устройство экологически защищенного самоуплотняющегося сальника для скважинных штанговых насосных установок приведено на фигуре 1. Полированный шток 1 насосной установки, герметизируемый устьевым сальником, представляет собой корпус 2, внутри которого размещен нижний упругий элемент 3, а в нижней части, выполненной двухразмерной по внутреннему диаметру, размещен дифференциальный поршень 4, взаимодействующий с пружиной 5. В верхней части корпуса находится разделительная шайба 6, закрепленная разделительной втулкой 7. Внутри втулки 7 находится верхний упругий элемент 8, поджатый грундбуксой 9, которая, в свою очередь, перемещается вниз накидной гайкой 10, в проточке которой помещена уплотнительная манжета 11. К накидной гайке 10 прикреплен шланг высокого давления 12, который в средней части имеет капельницу 13. Нижний конец шланга снабжен штуцером 14, связывающим его с устьевым фланцем 15 колонной головки скважины.
Нижний конец корпуса 2, имеющий выступ, установлен на упорной плите 16, которая привинчена к муфте 17, жестко связанной с устьевым фланцем 15. Нажимная втулка 18 удерживает корпус 2 от перемещений, однако при необходимости позволяет регулировать положение корпуса 2 устьевого сальника в радиальном направлении при монтаже станка-качалки насосной установки. Для герметизации дифференциального поршня установлены резиновые кольца 19 и 20.
Принцип работы устьевого экологически безопасного самоуплотняющегося сальника скважинной штанговой насосной установки заключается в следующем. Устьевой сальник в процессе монтажа насосной установки устанавливается на упорной плите 16, расположенной на устьевом фланце колонной головки скважины. Несоосность полированного штока 1 и корпуса устьевого сальника 2 в радиальном отношении при этом регулируется путем расслабления нажимной втулки 18 и перемещения корпуса 2 устьевого сальника относительно упорной плиты 16. После достижения нужного положения корпуса 2 относительно оси полированного штока, он закрепляется нажимной втулкой 18.
Перед пуском насосной установки в работу, устьевой сальник оснащается эластичными манжетами 3 и 8 в соответствии с условиями эксплуатации скважины. Подтяжка эластичных элементов производится разделительной втулкой 7 и накидной гайкой 10. После пуска насосной установки в работу производится контроль утечек жидкости через зазор в эластичных элементах с помощью капельницы 13. При чрезмерной интенсивности утечек производится подтяжка упругих элементов до заданной герметичности устьевого сальника.
В процессе длительной эксплуатации насосной установки от действия полированного штока происходит износ упругих элементов 3 и 8. Нижний упругий элемент при этом самоуплотняется под действием пружины 5 и давления скважинной жидкости. Ввиду того, что большая площадь дифференциального поршня 4 имеет больший диаметр в полости, связанной со скважинной жидкостью с устьевым давлением, а верхняя меньшая площадь поршня меньшего диаметра воздействует на упругий элемент 3, давление на контакте упругого элемента 3 и полированного штока 1 будет всегда больше, чем давление в полости под дифференциальным поршнем 4. В результате отпадает необходимость систематической подтяжки оператором упругого элемента 3. Упругий элемент 8 дополнительно герметизирует устье скважины от утечек скважинного флюида.
Несмотря на надежную герметизацию устья скважины, в подвижных соединениях всегда присутствуют первоначально небольшие утечки, которые по мере износа возрастают. Для предотвращения попадания продуктов утечек в окружающую среду, предусмотрено сообщение полости в накидной гайке 10 с межтрубным пространством с помощью шланга высокого давления 12, снабженного капельницей 13, которая, при необходимости, перед осмотром должна быть очищена от загрязняющей жидкости. Таким образом, устьевой сальник полностью освобождает обслуживающий персонал нефтедобывающего предприятия от систематического контроля за работой насосной установки, что экономически выгодно. Кроме этого, территория, окружающая устье скважины, полностью предохраняется от экологического загрязнения.
В случае наличия большого давления в межтрубном пространстве скважины, с которой соединена полость в накидной гайке 10 с помощью шланга высокого давления, полностью предотвращается утечка из скважины в окружающую среду на устье скважины. Поэтому предлагаемое изобретение – устьевой самоуплотняющийся сальник обеспечивает экологически безопасную и экономически выгодную эксплуатацию нефтяных скважин. При этом предлагаемая конструкция обладает простотой и не требует существенной корректировки процесса добычи нефти.
Источники информации
1. Кроль B.C., Карапетов К.А. Устьевой самоуплотняющийся сальник глубинно-насосной установки. Авторское свидетельство №211473 (102 2227/22-3), класс 5а, 43 (00; 59а, 33), МПК Е21в; F05в, 1965.
2. Патент US №4889184 А, опубликован 26.12.1989.
Формула изобретения
Устьевой самоуплотняющийся сальник штанговой насосной установки, включающий нижний и верхний уплотнительные элементы и двухразмерный по внутреннему диаметру корпус, снабженный упорной плитой, на которой размещен нижний утолщенный конец двухразмерного корпуса, отличающийся тем, что в корпусе устьевого сальника размещен дифференциальный поршень, большая площадь которого выполнена с возможностью взаимодействия со скважинной жидкостью, а меньшая – с нижним эластичным элементом, причем в верхней части корпуса размещена разделительная шайба, жестко закрепленная разделительной втулкой, снабженной накидной гайкой, в верхней части которой находится полость, гидравлически связанная с помощью шланга высокого давления с межтрубным пространством нефтяной скважины, при этом нижний утолщенный конец двухразмерного корпуса снабжен нажимной втулкой, взаимодействующей с упорной плитой посредством цилиндрической резьбы.
РИСУНКИ
|
|