|
|
(21), (22) Заявка: 2007112887/03, 06.04.2007
(24) Дата начала отсчета срока действия патента:
06.04.2007
(46) Опубликовано: 27.11.2008
(56) Список документов, цитированных в отчете о поиске:
SU 907220 А, 15.02.1992. SU 1679030 А1, 23.09.1991. RU 2265115 С1, 27.11.2005. RU 2285784 С1, 20.10.2006. US 4830109 А, 16.05.1989.
Адрес для переписки:
423230, Республика Татарстан, г. Бугульма, ул. М. Джалиля, 32, “ТатНИПИнефть”, сектор создания и развития промышленной собственности
|
(72) Автор(ы):
Ибрагимов Наиль Габдулбариевич (RU), Кашапов Ильгиз Камаевич (RU), Ахмадишин Фарит Фоатович (RU), Мелинг Константин Викторович (RU), Хамитьянов Нигаматьян Хамитович (RU), Вильданов Наиль Назымович (RU), Валеев Сирин Газимович (RU)
(73) Патентообладатель(и):
Открытое акционерное общество “Татнефть” им. В.Д. Шашина (RU)
|
(54) СПОСОБ УСТАНОВКИ ПРОФИЛЬНОГО ПЕРЕКРЫВАТЕЛЯ В СКВАЖИНЕ
(57) Реферат:
Изобретение относится к нефтегазодобывающей промышленности, в частности к способам изоляции зон осложнений при бурении скважин и ремонте обсадных колонн перекрывателями из профильных труб. Способ включает соединение секций профильных труб, спуск их в скважину, выправление давлением и плотное прижатие к стенкам скважины. Спуск перекрывателя в скважину с промывкой ствола скважины через внутренние каналы перекрывателя производят за счет того, что изначальная форма спрофилированных впадин труб зареплена фиксаторами. Создание давления для выправления впадин труб производят за счет повышенного расхода прокачиваемой через перекрыватель жидкости с разрушением фиксаторов. Повышаются качество и надежность установки перекрывателя, уменьшаются энергетические и финансовые затраты. 2 ил.
Изобретение относится к нефтегазодобывающей промышленности, в частности к способам изоляции зон осложнений при бурении скважин и ремонте обсадных колонн перекрывателями из профильных труб.
Известен способ установки профильного перекрывателя в скважине (Журнал «Нефтяное хозяйство», 1982, №4, с.26-28), включающий сварку стыков секций профильных труб, спуск перекрывателя в скважину, выправление его давлением и развальцовывание до плотного прижатия его к стенкам предварительно расширенного интервала скважины.
Недостатком этого способа является то, что необходимо проводить сварочные работы над устьем скважины, затруднен спуск перекрывателя в горизонтальные и сильно искривленные скважины, а также при спуске профильного перекрывателя через зоны, которые затрудняют прохождение перекрывателя обвалами, затяжками и т.п., невозможно вести промывку скважины через внутренний канал, так как при даже небольших избыточных давлениях происходит выправление профильной части перекрывателя. При необходимости подъема перекрывателя возможно выправление профильной части вследствие гидростатического давления жидкости внутри перекрывателя и бурильных труб, а также необходимо в компоновке перекрывателя иметь клапанный узел для заполнения жидкостью внутренней полости перекрывателя, так как возможно смятие профиля, связанного с потерей устойчивости перекрывателя при спуске на большие глубины.
Наиболее близким по технической сущности к заявляемому является способ установки профильного перекрывателя в скважине (патент РФ №907220, Е21В 33/12, опубл. бюл. №7 от 23.02 82), включающий свинчивание секций профильных труб, спуск в скважину и выправление их давлением. При этом с целью упрощения процесса установки цилиндрические концы секций перекрывателя перед свинчиванием осаживают до диаметра описанной окружности профильной части. После выправления перекрывателя участки соединения секций увеличивают до диаметра скважины.
Недостатком этого способа является то, что затруднен спуск перекрывателя в горизонтальные сильно искривленные и глубокие скважины, а также при спуске профильного перекрывателя через зоны, которые затрудняют прохождение перекрывателя обвалами, затяжками и т.п., невозможно вести промывку скважины через внутренний канал, так как при даже небольших избыточных давлениях происходит выправление профильной части перекрывателя. При необходимости подъема перекрывателя возможен перелив жидкости на устье скважины, а также выправление профильной части вследствие гидростатического давления жидкости внутри перекрывателя и бурильных труб, при этом необходимо в компоновке перекрывателя иметь клапанный узел для заполнения жидкостью внутренней полости перекрывателя, так как возможно смятие профиля, связанного с потерей устойчивости перекрывателя при спуске на большие глубины.
Технической задачей способа является расширение применения перекрывателя в горизонтальных, сильно искривленных и глубоких скважинах, а также в зонах, которые затрудняют прохождение перекрывателя обвалами, затяжками и т.п., упрощение процесса установки, улучшение качества и надежности установки перекрывателя, уменьшение энергетических и финансовых затрат.
Техническая задача решается способом установки профильного перекрывателя в скважине, включающим соединение секций профильных труб, спуск их в скважину, выправление давлением и плотное прижатие к стенкам скважины
Новым является то, что спуск профильного перекрывателя в скважину с промывкой ствола скважины через внутренние каналы перекрывателя производится за счет того, что изначальная форма спрофилированных впадин труб закреплена фиксаторами, причем создание давления для выправления впадин профильных труб производят за счет повышенного расхода прокачиваемой через перекрыватель жидкости с разрушением фиксаторов.
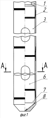
На фиг.1 изображен двухканальный перекрыватель с продольным разрезом, на фиг.2 – поперечный разрез перекрывателя по А-А.
Возможно применение многоканального перекрывателя с другими фиксаторами изначальной формы спрофилированных впадин труб.
Способ осуществляют в следующей последовательности.
На бурильных трубах (не показано) спускают компоновку, состоящую из посадочной головки 1 (фиг.1), которая левой резьбой 2 соединена с верхней секцией 3 перекрывателя, а другой конец посадочной головки 1 соединен с колонной бурильных труб (не показана). По линии 4 (фиг.2) сопряжения внутренних поверхностей впадин профиля секций перекрывателя 3, 6 (фиг.1) выполнен фиксатор 5 (фиг.2) (контактная точечная сварка в количестве, необходимом и достаточном для обеспечения изначальной формы поперечного сечения профильного перекрывателя), который при создании избыточного давления во время проведения спуска с прямой промывкой скважины обеспечивает сохранение изначальной формы спрофилированных впадин труб. Нижняя секция 6 (фиг.1) перекрывателя снабжена башмаком 7, имеющим отверстие 8 калиброванного размера. Создавая насосом избыточное давление в секциях перекрывателя 3, 6, не превышающее расчетное давление для разрушения фиксаторов, осуществляют спуск перекрывателя в зону осложнения. Затем поднимают давление во внутренней полости перекрывателя за счет повышенного расхода прокачиваемой через перекрыватель жидкости с разрушением контактной точечной сварки 5 (фиг.2), фиксирующей изначальную форму впадин секций перекрывателя. С дальнейшим повышением давления в секциях перекрывателя 3, 6 (фиг.1) его стенки выправляются, плотно прижимаясь к стенкам скважины. После выправления перекрывателя, вращая колонну бурильных труб (не показана), отсоединяют перекрыватель от посадочной головки 1 с помощью левой резьбы 2 и выполняют дальнейшие работы по расширению цилиндрических участков перекрывателя, по окончательному прикатыванию стенок перекрывателя, по подъему или разрушению башмака 7.
Приведен пример конкретного выполнения предварительных расчетов для установки двухканального профильного перекрывателя 3, 6 в скважине диаметром 215,9 при толщине стенки перекрывателя 9 мм.
Расчеты выполнены на основании следующих данных:
– спуск перекрывателя производится при давлении промывки не менее 30 атм;
– расход жидкости при работе одним насосом 15 л/сек;
– давление, необходимое для плотного прижатия стенок перекрывателя к стенкам скважины, составляет 150 атм;
– расход жидкости при работе двумя насосами 30 л/сек;
– давление, при котором начинается выправление изначально спрофилированной впадины трубы для скважины диаметром 215,9 мм, равно 12 атм.
Используя известные методики расчета потерь давления на насадках долот (Булатов А.И., Проселков Ю.М., Рябченко В.И. «Технология промывки скважин», стр.242), определяем необходимый диаметр отверстия в башмаке перекрывателя, который обеспечит перепад давления в 150 атм при подаче раствора двумя насосами 30 л/сек для плотного прижатия стенок перекрывателя к стенкам скважины, что составляет 16 мм. Далее определяем величину перепада давления в отверстии башмака 7 при работе одним насосом с подачей раствора 15 л/сек. Перепад давления составил 45 атм, что обеспечивает необходимый перепад давления при промывке 30 атм. Исходя из вышеизложенного принимаем, что давление, при котором произойдет разрушение точечной контактной сварки 5 по длине контакта впадин, равно 80 атм и обеспечивает спуск перекрывателя с промывкой одним насосом при 45 атм, при этом запас прочности сварного соединения составляет 35 атм, что обеспечит разрушение точечной контактной сварки 5, так как, подключив второй насос, давление поднимется до 150 атм, которое необходимо для прижатия стенок перекрывателя к стенкам скважины. Диаметр пятна контактной точечной сварки 5 и их количество определяются экспериментально.
Давление, необходимое на устье скважины, определяется с поправкой на потери напора в элементах обвязки устья скважины, от глубины установки перекрывателя и от гидрогеологических условий конкретной скважины.
Расширение применения перекрывателя в горизонтальных сильно искривленных и глубоких скважинах, а также в зонах, которые затрудняют прохождение перекрывателя обвалами, затяжками и т.п., упрощение процесса установки, улучшение качества и надежности установки перекрывателя, уменьшение энергетических и финансовых затрат осуществляются за счет того, что:
– в процессе спуска перекрывателя заполнение секций жидкостью идет через отверстие в башмаке и в случае необходимости подъема перекрывателя жидкость свободно вытечет из нее, что исключает перелив жидкости на устье скважины;
– отпадает необходимость изготовления и применения в компоновке перекрывателя клапана для заполнения внутреннего канала перекрывателя;
– спуск перекрывателя в скважину производится с промывкой ствола скважины через внутренние каналы перекрывателя, что устраняет помехи при прохождении перекрывателя в перекрываемую зону;
– при спуске, выправлении профильных и расширении цилиндрических участков и последующим прикатывании перекрывателя к стенкам скважины окалина, ржавчина и другие посторонние механические примеси с внутренних стенок удаляются в забой скважины, не мешая процессу дальнейшей установки перекрывателя;
– повышение давления на устье скважины при прямой промывке в процессе выправления профильных участков является сигналом об успешном ведении процесса установки перекрывателя.
Формула изобретения
Способ установки профильного перекрывателя в скважине, включающий соединение секций профильных труб, спуск их в скважину, выправление давлением и плотное прижатие к стенкам скважины, отличающийся тем, что спуск профильного перекрывателя в скважину с промывкой ствола скважины через внутренние каналы перекрывателя производится за счет того, что изначальная форма спрофилированных впадин труб закреплена фиксаторами, причем создание давления для выправления впадин труб производят за счет повышенного расхода прокачиваемой через перекрыватель жидкости с разрушением фиксаторов.
РИСУНКИ
|
|