|
|
(21), (22) Заявка: 2007105089/11, 12.02.2007
(24) Дата начала отсчета срока действия патента:
12.02.2007
(46) Опубликовано: 27.11.2008
(56) Список документов, цитированных в отчете о поиске:
RU 2173744 C1, 20.09.2001. SU 1081267 A, 23.03.1984. DE 1297642 A, 19.06.1969. RU 44690 U1, 27.03.2005. SU 1576625 A1, 07.07.1990.
Адрес для переписки:
105425, Москва, 5-я Парковая ул., 55, корп.3, кв.60, О.В. Аргасову
|
(72) Автор(ы):
Холинов Алексей Игоревич (RU), Харихин Александр Викторович (RU), Екимов Виктор Константинович (RU)
(73) Патентообладатель(и):
ОБЩЕСТВО С ОГРАНИЧЕННОЙ ОТВЕТСТВЕННОСТЬЮ “ЭДЛАЙН” (RU)
|
(54) УСТАНОВКА ДЛЯ ТАЯНИЯ СНЕГА
(57) Реферат:
Изобретение относится к устройствам обеспечения принудительного таяния снежной массы. Установка для таяния снега содержит ванну, разделенную на сообщенные между собой отсеки, один из которых предназначен для сбора снега, первое средство для нагрева, предназначенное для нагрева талой воды ванны, и второе средство для нагрева, связанное с источником тепла, а также систему подачи нагретой воды в отсек для сбора снега, включающую в себя насос, установленный в ванне и соединенный трубопроводами с распределительным коллектором подачи нагретой воды. Указанные первое и второе средства для нагрева связаны между собой с обеспечением передачи тепла от второго средства к первому. Первое и второе теплообменные устройства связаны между собой закольцованной магистралью, образующей одну из ветвей каждого теплообменного устройства, в которой установлен насос. Достигается увеличение энергетической эффективности и повышение эффективности работы устройства. 5 з.п. ф-лы, 2 ил.
Изобретение относится к устройствам и способам обеспечения принудительного таяния снежной массы, собранной специальными транспортными средствами с городских улиц и дорог, в частности к установкам, в которых сброшенную снежную массу подвергают различным воздействиям, механическим, тепловым и другим для ускорения ее плавления и с последующим распределением продуктов плавления по различному назначению.
В настоящее время существует проблема для большого города в утилизации в зимнее время года огромного количества снежной массы. Повышенные требования городских властей к чистоте улиц, в частности, связанные с резко увеличивающимся потоком автотранспорта, заставляют искать новые возможности для ускорения процесса таяния снега в специально предназначенных для этого установках, так как решить эту проблему за счет количества и габаритов таких установок является контрпродуктивным.
Известен патент США №5235762, выданный в 1993 г. Brian D.Brady, который раскрывает установку для плавления снега, содержащую камеру для плавления, раздаточный трубопровод, с которым соединены распределительные трубки для нагретого с помощью топливных установок воздуха, а также систему подачи нагретой воды, включающую в себя насос и распределительные трубки. Нагретая вода с помощью насоса подается на снежную массу для ускорения процесса таяния снега.
Подача нагретой воды на снежную массу положительно сказывается на эффективности процесса в установке. В то же время необходимость иметь две системы для нагревания воды и воздуха усложняет конструкцию установки, регулирование ее работы и эксплуатацию. Кроме того, требуются определенные запасы топлива, сгорание которого, кроме всего прочего, ухудшает экологическую обстановку в районе установки.
Известен также патент РФ №2173744 от 13.04.2000, раскрывающий способ и устройство для принудительного таяния снега. В указанном известном изобретении имеется ванна, разделенная на два отсека, один из которых предназначен для приема снега, а во втором находится вода, которую нагревают с помощью топливных горелок, а нагретую воду забирают и подают на снежную массу насосом системы подачи.
Отсеки разделены между собой сеткой, а продукты процесса плавления снега распределяются в зависимости от их назначения.
В этой известной установке, также как и в предыдущей, имеются две отдельные системы: нагрева воды и подачи ее на снежную массу. В этой системе также требуются элементы топливной системы, включая источник топлива, необходимые для функционирования установки. Система, по сравнению с указанным патентом США, более прогрессивна с точки зрения энергетической эффективности.
В то же время наличие многоэлементной топливной системы, необходимой для эксплуатации системы, приводит к усложнению и удорожанию установки, затрудняет ее обслуживание, что уменьшает возможность широкого использования.
Задачей настоящего изобретения является создание установки для таяния снега, имеющей высокую энергетическую эффективность за счет экономных затрат тепловой энергии.
Задачей настоящего изобретения является также создание установки, для работы которой не требуется специальной автономной топливной системы, а которая использует утилизацию тепла имеющихся тепловых сетей.
Кроме того, задачей данного изобретения является создание установки для таяния снега, имеющей невысокую стоимость, обладающей простотой и удобством в эксплуатации, обеспечивающей возможность ее широкого использования в различных населенных пунктах.
Еще одной задачей настоящего изобретения является улучшение экологической обстановки при функционировании установки.
Для решения указанных задач предлагается установка для таяния снега, содержащая ванну, разделенную на сообщенные между собой отсеки, один из которых предназначен для сбора снега, первое средство для нагрева, предназначенное для нагрева талой воды ванны, и второе средство для нагрева, связанное с источником тепла, а также систему подачи нагретой воды в отсек для сбора снега, включающую в себя насос, установленный в ванне и соединенный трубопроводами с распределительным коллектором подачи нагретой воды, при этом указанные первое и второе средства для нагрева связаны между собой с обеспечением передачи тепла от второго средства к первому.
Кроме того, в установке указанные первое и второе средства для нагрева представляют собой первое и второе теплообменные устройства, связанные между собой закольцованной магистралью, в которой установлен насос, образующей одну из ветвей каждого теплообменного устройства, при этом трубопроводы от насоса ванны проходят через первое теплообменное устройство с образованием его другой ветви, а другая ветвь второго теплообменного устройства соединена с источником тепла.
Дополнительно в установке указанные первое и второе средства для нагрева представляют собой первое и второе теплообменные устройства, связанные между собой закольцованной магистралью, в которой установлен насос, образующей одну из ветвей каждого теплообменного устройства, при этом первое теплообменное устройство установлено в отсеке для сбора снега в его нижней части, а другая ветвь второго теплообменного устройства соединена с источником тепла, причем указанный насос ванны установлен в дальнем от отсека для сбора снега отсеке, а указанные отсеки разделены между собой перегородками с отверстиями, расположенными на разных уровнях с образованием лабиринта для протекающей талой воды с обеспечением ее очистки перед входом в насос.
Кроме того, указанным источником тепла являются обратные и/или прямые магистрали тепловых сетей, а в отсеке для сбора снега установлена фильтрационная решетка.
Сущность настоящего изобретения будет более понятна при ознакомлении с последующим описанием предпочтительных вариантов выполнения установки с учетом сопроводительных чертежей, на которых
Фиг.1 представляет в схематическом виде один вариант выполнения заявляемой установки.
Фиг.2 представляет в схематическом виде другой вариант выполнения заявляемой установки.
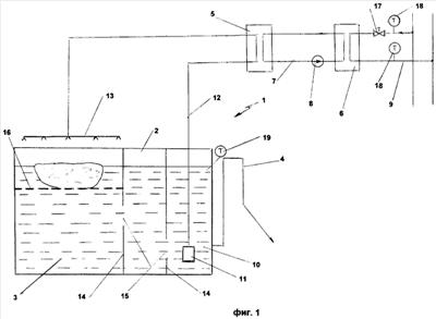
Установка 1 для таяния снега содержит ванну (резервуар) 2, разделенную на ряд сообщенных между собой отсеков. Отсек 3 предназначен для сбора снега, привезенного и сброшенного в него транспортными средствами. Ванна 2 связана с линией 4 сброса талой воды, подаваемой, например, в очистные сооружения. Линия 4 выполнена таким образом, чтобы обеспечить верхний уровень воды в ванне. Установка 1 включает в себя первое средство для нагрева, предназначенное для нагрева талой воды, которое может быть выполнено в виде первого теплообменного устройства 5, и второе средство 6 для нагрева, связанное с источником тепла. Второе средство для нагрева также может быть выполнено, например, в виде второго теплообменного устройства 6. Первое и второе теплообменные устройства 5 и 6 связаны между собой закольцованной магистралью 7, в которой установлен насос 8. Магистраль 7 образует одну ветвь каждого теплообменного устройства. Другая ветвь 9 второго теплообменного устройства 6 связана с источником тепла, в качестве которого могут быть использованы обратные и/или прямые магистрали городских или других тепловых сетей. В дальнем от отсека 3 ванны отсеке 10 установлен насос 11, обеспечивающий подачу теплой воды на сбрасываемый в отсек 3 снег. Насос 11 забирает воду из отсека 10 и направляет ее по трубопроводам 12 к распределительному коллектору 13. Трубопроводы 12 могут проходить через первое теплообменное устройство 5 с образованием другой из его ветвей (см. фиг.1). В другом варианте выполнения установки 1 (см. фиг.2) первое теплообменное устройство 5 размещено в нижней части отсека 3, а насос 11 забирает нагретую этим теплообменным устройством воду и направляет ее непосредственно в коллектор 13 для дальнейшего распределения по верхней поверхности отсека 3.
Ванна 2 разделена на ряд отсеков посредством перегородок 14, имеющих на разных уровнях отверстия 15, образующие между собой лабиринт для протекающей к дальнему отсеку 10 воды, с помощью которого осуществляется очистка воды от грязи и песка за счет их осаждения перед отверстиями 15.
В отсеке 3 закреплена фильтрационная решетка 16, на которую попадает сброшенный снег и которая является первым барьером для мусора и грязи, подаваемых вместе со снегом.
Для управления работой установки 1 в другой ветви 9 второго теплообменного устройства 6 могут быть установлены регуляторы расхода 17, датчики температуры 18, а в отсеке 10 – датчик температуры 19. Установка 1 может быть снабжена и другой контрольно-измерительной аппаратурой, взаимосвязь между элементами которой с учетом температуры теплового агента в источнике тепла и заданной температуры в ванне 2 и подаваемой на снег воды обеспечивает надежную и эффективную работу установки для таяния снега и экономию тепла.
В предпочтительном варианте выполнения (см. фиг.1) установка 1 функционирует следующим образом. Транспортные средства сбрасывают собранный снег в отсек 3 ванны 2, в которой находится вода. Снег не опускается на дно отсека, а находится в его верхней части. Сверху на снег подается теплая вода из коллектора 13 с температурой +25-35°С, которая ускоряет процесс таяния снега. Подача теплой воды осуществляется с помощью насоса 11, который подает забранную в отсеке 10 воду через первое теплообменное устройство 5, обеспечивающее нагрев воды до требуемой, заданной температуры. Следует отметить, что конструкция первого теплообменного устройства 5 предусматривает достаточно значительные размеры (поперечного сечения) каналов для прохождения воды, идущей от насоса 11, для того чтобы обеспечить ее бесперебойное течение и исключить возможность засорения каналов, т.к. вода из отсека 10 содержит отдельные загрязняющие частицы. В этом варианте выполнения нагрев воды, подаваемой насосом 11, осуществляется за счет наличия закольцованной магистрали 7, по которой насос 8 прогоняет тепловой агент, нагреваемый во втором теплообменном устройстве 6 при прохождении по его одной из ветвей. Отделение первого теплообменного устройства 5, в котором протекает вода из отсека 10, от второго теплообменного устройства 6 с помощью закольцованной магистрали 7 позволяет избежать во время аварийной ситуации попадание загрязняющих веществ в источник тепла, например в тепловые магистрали. Температура нагрева теплового агента в магистрали 7 регулируется регулятором расхода 17, который в зависимости от температуры в источнике тепла благодаря датчикам температуры 18 устанавливает в другой ветви второго теплообменного устройства 6 необходимый расход.
Теплая вода, подаваемая на снег, смешивается с имеющимися в ванне 2 водой и расплавленным снегом и направляется в дальний отсек 10, из которого вода направляется по линии 4 сброса талой воды, а часть воды забирается насосом 11 для дальнейшего осуществления цикла. Увеличение уровня воды в ванне 2 происходит за счет сброшенного и растаявшего снега, при этом сброс талой воды устроен таким образом, чтобы вода находилась практически на одном уровне, т.е. расход сброса воды равен увеличению количества воды от растаявшего снега. При прохождении через отверстия 15 перегородок 14 вода оставляет большую часть оставшихся в ней грязи и песка на дне отсеков, а на входе в насос 11 может быть предусмотрено какое-либо приспособление, предотвращающее попадание в него грязи, большая часть которой остается на решетке 16 и перед отверстиями 15.
В другом варианте установки 1, показанном на фиг.2, большая часть ее конструкции и работы выполняется, как описано в первом варианте. Отличие заключается в том, что первое теплообменное устройство 5 расположено в нижней части отсека 3, а трубопроводы 12 от насоса 11 идут непосредственно к коллектору 13. В этом варианте талая вода нагревается прямо в отсеке 3 первым теплообменным устройством 5, а насос 11 забирает уже нагретую воду и подает ее через коллектор на снег. Однако во втором варианте грязь из сброшенного снега в достаточной мере может попасть на теплообменное устройство 5, что может вызвать его повреждение и затруднение в уборке грязи из ванны.
Работа установки при отсутствии снега и при уборке грязи и мусора из нее осуществляется обычными, известными в данной области средствами.
В данном описании раскрыты предпочтительные варианты выполнения установки, но следует понимать, что, не отходя от сущности изобретения, можно предложить и другие модификации, которые находятся в рамках заявленного в предложенной формуле изобретения.
Формула изобретения
1. Установка для таяния снега, содержащая ванну, разделенную на сообщенные между собой отсеки, один из которых предназначен для сбора снега, первое средство для нагрева, предназначенное для нагрева талой воды ванны, и второе средство для нагрева, связанное с источником тепла, а также систему подачи нагретой воды в отсек для сбора снега, включающую в себя насос, установленный в ванне и соединенный трубопроводами с распределительным коллектором подачи нагретой воды, при этом указанные первое и второе средства для нагрева связаны между собой с обеспечением передачи тепла от второго средства к первому и представляют собой, соответственно, первое и второе теплообменные устройства, связанные между собой закольцованной магистралью, образующей одну из ветвей каждого теплообменного устройства, в которой установлен насос.
2. Установка по п.1, в которой трубопроводы от насоса ванны проходят через первое теплообменное устройство с образованием его другой ветви, а другая ветвь второго теплообменного устройства соединена с источником тепла.
3. Установка по п.1, в которой первое теплообменное устройство установлено в отсеке для сбора снега в его нижней части, а другая ветвь второго теплообменного устройства соединена с источником тепла.
4. Установка по любому из пп.1-3, в которой указанный насос ванны установлен в дальнем от отсека для сбора снега отсеке, а указанные отсеки разделены между собой перегородками с отверстиями, расположенными на разных уровнях с образованием лабиринта для протекающей талой воды с обеспечением ее очистки перед входом в насос.
5. Установка по п.4, в которой указанным источником тепла являются обратные и/или прямые магистрали тепловых сетей.
6. Установка по п.4, в которой в отсеке для сбора снега установлена фильтрационная решетка.
РИСУНКИ
|
|