|
|
(21), (22) Заявка: 2006109482/15, 27.08.2004
(24) Дата начала отсчета срока действия патента:
27.08.2004
(30) Конвенционный приоритет:
27.08.2003 CN 03139172.9
(43) Дата публикации заявки: 10.10.2007
(46) Опубликовано: 27.11.2008
(56) Список документов, цитированных в отчете о поиске:
RO 81776 А, 30.05.1983. FR 2744931 А, 22.08.1997. RU 2151165 С1, 20.06.2000. RU 2149886 C1, 27.05.2000. SU 237726 A, 23.06.1969. EP 0173435 A1, 05.03.1986.
(85) Дата перевода заявки PCT на национальную фазу:
27.03.2006
(86) Заявка PCT:
CN 2004/000993 (27.08.2004)
(87) Публикация PCT:
WO 2005/030360 (07.04.2005)
Адрес для переписки:
129010, Москва, ул. Б.Спасская, 25, стр.3, ООО “Юридическая фирма Городисский и Партнеры”, пат.пов. Е.Е.Назиной, рег. № 517
|
(72) Автор(ы):
ГОУ Шэцюань (CN), ДА Цзяньвэнь (CN), ЧЖАН Югуй (CN), ХАНЬ Пин (CN), ЧЖАН Цзини (CN)
(73) Патентообладатель(и):
ЧАЙНА ПЕТРОЛЕУМ ЭНД КЕМИКАЛ КОРПОРЕЙШН (CN)
|
(54) СПОСОБ И УСТРОЙСТВО ДЛЯ ДЕЭМУЛЬСИФИКАЦИИ ЭМУЛЬСИИ ВОДА-НЕФТЬ ПОСРЕДСТВОМ ВОЗДЕЙСТВИЯ УЛЬТРАЗВУКА
(57) Реферат:
Изобретение относится к ультразвуковым способам разрушения эмульсии вода-нефть и может использоваться при обезвоживании и обессоливании нефти. Способ содержит этап формирования потока эмульсий вода-нефть через область воздействия ультразвука вдоль направления потока. При этом создают попутную ультразвуковую волну, направление распространения которой совпадает с направлением потока эмульсий, и противоточную ультразвуковую волну, направление распространения которой противоположно направлению потока эмульсий. На передней и задней сторонах устройства установлены ультразвуковые преобразователи. После деэмульсификации эмульсии вода-нефть осаждают под действием силы тяжести и разделяют или осаждают и разделяют в электрическом поле для обезвоживания. Технический результат состоит в повышении эффектиности обезвоживания нефти. 2 н. и 7 з.п. ф-лы, 5 ил., 7 табл.
Область техники, к которой относится изобретение
Настоящее изобретение относится к ультразвуковым способам и устройствам для деэмульсификации эмульсии вода-нефть.
Термин “ультразвук” используется в настоящем описании и в прилагаемой формуле изобретения в общем смысле и предназначен для включения в него звуковых, ультразвуковых, сверхзвуковых и гиперзвуковых типов колебаний волн давления.
Описание предшествующего уровня техники
В способе добычи сырой нефти в месторождении нефти сырая нефть формируется в структуру эмульсий вода-нефть посредством вливания большого объема воды и поверхностно-активных веществ или посредством механического воздействия. Сырая нефть, добываемая из подземного резервуара, иногда имеет содержание воды до 90% или более. Для отделения нефти от воды критичной является деэмульсификация структуры эмульсий вода-нефть. Сначала, сырая нефть, добытая в нефтяном поле (месторождении нефти), должна подвергаться процедуре обезвоживания посредством осаждения под действием силы тяжести, и ключевыми для эффектов обезвоживания являются эффекты деэмульсификации эмульсий вода-нефть. Затем, поскольку имеются важные требования к содержанию соли для сырой нефти, доставляемой на нефтеперерабатывающий завод с нефтяного поля, свежая вода должна вливаться снова, для осуществления с первой по третью стадии способа электростатического обессоливания, включающего в себя вливание воды – отмывку соли – обезвоживание в электрическом поле – обессоливание, где способ деэмульсификации структуры эмульсии вода-нефть вовлекается для отделения нефти от воды, для обезвоживания и, в конечном счете, для удовлетворения важных требований обессоливания.
На стадии переработки сырой нефти сырая нефть, доставленная с нефтяного поля, сама по себе содержит воду, которая, как правило, существует в форме эмульсий в сырой нефти. Кроме того, первая процедура обработки сырой нефти после поступления на нефтеперерабатывающий завод представляет собой первую – третью стадию способа электрического обессоливания, включающего в себя вливания воды – отмывку соли – обезвоживание в электрическом поле – обессоливание, при этом новая структура эмульсии сформировалась бы опять. Для получения лучших эффектов обессоливания критичным является деэмульсификация этих двух типов структур эмульсий вода-нефть. Кроме того, на нефтеперерабатывающем заводе обезвоживание посредством деэмульсификации является необходимым в способе извлечения загрязненной нефти, осевшей на дне танков для сырой нефти, в способе извлечения содержащей соль откачиваемой воды, высвобождаемой посредством электростатического обессоливания сырой нефти, в способах электрической очистки бензина, керосина и дизельного топлива и в способе денитридирования и электрической очистки смазочного масла.
В настоящее время способы деэмульсификации эмульсий вода-нефть включают в себя, в основном, следующие способы: нагрев, приложение электрического поля высокого напряжения, добавление деэмульсифицирующих агентов и их сочетание. Однако, когда качество сырой нефти становится плохим, эффекты обработки сложных, стабильно эмульсифицированных эмульсий вода-нефть с помощью этих способов не являются достаточно хорошими для удовлетворения промышленным требованиям. В качестве одного из видов энергии ультразвуковая волна может распространяться в протекающих эмульсиях вода-нефть и может вызывать относительное смещение между двумя различными средами нефти и соленой воды. По этой причине способ использования ультразвуковой волны для содействия другим способам обессоливания и обезвоживания, видимо, удовлетворяет требованиям добычи.
Патент на полезную модель с номером публикации CN2296230Y, опубликованный 4 ноября 1998 года, описывает средства для деэмульсификации эмульсий вода-нефть посредством воздействия ультразвука, в которой ориентация ультразвукового преобразователя является перпендикулярной оси области воздействия ультразвука, с тем чтобы создать направление воздействия ультразвука, перпендикулярное направлению протекания эмульсий вода-нефть. По этой причине эмульсии вода-нефть находятся в области воздействия ультразвука в течение короткого периода. Кроме того, если область воздействия ультразвука представляет собой круглую трубу, когда ультразвуковые волны сходятся при отражении от дуговой внутренней поверхности круглой трубы, легко получить локально избыточную интенсивность звука, которая создаст неравномерную интенсивность ультразвука в области воздействия ультразвука и, таким образом, легко вызовет эмульсификацию вода-нефть.
Патент США US P5,885,424, поданный в 1999 году, описывает структуру области воздействия ультразвука, в которой ультразвуковой преобразователь установлен на плоской прямоугольной коробке, что приводит к тому, что область воздействия ультразвука представляет собой прямоугольную область; преобразователь устанавливается на верхней наружной поверхности или на нижней наружной поверхности трубы. Посредством использования этой структуры область воздействия ультразвуковой волны соответственным образом увеличивается посредством наружных поверхностей прямоугольной коробки и, таким образом, время действия ультразвуковой волны несколько увеличивается. Однако, поскольку направление действия ультразвука является перпендикулярным к направлению протекания эмульсий вода-нефть, время действия ультразвуковой волны по-прежнему является коротким и эффекты воздействия не являются значительными. По этой причине он не имеет ценности при промышленном применении. До сих пор не существует успешной технологии, которая применяет ультразвуковую волну к промышленной непрерывной технологии производства.
Сущность изобретения
Целью настоящего изобретения является устранение указанных выше недостатков современного уровня техники посредством создания способа и устройства для деэмульсификации эмульсий вода-нефть посредством воздействия ультразвука.
Для этого настоящее изобретение предусматривает способ деэмульсификации эмульсий вода-нефть посредством воздействия ультразвука, который включает в себя этап формирования потока эмульсий вода-нефть, по меньшей мере, через одну область воздействия ультразвука вдоль направления потока, отличающийся тем, что: в области воздействия ультразвука попутная ультразвуковая волна, направление распространения которой совпадает с направлением потока эмульсий вода-нефть, формируется посредством, по меньшей мере, одного первого ультразвукового преобразователя, предусмотренного на переднем краю области воздействия ультразвука, и в то же самое время противоточная ультразвуковая волна, направление распространения которой является противоположным направлению потока эмульсий вода-нефть, формируется посредством, по меньшей мере, одного второго ультразвукового преобразователя, предусмотренного на заднем краю области воздействия ультразвука; попутная ультразвуковая волна и противоточная ультразвуковая волна действуют одновременно на эмульсии вода-нефть, которые протекают через область воздействия ультразвука, для деэмульсифицирования эмульсии вода-нефть.
Кроме того, в предпочтительных способах: указанное направление протекания, в котором эмульсии вода-нефть протекают через область воздействия ультразвука, может быть идентичным направлению центральной оси области воздействия ультразвука; предпочтительным является, чтобы попутная ультразвуковая волна и противоточная ультразвуковая волна распространялись с однородной интенсивностью звука в области воздействия ультразвука, и интенсивность звука противоточной ультразвуковой волны не была меньшей, чем у попутной ультразвуковой волны. Предпочтительно, интенсивность звука противоточной ультразвуковой волны не больше, чем 0,8 Вт/см2, и наиболее предпочтительно, не больше, чем 0,5 Вт/см2.
Кроме того, настоящее изобретение предусматривает устройство деэмульсификации для осуществления указанного выше способа, содержащее, по меньшей мере, одну область воздействия ультразвука, через которую протекают эмульсии вода-нефть, при этом на переднем краю области воздействия ультразвука устанавливается, по меньшей мере, один первый ультразвуковой преобразователь для формирования попутной ультразвуковой волны, направление распространения которой является таким же, как и направление потока эмульсии вода-нефть; на заднем краю области воздействия ультразвука устанавливается, по меньшей мере, один второй ультразвуковой преобразователь для формирования противоточной ультразвуковой волны, направление распространения которой является противоположным направлению потока эмульсий вода-нефть; ультразвуковой генератор соединяется с первым и вторым ультразвуковыми преобразователями посредством линий передачи ультразвуковой мощности, так что первый и второй ультразвуковые преобразователи могут возбуждаться для формирования попутной ультразвуковой волны и противоточной ультразвуковой волны.
При этом область воздействия ультразвука может иметь структуру трубы и соединяется с другими трубами для эмульсии вода-нефть в линии добычи и переработки; область воздействия ультразвука может иметь структуру трубы с постоянным диаметром или может представлять собой структуру трубы, имеющую изменяющийся диаметр.
Таким образом, можно увидеть, что настоящее изобретение по существу предусматривает способ и устройство для деэмульсификации эмульсий вода-нефть посредством объединенного воздействия попутной и противоточной ультразвуковых волн, в котором объединенное воздействие попутной и противоточной ультразвуковых волн действует на эмульсии вода-нефть, и направление воздействия ультразвуковых волн является по существу параллельным направлению потока эмульсий вода-нефть, так что время действия ультразвуковой волны на эмульсии вода-нефть значительно увеличивается, и эмульсии вода-нефть могут полностью деэмульсифицироваться.
Краткое описание прилагаемых чертежей
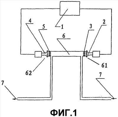
Фиг.1 представляет собой схематическое изображение одного из вариантов осуществления настоящего изобретения.
Фиг.2 представляет собой схематическое изображение второго варианта осуществления настоящего изобретения.
Фиг.3 представляет собой блок-схему ультразвуковой деэмульсификации – электростатического обессоливания и обезвоживания эмульсий вода-нефть в сырой нефти посредством использования способа по настоящему изобретению.
Фиг.4 представляет собой блок-схему ультразвуковой деэмульсификации – обезвоживания посредством осаждения под действием силы тяжести сырой нефти с высоким содержанием воды или загрязненной нефти с высоким содержанием воды посредством использования способа по настоящему изобретению.
Фиг.5 представляет собой блок-схему ультразвуковой деэмульсификации – электрической очистки и обезвоживания дистиллята сырой нефти посредством использования способа по настоящему изобретению.
Подробное описание предпочтительных вариантов осуществления
Обращаясь к фиг.1, настоящее изобретение предусматривает способ деэмульсификации эмульсий вода-нефть посредством воздействия ультразвука, который включает в себя этап формирования потока эмульсий вода-нефть, по меньшей мере, через одну область 6 воздействия ультразвука, вдоль направления 7 потока, отличающийся тем, что: в области 6 воздействия ультразвука попутная ультразвуковая волна 3, направление распространения которой является таким же, как и направление 7 потока указанных эмульсий вода-нефть, формируется посредством, по меньшей мере, одного первого ультразвукового преобразователя 2, предусмотренного на переднем краю 61 области 6 воздействия ультразвука, и в то же самое время противоточная ультразвуковая волна 5, направление распространения которой является противоположным направлению 7 потока указанных эмульсий вода-нефть, формируется посредством, по меньшей мере, одного второго ультразвукового преобразователя 4, предусмотренного на заднем краю 62 области 6 воздействия ультразвука; указанная попутная ультразвуковая волна 3 и противоточная ультразвуковая волна 5 действуют одновременно на эмульсии вода-нефть, которые протекают через указанную область 6 воздействия ультразвука, для деэмульсифицирования эмульсии вода-нефть.
В варианте осуществления, показанном на фиг.1, направление центральной оси области 6 воздействия ультразвука является идентичным указанному направлению 7 потока, в котором эмульсии вода-нефть протекают через область 6 воздействия ультразвука. Попутная ультразвуковая волна 3 и противоточная ультразвуковая волна 5 распространяются с однородной интенсивностью звука в области 6 воздействия ультразвука, в которой, предпочтительно, интенсивность звука противоточной ультразвуковой волны 5 может выбираться так, чтобы она была, в целом, не выше, чем 0,8 Вт/см2, а наиболее предпочтительно, не выше, чем 0,5 Вт/см2. Интенсивность звука противоточной ультразвуковой волны 5 может выбираться так, чтобы она была, в целом, не ниже, чем у попутной ультразвуковой волны 3, для облегчения деэмульсификации эмульсий вода-нефть; в противоположном случае может осуществляться эмульсификация нефти и воды, которая не способствует обессоливанию и обезвоживанию воды-нефти.
Обращаясь к фиг.1, устройство деэмульсификации для осуществления указанного выше способа, предусматриваемого по настоящему изобретению, содержит, по меньшей мере, одну область 6 воздействия ультразвука, через которую протекают эмульсии вода-нефть; на переднем краю 61 области 6 воздействия ультразвука устанавливается, по меньшей мере, один первый ультразвуковой преобразователь 2 для формирования попутной ультразвуковой волны 3, направление распространения которой является таким же, как направление 7 потока эмульсий вода-нефть; на заднем краю 62 области 6 воздействия ультразвука устанавливается, по меньшей мере, один второй ультразвуковой преобразователь 4 для формирования противоточной ультразвуковой волны 5, направление распространения которой является противоположным направлению 7 потока эмульсий вода-нефть; ультразвуковой генератор 1 соединяется с первым ультразвуковым преобразователем 2 и вторым ультразвуковым преобразователем 4 посредством линий передачи ультразвуковой мощности, так что указанные первый и второй ультразвуковые преобразователи могут возбуждаться для генерирования попутной ультразвуковой волны 3 и противоточной ультразвуковой волны 5.
В настоящем варианте осуществления область 6 воздействия ультразвука имеет структуру трубы и может соединяться с другими трубами для эмульсии вода-нефть в линии добычи и переработки. В варианте осуществления, показанном на фиг.1, область 6 воздействия ультразвука имеет структуру трубы, имеющей постоянный диаметр. Область 6 воздействия ультразвука может также иметь структуру трубы, имеющей изменяющийся диаметр. Например, в варианте осуществления, показанном на фиг.2, используется структура трубы с изменяющимся диаметром, оба конца которой имеют больший диаметр, и у которой средняя часть имеет меньший диаметр. Может также использоваться структура трубы с изменяющимся диаметром, имеющая меньший диаметр на обоих концах и больший диаметр в средней части, и, разумеется, может также использоваться структура трубы с изменяющимся диаметром, имеющая больший диаметр на одном конце и меньший диаметр на другом конце, и другие структурные формы, обычно используемые при современном уровне техники. Сечение трубы может иметь различные формы, такие как круг, квадрат и тому подобное. Область 6 воздействия ультразвука может соединяться с трубами для воды-нефти посредством различных способов соединения, таких как сварка или использование фланцев, и тому подобное, известных из уровня техники.
Ультразвуковой генератор 1 подает энергию для питания первого ультразвукового преобразователя 2 и второго ультразвукового преобразователя 4 для формирования, соответственно, соответствующих ультразвуковых волн, которые являются по существу параллельными направлению 7 потока эмульсий вода-нефть, что может осуществляться посредством множества способов и структур, известных из уровня техники. На фиг.1 направления установки первого ультразвукового преобразователя 2 и второго ультразвукового преобразователя 4 требуют, чтобы направления попутной ультразвуковой волны 3 и противоточной ультразвуковой волны 5, формируемыми ими, были по существу параллельными направлению 7 потока эмульсии вода-нефть, это направление 7 потока является по существу параллельным направлению центральной оси трубы области 6 воздействия ультразвука.
При объединенном воздействии попутной и противоточной ультразвуковых волн эмульсии вода-нефть, которые вводятся посредством трубы и проходят через область 6 воздействия ультразвука, могут удовлетворительно деэмульсифицироваться, а после деэмульсификации смесь вода-нефть осаждается и разделяется под действием электрического поля и таким образом обезвоживается.
Попутная ультразвуковая волна 3 и противоточная ультразвуковая волна 5, которые распространяются в том же, что и направление 7 потока эмульсий вода-нефть, и в противоположном направлении, соответственно, объединяются друг с другом для воздействия на эмульсии вода-нефть. Поскольку область 6 воздействия ультразвука имеет структуру трубы, поверхность отражения области воздействия ультразвука не имеет искривленной структуры в направлении излучения ультразвуковой волны, для предотвращения схождения и перекрывания формируемых ультразвуковых волн и предотвращения эмульсификации воды-нефти. Это область воздействия ультразвука может формировать ультразвуковые волны с однородной интенсивностью звука, действующие в трубе в течение длительного периода времени, в которой протекают эмульсии вода-нефть, для достижения лучших эффектов обессоливания и обезвоживания.
При общих условиях выбор частоты ультразвуковой волны не сильно влияет на эффекты обессоливания и обезвоживания воды-нефти. Ультразвуковая волна легко затухает при высокой частоте. По этой причине является, как правило, удобным использовать ультразвуковую волну 0,1-50 КГц. В соответствии с различными условиями добычи для увеличения периода времени воздействия ультразвуковой волны на сырую нефть в состоянии потока могут предусматриваться более двух областей воздействия ультразвука, последовательно или параллельно, для удовлетворения различных требований при добыче.
По сравнению с известным уровнем техники в соответствии со способом и устройством по настоящему изобретению предусматривается область воздействия ультразвука, способная формировать однородную интенсивность звука, эта область воздействия ультразвука способна увеличить период времени воздействия ультразвуковой волны. Направление оси области воздействия ультразвука идентично направлению потока воды-нефти; ультразвуковая волна распространяется до дальнего края трубы без перекрывания и схождения; время воздействия ультразвуковой волны увеличивается; генерируется ультразвуковая волна, имеющая однородную интенсивность звука; структура эмульсии вода-нефть деэмульсифицируется, и улучшаются эффекты обезвоживания. Промышленные испытания показывают, что по сравнению со способом простого электростатического обессоливания содержание соли воды-нефти после обессоливания может уменьшаться от 5-10 до 1-4 мг/л с использованием этого ультразвукового-электростатического способа обессоливания воды-нефти. Содержание воды в переработанной сырой нефти уменьшается от начальных 0,4-0,8 до 0,1-0,4%. Если способ и устройство по настоящему изобретению используются для переработки загрязненной нефти с высоким содержанием воды или сырой нефти с высоким содержанием воды, содержание нефти в откачанной воде может уменьшаться примерно на 50% или более.
Настоящее изобретение может использоваться в процедуре переработки сырой нефти на нефтеперерабатывающем заводе, то есть в технологии электростатического обессоливания и обезвоживания сырой нефти, в технологиях электрической очистки и обезвоживания бензина, керосина и дизельного топлива, в технологии денитридирования и электрической очистки и обезвоживания смазочного масла, в технологии извлечения и обезвоживания нефти, содержащейся в откачанной воде, содержащей соль, получаемой после электростатического обессоливания, и в технологии извлечения и обезвоживания сырой нефти в загрязненной нефти на дне танков для сырой нефти. Настоящее изобретение может также использоваться в технологии обезвоживания сырой нефти, содержащейся в воде после осаждения под действием силы тяжести, при добыче сырой нефти в нефтяных полях и в технологии электростатического обессоливания и обезвоживания сырой нефти в нефтяных полях.
Фиг.3 представляет собой блок-схему способа ультразвуковой деэмульсификации – электростатического обессоливания и обезвоживания эмульсий вода-нефть в сырой нефти посредством использования способа по настоящему изобретению.
Как показано на фиг.3, после того, как сырая нефть из нефтеперерабатывающего завода или нефтяного поля проходит через устройство 8 ультразвукового воздействия (которое содержит область 6 воздействия ультразвука и первый и второй ультразвуковые преобразователи 2, 4), структура эмульсии вода-нефть деэмульсифицируется; затем сырая нефть поступает в танк 9 электростатического обессоливания, в котором она обессоливается и обезвоживается под действием электрического поля высокого напряжения; и сырая нефть вытекает из верхней части танка 9 электростатического обессоливания, и поток воды вытекает из его нижней части посредством осаждения под действием силы тяжести и разделения, таким образом, чтобы достичь оптимальных эффектов обессоливания и обезвоживания.
(1) Результаты по обессоливанию и обезвоживанию промышленных испытаний, осуществляемых посредством применения способа по настоящему изобретению к устройству электростатического обессоливания на некотором нефтеперерабатывающем заводе, являются следующими.
(а) Условия промышленного производства перед испытаниями без использования настоящего изобретения
| Время испытаний |
Содержание соли в сырой нефти после обессоливания и обезвоживания |
Содержание воды в сырой нефти после обессоливания и обезвоживания |
| 10 июня, 2003 |
5 мг/л |
0,4% |
| 11 июня, 2003 |
6 мг/л |
0,4% |
| 13 июня, 2003 |
10 мг/л |
0,7% |
| 20 июня, 2003 |
5 мг/л |
0,5% |
| 21 июня, 2003 |
7 мг/л |
0,4% |
| 22 июня, 2003 |
5 мг/л |
0,5% |
| 23 июня, 2003 |
7 мг/л |
0,4% |
| 1 июля, 2003 |
10 мг/л |
0,8% |
(b) Результаты промышленных испытаний с использованием настоящего изобретения
| Время испытаний |
Содержание соли в сырой нефти после обессоливания и обезвоживания |
Содержание воды в сырой нефти после обессоливания и обезвоживания |
| 13 июня, 2003 |
1,6 мг/л |
0,2% |
| 14 июня, 2003 |
2,6 мг/л |
0,3% |
| 15 июня, 2003 |
2,5 мг/л |
0,1% |
| 16 июня, 2003 |
2,7 мг/л |
0,2% |
| 2 июля, 2003 |
2,8 мг/л |
0,2% |
| 3 июля, 2003 |
3,2 мг/л |
0,3% |
| 4 июля, 2003 |
4,0 мг/л |
0,2% |
| 5 июля, 2003 |
1,8 мг/л |
0,1% |
| 15 июля, 2003 |
2,5 мг/л |
0,3% |
| 16 июля, 2003 |
2,7 мг/л |
0,2% |
При сравнении данных в группе (а) и группе (b) можно увидеть, что при использовании способа и устройства по настоящему изобретению, при обессоливании и обезвоживании, содержание соли в сырой нефти после переработки может быть уменьшено примерно на 50%, а содержание воды в сырой нефти после переработки может быть уменьшено примерно на 50%.
(2) Применяя способ по настоящему изобретению к устройству для электростатического обессоливания на некотором нефтеперерабатывающем заводе, является очевидным, что электрическое напряжение электростатического обессоливания увеличивается, электрический ток электростатического обессоливания уменьшается и что потребление электрической энергии при электростатическом обессоливании уменьшается.
В случае без изменения других условий добычи исследования промышленного применения способа и устройства по настоящему изобретению осуществляются в течение первого этапа электростатического обессоливания, при котором 5% воды вливается на первом этапе электростатического обессоливания; операция простого электростатического обессоливания на втором этапе электростатического обессоливания не изменяется, при этом только 3% воды вливается на втором этапе электростатического обессоливания. Как правило, в случае, когда сырая нефть серьезно эмульсифицирована, первый этап электростатического обессоливания ниже, чем второй этап электростатического обессоливания, по электрическому напряжению, но выше по электрическому току. Во время испытаний второй этап электростатического обессоливания имеет более низкое электрическое напряжение и более высокий электрический ток.
Некоторые полезные эффекты во время промышленных испытаний демонстрируются некоторыми данными ниже:
| Время испытания |
|
Первый этап электростатического обессоливания с использованием настоящего изобретения |
Второй этап электростатического обессоливания без использования настоящего изобретения |
| 13 июня, 2003, 9:00 |
Напряжение v |
348 |
360 |
350 |
348 |
364 |
354 |
| Ток I |
189 |
249 |
230 |
249 |
268 |
252 |
| 14 июня, 2003 9:00 |
Напряжение v |
367 |
367 |
363 |
239 |
65 |
258 |
| Ток I |
163 |
228 |
185 |
358 |
528 |
375 |
| 15 июня, 2003 9:00 |
Напряжение v |
344 |
355 |
354 |
154 |
58 |
224 |
| Ток I |
197 |
255 |
233 |
384 |
530 |
419 |
| 16 июня, 2003 9:00 |
Напряжение v |
340 |
328 |
344 |
27 |
29 |
30 |
| Ток I |
207 |
291 |
229 |
445 |
529 |
446 |
| 2 июля, 2003 9:00 |
Напряжение v |
301 |
322 |
307 |
285 |
280 |
285 |
| Ток I |
283 |
317 |
296 |
328 |
387 |
327 |
| 3 июля, 2003 9:00 |
Напряжение v |
337 |
354 |
336 |
324 |
342 |
327 |
| Ток I |
253 |
275 |
262 |
282 |
303 |
284 |
| 4 июля, 2003 9:00 |
Напряжение v |
373 |
384 |
365 |
363 |
375 |
366 |
| Ток I |
193 |
215 |
203 |
216 |
231 |
222 |
При сравнении значений, показывающих электрические напряжения и токи первого этапа электростатического обессоливания с использованием настоящего изобретения и второго этапа электростатического обессоливания, без использования настоящего изобретения во время испытаний, можно увидеть, что воздействие ультразвука по настоящему изобретению имеет эффекты уменьшения тока электростатического обессоливания и увеличения напряжений электростатического обессоливания. Как правило, уменьшение тока электростатического обессоливания может уменьшить потребление электрической энергии при электростатическом обессоливании.
Фиг.4 представляет собой блок-схему ультразвуковой деэмульсификации – обезвоживания посредством осаждения под действием силы тяжести сырой нефти с высоким содержанием воды или загрязненной нефти с высоким содержанием воды посредством использования способа по настоящему изобретению.
Как показано на фиг.4, в загрязненной нефти на дне танка для сырой нефти, в танке-отстойнике 10, загрязненная нефть с высоким содержанием воды, откачанная вода с высоким содержанием нефти, выпускаемая после электростатического обессоливания сырой нефти, и сырая нефть с высоким содержанием воды, добытая из нефтяных скважин в нефтяных полях, эти эмульсии могут содержать до 5% воды или более, или даже до 90% или более. Эмульсии вода-нефть с высоким содержанием воды деэмульсифицируются после прохождения через устройство 8 воздействия ультразвука, а затем циркулируют в танке-отстойнике 10 для загрязненной нефти, для обезвоживания посредством осаждения под действием силы тяжести. Сырая нефть и загрязненная нефть извлекаются после откачки воды на дне танка.
Ниже перечислены, после использования способа и устройства по настоящему изобретению, результаты, полученные при извлечении нефти, содержащей откачанную воду, содержащую соль, после электростатического обессоливания.
(1) Содержание нефти в откачанной воде при извлечении нефти, содержащейся в осажденной откачанной воде, содержащей соль, является следующим:
| 1 июля, 2003 |
7% |
| 6 июля, 2003 |
10% |
| 7 июля, 2003 |
9% |
| 8 июля, 2003 |
10% |
| 9 июля, 2003 |
10% |
2) Когда используются способ и устройство по настоящему изобретению, содержание нефти в откачанной воде, когда извлекается нефть, содержащаяся в откачанной воде, содержащей соль, является следующим:
| 2 июля, 2003 |
3,5% |
| 3 июля, 2003 |
4% |
| 4 июля, 2003 |
4% |
| 5 июля, 2003 |
4% |
При сравнении данных в группе (1) и группе (2) можно увидеть, что при использовании способа и устройства по настоящему изобретению во время обезвоживания в танке посредством осаждения под действием силы тяжести содержание нефти в откачанной воде может уменьшаться примерно на 50% или более.
Фиг.5 представляет собой блок-схему ультразвуковой деэмульсификации – электрической очистки и обезвоживания дистиллята сырой нефти с использованием способа по настоящему изобретению.
Как показано на фиг.5, во время электрической очистки дистиллята сырой нефти схема реализации с использованием способа и устройства по настоящему изобретению может применяться к технологиям деэмульсификации и обезвоживания для электрической очистки бензина, керосина и дизельного топлива, а также к способу деэмульсификации и обезвоживания для денитрифицирования и электрической очистки смазочного масла. Фиг.5 показывает, что указанные выше различные дистилляты сырой нефти после прохождения через устройство 8 воздействия ультразвука имеют деэмульсифицированную структуру эмульсии вода-нефть, а затем поступают в танк 11 электрической очистки для продолжения обезвоживания, осаждения под действием силы тяжести и откачки под действием электрического поля высокого напряжения.
Ниже осуществляется экспериментальное сравнение эффектов деэмульсификации, осуществляемых посредством объединенного воздействия попутной и противоточной ультразвуковых волн с использованием способа по настоящему изобретению, и эффектов деэмульсификации, осуществляемых однонаправленной попутной ультразвуковой волной или противоточной ультразвуковой волной.
Принимая блок-схему ультразвукового – электростатического обессоливания сырой нефти, показанную на фиг.3, в качестве примера, исследование однонаправленного воздействия ультразвука может осуществляться посредством выключения первого ультразвукового преобразователя 2 или второго ультразвукового преобразователя 4. При сравнении с блок-схемой противоточной или попутной ультразвуковой волны объединенное действие как противоточной, так и попутной ультразвуковых волн является более эффективным при деэмульсификации эмульсий вода-нефть, понижении содержания соли в переработанной сырой нефти, понижении содержания воды в переработанной сырой нефти и понижении содержания нефти в откачанной воде после обработки.
(1) На частоте 20 КГц сравниваемые результаты эффектов обессоливания, полученные с помощью объединенного попутного и противоточного, отдельного противоточного, отдельного попутного устройств ультразвукового – электростатического обессоливания, являются следующими:
| Интенсивность звука |
Объединенная попутная и противоточная |
Отдельная противоточная |
Отдельная попутная |
| 0,5 Вт/см2 |
1,2 мг/л |
3,5 мг/л |
4,5 мг/л |
| 0,4 Вт/см2 |
1,5 мг/л |
4,0 мг/л |
5,0 мг/л |
| 0,3 Вт/см2 |
2,1 мг/л |
4,4 мг/л |
5,1 мг/л |
| 0,2 Вт/см2 |
2,8 мг/л |
4,7 мг/л |
5,6 мг/л |
| 0,1 Вт/см2 |
3,1 мг/л |
5,6 мг/л |
6,2 мг/л |
Без применения воздействия ультразвука сырая нефть после электростатического обессоливания содержит соль, примерно 8 мг/л после исследования.
При испытаниях при той же интенсивности звука ультразвуковой волны посредством осуществления способа и устройства по настоящему изобретению, при объединенном воздействии как попутной, так и противоточной волн, по сравнению с отдельной попутной или отдельной противоточной волной, содержание соли в сырой нефти после электростатического обессоливания уменьшается примерно на 50%. Соль, содержащаяся в сырой нефти после электростатического обессоливания с использованием объединенного устройства ультразвукового – электростатического обессоливания с объединенным действием как попутной, так и противоточной ультразвуковых волн, содержится в явно меньшем количестве, чем при использовании только попутной или противоточной волны.
(2) На частоте 20 КГц результаты сравнения эффектов обезвоживания, полученных с помощью устройств ультразвукового – электростатического обессоливания с объединенной попутной и противоточной волнами, отдельной противоточной волной, отдельной попутной волной, являются следующими:
| Интенсивность звука |
Объединенная попутная и противоточная |
Отдельная противоточная |
Отдельная попутная |
| 0,5 Вт/см2 |
0,18% |
0,32% |
0,45% |
| 0,4 Вт/см2 |
0,19% |
0,41% |
0,48% |
| 0,3 Вт/см2 |
0,22% |
0,43% |
0,51% |
| 0,2 Вт/см2 |
0,25% |
0,46% |
0,58% |
| 0,1 Вт/см2 |
0,30% |
0,59% |
0,66% |
Без применения воздействия ультразвука сырая нефть после электростатического обессоливания содержит примерно 0,8% воды.
Таким образом, можно увидеть, что при испытаниях, при такой же интенсивности звука ультразвуковой волны, при использовании способа и устройства по настоящему изобретению, при объединенном действии как попутной, так и противоточной волны, по сравнению с отдельной попутной или отдельной противоточной волной, содержание воды в сырой нефти после электростатического обессоливания уменьшается примерно на 40-60%. В случае использования объединенного устройства ультразвукового электростатического обессоливания с объединенным действием как попутной, так и противоточной ультразвуковых волн, содержание воды в сырой нефти после обезвоживания явно является более низким, чем при использовании только попутной или противоточной волны, с получением лучших эффектов обезвоживания.
(3) На частоте 20 КГц результаты сравнения эффектов обезвоживания, полученных с помощью устройств ультразвукового – электростатического обессоливания с объединенной попутной и противоточной волнами, отдельной противоточной волной, отдельной попутной волной, являются следующими.
Эффекты, получаемые посредством осуществления способа и устройства с объединенным действием как попутной, так и противоточной волны, по настоящему изобретению, по сравнению с теми, которые получают посредством только электростатического обессоливания, могут вызвать понижение содержания нефти в откачанной воде, полученной посредством обессоливания сырой нефти, примерно на 50%.
Сравнивая эффекты осуществления отдельного противоточного устройства ультразвукового – электростатического обессоливания с теми, которые получают посредством простого электростатического обессоливания, обнаружено, что содержание нефти в откачанной воде, полученной посредством обессоливания сырой нефти, в обоих случаях соответствуют друг другу.
При осуществлении эффектов отдельного попутного устройства ультразвукового – электростатического обессоливания, по сравнению с теми, которые получают посредством только электростатического обессоливания, однако, содержание нефти в откачанной воде, полученной посредством обессоливания сырой нефти, увеличивается примерно на 40%, вызывая определенную степень эмульсификации воды-нефти.
Таким образом, можно увидеть, что эффекты, полученные посредством осуществления способа и устройства с объединенным действием как попутной, так и противоточной волны, по настоящему изобретению, по сравнению с теми, которые получают посредством только противоточного или попутного устройства ультразвукового -электростатического обессоливания, могут значительно понизить содержание нефти в откачанной воде после обессоливания.
Формула изобретения
1. Способ деэмульсификации эмульсий вода-нефть посредством воздействия ультразвука, содержащий этап формирования потока эмульсий вода-нефть, по меньшей мере, через одну область воздействия ультразвука вдоль направления потока, отличающийся тем, что в указанной области воздействия ультразвука попутная ультразвуковая волна, направление распространения которой является таким же, как и направление потока указанных эмульсий вода-нефть, формируется посредством, по меньшей мере, одного первого ультразвукового преобразователя, предусмотренного на переднем краю указанной области воздействия ультразвука, и в то же самое время, противоточная ультразвуковая волна, направление распространения которой является противоположным направлению потока указанных эмульсий вода-нефть, формируется посредством, по меньшей мере, одного второго ультразвукового преобразователя, предусмотренного на заднем краю указанной области воздействия ультразвука; и попутная ультразвуковая волна, и противоточная ультразвуковая волна действуют одновременно на эмульсии вода-нефть, которые протекают через указанную область воздействия ультразвука, для деэмульсифицирования указанных эмульсий вода-нефть.
2. Способ по п.1, отличающийся тем, что ориентация центральной оси указанной области воздействия ультразвука является идентичной указанному направлению потока, в котором указанные эмульсии вода-нефть протекают через указанную область воздействия ультразвука.
3. Способ по п.1, отличающийся тем, что указанная попутная ультразвуковая волна и противоточная ультразвуковая волна распространяются в указанной области воздействия ультразвука с однородной интенсивностью звука; интенсивность звука указанной противоточной ультразвуковой волны не является меньшей, чем у указанной попутной ультразвуковой волны.
4. Способ по одному из пп.1-3, отличающийся тем, что интенсивность звука указанной противоточной ультразвуковой волны не выше, чем 0,8 Вт/см2.
5. Способ по п.4, отличающийся тем, что интенсивность звука указанной противоточной ультразвуковой волны не выше, чем 0,5 Вт/см2.
6. Устройство деэмульсификации для осуществления способа по п.1, которое содержит, по меньшей мере, одну область воздействия ультразвука, в которой протекают эмульсии вода-нефть, отличающееся тем, что на переднем краю указанной области воздействия ультразвука устанавливается первый ультразвуковой преобразователь для формирования попутной ультразвуковой волны, направление распространения которой является таким же, как и направление потока указанных эмульсий вода-нефть, а на заднем краю указанной области воздействия ультразвука устанавливается второй ультразвуковой преобразователь для формирования противоточной ультразвуковой волны, направление распространения которой является противоположным направлению потока указанных эмульсий вода-нефть; и ультразвуковой генератор соединяется с указанными первым и вторым ультразвуковыми преобразователями посредством линий передачи ультразвуковой мощности, с тем, чтобы возбуждать указанный первый и второй ультразвуковые преобразователи для формирования указанной попутной ультразвуковой волны и указанной противоточной ультразвуковой волны.
7. Устройство деэмульсификации по п.6, отличающееся тем, что указанная область воздействия ультразвука имеет структуру трубы и соединяется с другими трубами для эмульсии вода-нефть в линии добычи и переработки.
8. Устройство деэмульсификации по п.7, отличающееся тем, что указанная область воздействия ультразвука имеет структуру трубы с постоянным диаметром.
9. Устройство деэмульсификации по п.7, отличающееся тем, что указанная область воздействия ультразвука имеет структуру трубы с изменяющимся диаметром.
РИСУНКИ
|
|