|
|
(21), (22) Заявка: 2004104153/12, 12.02.2004
(24) Дата начала отсчета срока действия патента:
12.02.2004
(43) Дата публикации заявки: 20.07.2005
(46) Опубликовано: 27.11.2008
(56) Список документов, цитированных в отчете о поиске:
SU 1648802 A1, 15.05.1991. DE 2617862 A1, 10.11.1977. US 5480064 A, 02.01.1996. SU 1818257 A1, 30.05.1993. SU 1546288 A1, 28.02.1990. GB 467245 A, 14.06.1937.
Адрес для переписки:
618204, Пермская обл., г. Чусовой, ул. 50 лет ВЛКСМ, 2г, к.174, И.В.Коробицину
|
(72) Автор(ы):
Коробицин Иван Владимирович (RU)
(73) Патентообладатель(и):
Коробицин Иван Владимирович (RU)
|
(54) ФЛАКОН ДЛЯ КЛЕЯ
(57) Реферат:
Изобретение относится к флакону для клея с зауженным и удлиненным патрубком, закрываемым пробкой. Флакон отформован из низкоадгезивного материала, выполнен прямоугольным и имеет закругленные боковые ребра. Верхняя часть у горловины выполнена с плечиками, с узких боковых сторон которые скошены. Нижняя часть флакона выполнена с гофрировкой, а дно имеет зауженные, обрезанные и направленные к верху разглаживающие участки. Подошва дна в центре и у своих углов имеет выпуклые наружу ножки, при этом у боковых ребер флакона, выше гофрировки, также расположены две ножки. Внутри флакона, в центре дна имеется полый элемент с установленной в него в распор спицей, не доходящей до торцевого среза выпускного патрубка пробки. Пробка надета на горловину флакона посредством распорных буртиков, расположенных на пробке и на горловине или накручена по резьбе. Упомянутая пробка содержит около патрубка обрамление со скошенным козырьком, обращенным на сторону флакона с двумя боковыми ножками. В торцевом срезе выпускного патрубка размещена заглушка, расположенная на конце ленты, отформованной безотрывно от патрубка, причем лента отформована с обратной поперечной вогнутостью и с продольной выгнутостью относительно положения закрытия флакона. Лента также может быть отформована как отдельная деталь, одеваемая концевым колечком на патрубок, в распор через утолщение на нем. Предложенный флакон обеспечивает облегчение использования находящегося в нем клея, повышает удобство и экономию рабочего времени. 1 ил.
Флакон предназначен как емкость для хранения и как дозирующее устройство для клея, находящегося в нем. И в основном может быть использован под клеи на водной основе, применяемые в канцелярском делопроизводстве, например силикатный по ТУ 6-15-433-92.
В качестве аналогов мною выбраны:
а/ флакон для канцелярских клеев фирмы “Экспоприбор” из г.Обнинска, на который навернута пробка с ссужающимся выпускным патрубком, закрываемым пробочкой, и которые широко продаются в отделах канцелярских принадлежностей.
б/ Сильфонная или гофрированная часть многих изделий и устройств, например гофрочасть гармошки.
Аналог под литерой /а/ – флакон для канцелярских клеев вполне может быть использован и используется в канцелярском делопроизводстве, но не может обеспечить достижения технического результата, каковой может быть достигнут при помощи заявляемого флакона. Аналог под литерой /б/ – сильфон или гофрочасть изделий и устройств справляется со своими задачами в них, но как отдельный элемент или как часть этих изделий и устройств не может обеспечить достижения технического результата. каковой может быть достигнут при помощи заявляемого флакона.
При помощи предлагаемого к рассмотрению флакона облегчается использование находящегося в нем клея и соответственно будет экономиться рабочее время людей, применяющих клей в данном флаконе при своей работе, что будет выражаться в следующем:
а/ При открытии, пользовании, закрытии флакона требуется лишь одна рука.
б/ Отпадает надобность в промежутках между использованием клея закрывать выпускной патрубок пробкой, чтобы в нем не засох клей и чтоб его после засыхания не пришлось из патрубка выковыривать наружу или проталкивать вовнутрь флакона.
в/ Отпадает надобность из пробочки патрубка время от времени выковыривать набивающиеся в нее остатки засыхающего клея с самого выпускного патрубка.
г/ Отпадает надобность куда-либо класть пробочку с патрубка после открытия флакона, а затем ее искать для его закрытия.
д/ Отпадает надобность пальцами приглаживать приклеиваемый лист бумаги и соответственно уменьшается возможность испачкать их в клее.
е/ Чище станет рабочее место.
Существенными признаками, достаточными для достижения обеспечиваемого изобретением технического результата, является наличие следующих признаков, как то: наличие собственно флакона с гофрировкой, с закрепленной внутри спицей, с приглаживающими утюжками, закрываемого пробкой с ссужающимся выпускным патрубком, который закрывается заглушкой и у основания которого выполнено обрамление с козырьком на половине оного.
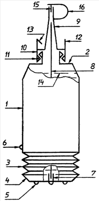
К описанию приложен чертеж. На нем изображен флакон для клея с двумя местными разрезами: верхней и нижней частей флакона.
Флакон для клея изготовлен из материала с низкой адгезивностью и состоит (смотри чертеж) собственно из прямоугольного при горизонтальных сечениях флакона 1 с закругленными боковыми ребрами. Верхняя часть его возле горловины имеет плечики 2, скошенные с узких боковых сторон, а нижняя часть выполнена с гофрировкой 3. Дно флакона у обеих узких боковых сторон имеет зауженные, ровно обрезанные и направленные кверху разглаживающие участки 4, а подошва дна в центре и у своих углов имеет выпуклые наружу ножки 5, находящиеся за плоскостью разглаживающих участков. Две такие же ножки 6 расположены над одним из разглаживающих участков у боковых ребер флакона и чуть выше гофрировки. Внутри флакона, в центре дна имеется полый изнутри элемент 7, в полость которого в распор воткнута тонкая спица 8, немного не доходящая до выпускного патрубка 9 на пробке 10. Пробка либо надета на горловину флакона посредством распорных буртиков 11 на пробке и на горловине, либо накручена по резьбе, причем это сделано так, что по окончании операции надевания (накручивания) пробка частью своего верхнего обрамления 12 с козырьком 13, выполненным с наклоном к основанию патрубка и на половине обрамления, обращена на сторону, где у боковых ребер флакона и чуть выше гофрировки расположены две боковые ножки. Флакон, заполненный клеем 14, закрывается заглушкой 15, расположенной на конце ленты 16, которая отформована безотрывно от патрубка и с противоположной стороны от части обрамления с козырьком на пробке. Причем лента отформована с обратной положению закрытия флакона поперечной вогнутостью и с продольной выгнутостью (также лента с заглушкой может быть изготовлена как отдельная деталь, одеваемая концевым колечком на выпускной патрубок в распор и через упорное утолщение на нем). Примечание: при недостаточной упругости гофрочасти флакона его спица в подпробочной части может быть дополнена пружиной сжатия (не показано).
При необходимости склеить два листа бумаги нужно стоящий флакон с клеем, если он стоит иначе, развернуть так, чтобы его узкая сторона с боковыми ножками 6 смотрела наружу от руки, использующей флакон с клеем. Затем нужно обхватить большим и указательным пальцами нижнюю часть пробки 10 и с упором на плечики 2 надавить на флакон. При этом флакон сожмется по своей гофрировке 3, а спица 8, закрепленная в дне флакона, выдавит из патрубка 9 заглушку 15, и та вместе с лентой 16 и за счет ленты, отформованной с обратной положению закрытия флакона поперечной вогнутостью и продольной выгнутостью, будет отведена к пробке (при нажатии на плечики флакона объем сжатия гофрировки компенсируется раздутием свободных боковых сторон флакона). После этого нужно перевести пальцы с плечиков флакона на середину его широких боков и затем наклонив флакон выдавить из него через патрубок 9 клей 14 на полосу склеивания (флакон перед выдавливанием клея из-за того, что его плечики с узких боковых сторон скошены, наклоняем на меньший угол). Выдавав клей, можно дорожку, образованную им, размазать в полосу одним из утюжков 4, а затем, приложив приклеиваемый лист бумаги, разгладить полосу приклеивания другим чистым разглаживающим участком 4. Если при прикладывании к основному листу приклеиваемого листа обе руки будут заняты, а также после заглаживания полосы приклеивания флакон с клеем можно отставить в сторону, и ножки 5 не позволят ему к чему-нибудь приклеится, даже если на разглаживающих участках 4 останутся остатки клея от его размазывания и от заглаживания полосы приклеивания. В промежутках между приклеиванием бумаг торцевой срез выпускного патрубка 9 флакона затягивает засыхающими остатками клея, вплоть до полного его заглушения, но надобности закрывать заглушкой патрубок, отвлекая на это время нет, т.к. пробку засохшего клея из-за низкой адгезивности материала пробки можно легко вытолкать спицей 8 наружу, нажав вниз на плечики 2 флакона. Вытолкнутый засохший клей падает на верхнюю часть пробки, ограниченную обрамлением 12, или на козырек 13 обрамления, и даже если он не скатится с козырька на верхнюю часть пробки, то может быть уронен туда последующим легким постукиванием донной частью флакона об стол. В дальнейшем засохший клей в обрамленной части пробки операциям по склеиванию бумаг мешать не будет, т.к. при наклоне флакона для выдавливания клея на место склейки частички засохшего клея будут скатываться под козырек 13 обрамления 12 на пробке, который препятствует их падению на склеиваемые листы, поэтому отпадает надобность каждый раз вытряхивать из обрамления пробки частички засохшего клея, и лишь приличное скопившееся количество его можно вытряхнуть через безкозыречную часть обрамления пробки. При израсходовании большего количества клея, чтобы не терять время на то, пока остатки клея не скатятся со дна флакона к выпускному патрубку (особенно когда он густоват), нужно флакон в промежутках между склеиваниями класть на стол на бок, на боковые ножки 6, благодаря которым нижняя часть флакона оказывается приподнятой. И поэтому остатки клея внутри флакона скатываются к пробке, а разглаживающий участок 4 с этой стороны флакона, даже имея на своем кончике остатки клея от предыдущего его размазывания по бумаге, не замарает стол. Из-за низкой адгезивности материала флакона остатки клея с его разглаживающих участков при необходимости нетрудно удалить, отковыряв засохшие остатки клея, а незасохшие вымазав на ненужный лист бумаги. По окончании использования клея флакон закрывается заглушкой 15, втыкаемой в отверстие выпускного патрубка, который перед этим освобождается от остатков засыхающего или засохшего клея при нажатии вниз на плечики флакона.
Формула изобретения
Флакон для клея с зауженным и удлиненным патрубком, закрываемым пробкой, отличающийся тем, что он отформован из низкоадгезивного материала, выполнен прямоугольным и имеет закругленные боковые ребра и верхнюю часть у горловины, выполненную с плечиками, с узких боковых сторон которые скошены, и нижнюю часть, выполненную с гофрировкой, а также дно, которое у обоих узких боковых сторон имеет зауженные, обрезанные и направленные к верху разглаживающие участки, при этом подошва дна в центре и у своих углов имеет выпуклые наружу ножки, кроме того, у боковых ребер флакона, выше гофрировки, также расположены две ножки, а внутри флакона, в центре дна имеется полый элемент с установленной в него в распор спицей, не доходящей до торцевого среза выпускного патрубка пробки, которая надета на горловину флакона посредством распорных буртиков на пробке и на горловине или накручена по резьбе, при этом пробка содержит около патрубка обрамление со скошенным козырьком, обращенным на сторону флакона с двумя боковыми ножками, а в торцевом срезе выпускного патрубка размещена заглушка, расположенная на конце ленты, отформованной безотрывно от патрубка и с противоположной стороны от части обрамления с козырьком, причем лента отформована с обратной поперечной вогнутостью и с продольной выгнутостью относительно положения закрытия флакона, либо отформованной как отдельная деталь, одеваемая концевым колечком на патрубок, в распор через утолщение на нем.
РИСУНКИ
|
|