|
|
(21), (22) Заявка: 2006126193/02, 20.07.2006
(24) Дата начала отсчета срока действия патента:
20.07.2006
(43) Дата публикации заявки: 27.01.2008
(46) Опубликовано: 27.11.2008
(56) Список документов, цитированных в отчете о поиске:
НАЗАРЕНКО O.K. и др. Конструирование и электронно-лучевая сварка вакуумных камер. Автоматическая сварка, №6, 2001, с.50-52. RU 2083687 C1, 10.07.1997. SU 1824457 A1, 30.06.1993. RU 2213159 C2, 20.05.2003. JP 55-165288, 23.12.1980. JP 55-165288, 23.12.1980. JP 11-138276, 25.05.1999.
Адрес для переписки:
105118, Москва, пр-кт Буденного, 16, ФГУП ММПП “САЛЮТ”, Филиал “НИИД” (цех 102), В.А. Гейкину
|
(72) Автор(ы):
Константинов Виктор Вениаминович (RU), Савчук Владимир Петрович (RU), Соколов Юрий Алексеевич (RU), Гейкин Валерий Александрович (RU), Наговицын Евгений Михайлович (RU), Пузанов Сергей Георгиевич (RU), Елисеев Юрий Сергеевич (RU), Поклад Валерий Александрович (RU), Шаронова Наталья Ивановна (RU)
(73) Патентообладатель(и):
Открытое акционерное общество “Электромеханика” (RU)
|
(54) ВАКУУМНАЯ КАМЕРА ДЛЯ ЭЛЕКТРОННО-ЛУЧЕВОЙ ОБРАБОТКИ
(57) Реферат:
Изобретение относится к установкам для электронно-лучевой обработки изделий сваркой, пайкой или наплавкой, а именно к вакуумным камерам. Вакуумная камера содержит вакуум-плотные наружную и внутреннюю оболочки, размещенные одна в другой с образованием полости между ними. В полости размещены шпангоуты, присоединенные к стенкам наружной оболочки. К рабочему пространству внутренней оболочки камеры подключена система вакуумных насосов. Полость между оболочками выполнена изолированной от атмосферы и соединена каналами с рабочим пространством внутренней оболочки камеры. При этом шпангоуты размещены с зазором по отношению к боковым и верхним стенкам внутренней оболочки, величина которого больше величины прогиба шпангоутов в процессе работы. Такая конструкция обеспечивает устранение деформации внутренней оболочки камеры, что повышает надежность и качество работы установки. 1 з.п. ф-лы, 3 ил.
Изобретение относится к электронно-лучевой обработке изделий сваркой, пайкой или наплавкой, конкретно к установкам для электронно-лучевой обработки изделий, использующим различные вакуумные камеры, – ответственные и трудоемкие конструкции, которые при наименьшей металлоемкости должны иметь оптимальную технологичность и достаточную жесткость при воздействии атмосферного давления на их стенки. Особенно это касается крупногабаритных камер с рабочим объемом 20…40 м.3. Несмотря на предпринимаемые меры по ужесточению стенок камеры от воздействия атмосферного давления при вакуумировании деформация ее стенок доходит до 3 мм. Это исключает возможность монтажа прецизионных манипуляторов перемещения пушки и свариваемого изделия на стенках камеры и приводит к нерациональному использованию рабочего пространства камеры.
Известна установка для электронно-лучевой сварки, содержащая вакуумную камеру, подключенную к системе вакуумных насосов (см. пат. RU №2158664 за 2000 г., кл. В23К 15/06). Для размещения электронно-лучевых пушек в камере выполнены боковые полости. Такое выполнение камеры позволяет установить пушку на ее основании, не отнимая пространства под свариваемые детали. Однако при этом камера усложняется и увеличивается себестоимость ее изготовления.
Известна вакуумная установка для термической обработки изделий, в вакуумную камеру которой вкатывают герметичный контейнер под заготовки (см. пат. RU №2083687 за 1997 г., кл. C21D 1/76, 11/00). Полость камеры и полость размещенного в ней контейнера подключены к вакуумной системе. Однако размещение электронной пушки на стенках подвижного контейнера не представляется возможным. Кроме того, большое промежуточное газовоздушное пространство между стенками полости камеры и объемом подвижного контейнера нерационально вакуумировать, поскольку это приводит к снижению КПД установки и к перерасходу энергии.
Известна вакуумная камера для электронно-лучевой обработки с системой вакуумных насосов, выполненная с наружной и внутренней вакуумоплотными оболочками, ребрами жесткости и межоболочковой полостью (см. журнал «Автоматическая сварка» №6 за 2001 г., стр.30-32). Вакуумоплотные оболочки камеры скреплены ребрами между собой, образуя жесткую и прочную конструкцию. Однако исключить деформацию стенок камеры при ее вакуумировании не удается, в особенности ее внутренней вакуумоплотной оболочки, на которой предполагается размещение прецизионных манипуляторов электронной пушки.
Задачей изобретения является достижение технического результата, заключающегося в повышении надежности и качества работы установки, устранением деформации внутренней оболочки камеры, снижением себестоимости ее изготовления за счет возможности выполнения внутренней оболочки из более тонкого листового материала (нержавеющей стали).
Технический результат достигается тем, что в вакуумной камере для электронно-лучевой сварки, содержащей вакуумоплотную наружную и внутреннюю оболочку, размещенные одна в другой с образованием рабочего пространства камеры и полости между ними, а также систему вакуумных насосов, подключенную к рабочему пространству камеры, полость между оболочками выполнена изолированной от атмосферы, а с рабочим пространством камеры соединена каналами.
При эксплуатации вакуумной камеры под воздействием атмосферного давления прогиб стенок наружной оболочки неизбежен. Однако при этом внутренняя вакуумоплотная оболочка упомянутой камеры не подвергается атмосферной нагрузке и остается без изменений. В результате этого на внутренней оболочке камеры можно производить монтаж любых прецизионных манипуляторов перемещения пушки и обрабатываемого изделия, не опасаясь их смещения под атмосферным воздействием.
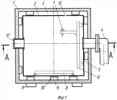
Изобретение поясняется чертежами, где показано:
на фиг.1 вакуумная камера для электронно-лучевой обработки;
на фиг.2 вакуумная камера …(второй вариант изготовления).
на фиг.3 разрез вакуумной камеры по А-А.
Вакуумная камера для электронно-лучевой обработки изделий содержит наружную 1 и внутреннюю 2 вакуумоплотные оболочки, размещенные одна в другой с образованием между ними полости 3, изолированной от атмосферы, и систему вакуумных насосов 4, подключенную к рабочему пространству камеры 5. В последнем устанавливают прецизионный манипулятор 6 пушки 7 и манипулятор 8 свариваемого изделия. Система вакуумных насосов 4 соединена с вышеупомянутой полостью 3. В изолированной от атмосферы полости 3 камеры размещены шпангоуты 9. Шпангоуты 9 служат опорой внутренней оболочки 2 камеры и присоединены сваркой к стенкам наружной вакуумоплотной оболочки 1. Каждый шпангоут 9 выполнен с отверстием 10 для устранения перепада давления по объему изолированной от атмосферы полости 3. Зазор между боковыми и верхней стенками внутренней оболочки 2 камеры и шпангоутами 9 ее наружной оболочки 1 определяется расчетной величиной деформации стенок наружной оболочки. Наружная вакуумоплотная оболочка 1 установлена на опорах 11. Для осуществления наблюдений за рабочим процессом камера снабжена герметичным окном 12. Внутренняя оболочка 2 камеры облегченная, изготовлена из нержавеющей стали и снабжена каналами 13, сообщающими рабочее пространство 5 камеры с изолированной полостью 3. Дверь камеры обозначена поз.14.
По второму варианту изготовления вакуумной камеры пушка 7 установлена на ее верхней стенке без прецизионного манипулятора 6.
Работа вакуумной камеры заключается в следующем. Для вакуумирования рабочего пространства 5 камеры включают систему вакуумных насосов 4, которые откачивают воздух из рабочего пространства 5 камеры и через каналы 13 из полости 3, изолированной от атмосферы. Под воздействием атмосферного давления наружная оболочка камеры деформируется, и шпангоуты 9 принимают на себя силовую нагрузку. Величина прогиба шпангоутов 9 наружной оболочки 1 меньше расстояния между ними и внутренней оболочкой 2 камеры. Поэтому этот прогиб не затронет внутреннюю оболочку камеры. Поскольку по обеим сторонам внутренней оболочки 2 камеры давление одинаково, то на нее воздействует лишь нагрузка от массы манипулятора. А эта нагрузка в сравнении с атмосферным давлением незначительна.
Таким образом, предложенное выполнение вакуумной камеры позволяет повысить надежность и качество работы ее манипуляторов устранением деформации внутренней ее оболочки. Кроме того, при реализации возможности выполнения внутренней оболочки камеры из листового материала более тонкого, чем ранее используемого для этой задачи, снижается себестоимость самой камеры.
Формула изобретения
1. Вакуумная камера для электронно-лучевой обработки, содержащая вакуум-плотные наружную и внутреннюю оболочки, размещенные одна в другой с образованием полости между ними, в которой размещены шпангоуты, присоединенные к стенкам наружной оболочки, и систему вакуумных насосов, подключенную к рабочему пространству внутренней оболочки камеры, отличающаяся тем, что полость между оболочками выполнена изолированной от атмосферы и соединена каналами с рабочим пространством внутренней оболочки камеры, при этом шпангоуты размещены с зазором по отношению к боковым и верхним стенкам внутренней оболочки, величина которого больше величины прогиба шпангоутов в процессе работы камеры.
2. Вакуумная камера по п.1, отличающаяся тем, что каждый шпангоут выполнен с отверстием для устранения перепада давления по объему изолированной от атмосферы полости.
РИСУНКИ
|
|