|
| На основании пункта 1 статьи 1366 части четвертой Гражданского кодекса Российской Федерации патентообладатель обязуется заключить договор об отчуждении патента на условиях, соответствующих установившейся практике, с любым гражданином Российской Федерации или российским юридическим лицом, кто первым изъявил такое желание и уведомил об этом патентообладателя и федеральный орган исполнительной власти по интеллектуальной собственности. |
|
(21), (22) Заявка: 2007140499/15, 01.11.2007
(24) Дата начала отсчета срока действия патента:
01.11.2007
(46) Опубликовано: 27.11.2008
(56) Список документов, цитированных в отчете о поиске:
RU 2075333 С1, 20.03.1997. SU 1526765 A1, 07.12.1989. SU 835467 A1, 07.06.1981. SU 1281306 A1, 07.01.1987. SU 1611451 A2, 07.12.1990. US 3985526, 12.10.1976.
Адрес для переписки:
123458, Москва, ул. Твардовского, 11, кв.92, О.С. Кочетову
|
(72) Автор(ы):
Сажин Борис Степанович (RU), Кочетов Олег Савельевич (RU), Сажин Виктор Борисович (RU), Чунаев Михаил Викторович (RU), Сажина Марина Борисовна (RU)
(73) Патентообладатель(и):
Кочетов Олег Савельевич (RU)
|
(54) МНОГОФУНКЦИОНАЛЬНЫЙ АППАРАТ СО ВСТРЕЧНЫМИ ЗАКРУЧЕННЫМИ ПОТОКАМИ
(57) Реферат:
Изобретение относится к вентиляции и кондиционированию воздуха с регенеративными теплоутилизаторами. Многофункциональный аппарат со встречными закрученными потоками обрабатываемого газа состоит из двух ступеней обработки. Первая ступень аппарата включает верхний и нижний входные патрубки, снабженные тангенциальными закручивателями, и центробежные тангенциальные форсунки. Вторая ступень включает центробежную камеру смешения с входным патрубком, снабженным тангенциальным закручивателем, диффузор, конфузор, раскручиватель и выходной патрубок. Диаметр центробежной камеры смешения больше, чем диаметр корпуса первой ступени аппарата. Также аппарат включает систему подготовки циркулирующей распыливаемой воды, которая состоит из запорного вентиля, отстойника, фильтра, циркуляционного насоса и подпиточного вентиля для компенсации расходной части воды. Технический результат – получение возможности теплоутилизации сильно запыленного выбросного воздуха, экономия энергоресурсов, упрощение конструкции системы кондиционирования воздуха, ее монтажа и обслуживания. 2 з.п. ф-лы, 2 ил.
Изобретение относится к вентиляции и кондиционированию воздуха с регенеративными теплоутилизаторами.
Известен аппарат со встречными закрученными потоками обрабатываемого газа, содержащий корпус, нижний и верхний входные патрубки, выходной патрубок, систему подачи жидкости, по патенту RU 2075333 C1, B01D 47/06, 20.03.1997. Недостатком известного аппарата является недостаточная эффективность очитки воздуха от тонкой пыли и невозможность подмеса воздуха других параметров после обработки ввиду отсутствия вихревой камеры смешения.
Технический результат – получение возможности теплоутилизации сильно запыленного выбросного воздуха, экономия энергоресурсов, упрощение конструкции системы кондиционирования воздуха, ее монтажа и обслуживания.
Это достигается тем, что многофункциональный аппарат со встречными закрученными потоками обрабатываемого газа, содержащий корпус, нижний и верхний входные патрубки, выходной патрубок, систему подачи жидкости, состоит из двух ступеней обработки, при этом первая ступень аппарата включает верхний и нижний входные патрубки, снабженные тангенциальными закручивателями, и центробежные тангенциальные форсунки, вторая ступень включает центробежную камеру смешения с входным патрубком, снабженным тангенциальным закручивателем, диффузор, конфузор, раскручиватель и выходной патрубок. В первой ступени аппарата осуществляется увлажнение воздуха и его санитарная очистка от тонкой пыли.
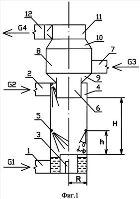
На фиг.1 представлен общий вид предлагаемой установки, на фиг.2 изображена принципиальная схема очистки оборотной воды, используемой в тепловлажностном процессе.
Многофункциональный аппарат со встречными закрученными потоками (фиг.1), корпус которого в первой ступени аппарата содержит нижний входной патрубок 1, верхний входной патрубок 2, нижний тангенциальный закручиватель 3, верхний тангенциальный закручиватель 4, центробежные форсунки 5, выхлопной патрубок 6, а во второй ступени аппарата – входной патрубок камеры смешения 7, центробежную камеру смешения 8, диффузор 9, конфузор 10, раскручиватель 11, выходной патрубок 12. Процесс водоподготовки осуществляется по схеме (фиг.2) с помощью системы подачи жидкости, включающей запорный вентиль 13, отстойник 14, фильтр 15, циркуляционный насос 16, подпиточный вентиль для компенсации расходной части воды 17, где используемая повторно вода очищается с помощью отстойника и фильтра, а расходная часть воды компенсируется подпиточным вентилем от внешней системы.
В комбинированном многофункциональном аппарате со встречными закрученными потоками в рабочем пространстве первой ступени образуются, как и в классическом аппарате со встречными закрученными потоками, два закрученных в одну сторону, но встречно направленных потока: восходящий G1 – в центральной части камеры и нисходящий G2 – в периферийной части. Для тепловлажностной обработки воздуха в камеру подается вода распыляемая центробежными тангенциальными форсунками. Под действием центробежных сил капли воды отбрасываются на вертикальные стенки аппарата и по ним стекают в нижнюю часть камеры. Затем увлажненный воздух выводится из камеры через выхлопной патрубок, расположенный в верхней части первой ступени аппарата, и поступает в камеру смешения (вторая ступень аппарата). Часть наружного воздуха G3, заранее подготовленная в системе кондиционирования воздуха, через тангенциальный закручиватель подается в камеру смешения, где поток увлажненного воздуха смешивается с наружным. Увеличение диаметра камеры смешения относительно первой ступени аппарата, где происходит увлажнение и мокрое обеспыливание, обеспечивает падение скорости воздуха в поперечном сечении аппарата и, как следствие, не создавая существенного дополнительного аэродинамического сопротивления, способствует предотвращению каплеуноса. На выходе из аппарата установлен раскручиватель.
Многофункциональный аппарат со встречными закрученными потоками работает следующим образом.
Разработанный аппарат, диаметром 2000 мм, обеспечивает производительность по воздуху до 100000 м3/ч. Диаметр камеры смешения составляет 2500 мм, высота 1300 мм.
В качестве основных факторов, влияющих на эффективность процесса обработки воздуха, были выбраны: коэффициент орошения В; массовая скорость воздуха v ; соотношение расходов потоков воздуха =G2/(G1+G2); угол наклона форсунок на боковой поверхности аппарата ф 0 и относительная высота расположения форсунок h/H.
Наилучшая эффективность увлажнения в аппарате достигается при угле наклона форсунки к горизонту ф=30-40° и при относительной высоте ее расположения в рабочей камере h/H=0,4-0,5.
В результате экспериментальных исследований (главным образом на модели Dап=260 мм) были получены зависимости коэффициента эффективности адиабатного процесса Еа от вышеуказанных факторов. Исследования показали, что в аппарате процесс тепло- и массообмена протекает достаточно интенсивно. Коэффициент эффективности Еа=0,93 при v =9,43 кг/(м2с), =0,45 и В=0,9. К установке были приняты форсунки с диаметром сопла 3 мм. При испытаниях аппарата диаметром 700 мм было доказано, что эффективность обработки воздуха с увеличением диаметра аппарата растет.
Оптимальные значения факторов в числовом выражении, характеризующих эффективность адиабатного процесса Еа, стали следующие: v =6,5 кг/(м2с), =0,6, В=0,9, ф=50°, H/Dап=2,2, h/Dап=0,9, отношение расходов воды в =G2в/G3в=0,5 (G2в и G3в – расходы воды, распыляемой форсунками, соответственно в верхнем вводе воздуха и во всем аппарате). Потери давления р в аппарате при этом составили 810 Па.
Было также установлено, что в аппарате достигаются высокие скорости обработки воздуха до 10 м/с без выноса капель. Исследования показали также возможность регулирования процесса обработки воздуха без изменения суммарного расхода воздуха и воды путем изменения соотношения расходов воздуха . Аэродинамическое сопротивление аппарата ВЗПМ изменялось в пределах 600-900 Па.
Основным преимуществом разработанного аппарата является возможность проведения процессов увлажнения, смешения, санитарной очистки от мелкой пыли, а также возможность повторного использования тепла и влаги больших объемов рециркуляционного воздуха (до 90%). Таким образом, использование многофункционального аппарата со встречными закрученными потоками для обработки рециркуляционного воздуха, при взаимодействии с малогабаритным кондиционером для обработки свежего воздуха (от 10%), позволяет существенным образом сократить стоимость климатического оборудования, эксплуатационные затраты, а также обеспечить более стабильную работу всей системы.
Объем обрабатываемого в многофункциональном аппарате воздуха ограничивается только санитарными нормами, согласно которым количество наружного воздуха в рециркуляционном должно быть не менее 10% (при условии, что выполняются требования, регламентирующие количество наружного воздуха на одного работающего).
Смешение наружного воздуха с циркуляционным уже после его подогрева позволяет избежать выпадения конденсата и его обледенения на стенках лопаток воздушных клапанов, регулирующих поступление холодного воздуха в камеру смешения, в результате чего нарушается режим регулирования и возрастают износ оборудования и энергетические потери в традиционных центральных кондиционерах.
Формула изобретения
1. Многофункциональный аппарат со встречными закрученными потоками обрабатываемого газа, содержащий корпус, нижний и верхний входные патрубки, выходной патрубок, систему подачи жидкости, отличающийся тем, что аппарат состоит из двух ступеней обработки, при этом первая ступень аппарата включает верхний и нижний входные патрубки, снабженные тангенциальными закручивателями, и центробежные тангенциальные форсунки, вторая ступень включает центробежную камеру смешения с входным патрубком, снабженным тангенциальным закручивателем, диффузор, конфузор, раскручиватель и выходной патрубок.
2. Многофункциональный аппарат по п.1, отличающийся тем, что диаметр центробежной камеры смешения больше, чем диаметр корпуса первой ступени аппарата.
3. Многофункциональный аппарат по п.1, отличающийся тем, что аппарат включает систему подготовки циркулирующей распыливаемой воды, которая состоит из запорного вентиля, отстойника, фильтра, циркуляционного насоса и подпиточного вентиля для компенсации расходной части воды.
РИСУНКИ
|
|