|
|
(21), (22) Заявка: 2007120001/15, 29.05.2007
(24) Дата начала отсчета срока действия патента:
29.05.2007
(46) Опубликовано: 27.11.2008
(56) Список документов, цитированных в отчете о поиске:
SU 1421379 A1, 07.09.1988. SU 1121028 A, 30.10.1984. SU 1386254 A1, 07.04.1988. SU 580884 A, 09.12.1977. GB 1202310, 12.08.1970. US 2002088347, 11.07.2002. DE 102005042720, 20.04.2006.
Адрес для переписки:
450000, Республика Башкортостан, г.Уфа, ул. К. Маркса, 12, УГАТУ, ОИС, В.П. Ефремовой
|
(72) Автор(ы):
Усманова Регина Равилевна (RU)
(73) Патентообладатель(и):
Государственное образовательное учреждение высшего профессионального образования Уфимский государственный авиационный технический университет (RU)
|
(54) ДИНАМИЧЕСКИЙ ГАЗОПРОМЫВАТЕЛЬ
(57) Реферат:
Изобретение относится к устройствам для очистки и охлаждения газов и может быть использовано в химической, нефтяной и других отраслях промышленности. Динамический газопромыватель содержит вертикальный корпус, установленный внутри него конический завихритель, осевой патрубок подвода жидкости, размещенный перед завихрителем. Завихритель содержит заглушенное нижнее и кольцевое верхнее основания, соединенные друг с другом посредством однонаправленных лопастей. Завихритель закреплен на вращающемся роторе, при этом нижнее основание завихрителя снабжено коническим рассекателем, основание которого размещено на уровне верхнего обреза осевого патрубка, образуя с ним зазор. Изобретение направлено на повышение степени очистки газа от механических и газообразных примесей путем более эффективного использования действия центробежных сил, возникающих при вращении ротора. 3 ил.
Изобретение относится к устройствам для очистки и охлаждения газов и может быть использовано в химической, нефтяной и других отраслях промышленности.
Известно устройство для очистки и охлаждения газов, содержащее корпус с тангенциальным и осевым патрубками для входа и выхода газа и патрубками для входа и выхода подпиточной и отработанной жидкости, внутри которого расположены центральная труба и брызгоотбойник с отбойным корпусом. При этом по оси центральной трубы установлен дополнительный усеченный конус, меньшее основание которого расположено на уровне нижнего обреза центральной трубы (Авторское свидетельство СССР №339301, МКИ В01D 47/06, 1972. Бюл. №17).
Недостатком этого устройства является незначительная интенсивность турбулентного потока, приводящая к снижению эффективности очистки и охлаждения газа.
Наиболее близким по технической сущности и достигаемому эффекту является газопромыватель, содержащий вертикальный корпус, установленный внутри него конический завихритель, содержащий заглушенное нижнее и кольцевое верхнее основания, соединенные друг с другом посредством однонаправленных лопастей, осевой патрубок подвода жидкости, размещенный перед завихрителем.
При этом завихритель снабжен пакетом радиальных зигзагообразных элементов, размещенных с частичным перекрытием в плане (Авторское свидетельство СССР №1421379, МКИ В01D 47/06, 1988. Бюл. №33, прототип).
Недостаток этого устройства заключается в малой межфазной поверхности контакта запыленного газа с жидкостью, что приводит к снижению эффективности очистки газа.
Изобретение направлено на повышение эффективности очистки газа от механических и газообразных примесей за счет более эффективного использования действия центробежных сил и увеличения поверхности контакта фаз.
Указанная задача решается за счет того, что в динамическом газопромывателе, содержащем вертикальный корпус, установленный внутри него конический завихритель, содержащий заглушенное нижнее и кольцевое верхнее основания, соединенные друг с другом посредством однонаправленных лопастей, осевой патрубок подвода жидкости, размещенный перед завихрителем, в отличие от прототипа завихритель закреплен на вращающемся роторе, при этом нижнее основание завихрителя снабжено коническим рассекателем, основание которого размещено на уровне верхнего обреза осевого патрубка, образуя с ним зазор.
Технический результат, обеспечиваемый динамическим газопромывателем, выражается в более эффективном использовании действия центробежных сил, возникающих при вращении ротора, за счет чего происходит интенсификация процессов межфазного обмена, и повышается эффективность очистки газа.
Повышение эффективности газоочистки достигается за счет установки конического рассекателя, способствующего образованию плоских радиальных струй жидкости, которые, отражаясь от корпуса устройства, создают высокоинтенсивную поверхность контакта фаз.
Центробежные силы, возникающие при вращении ротора, обеспечивают дробление жидкости на мелкие капли, что обуславливает интенсивный контакт газов и улавливаемых частиц с жидкостью.
Благодаря действию центробежных сил, интенсивному перемешиванию газа и жидкости и наличию большой межфазовой поверхности контакта происходит эффективная очистка газа в пенном слое.
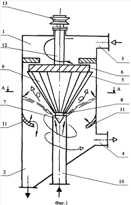
Сущность изобретения поясняется чертежами:
на фиг.1 представлен продольный разрез динамического газопромывателя; на фиг.2 – вид сверху; на фиг.3 – разрез А-А на фиг.1.
Динамический газопромыватель, в соответствии с фиг.1, 2 и 3, содержит вертикальный цилиндрический корпус 1 с бункером 2 сбора шлама, патрубки входа 3 и выхода 4 газового потока.
Внутри корпуса установлен конический завихритель 5, содержащий кольцевое верхнее основание 6 и конический рассекатель 7, размещенный на нижнем основании 8 завихрителя 5. Основания 6 и 8 жестко соединены друг с другом посредством однонаправленных лопастей 9.
Перед завихрителем 5 размещен осевой патрубок 10 подвода жидкости, на уровне верхнего обреза которого расположено с зазором основание конического рассекателя 7. На выходе газового потока предусмотрены каплеотбойники 11. Завихритель 5 закреплен на роторе 12, который приводится во вращение электродвигателем через ременную передачу 13.
Динамический газопромыватель работает следующим образом.
Газовый поток, содержащий механические или газообразные примеси, поступает по тангенциальному патрубку 3 в кольцевое пространство, образованное корпусом 1 и ротором 12. Жидкость поступает в устройство посредством осевого патрубка 10. Благодаря тому, что осевой патрубок 10 подвода жидкости размещен перед завихрителем 5, при диспергировании жидкости увеличивается зона контакта фаз и, следовательно, имеет место более эффективное использование рабочего объема устройства.
Размещение основания конического рассекателя 7 на уровне верхнего обреза осевого патрубка 10 обеспечивает подачу жидкости в устройство в виде плоских радиальных струй, дробящихся о стенки корпуса 1 и образующих жидкостную завесу.
Кольцевое верхнее основание 6, заполняющее свободное пространство, образующееся при вращении газожидкостного слоя, способствует стабилизации газожидкостного потока и препятствует проскокам загрязненного газа.
Газовый поток, проходя вращающийся завихритель 5, приобретает винтовое движение, характеризуемое интенсивными турбулентными пульсациями в ядре потока.
При вращении ротора 12 жидкость увлекается лопастями завихрителя 5, смачивает их поверхность и разбрызгивается в виде мелких капель на пути движения очищаемых газов, что обеспечивает высокоинтенсивный контакт фаз снаружи конического завихрителя 5 и повышает эффективность очистки газа. Закрученная газожидкостная смесь взаимодействует с лопастями 9, интенсивно дробится, что приводит к обновлению поверхности контакта фаз и интенсификации процессов межфазного обмена.
Уловленные мелкодисперсные частицы в виде шлама непрерывно удаляются из бункера 2.
Очищенный от примесей газ вместе с брызгами жидкости проходит через каплеотбойники 11, освобождается от части брызг и, огибая патрубок 10, покидает устройство через патрубок 4.
Формула изобретения
Динамический газопромыватель, содержащий вертикальный корпус, установленный внутри него конический завихритель, содержащий заглушенное нижнее и кольцевое верхнее основания, соединенные друг с другом посредством однонаправленных лопастей, осевой патрубок подвода жидкости, размещенный перед завихрителем, отличающийся тем, что завихритель закреплен на вращающемся роторе, при этом нижнее основание завихрителя снабжено коническим рассекателем, основание которого размещено на уровне верхнего обреза осевого патрубка, образуя с ним зазор.
РИСУНКИ
|
|