|
| На основании пункта 1 статьи 1366 части четвертой Гражданского кодекса Российской Федерации патентообладатель обязуется заключить договор об отчуждении патента на условиях, соответствующих установившейся практике, с любым гражданином Российской Федерации или российским юридическим лицом, кто первым изъявил такое желание и уведомил об этом патентообладателя и федеральный орган исполнительной власти по интеллектуальной собственности. |
|
(21), (22) Заявка: 2007125288/15, 04.07.2007
(24) Дата начала отсчета срока действия патента:
04.07.2007
(46) Опубликовано: 27.11.2008
(56) Список документов, цитированных в отчете о поиске:
RU 2244582 С2, 20.01.2005. RU 2143940 C1, 10.01.2000. RU 2138316 C1, 27.09.1999. RU 2115024 C1, 10.07.1998. RU 2187056 C1, 10.08.2002. SU 1515028 A1, 15.10.1989. SU 370442 A, 21.04.1973. GB 833321 A, 21.04.1960. US 4407488 A, 04.10.1983.
Адрес для переписки:
636070, Томская обл., г. Северск, ул. Ленина, 78, кв.9, И.Ю. Русакову
|
(72) Автор(ы):
Русаков Игорь Юрьевич (RU), Хохлов Владимир Александрович (RU), Гущин Анатолий Алексеевич (RU), Белозеров Борис Павлович (RU)
(73) Патентообладатель(и):
Русаков Игорь Юрьевич (RU), Хохлов Владимир Александрович (RU), Гущин Анатолий Алексеевич (RU), Белозеров Борис Павлович (RU)
|
(54) КОНДЕНСАТОР-ИСПАРИТЕЛЬ СТАЦИОНАРНЫЙ
(57) Реферат:
Изобретение относится к оборудованию для переработки сублимирующихся материалов. Конденсатор-испаритель стационарный содержит цилиндрический теплоизолированный корпус, в котором расположены кольцевая камера для теплоносителей и соосная с ней кольцевая сублимационная камера, снабженная нагревателями обеих стенок и кольцевыми перегородками с отбортовкой, размещенными с зазором относительно обогреваемой стенки. Конденсатор имеет патрубки ввода и вывода технологических газов, ввода и вывода теплоносителей. Камера для теплоносителей разделена кольцевыми перегородками на секции, последовательно сообщающиеся между собой, и секции имеют патрубок подвода теплоносителя. Аппарат предложенной конструкции надежен в работе, имеет большую единичную производительность. Это достигается за счет наиболее полного и равномерного заполнения десублиматом развитой поверхности теплообмена путем регулирования температуры поверхности конденсации по высоте аппарата. 2 ил.
Изобретение относится к оборудованию для переработки сублимирующихся материалов, в частности для проведения процесса десублимации-сублимации гексафторида урана, низкообогащенного изотопом уран-235.
Известен сублимационный аппарат [RU №2143940, В01D 7/00, опубл. 10.01.2000 г.], содержащий цилиндрический теплоизолированный корпус, в котором расположены центральная поглощающая нейтроны вставка и соосные с ней кольцевая камера для теплоносителей с теплообменным элементом и кольцевая сублимационная камера, патрубки ввода и вывода теплоносителей. Аппарат снабжен нагревателем одной из стенок сублимационной камеры и размещенными в камере кольцевыми перегородками, установленными с зазором относительно обогреваемой стенки, а камера для теплоносителей размещена со стороны стенки сублимационной камеры, противолежащей обогреваемой.
Недостатком аппарата является низкая производительность по десублимату из-за малой поверхности десублимации и невозможности регулировать температуру этой поверхности по высоте аппарата.
Известен сублимационный аппарат [RU №2244582, В01D 7/02, 59/08, опубл. 20.01.2003 г.], принятый за прототип. Аппарат содержит цилиндрический теплоизолированный корпус, в котором расположены кольцевая камера для теплоносителей и соосная с ней кольцевая сублимационная камера, снабженная нагревателями стенок и кольцевыми перегородками, размещенными с зазором относительно обогреваемой стенки, патрубки ввода и вывода технологических газов, ввода и вывода теплоносителей, камера для теплоносителей выполнена из труб, установленных хотя бы по одной окружности в сублимационной камере, при этом нагреватель размещен на обеих стенках сублимационной камеры, а кольцевые перегородки установлены на трубах камеры для теплоносителей, трубы теплообменной камеры снабжены пластинчатыми перемычками, кольцевые перегородки имеют отбортовку, направленную по ходу технологического газа.
Сублимационный аппарат работает в двух режимах: десублимации и сублимации. При работе в режиме десублимации хладагент через патрубок подают в кольцевой коллектор, где он распределяется по теплообменным трубкам. Отработанный хладагент посредством сборного коллектора, отводящих трубок и кольцевого коллектора выводят из камеры. Процесс десублимации проводят при включенном нагревателе, обогревающем стенки сублимационной камеры до температуры, не допускающей десублимацию гексафторида урана (ГФУ). Технологический газ, представляющий собой смесь паров ГФУ и инертных газов, поступает через патрубок, распределяется по кольцевому пространству в верхней части сублимационной камеры, проходит через зазоры между стенками и отбортовкой кольцевой перегородки и последовательно поступает в кольцевые ячейки. Гексафторид урана, десублимируясь, осаждается на поверхности теплообменных трубок и с двух сторон на перемычках. Образующиеся при этом аэрозоли вторично сублимируются при контакте с обогреваемыми стенками во время прохождения технологического газа в зазорах.
Для перевода аппарата в режим сублимации подача хладагента и технологического газа прекращается. Нагревателем доводят температуру в аппарате до температуры возгонки ГФУ. Возгоны выводятся из сублимационной камеры через патрубок.
Недостатком аппарата является его низкая производительность по десублимату из-за недостаточной поверхности десублимации и невозможности регулировать температуру этой поверхности по высоте аппарата.
Задача, на решение которой направлено изобретение, заключается в разработке конструкции аппарата с большой единичной производительностью по десублимату за счет наиболее полного и равномерного заполнения десублиматом развитой поверхности теплообмена путем регулирования температуры поверхности конденсации по высоте аппарата.
Для решения этой задачи предлагается конденсатор-испаритель стационарный (КИС), содержащий цилиндрический теплоизолированный корпус, в котором расположены кольцевая камера для теплоносителей и соосная с ней кольцевая сублимационная камера, снабженная нагревателями обеих стенок и кольцевыми перегородками с отбортовкой, размещенными с зазором относительно обогреваемых стенок, патрубки ввода и вывода технологических газов, ввода и вывода теплоносителей, при этом камера для теплоносителей разделена кольцевыми перегородками на секции, последовательно сообщающиеся между собой, и секции имеют патрубок подвода теплоносителя.
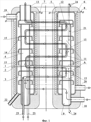
На фиг.1 показан продольный разрез конденсатора-испарителя, на фиг.2 – выносной элемент А.
Аппарат содержит цилиндрический кольцевой корпус 1, заключенный в теплоизолирующий кожух 2. В корпусе соосно расположены кольцевая сублимационная камера 3 и камера 4 для теплоносителей. Сублимационная камера имеет внутреннюю стенку 5 и наружную стенку 6, обогреваемые нагревателями 7 и 8. Камера 4 для теплоносителей содержит нижний кольцевой элемент 9 с патрубком 10 для ввода теплоносителя, кольцевые секции 11 и верхний кольцевой элемент 12 с патрубком 13 для вывода теплоносителя из камеры. Кольцевые элементы 9, 12 и секции 11 разделены поперечными кольцевыми перегородками 14. В кольцевых перегородках 14 имеются отверстия 15, посредством которых последовательно сообщаются между собой кольцевой элемент 9, секции 11 и кольцевой элемент 12. Отверстия расположены диаметрально друг напротив друга на двух соседних перегородках. Кольцевые перегородки 14 имеют отбортовки 16 (см. фиг.2), которые расположены в сублимационной камере 3 и направлены по ходу технологического газа. Между отбортовками 16 и обогреваемыми стенками 5 и 6 имеются зазоры 17 и 18 (см. фиг.2). Перегородки 14 установлены с шагом, убывающим в направлении от патрубка 19 для ввода технологического газа к патрубку 20 для вывода технологического газа. Перегородки 14 делят сублимационную камеру 3 на кольцевые ячейки 21. Патрубок 22 предназначен для вывода десублимата из сублимационной камеры. Регулирование нагрева стенок 5 и 6 сублимационной камеры осуществляется электронагревателями 7 и 8. Для регулирования температуры стенок секций 11 каждая (или некоторые) из них имеет патрубок 23 для подачи (или отбора) дополнительного теплоносителя в эти секции. При этом температура теплоносителя и, соответственно, стенки секции 11 контролируется датчиками 24 для измерения температуры.
Конденсатор-испаритель стационарный (КИС) периодического действия и работает в двух режимах: десублимации и сублимации.
При работе в режиме десублимации хладагент (пары жидкого азота, хладона или рассол) через патрубок 10 подают в нижний кольцевой элемент 9, где он распределяется по всему элементу и через отверстие 15 поступает в кольцевую секцию 11, расположенную выше. Проходя последовательно все секции и верхний кольцевой элемент 12, отработанный (нагретый) хладагент выходит через патрубок 13 из камеры 4 для теплоносителей. Процесс десублимации проводят при включенных нагревателях 7 и 8, обогревающих стенки 5 и 6 сублимационной камеры до температуры, не допускающей десублимацию гексафторида урана (ГФУ). Технологический газ, представляющий собой смесь паров ГФУ и инертных газов, поступает через патрубок 19, распределяется по кольцевому пространству в верхней части сублимационной камеры 3, проходит через зазоры 17, 18 и последовательно поступает в кольцевые ячейки 21. Гексафторид урана, десублимируясь, осаждается на охлаждаемых поверхностях кольцевых элементов 12, 9 и секций 11. Часть паров ГФУ за счет объемной десублимации образует аэрозоли, которые сублимируются вторично при контакте с обогреваемыми стенками 5 и 6 во время прохождения технологического газа в зазорах 17 и 18. Отбортовка 16 на перегородках 14 увеличивает время контакта аэрозолей с обогреваемыми стенками, что позволяет гарантированно сублимировать аэрозоли, предотвращая их унос из сублимационной камеры и увеличивая тем самым степень десублимации ГФУ из технологического газа. Наличие обогреваемых стенок сублимационной камеры препятствует закупориванию зазоров 17 и 18 десублиматом, обеспечивая свободное прохождение технологического газа вдоль всей сублимационной камеры, а наличие двух этих зазоров уменьшает сопротивление прохождению технологического газа.
Образование аэрозолей десублимата в объеме аппарата может происходить только при определенном (критическом) сочетании значений концентрации паров и температуры их десублимации. Чтобы избежать этого критического состояния и, соответственно, образования аэрозолей, достаточно регулировать температуру десублимации при данной концентрации паров. Так как концентрация паров ГФУ уменьшается по высоте аппарата сверху вниз, то необходимо соответственно регулировать и температуру конденсации, избегая таким образом критических параметров системы “температура – концентрация паров ГФУ”. Для регулирования температуры конденсации каждая (или некоторые) секции 11 имеют патрубок 23 для дополнительной подачи теплоносителя. Подавая (или отбирая) теплоноситель в секцию 11, в камере 4 для теплоносителя по высоте КИСа возможно регулировать температуру стенок секции 11 в диапазоне, предотвращающем образование аэрозолей. Температура в камере 4 по высоте контролируется датчиками 24, установленными в каждой секции 11. Регулируя расходы хладагента в патрубках 10 и 23 по разности температур в камере 4 и стенок 5 и 6, можно добиться максимального и равномерного по высоте заполнения КИСа десублиматом.
Для перевода аппарата в режим сублимации подача хладагента и технологического газа прекращается. Нагревателями 7 и 8 доводят температуру в аппарате до температуры плавления ГФУ при соответствующем повышении давления паров ГФУ в аппарате. Расплавленный ГФУ выводится из сублимационной камеры через патрубок 22. Для ускорения процесса плавления в камеру 4 подают теплый сухой воздух через патрубок 10, а отработанный воздух удаляют из камеры через патрубок 13. Плавление ГФУ начинается со стороны патрубка 22 вывода десублимата, что способствует минимизации сопротивления для отходящего продукта.
С целью сокращения времени нагрева и опорожнения КИСа возможна дополнительная подача теплого воздуха через патрубки 23.
Конденсатор-испаритель стационарный (КИС) предложенной конструкции надежен в работе, позволяет повысить единичную производительность аппарата по гексафториду урана. Это достигается за счет наиболее полного и равномерного заполнения десублиматом развитой поверхности теплообмена путем регулирования температуры поверхности конденсации по высоте аппарата.
Формула изобретения
Конденсатор-испаритель стационарный, содержащий цилиндрический теплоизолированный корпус, в котором расположены кольцевая камера для теплоносителей и соосная с ней кольцевая сублимационная камера, снабженная нагревателями обеих стенок и кольцевыми перегородками с отбортовкой, размещенными с зазором относительно обогреваемой стенки, патрубки ввода и вывода технологических газов, ввода и вывода теплоносителей, отличающийся тем, что камера для теплоносителей разделена кольцевыми перегородками на секции, последовательно сообщающиеся между собой, и секции имеют патрубок подвода теплоносителя.
РИСУНКИ
|
|