|
|
(21), (22) Заявка: 2007121630/14, 08.06.2007
(24) Дата начала отсчета срока действия патента:
08.06.2007
(46) Опубликовано: 27.11.2008
(56) Список документов, цитированных в отчете о поиске:
DE 10114659 A1, 02.10.2002. RU 2281075 C2, 10.08.2006. SU 1498493 A1, 07.08.1989. SU 1128948 A, 15.12.1984. RU 31194 U1, 27.07.2003. SU 1093342 A, 23.05.1984.
Адрес для переписки:
193019, Санкт-Петербург, ул. Книпович, 4, ФГУП “НПП “Сигнал”, Г.А. Репину
|
(72) Автор(ы):
Громов Владимир Андреевич (RU), Репин Геннадий Александрович (RU), Скачков Михаил Михайлович (RU), Стригун Игорь Викторович (RU), Канунников Вадим Александрович (RU), Прохватилов Геннадий Иванович (RU)
(73) Патентообладатель(и):
Федеральное государственное унитарное предприятие “Научно-производственное предприятие “Сигнал” (RU)
|
(54) СТОМАТОЛОГИЧЕСКОЕ КРЕСЛО
(57) Реферат:
Изобретение относится к медицинскому оборудованию и может быть использовано в трансформируемых креслах для изменения положения пользователя. Стоматологическое кресло выполнено с возможностью трансформирования в операционный стол и снабжено регулировкой по высоте и по наклону спинки. Крепление спинки, тормозного механизма, подголовника к промежуточной плите, которая установлена на цилиндре пневмопривода, позволяет легко собирать и разбирать кресло в полевых условиях. За счет пневомпривода упрощается кинематическая схема кресла, повышается срок его службы, расширяется диапазон технологических скоростей перемещения, увеличивается динамика и обеспечивается более высокая точность позиционирования. 4 з.п.ф-лы, 1 ил.
Изобретение относится к операционным и стоматологическим креслам и может быть использовано также в трансформируемых креслах для изменения положения пользователя.
Известно трансформируемое кресло преимущественно индивидуального транспортного средства, содержащее сиденье, спинку и опору для ног, устройства для крепления спинки к сиденью и опоры для ног к сиденью с возможностью регулирования наклона спинки и опоры для ног, электропривод (патент РФ №2210349, A61G 3/00, A61G 5/04, опубл. 2003.08.20).
Недостатком этого решения является то, что в нем не предусмотрена возможность регулирования высоты сиденья.
Известно стоматологическое кресло, содержащее основание, сиденье, спинку и опору для ног, устройства для крепления спинки к сиденью и опоры для ног к сиденью с возможностью регулирования высоты, а также электропривод (DE 10114659, A61G 15/06, опубл. 2002-10-02).
Недостатком этого решения является невозможность его использования в полевых условиях из-за того, что оно может быть собрано только в стационарных условиях, а также неудобство его транспортирования вследствие невозможности его компактного складывания.
В основу изобретения положена задача создания складного стоматологического кресла, в котором за счет применения пневмопривода упрощается кинематическая схема, позволяя повысить срок его службы, расширить диапазон технологических скоростей перемещения, увеличить динамику, вследствие чего обеспечить более высокую точность позиционирования; кресло должно быть также трансформируемым в операционный стол и снабжено регулировкой по высоте и по наклону спинки, а также должно легко собираться и разбираться в полевых условиях, что обеспечивается креплением спинки, тормозного механизма, подголовника к промежуточной плите, установленной на подъемной стойке с пневмоприводом.
Достижение вышеуказанного технического результата обеспечивается тем, что в стоматологическом кресле, содержащем основание, сиденье с подножником, механизм подъема сиденья с кожухом и приводом, заключенным в подъемную стойку, включающую направляющую раму и ползун, спинку с подголовником и устройством крепления и регулирования угла наклона спинки, упаковочные модули, привод подъема сиденья выполнен в виде пневмопривода, соединенного штоком с основанием и прикрепленного цилиндром через промежуточную плиту к сиденью и спинке, снабженной устройством крепления и регулирования угла наклона спинки в виде дополнительного пневмопривода, при этом на раме шарнирно укреплен тормозной механизм с рычагом, в который вставлена опора, шарнирно прикрепленная нижним концом к промежуточной плите, а в верхней части рамы шарнирно закреплены рычаги со стопором и подголовником. Спинка шарнирно прикреплена к промежуточной плите.
В упаковочный модуль основания включены ящик, чехол, основание и сиденье, в упаковочный модуль механизма подъема – ящик, чехол и механизм подъема, в упаковочный модуль спинки – ящик, чехол, спинка и подножник.
Механизм подъема выполнен из направляющей рамы и ползуна, внутри которого располагается пневмоцилиндр с регулятором
Упаковочные модули снабжены колесами.
Применение пневмопривода и распределителей с промежуточной закрытой позицией для переключения направления воздушных потоков обеспечивает быструю и точную остановку сиденья в точке позиционирования на всем диапазоне перемещения. Это связано с тем, что при старте поршня очень быстро устанавливается режим движения с постоянной скоростью, а это означает, что все силы, действующие на него, уравновешены, т.е. разность усилий, создаваемых сжатым воздухом, в точности равна сумме сил трения и внешних нагрузок. Переключение распределителя в среднюю позицию замораживает силовую картину и приводит к быстрой остановке поршня.
Наличие промежуточной плиты, к которой крепятся все основные части разборного стоматологического кресла, обеспечивает возможность быстрого монтажа и демонтажа кресла. Таким образом, использование отличительных признаков предлагаемого изобретения позволяет создать легкотрансформируемое и транспортабельное стоматологическое кресло.
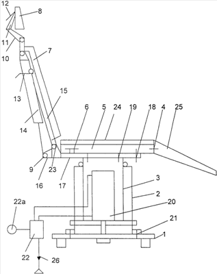
Изобретение поясняется чертежом, на котором показаны основные узлы стоматологического кресла.
Кресло собирается из 5 основных единиц: основания, подъемника, сиденья, подножника и спинки. Перед сборкой эти единицы находятся в трех специальных упаковочных модулях, на которые надеты чехлы.
В упаковочный модуль основания кроме ящика и чехла входят основание и сиденье, в упаковочный модуль подъемника, кроме ящика и чехла, входит подъемник, в упаковочный модуль спинки, кроме ящика и чехла, входят спинка и подножник.
Основание состоит из двух продольных опор, к которым прикреплена плата. Подъемник состоит из направляющей рамы 2 и ползуна 3, внутри которого располагается пневмоцилиндр 20 с распределителем 22 (условно вынесен за пределы кресла). Спинка состоит из рамы 15, которая шарнирно укреплена на плите 17. На раме шарнирно укреплен тормозной механизм 14 с рычагом 13. Тормозной механизм 14 другим концом шарнирно соединен с опорой 16, которая прикреплена к плите 17. В верхней части рамы шарнирно закреплены рычаги 10 и 11 со стопором 12 и подголовником 8. Прикрывает раму подушка 7. Сиденье состоит из металлической рамы 5, на которой закреплена подушка сиденья 24. Подножка 25 представляет собой, как спинка и сиденье, деревянную рамную конструкцию, обтянутую поролоном с винилкожей.
Устройство работает следующим образом.
С упаковочных модулей снимают чехлы, крышки. Из первого модуля вынимают сиденье и основание. Последнее укладывают на пол вверх втулками. На них устанавливают вынутый из следующего модуля подъемник и скрепляют его с основанием 1 болтами 21, плиту 17 скрепляют с плитой ползуна 3 болтами 19.
Сиденье и подножку стыкуют и скрепляют двумя болтами 4. После этого начинается стыковка рамы 5 сиденья с плитой ползуна 3 посредством заводки двух грибовидных штырей 6 в пазы плиты 5 и резьбового штыря с гайкой 18 в паз плиты 3. После стыковки и подвижки сиденья до упора гайку 18 затягивают. Рама 15 спинки скрепляется с плитой 17 пальцами 23. Опора 16 тормозного механизма 14 прикрепляется болтами 9 к плите 17.
Для регулировки наклона кресла нажимают на рычаг 13 снизу вверх и опускают спинку вниз до нужного угла наклона, вплоть до горизонтального положения, и после этого отпускают рычаг 13 и добиваются ее фиксации. Чтобы вывести спинку в более вертикальное положение, не надо нажимать на рычаг 13, а взявшись рукой за верх спинки, поднять ее до нужного положения. После этого она сама фиксируется под собственным весом благодаря тормозному механизму 14. Для регулировки положения подголовника 8 необходимо взять в руку стопор 12, повернуть его против часовой стрелки; после этого рычаги 10 и 11 растормаживаются и их нужно поворачивать до нужного положения. После этого стопор 12 снова возвращают на свое место и рычаги снова стопорятся. Ослабляя затяжку гайки 9, можно регулировать наклон подголовника 8. Далее приступают к подключению подъемника к магистрали сжатого воздуха (или к компрессору) давления шлангом 24. После чего, подняв ручку 22а распределителя 22 вверх, можно поднять сиденье и спинку вместе с ползуном 3. При установке ручки 22а в нейтральное положение (горизонтальное на чертеже) подъем прекращается и положение фиксируется. Аналогично и при нажатии ручки 22а вниз кресло опускается до тех пор, пока ручка не поставлена в нейтральное положение. С целью фиксации кресла на длительное время (не менее 30 минут) в заданном положении при аварийной ситуации (прекращения подачи сжатого воздуха) на входе распределителя 22 установлен обратный клапан 26. Разборка и подготовка кресла в транспортное состояние осуществляется в обратном порядке.
Формула изобретения
1. Стоматологическое кресло, содержащее основание, сиденье с подножником, механизм подъема сиденья с кожухом и приводом, заключенным в подъемную стойку, включающую направляющую раму и ползун, спинку с подголовником и устройством крепления и регулирования угла наклона спинки, упаковочные модули, отличающееся тем, что привод подъема сиденья выполнен в виде пневмопривода, соединенного штоком с основанием и прикрепленного цилиндром через промежуточную плиту к сиденью и спинке, снабженной устройством крепления и регулирования угла наклона спинки в виде дополнительного пневмопривода, при этом на раме шарнирно укреплен тормозной механизм с рычагом, в который вставлена опора, шарнирно прикрепленная нижним концом к промежуточной плите, а в верхней части рамы шарнирно закреплены рычаги со стопором и подголовником.
2. Стоматологическое кресло по п.1, отличающееся тем, что спинка шарнирно прикреплена к промежуточной плите.
3. Стоматологическое кресло по п.1, отличающееся тем, что в упаковочный модуль основания включен ящик, чехол, основание и сиденье, в упаковочный модуль механизма подъема – ящик, чехол и механизм подъема, в упаковочный модуль спинки – ящик, чехол, спинка и подножник.
4. Стоматологическое кресло по п.1, отличающееся тем, что механизм подъема выполнен из направляющей рамы и ползуна, внутри которого располагается пневмоцилиндр с регулятором.
5. Стоматологическое кресло по п.1, отличающееся тем, что упаковочные модули снабжены колесами.
РИСУНКИ
|
|