|
(21), (22) Заявка: 2006140997/12, 08.04.2005
(24) Дата начала отсчета срока действия патента:
08.04.2005
(30) Конвенционный приоритет:
21.04.2004 IT MI2004A000777
(43) Дата публикации заявки: 27.05.2008
(46) Опубликовано: 27.11.2008
(56) Список документов, цитированных в отчете о поиске:
US 5738002 А, 14.04.1998. US 5490447 A, 13.02.1996. EP 1374748 A2, 02.01.2004. RU 2225701 C2, 20.03.2004. RU 2000103479 A, 27.01.2001. RU 2000123537 A, 10.11.2002.
(85) Дата перевода заявки PCT на национальную фазу:
21.11.2006
(86) Заявка PCT:
EP 2005/003731 (08.04.2005)
(87) Публикация PCT:
WO 2005/102126 (03.11.2005)
Адрес для переписки:
129090, Москва, ул. Б.Спасская, 25, стр. 3, ООО “Юридическая фирма Городисский и Партнеры”, пат.пов. С.Р.Абубакирову, рег.№ 931
|
(72) Автор(ы):
МАРКОНИ Джан Карло (IT)
(73) Патентообладатель(и):
ДЕ ЛОНГИ С.П.А. (IT)
|
(54) УСТРОЙСТВО ДЛЯ ПОЛУЧЕНИЯ НАПИТКА НА ОСНОВЕ МОЛОКА
(57) Реферат:
Настоящая группа изобретений относится к устройству и способу для получения напитка на основе молока, в частности капучино, а также получения кофе с молоком без пены или напитка только из горячего молока с пеной или без нее.
Устройство для получения напитка на основе молока содержит средство выдачи пара или воды и емкость для молока, которая соединена прямым или непрямым образом с корпусом коллектора, который образует внутреннюю полость, в которую открывается соединительный канал к указанному средству выдачи, канал для всасывания молока, находящегося в емкости, и канал для всасывания воздуха. При этом указанная емкость и указанный корпус коллектора взаимно неподвижно соединены для образования целиком съемного узла, соединенного с указанным средством выдачи. Причем этот узел может быть целиком отделен от него для сохранения молока, находящегося в указанной емкости.
Способ приготовления капучино заключается в автоматической подаче приготовленного кофейного напитка в чашку с помощью одной команды кофеварки, извлечение заданного количества молока, содержащегося в емкости для молока, под действием потока пара, подаваемого средством выдачи пара указанной кофеварки в корпус коллектора. При этом коллектор соединен прямым или непрямым образом с указанной емкостью для молока. Вспенивание указанного заданного количества молока осуществляется посредством подачи воздуха в указанный корпус коллектора. Подача указанного потока пара прекращается, когда указанное заданное количество молока извлечено. Заданное количество вспененного молока передается в чашку.
Достигаемый при этом технический результат заключается в создании устройства для получения напитка на основе молока, которое является простым в обслуживании и в котором обеспечен доступ ко всем его частям. 3 н. и 44 з.п. ф-лы, 18 ил.
Настоящее изобретение относится к устройству для получения напитка на основе молока, в частности капучино, но в более общем виде также получения кофе с молоком без пены или, кроме того, напитка только из горячего молока с пеной или без нее.
Известно, что в устройствах для использования в бытовых условиях для приготовления кофе или капучино используется средство выдачи пара, пригодное для смешивания молока, взятого из емкости, с воздухом, для получения готовой эмульсии из молока, воздуха и пара, который отвечает за образование в напитке пены с требуемыми характеристиками.
Такие устройства имеют несколько недостатков, самыми серьезными из которых являются громоздкость и ограниченность в применении, а также трудный доступ к внутренним частям для проверки.
Такие устройства также не содержат устройство для очистки внутренних частей или содержат устройство, которое не очень эффективно, чтобы замедлить процесс ухудшения рабочих параметров.
Кроме того, качество эмульсии может часто быть неудовлетворительным из-за конфигурации и/или конструкционных и/или функциональных характеристик таких обычных устройств. Например, влияние, которое операция смешивания молока с воздухом и операция добавления пара оказывают друг на друга вследствие того факта, что они выполняются в одном и том же пространстве, может отрицательно сказаться на качестве эмульсии.
Следовательно, предлагаемой технической задачей настоящего изобретения является создание устройства для получения напитка на основе молока, которое позволит исключить указанные технические недостатки известного уровня техники.
В соответствии с данной технической задачей целью настоящего изобретения является создание устройства для получения напитка на основе молока, которое является универсальным и простым в эксплуатации.
Еще одной целью настоящего изобретения является создание устройства для получения напитка на основе молока, которое является простым в обслуживании и в котором обеспечен доступ ко всем его частям.
Другой целью настоящего изобретения является создание устройства для получения напитка на основе молока, которое содержит устройство для очистки внутренних частей, являющееся эффективным, чтобы поддерживать высокие показатели рабочих параметров.
Другой целью настоящего изобретения является создание эффективного устройства для получения напитка на основе молока, которое обеспечивало бы напитку всегда требуемые органолептические свойства.
Не последней целью настоящего изобретения является создание способа получения капучино, пригодного для автоматического выполнения как варки кофе, так и образования пены молока с помощью одной команды.
Техническая задача, а также эти и другие цели по изобретению выполняются посредством создания устройства для получения напитка на основе молока, отличающегося тем, что оно содержит средство выдачи пара или воды и емкость для молока, которая соединена прямым или непрямым образом с корпусом коллектора, который образует внутреннюю полость, в которой соединительный канал к указанному средству выдачи, канал для всасывания молока в указанной емкости и канал для всасывания воздуха открываются, причем указанная емкость съемно соединена с указанным средством выдачи, так что она может быть отделена от него для сохранения молока, находящегося в указанной емкости.
Настоящее изобретение также раскрывает способ получения капучино, отличающийся тем, что с помощью одной команды кофеварки он осуществляет автоматическое выполнение варки кофе для одной чашки, извлечение заданного количества молока, содержащегося в емкости, посредством действия потока пара, подаваемого средством выдачи пара указанной кофеварки в корпус коллектора, соединенный прямым или непрямым образом с указанной емкостью для молока, вспенивание указанного количества молока посредством подачи воздуха в указанный корпус коллектора, прекращение подачи указанного потока пара после извлечения указанного заданного количества молока и передачу указанного количества вспененного молока в чашку.
Следовательно, предпочтительно такой способ позволяет получить количество сваренного кофе и молока, вспененного посредством пара, с помощью одной команды кофеварки.
Кроме того, другие характеристики настоящего изобретения определены в формуле изобретения.
Дополнительные характеристики и преимущества настоящего изобретения станут более понятными из описания предпочтительного, но не единственного варианта осуществления устройства для получения напитка на основе молока в соответствии с решением, проиллюстрированным для указания, но не ограничения целей в прилагаемых чертежах, на которых:
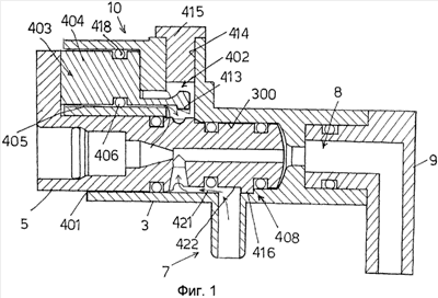
фиг.1 – увеличенный вид в аксиальном сечении средства выдачи пара/горячей воды узла корпуса коллектора устройства для получения напитка на основе молока по изобретению, на котором показаны первое скребковое средство канала для всасывания воздуха и второе скребковое средство канала для всасывания молока;
фиг.2 и 3 – виды возможных вариантов выполнения выдачного канала средства выдачи пара/горячей воды и/или полости корпуса коллектора, в который он введен;
фиг.4 – вид в перспективе устройства для получения напитка на основе молока настоящего решения, удаленного из средства выдачи пара или горячей воды кофеварки;
фиг.5 – вид в перспективе устройства на фиг.4, соединенного с средством выдачи пара или горячей воды кофеварки;
фиг.6 – аксиальное сечение корпуса коллектора устройства на фиг.4;
фиг.7 – вид сбоку сверху аксиального сечения корпуса коллектора емкости для молока устройства на фиг.4;
фиг.8 – другой вид в перспективе устройства на фиг.4;
фиг.9 – подетальный вид устройства на фиг.4;
фиг.10 и 11 изображают кофеварку, оснащенную исходной насадкой для дозирования пара или горячей воды для обычного получения напитка на основе молока или других напитков;
фиг.12 и 13, соответственно, изображают устройство для внутренней очистки корпуса коллектора и насадки устройства для получения напитка на основе молока по изобретению, в исходном положении и рабочем положении, соответственно;
фиг.14 изображает вид в разрезе другого предпочтительного варианта осуществления устройства для очистки воздухоприемного отверстия в корпусе коллектора устройства по изобретению;
фиг.15 изображает схему получения воды/пара устройства по изобретению;
фиг.16 изображает вид в разрезе другого предпочтительного варианта осуществления устройства для очистки воздухоприемного отверстия в корпусе коллектора устройства и регулировки потока воздуха через него;
фиг.17 и 18 изображают блокировочное устройство соединения между корпусом коллектора и средством выдачи в двух рабочих положениях.
Эквивалентные элементы различных вариантов изобретения устройства в нижеследующем описании будут обозначаться одним и тем же ссылочным номером.
Как изображено на приведенных чертежах, показано устройство для получения напитка на основе молока, обозначенное ссылочным номером 1.
Устройство 1 содержит средство выдачи 5 пара или воды и емкость 2 для молока, которая прямым или непрямым образом соединена с корпусом коллектора 3, съемно соединенным с средством выдачи 5.
Корпус коллектора 3 внутри образует полость 300, в которую соединительный канал 401 к средству выдачи, канал 7 для всасывания молока, находящегося в емкости 2, и канал 10 для всасывания воздуха открываются.
Корпус коллектора 3 может поддерживаться крышкой 26 емкости 2 и, в частности, как показано, может быть выполнен за одно целое с ней.
Предпочтительно, корпус коллектора 3 проходит в положение наружу и у самой верхней части первой боковой стенки 14 емкости 2.
Средство выдачи 5 пара или воды, например, является частью кофеварки 6.
Корпус коллектора 3 также содержит выпускное отверстие 8 на выходе из полости 300, на котором может быть съемно установлено выпускное сопло 9.
Выпускное сопло 9 соединяется с возможностью вращения с выпускным отверстием 8 корпуса коллектора 3 между исходным положением, находящимся рядом с первой боковой стенкой 14 емкости 2, и рабочим положением, находящимся на расстоянии от нее.
В частности, выпускное сопло 9 имеет свою ось вращения, расположенную на продолжении оси средства выдачи 5.
Выпускное сопло 9 также содержит ручку 15 для перемещения из исходного положения в рабочее положение и наоборот.
Емкость 2 имеет четырехугольную форму в плане с ручкой 18 на второй боковой стенке 19, перпендикулярной осевому направлению средства выдачи 5 пара или воды, и скос 20, образованный на третьей боковой стороне 21 емкости 2 напротив боковой стенки 19.
Выливной носик 20 пригоден для слива молока, когда устройство не соединено с кофеваркой 6.
Преимущественно, емкость 2 также может использоваться независимо для хранения молока в холодильнике для того, чтобы непосредственно охлаждаться для пользователя.
Емкость 2 имеет карман 22, образованный снаружи первой боковой стенки 14 емкости 2 и под выпускным соплом 9, для сбора возможных капель жидкости, когда выпускное сопло 9 находится в исходном положении.
Емкость 2 также имеет, по существу, вертикальный канал подачи молока, проходящий из нижней части емкости 2 во всасывающий канал 7 корпуса коллектора 3, также образованный снаружи первой боковой стенки 14 емкости 2.
Всасывающий канал 7 содержит часть, соединенную с каналом 23 подачи молока.
Устройство 1 также содержит гибкую трубку 25, которая проходит по оси внутрь канала 23 подачи молока и выступает на одном конце по направлению к нижней части емкости 2 и на другом конце внутрь соединительной части 24 всасывающего канала 7.
Корпус коллектора 3, канал 23 подачи молока, выпускное сопло 9 и собирающий карман 22 расположены в полости первой боковой стенки емкости 2 для ограничения общего объема устройства 1.
Устройство 1 предпочтительно содержит по меньшей мере первое скребковое средство 402, пригодное для чистки внутренней поверхности канала 10 для всасывания воздуха.
Предпочтительно, устройство 1 также содержит второе скребковое средство 408, пригодное для чистки внутренней поверхности канала 7 для всасывания молока, поддерживаемое средством выдачи 5 для автоматического приведения в действие во время его подачи в полость 300 и/или удаления из нее.
Второе скребковое средство 408 может охватывать по меньшей мере один выступ 416 боковой поверхности средства выдачи 5.
В конечном счете, устройство 1 может также содержать средство 403 для регулировки расхода воздуха через канал 10 для всасывания воздуха и средство 407 возможного ручного управления средства 403 для регулировки расхода воздуха.
Ниже будут описаны варианты осуществления, проиллюстрированные на фиг 1-3, 14 и 16.
Первое скребковое средство 402 закреплено неподвижно (фиг.1-3 и 14) или оперативно на средстве выдачи 5 для автоматического приведения в действие во время его ввода в полость 300 и/или вывода из нее.
В первом случае первое скребковое средство 402, в частности, образовано за одно целое с средством выдачи 5 (фиг.1-3 и 14).
Средство 403 для регулировки расхода воздуха, с другой стороны, содержит заслонку 404, которая может скользить во всасывающем канале 10.
Заслонка 404 закреплена неподвижно (фиг.1-3 и 14) или оперативно (фиг.16) на средстве выдачи 5.
В первом случае заслонка 404 образована за одно целое с средством выдачи 5.
Между боковой поверхностью заслонки 404 и внутренней поверхностью всасывающего канала 10 образовано пространство 420, которое уплотнено уплотняющим элементом, в частности, тороидальным кольцом 418, поддерживаемым по периферии заслонкой 404.
Внутренняя поверхность всасывающего канала 10 также содержит по меньшей мере одно коническое или наклонное выпускное отверстие 405, которое определяет расход воздуха в соответствии с положением заслонки 404.
На фиг.1-3 выпускное отверстие 405 содержит препятствие 406, так что когда уплотняющий элемент 418 находится у препятствия 406, прохождение воздуха полностью блокируется, когда уплотняющий элемент 418 не совмещен с препятствием 406, поток воздуха (обозначенный стрелкой) проходит через выпускное отверстие 405 и пространство 420.
Первое скребковое средство, предпочтительно, содержит упругий гибкий скребковый зуб 413, в частности, поддерживаемый на заделанном одном конце заслонкой 404.
Скребковый зуб 413 упруго деформируется относительно поверхности выпускного отверстия 405 во время ввода средства выдачи 5, поднимаясь вверх до тех пор, пока не отделится от концевой части 157 выпускного отверстия 405, он опускается снова вниз с защелкивающимся движением, чтобы снять накопившуюся упругую деформацию, и располагается вдоль линии взаимного влияния с концом 157 выпускного отверстия 405.
Скребковый зуб 413, имеющий наклонное основание, автоматически перемещается относительно линии взаимного влияния с концом 157 выпускного отверстия 405 для отделения средства выдачи 5 от корпуса коллектора 3.
Для прессования отверстие 414 стенки канала 10 для всасывания воздуха закрывается крышкой 415.
Средство 407 управления (фиг.16) содержит толкатель 311, способный перемещать заслонку 404 против действия упругого элемента 316, например пружины, который размещен между заслонкой 404 и средством выдачи 5.
Толкателем 311, например, является регулировочный винт, зацепленный в резьбовом гнезде 312, образованным в выступе 313 корпуса коллектора 3, причем свободный конец винта толкателя 311 действует на упор 315, проходящий от заслонки 404, в направлении, противоположном действию пружины 316.
В таком случае заслонка 404 содержит хвостовую часть 411, направляемую с возможностью скольжения параллельно основной оси корпуса коллектора 3 вдоль цельной направляющей 317 и, в частности, образованной за одно целое с средством выдачи 5.
Вращение винта толкателя 311 заставляет упор 315 и заслонку 404 перемещаться вперед или назад и, следовательно, отверстие для прохождения потока воздуха может регулироваться.
Конечно, может быть предусмотрено регулировочное устройство вместо регулировочного винта толкателя 311, эксцентрика или кулачка, которое способно перемещать упор 315.
На фиг.1-3 и 16 средство выдачи 5 образует камеру 301 для предварительного смешивания потоков, выходящих из каналов 7 и 10, и камера 301 для предварительного смешивания, в свою очередь, сообщается через предпочтительно коническое поперечное отверстие 302 средства выдачи 5 с выдачным каналом 303 средства выдачи 5.
В частности, часть камеры 301 для предварительного смешивания может быть образована из кольцевого канала боковой поверхности средства выдачи 5.
На фиг.14, с другой стороны, потоки из каналов 7 и 10 и из средства выдачи 5 смешиваются в смесительной камере, образованной свободной частью полости 300, образованной средством выдачи 5.
На фиг.1-3 для того, чтобы второе скребковое устройство могло работать, канал для всасывания молока смещается от поперечного отверстия 302 средства выдачи 5 и, следовательно, соединительный канал 421, как предусмотрено, образован боковой полостью 422 средства выдачи 5, тогда как на фиг.16, поскольку второе скребковое устройство не предусмотрено, канал 1 для всасывания молока и поперечное отверстие 302 средства выдачи 5 совмещены и непосредственно сообщаются.
Канал средства выдачи 5 должен обеспечивать получение эмульсию наивысшего качества и одновременно легко осматриваться и чиститься.
Для достижения цели предлагается множество форм, в частности на фиг.1 и 14 канал средства выдачи является прямолинейным, на фиг.2 он является расходящимся и на фиг.3 он состоит из прямолинейной части и расходящейся концевой части, в которую вставлена переходная деталь 423, образованная за одно целое с корпусом коллектора 3.
Как показано на фиг.4-9, среди прочего показан другой вариант первого скребкового устройства.
В частности, канал 4 и выпускной канал 8 расположены параллельно вдоль основной оси корпуса коллектора 3, тогда как канал 7 подачи молока и канал 10 подачи воздуха расположены поперек основной оси корпуса коллектора 3 и диаметрально противоположны.
Так на фиг.14 потоки из каналов 7 и 10 и из средства выдачи 5 смешиваются в одном растворе в смесительной камере, образованной свободной частью полости 300, образованной средством выдачи 5.
В этом случае полость 300 содержит сужающуюся часть 11, пригодную для получения эффекта Вентури, который обуславливает всасывание молока из емкости 2, когда она пересекается потоком пара.
Скребковое устройство для чистки внутренней поверхности канала 10 предпочтительно приводится в действие с помощью управляемого вручную рычажного устройства 27, закрепленного с возможностью поворота непосредственно на крышке 26. Рычажное устройство 27 содержит рычаг 28, который может приводиться в движение перпендикулярно горизонтальной плоскости крышки 26 и содержит первое плечо 29 рычага, содержащее скребковый палец 30 третьего канала 10, и второе плечо 31 рычага, расположенное в направляющей, шарнирно закрепленной на крышке 26, и способное поворачиваться параллельно горизонтальной плоскости крышки 26.
Направляющая 32 содержит направляющую плоскость, которая наклонена относительно горизонтальной плоскости крышки 26, так что поворот в одном направлении и, соответственно, в противоположном направлении управляет опусканием и поднятием, соответственно, первого плеча 31 рычага, и, следовательно, вводом скребкового пальца 30 в канал 10 и выводом его из канала 10.
Управление рычажным устройством 27 осуществляется вручную через ушко 33, выполненное за одно целое с направляющей 32.
Как показано на фиг.12 и 13, первое скребковое средство в этом случае содержит скребковый палец 101, который может скользить в канале 10 и содержит расширенную верхнюю часть 102, относительно которой действует пружина 425, которая удерживает ее в частично приподнятом состоянии.
Когда корпус коллектора 3 соединен с средством выдачи 5, кулачок 103, выполненный за одно целое с корпусом кофеварки 6, действует на расширенную верхнюю часть 102 в отличие от пружины для приведения в действие скребкового пальца 101.
Несомненно, воздух проходит через пространство, предусмотренное между скребковым пальцем 101 и внутренней поверхностью канала 10.
На фиг.12 и 13 также проиллюстрировано устройство для внутренней очистки корпуса коллектора 3 и выпускного сопла 9.
Такое очищающее устройство содержит микровыключатель 109, выполненный с возможностью формирования сигнала разрешения выдачи потока пара через средство выдачи 5.
Очищающее устройство также предполагает приводной элемент 104 в форме вала микровыключателя 109, пересекающий поперек канал 7 и содержащий первое сквозное поперечное отверстие 105, совмещенное с внутренним отверстием канала 7, когда приводной элемент 104 находится в первом рабочем положении расцепления с микровыключателем 109, и не совмещенное с ним, когда приводной элемент 104 находится во втором рабочем положении зацепления с микровыключателем 109.
Предпочтительно, приводной элемент 104 содержит прокладки 111 на противоположных сторонах первого отверстия 105, пригодные для образования уплотнения, когда вал 104 находится в первом рабочем положении, с боковой стенкой второго сквозного поперечного отверстия 106 канала 7, в котором расположен вал 104
Приводной элемент 104 поддерживается с возможностью скольжения направляющей 107, выполненной за одно целое с корпусом емкости 2, и содержит на противоположном конце относительно конца, который может зацепляться с микровыключателем 109, кнопку 108, которая может приводиться в действие вручную в отличие от пружины 110, расположенной между направляющей 107 и самой кнопкой 108.
В основном, когда кнопка 108 не нажата, приводной элемент 104 остается в первом рабочем положении, и его отверстие 105 совмещено с каналом 7 для обеспечения прохождения молока.
С другой стороны, когда кнопка 108 нажата, приводной элемент 104 переходит во второе рабочее положение, в котором он одновременно зацепляется с микровыключателем 109 для формирования сигнала разрешения выдачи потока пара, и его отверстие 105 полностью смещено от канала 7 для предотвращения прохождения молока.
Пар проходит через корпус коллектора 3, образуя вакуум, под воздействием которого воздух всасывается как из канала 7, так и из третьего канала 10 и проходит в насадку 9, из которой он, в конечном счете, выходит. В частности, под воздействием вакуума канал 7 очищается от возможного остатка молока, и одновременно молоко возвращается обратно (стрелки на фиг.13) в емкость.
В возможном варианте для выполнения полной очистки канала 7 насадка 9 в исходном положении зацепляется с уплотнительной прокладкой (не показана), которая уплотняет ее свободный конец, предотвращая выход пара из нее.
В этом случае давление пара подается в канал 7, когда кнопка 108 отжата.
На фиг.17 и 18 проиллюстрировано автоматическое блокировочное устройство, пригодное для блокировки емкости в положении зацепления между корпусом коллектора 3 и средством выдачи 5.
Блокировочное устройство содержит первый рычаг 321 ручного управления, поддерживаемый при работе в положении 322 емкостью 2, и второй рычаг 323, поддерживаемый при работе в положении 324 емкостью 2 и управляемый первым рычагом 321 управления между положением соединения с гнездом 325 зацепления и положением разъединения с гнездом 325 зацепления, образованным в корпусе 326 кофеварки.
Устройство содержит второй микровыключатель 327 для включения функции кофеварки, пригодной для образования пара, и, следовательно, чистящего устройства корпуса коллектора 3 и насадки 9, когда автоматическое блокировочное устройство работает, и для предотвращения образования пара, когда автоматическое блокировочное устройство не работает.
Второй микровыключатель 327 расположен в указанном гнезде 325 для зацепления второго рычага 323 и включается с помощью второго рычага 323 в момент зацепления/расцепления в гнезде 325 для зацепления.
В частности, когда корпус коллектора 3 емкости 2 отсоединен от средства выдачи 5, второй микровыключатель 327 дезактивирован, и функция образования пара, а следовательно, и функция внутренней очистки корпуса коллектора 3 и насадки 9 предотвращаются.
Когда, с другой стороны, корпус коллектора 3 емкости 2 соединен с средством выдачи 5, второй микровыключатель 327 приводится в действие и включается и выполняется функция образования пара.
Способ получения капучино кратко описывается ниже.
Кофеварка 6 имеет клавишную панель 34 по меньшей мере с одной кнопкой для управления процессом приготовления капучино и кнопками для активации функций образования пара и воды, которые будут направляться в средство выдачи 5.
Устройство 1 соединяется с кофеваркой посредством ввода средства выдачи 5 во входной канал 4, и затем нажимается кнопка для активации функции образования пара. Когда кнопка, отвечающая за приготовление капучино, нажата, устройство управления кофеварки автоматически управляет процессом приготовления порции сваренного кофе в чашке, расположенной под узлом средства выдачи кофеварки, извлечением заданного количества молока, содержащегося в емкости 2, под действием потока пара, подаваемого средством выдачи 5, и последующим управляемым вспениванием молока под действием воздуха, проходящего через входной канал 10 корпуса коллектора 3, прекращением подачи потока пара, когда заданное количество молока получено, и окончательной передачей молока в чашку для его смешивания со сваренным кофеем.
Понятно, что можно готовить первым молоко и затем сваренный кофе, или наоборот.
В случае, в котором требуется приготовить кофе и напиток на основе молока без пены, повторяется та же самая процедура, описанная выше, посредством приведения в действие устройства для регулирования воздушного потока для прекращения подачи воздушного потока.
Кофеварка посредством соответствующей команды может также управлять процессом приготовления только вспененного напитка на основе молока. В этом случае та же самая процедура, описанная выше, повторяется посредством исключения первого этапа получения порции сваренного кофе в чашке.
После отсоединения устройства 1 средство выдачи 5 может еще раз использовать свою насадку 35, с которой он был первоначально соединен. Таким образом, капучино может быть получено более обычным способом, посредством нажатия кнопок для активации функции образования пара, или же может быть получена горячая вода для приготовления чая или другого напитка посредством нажатия кнопок для активации функции получения горячей воды.
Как показано на фиг.15, проиллюстрирован предпочтительный вариант осуществления схемы получения горячей воды и схемы получения пара, которые обе питаются за счет электронасоса 166, управляемого расходомером 167 и пригодного для извлечения воды из резервуара 168.
Схема получения горячей воды содержит первый кипятильник 158 (пригодный для получения горячей воды), соединенный через первый клапан (не показан) с варочной камерой кофеварки.
Схема образования пара проходит от первого кипятильника 158 через второй электрический клапан 159 с тремя каналами 160, 161 и 162, который соединяет первый кипятильник 158 с выпускной линией и со вторым кипятильником 164 для образования пара, в свою очередь, соединенным с средством выдачи 5 пара через третий электрический клапан 165.
Для приготовления капучино, когда управляющее устройство подает одну команду, то, прежде всего, активируется схема получения горячей воды для приготовления сваренного кофе.
На первом этапе первый клапан 18 открыт, в то время как второй и третий электрические клапаны 159 и 165 остаются закрытыми, а электронасос 166 приводится в действие до тех пор, пока расходомер 167 не измерит количество воды, подаваемой в первый кипятильник 158 заданного объема воды для приготовления сваренного кофе.
Затем активируется схема образования пара для вспенивания молока.
На этом этапе первый клапан закрывается, тогда как второй электрический клапан 159 открывает каналы 160 и 161 и удерживает канал 162 выпускной линии закрытым, третий электрический клапан 165 открывается, и электронасос 166 приводится в действие до тех пор, пока расходомер 167 не измерит количество воды, подаваемой во второй кипятильник 164 заданного объема воды с целью образования пара, необходимого для вспенивания молока.
В конечном счете, следует этап подачи давления пара, в котором второй электрический клапан 159 удерживает канал 161 открытым, закрывает канал 160 и открывает канал 163 выпуска пара.
Предпочтительно, для ограничения поглощения электроэнергии первый и второй кипятильники селективно приводятся в действие, возможно периодически и, таким образом, вода, предназначенная для второго кипятильника, является недостаточно нагретой в первом кипятильнике.
Кроме того, когда второй кипятильник приведен в действие, отверстие электрического клапана 165 открывается с задержкой относительно запуска электронасоса 166 для образования пара под давлением.
Задуманное таким образом устройство для приготовления напитка на основе молока может подвергаться многочисленным модификациям и изменениям, которые предусмотрены изобретательским замыслом, кроме того, все детали могут быть заменены технически эквивалентными элементами. Практически, используемые материалы, а также размеры, могут быть любыми в соответствии с требованиями и состоянием уровня техники.
Формула изобретения
1. Устройство для получения напитка на основе молока, отличающееся тем, что оно содержит средство выдачи пара или воды и емкость для молока, которая соединена прямым или непрямым образом с корпусом коллектора, который образует внутреннюю полость, в которую открываются соединительный канал к указанному средству выдачи, канал для всасывания молока, находящегося в указанной емкости, и канал для всасывания воздуха, причем указанная емкость и указанный корпус коллектора взаимно неподвижно соединены для образования целиком съемного узла, соединенного с указанным средством выдачи, так что этот узел может быть целиком отделен от него для сохранения молока, находящегося в указанной емкости.
2. Устройство по п.1, отличающееся тем, что оно также содержит по меньшей мере первое скребковое средство, пригодное для очистки внутренней поверхности указанного канала для всасывания воздуха.
3. Устройство по п.1, отличающееся тем, что указанный корпус коллектора соединен с крышкой указанной емкости.
4. Устройство по п.1, отличающееся тем, что указанный корпус коллектора выполнен за одно целое с указанной крышкой указанной емкости.
5. Устройство по п.2, отличающееся тем, что указанное первое скребковое средство жестко или оперативно соединено с указанным средством выдачи для автоматического приведения в действие во время ввода указанного средства выдачи в указанную полость и/или удаления его из указанной полости.
6. Устройство по п.2, отличающееся тем, что указанное первое скребковое средство образовано за одно целое с указанным средством выдачи.
7. Устройство по п.1, отличающееся тем, что оно содержит средство для регулировки расхода воздуха через указанный канал для всасывания воздуха.
8. Устройство по п.7, отличающееся тем, что указанное средство для регулировки расхода воздуха содержит заслонку, которая может скользить в указанном канале для всасывания воздуха.
9. Устройство по п.8, отличающееся тем, что указанная заслонка жестко или оперативно соединена с указанным средством выдачи.
10. Устройство по п.8, отличающееся тем, что указанная заслонка образована за одно целое с указанным средством выдачи.
11. Устройство по п.7, отличающееся тем, что оно содержит средство ручного управления указанного средства для регулировки расхода воздуха.
12. Устройство по п.11, отличающееся тем, что указанное средство управления указанной заслонки содержит толкатель, способный перемещать указанную заслонку против действия упругого элемента, размещенного между указанной заслонкой и указанным средством выдачи.
13. Устройство по п.8, отличающееся тем, что указанная заслонка поддерживает по периферии уплотняющий элемент, выполненный с возможностью уплотнения пространства, расположенного между боковой поверхностью указанной заслонки и внутренней поверхностью указанного канала для всасывания воздуха.
14. Устройство по п.13, отличающееся тем, что внутренняя поверхность указанного канала для всасывания воздуха содержит по меньшей мере одно коническое или наклонное выпускное отверстие, выполненное с возможностью определения расхода воздуха в соответствии с положением указанной заслонки.
15. Устройство по п.14, отличающееся тем, что указанное выпускное отверстие содержит препятствие, чтобы при нахождении указанного уплотняющего элемента у указанного препятствия прохождение воздуха полностью блокировалось, тогда как при не совмещении указанного уплотняющего элемента с указанным препятствием, прохождение воздуха обеспечивалось через указанное выпускное отверстие и указанное пространство.
16. Устройство по п.2, отличающееся тем, что указанное первое скребковое средство содержит упругий гибкий скребковый зуб.
17. Устройство по п.16, отличающееся тем, что указанный скребковый зуб содержит наклонное основание, выполненное с возможностью отделения указанного средства выдачи от указанного корпуса коллектора.
18. Устройство по п.2, отличающееся тем, что оно содержит второе скребковое средство, выполненное с возможностью выполнения очистки внутренней поверхности указанного канала для всасывания молока, поддерживаемое указанным средством выдачи для автоматического приведения в действие во время ввода указанного средства выдачи в указанную полость и/или удаления его из указанной полости.
19. Устройство по п.18, отличающееся тем, что указанное второе скребковое средство охватывает выступ боковой поверхности указанного средства выдачи.
20. Устройство по п.1, отличающееся тем, что указанное средство выдачи образует в указанной полости указанного корпуса коллектора смесительную камеру, в которой потоки, поступающие из указанного средства выдачи, указанного канала для всасывания воздуха и указанного канала для всасывания молока, проходят вместе.
21. Устройство по п.1, отличающееся тем, что указанное средство выдачи образует в указанной полости указанного корпуса коллектора камеру для предварительного смешивания потоков, поступающих из указанного канала для всасывания воздуха и указанного канала для всасывания молока, причем указанная камера для предварительного смешивания сообщается через поперечное отверстие указанного средства выдачи с выдачным каналом указанного средства выдачи.
22. Устройство по п.21, отличающееся тем, что указанная камера для предварительного смешивания образована полостью боковой поверхности указанного средства выдачи.
23. Устройство по п.21, отличающееся тем, что указанное поперечное отверстие указанного средства выдачи сужено.
24. Устройство по п.21, отличающееся тем, что при эксплуатации указанный канал для всасывания молока смещен от указанного поперечного отверстия указанного средства выдачи, и соединительный канал предполагается образованным боковой полостью указанного средства выдачи.
25. Устройство по п.21, отличающееся тем, что при эксплуатации указанный канал для всасывания молока совмещен и непосредственно сообщается с указанным поперечным отверстием указанного средства выдачи.
26. Устройство по п.1, отличающееся тем, что указанный выдачной канал указанного средства выдачи содержит расширяющуюся концевую часть.
27. Устройство по п.1, отличающееся тем, что оно содержит выпускное сопло, съемно-соединенное с выпускным каналом указанного корпуса коллектора.
28. Устройство по п.27, отличающееся тем, что указанное выпускное сопло поддерживается с возможностью вращения между исходным положением, находящимся рядом с боковой стенкой указанной емкости и рабочим положением, находящимся на расстоянии от указанной боковой стенки указанной емкости.
29. Устройство по п.28, отличающееся тем, что указанное выпускное сопло имеет свою ось вращения, расположенную на продолжении основной оси указанного корпуса коллектора.
30. Устройство по п.28, отличающееся тем, что указанная емкость содержит карман, образованный снаружи указанной боковой стенки указанной емкости и под указанным выпускным соплом, для сбора возможных капель жидкости, когда указанное выпускное сопло находится в исходном положении.
31. Устройство по п.1, отличающееся тем, что указанная емкость содержит выливной носик.
32. Устройство по п.2, отличающееся тем, что указанное первое скребковое средство содержит скребковый палец, поддерживаемый управляемым вручную первым плечом рычага, шарнирно закрепленным на указанной крышке указанной емкости, причем указанный рычаг может приводиться в движение перпендикулярно горизонтальной плоскости указанной крышки и содержит второе плечо рычага, расположенное в направляющей, шарнирно закрепленной на указанной крышке, и способное вращаться параллельно горизонтальной плоскости указанной крышки.
33. Устройство по п.27, отличающееся тем, что оно содержит устройство для внутренней очистки указанного корпуса коллектора и указанной насадки, содержащее первый микровыключатель, который может приводиться в действие и формировать сигнал разрешения выдачи потока пара через указанное средство выдачи.
34. Устройство по п.33, отличающееся тем, что указанное устройство для очистки содержит приводной элемент в форме вала указанного первого микровыключателя, пересекающего поперек указанный канал для всасывания молока и содержащий первое сквозное поперечное отверстие, совмещенное с внутренним отверстием указанного канала для всасывания молока, когда указанный приводной элемент находится в первом рабочем положении расцепления с указанным первым микровыключателем, и полностью смещенное от него, когда указанный приводной элемент находится во втором рабочем положении зацепления с указанным первым микровыключателем.
35. Устройство по п.34, отличающееся тем, что указанный приводной элемент поддерживается с возможностью скольжения направляющей и содержит кнопку, которая может приводиться в действие вручную в отличие от пружины на противоположном конце по отношению к концу, который может зацепляться с указанным первым микровыключателем.
36. Устройство по п.27, отличающееся тем, что указанная насадка в исходном положении зацепляется с уплотнительной прокладкой для уплотнения ее свободного конца.
37. Устройство по п.33, отличающееся тем, что оно содержит автоматическое блокировочное устройство, выполненное с возможностью блокировки указанной емкости в положении зацепления между указанным корпусом коллектора и указанным средством выдачи.
38. Устройство по п.37, отличающееся тем, что указанное блокировочное устройство содержит первый вручную управляемый рычаг, поддерживаемый с возможностью перемещения указанной емкостью, и второй рычаг, поддерживаемый с возможностью перемещения указанной емкостью и управляемый указанным первым рычагом управления между положением соединения с блокировочным гнездом и положением разъединения с блокировочным гнездом.
39. Устройство по п.38, отличающееся тем, что оно содержит второй микровыключатель, выполненный с возможностью обеспечения образования пара, когда указанное автоматическое блокировочное устройство работает и для предотвращения образования пара, когда указанное автоматическое блокировочное устройство не работает.
40. Устройство по п.39, отличающееся тем, что указанный второй микровыключатель расположен в указанном гнезде зацепления указанного второго рычага и включается указанным вторым рычагом в момент зацепления с указанным гнездом зацепления/расцепления с указанным гнездом зацепления.
41. Способ приготовления капучино, отличающийся тем, что с помощью одной команды кофеварки осуществляется автоматическая подача приготовленного кофейного напитка в чашку, извлечение заданного количества молока, содержащегося в емкости для молока, под действием потока пара, подаваемого средством выдачи пара указанной кофеварки в корпус коллектора, соединенный прямым или непрямым образом с указанной емкостью для молока, вспенивание указанного заданного количества молока посредством подачи воздуха в указанный корпус коллектора, прекращение подачи указанного потока пара, когда указанное заданное количество молока извлечено посредством него, и передачу указанного заданного количества вспененного молока в указанную чашку.
42. Устройство по п.1, отличающееся тем, что указанное средство выдачи является частью кофеварки.
43. Кофеварка, отличающаяся тем, что она содержит устройство по п.1.
44. Кофеварка по п.43, отличающаяся тем, что она содержит схему для получения горячей воды и схему для образования пара, питаемые за счет электронасоса, управляемого расходомером.
45. Кофеварка по п.44, отличающаяся тем, что указанная схема для получения горячей воды содержит первый кипятильник, и указанная схема для образования пара проходит от указанного первого кипятильника через электрический клапан с тремя каналами, который соединяет указанный первый кипятильник с линией выпуска пара и со вторым кипятильником для образования пара, в свою очередь соединенным с указанным средством выдачи через дополнительный электрический клапан.
46. Кофеварка по п.45, отличающаяся тем, что указанные первый и второй кипятильники избирательно приводятся в действие.
47. Кофеварка по п.45, отличающаяся тем, что когда указанный второй кипятильник приведен в действие, отверстие указанного дополнительного электрического клапана открывается с задержкой относительно приведения в действие указанного электронасоса для поднятия давления в образованном паре.
РИСУНКИ
|