|
|
(21), (22) Заявка: 2005127855/12, 22.01.2004
(24) Дата начала отсчета срока действия патента:
22.01.2004
(30) Конвенционный приоритет:
07.02.2003 EP 03002817.9
(43) Дата публикации заявки: 10.02.2006
(46) Опубликовано: 27.11.2008
(56) Список документов, цитированных в отчете о поиске:
US 5755149 А, 26.05.1998. US 6182554 B1, 06.02.2001. ЕР 0512142 A1, 11.11.1992. SU 1837834 A3, 30.08.1993.
(85) Дата перевода заявки PCT на национальную фазу:
07.09.2005
(86) Заявка PCT:
EP 2004/000498 (22.01.2004)
(87) Публикация PCT:
WO 2004/071259 (26.08.2004)
Адрес для переписки:
103735, Москва, ул. Ильинка, 5/2, ООО “Союзпатент”, пат.пов. Л.С.Кишкиной
|
(72) Автор(ы):
ЖАРИШ Кристиан (CH), ИОАКИМ Альфред (CH)
(73) Патентообладатель(и):
НЕСТЕК С.А. (CH)
|
(54) ЭКСТРАКЦИОННЫЙ МОДУЛЬ С ЛИНЕЙНЫМ СМЫКАНИЕМ ДЛЯ ПРИГОТОВЛЕНИЯ НАПИТКА ИЗ СОДЕРЖИМОГО КАПСУЛЫ ПОД ПОВЫШЕННЫМ ДАВЛЕНИЕМ
(57) Реферат:
Экстракционный модуль, предназначенный для экстрагирования вещества, содержащегося в сменном баллончике, осуществляемого под повышенным давлением, для приготовления напитка из содержимого капсулы, в которой находится вещество, подлежащее экстрагированию. Экстракционный модуль содержит экстракционные средства, включающие в себя первый экстракционный компоновочный узел и второй экстракционный компоновочный узел. Второй экстракционный компоновочный узел может перемещаться до смыкания его с первым компоновочным узлом, в результате чего в замкнутом положении образуется экстракционная камера. Экстракционная камера заключает в себе капсулу. Капсула находится в плоскости смыкания, а в разомкнутом положении обеспечивается получение достаточно большого пространства между двумя компоновочными узлами для того, чтобы можно было вставить капсулу между двумя компоновочными узлами. Средство, предназначенное для удерживания капсулы и установки ее в нужном положении, выполнено с возможностью проталкиваться линейно в обратном направлении вторым подвижным компоновочным узлом. Средство, предназначенное для удерживания капсулы и установки ее в нужном положении, устанавливается соосно подвижному экстракционному компоновочному узлу с возможностью перемещения линейно вдоль этой оси как указанный компоновочный узел. Средство, предназначенное для удерживания капсулы и установки ее в нужном положении устанавливается между двумя компоновочными узлами, когда вставлена капсула, частично закрывая собой открывшееся пространство. Капсула удерживается между двумя компоновочными узлами даже в том случае, когда модуль находится в наклоненном положении. Первый компоновочный узел представляет собой основание. Средство, предназначенное для удерживания капсулы и установки ее в нужном положении, монтируется вокруг основания первого компоновочного узла так, что может проталкиваться в обратном направлении в положение для обеспечения смыкания двух компоновочных узлов вокруг капсулы. Средство, предназначенное для удерживания капсулы и установки ее в нужном положении, выполняется в виде единого узла, способного удерживать капсулу в центральном положении внутри открывшегося пространства вдоль нескольких осей в плоскости смыкания. Техническим результатом экстракционного устройства является то, что конструкция позволяет облегчить выполнение операций введения капсулы внутрь этого устройства, установки ее внутрь него в правильном положении и последующего выталкивания капсулы оттуда. 15 з.п. ф-лы, 7 ил.
Настоящее изобретение относится к приготовлению напитков по принципу экстрагирования вещества, содержащегося в сменном баллончике, известном как «капсула», посредством пропускания через нее потока воды под повышенным давлением. Более конкретно данное изобретение касается экстракционного модуля к аппарату для приготовления напитков, к примеру, такому, каким является кофеварка.
Известным в данной области является приготовление напитков, к примеру, таких как кофе, чай или горячий шоколад, с применением капсул, содержащих заранее установленную порцию соответствующего вещества, подлежащего экстрагированию. Капсульная форма дозировки имеет преимущество, заключающееся в облегчении выполнения операций приготовления напитка, в обеспечении чистоты в процессе приготовления напитка без оставления при этом каких-либо заметных следов исходного вещества и в полной подконтрольности воспроизведения неизменно высокого качества приготавливаемого продукта.
Принцип экстрагирования из капсулы, в общем, заключается в том, что (а) заключают капсулу в камеру, стойкую к воздействию повышенного давления; (б) прокалывают один из торцов капсулы; (в) вводят в капсулу некоторое количество горячей воды, чтобы создать внутри капсулы соответствующую замкнутую среду, находящуюся под повышенным давлением, которая необходима для получения кофейного или какого-нибудь иного экстракта; (г) выпускают полученный жидкий экстракт через противоположный торец капсулы; и (д) собирают этот экстракт в сосуде, имеющем соответствующую емкость, к примеру, в таком как чашка.
Проблема загрузки капсулы в экстракционную систему и удаления капсулы оттуда уже являлась ранее предметом целого ряда патентных публикаций.
В патентной заявке ЕР 1090574 А1 раскрывается экстракционное устройство, содержащее пару зажимных губок, одна из которых является подвижной, а другая – неподвижной губкой, причем последняя шарнирно крепится к неподвижной губке, а также запорный рычажный механизм, имеющий несколько рычагов, которые связаны с губками и запирают подвижную губку в таком положении, когда она находится сверху неподвижной губки.
В опубликованном документе WO 01/30218 А1 предлагается применить аналогичный принцип, но дополнительно предусматривается наличие механизма, предназначенного для выталкивания капсулы и связанного с тяговым рычагом подвижной губки таким образом, чтобы обеспечивать отсоединение капсулы от днища экстракционной камеры при повторном отпирании зажимной губки.
На основании этих принципов становится очевидным, что известно запорное устройство с двумя частями, одна из которых неподвижна, а другая подвижна, и которые, но не в обязательном порядке, могут быть связаны с соответствующим выталкивателем. Однако эти устройства представляют собой, по существу, ручные запорные устройства, которые не вполне пригодны к использованию их в целях автоматизации функции запирания. Кроме того, следует также отметить, что в связи с перемещением осей шарнирных сочленений, происходящим в таких системах, их проектирование и сборка должны осуществляться с достаточно высокой точностью с тем, чтобы избежать появления ненужных зазоров и не допустить возникновения каких-либо проблем при соединении отдельных частей между собой.
В патентной заявке WO 95/17121 раскрывается устройство, содержащее узел, образованный неподвижным поршнем и подвижным цилиндрическим корпусом, причем этот узел расположен таким образом, чтобы быть обращенным в сторону кипятильника. Между кипятильником, с одной стороны, и неподвижным поршнем вместе с цилиндрическим корпусом, с другой стороны, находится зона, в которой располагаются средства, предназначенные для приема, удерживания на месте и выталкивания пакетиков. Эти удерживающие средства и указанные приемные средства представляют собой совсем разные средства. Первые из них отводятся назад не до конца и располагаются непосредственно между кипятильником и цилиндрическим корпусом, удерживая пакетик за боковые кромки, а последние – убираются совсем и располагаются с одной стороны от цилиндрического корпуса, просто не давая пакетику упасть под воздействием силы тяжести. Такое устройство является довольно сложным, потому что в нем имеется множество различных деталей, предназначенных для одновременного удерживания и правильного центрирования капсулы (или пакетика) в соответствующем положении внутри экстракционной камеры. Для этого требуется предусмотреть несколько отдельных механизмов, предназначенных для перемещения соответствующих средств таким образом, чтобы обеспечить надежное запирание экстракционной системы. Кроме того, вследствие смещенного положения удерживающих средств могут также возникать различные проблемы, связанные с заеданием механизмов и с преждевременным их износом. Помимо этого, такое устройство получается также сравнительно громоздким из-за периферийного расположения удерживающих средств и кипятильника.
В патентной заявке WO 98/47418 раскрывается способ преобразования кофеварки типа «экспресс», работающей в режиме вертикального экстрагирования с применением заранее дозированных таблеток, подаваемых в горизонтальной плоскости в кофеварку типа «экспресс», работающую в режиме горизонтального экстрагирования с обеспечением возможности применения заранее дозированных таблеток, подаваемых в вертикальной плоскости. Эта кофеварка имеет соответствующие приемные и выталкивающие средства, выполненные в виде единого убирающегося узла, который может перемещаться под экстракционным элементом с помощью соответствующих электромеханических подвижных средств, которые выполнены отдельно от средств, предназначенных для приведения в действие выталкивающего элемента.
В патентной заявке WO 00/38558 раскрывается экстракционная камера, предназначающаяся для автомата и состоящая из двух подвижных частей, перемещающихся в горизонтальной плоскости, одна из которых снабжается горячей водой, а в другой имеется фильтр, причем эти две части смонтированы таким образом, чтобы шарнирно поворачиваться в вертикальном направлении друг против друга вдоль своих поперечных осей.
В патентной заявке WO 00/44868 раскрывается экстракционное устройство, содержащее экстракционную камеру, состоящую из двух частей, которые могут перемещаться по горизонтали таким образом, чтобы приближаться при этом друг к другу или же, наоборот, удаляться друг от друга, причем эти части смонтированы на эксцентриковом валу, который может сообщать им поворотное движение в противоположных направлениях, при этом данное устройство содержит соответствующее поворотное звено, затормаживаемое между каждым эксцентриковым валом и каждой из указанных перемещающихся частей, благодаря чему горизонтальное движение сочетается с поворотным движением, в результате чего обеспечивается соответствующая взаимная связь между стадиями смыкания и размыкания экстракционной камеры.
Задача настоящего изобретения заключается в создании экстракционного устройства, конструкция которого позволяет облегчить выполнение операций введения капсулы внутрь этого устройства, установки ее внутри него в правильном положении и последующего выталкивания капсулы оттуда, обеспечивая при этом устранение недостатков, которыми страдают рассмотренные выше известные устройства.
В этом отношении данное изобретение относится к модулю, предназначенному для экстрагирования, осуществляемого под повышенным давлением с целью приготовления напитка из содержимого капсулы, в которой находится вещество, подлежащее экстрагированию, и содержащему:
экстракционные средства, включающие в себя первый экстракционный компоновочный узел и второй экстракционный компоновочный узел, который может перемещаться до смыкания его с первым компоновочным узлом, в результате чего в замкнутом положении образуется экстракционная камера, заключающая в себе капсулу, находящуюся там в плоскости смыкания, а в разомкнутом положении обеспечивается получение достаточно большого пространства между двумя компоновочными узлами для того, чтобы можно было вставить капсулу между двумя компоновочными узлами;
средство, предназначенное для удерживания капсулы и установки ее в нужном положении между двумя компоновочными узлами и частично закрывающее собой открывшееся пространство, при этом капсула удерживается между двумя компоновочными узлами; отличающееся тем, что средство, предназначенное для удерживания капсулы и установки ее в нужном положении, может перемещаться соосно линейному перемещению подвижного экстракционного компоновочного узла и может проталкиваться линейно в обратном направлении вторым подвижным компоновочным узлом в отведенное назад положение, что позволяет тем самым сомкнуться двум компоновочным узлам вокруг капсулы.
Таким образом, в отличие от устройств, известных в данной области техники, центрирование вдоль одной и той же оси перемещения обеспечивает повышение надежности устройства благодаря предотвращению заедания, а также способствует уменьшению общих габаритных размеров устройства. Первый компоновочный узел может представлять собой основание, на котором монтируется средство, предназначенное для удерживания капсулы и установки ее в нужном положении с обеспечением при этом возможности перемещения этого средства вдоль данного основания.
Предпочтительно средство, предназначенное для удерживания капсулы и установки ее в нужном положении, выполняется в виде единого узла, способного отцентрировать капсулу внутри открывшегося пространства вдоль нескольких осей в плоскости смыкания.
Таким образом, функции удерживания капсулы и установки ее в нужном положении по нескольким осям, задающим направление, выполняются одним объединенным узлом, что позволяет упростить конструкцию устройства, а также сделать его более надежным и более компактным.
Капсула может удерживаться на месте и центрироваться в правильном своем положении по нескольким направлениям в плоскости смыкания при помощи, например, соответствующего средства, предназначенного для удерживания капсулы и установки ее в нужном положении, имеющего открытую цилиндрическую часть, предназначенную для удерживания и центрирования капсулы, и кольцевую направляющую часть, смонтированную вокруг основания экстракционного компоновочного узла.
В предпочтительном варианте осуществления настоящего изобретения предусматривается наличие соответствующих капсуловыталкивающих средств, предназначенных для выталкивания капсулы из модуля наружу. Поскольку капсула в момент ее выталкивания будет находиться в довольно мокром состоянии, оставаясь при этом плотно прижатой к соответствующим поверхностям экстракционных средств из-за воздействия на нее в модуле повышенного давления, выталкивающие средства осуществляют также и отсоединение капсулы от этих поверхностей каждый раз по завершении операции экстрагирования. Кроме того, выталкивающие средства способны также обеспечить извлечение капсулы из модуля даже в том случае, когда модуль расположен с небольшим наклоном по отношению к горизонтали.
Предпочтительно выталкивающие средства, предназначенные для выталкивания капсулы из модуля наружу, приводятся в действие при размыкании модуля за счет линейного возвратного движения второго, подвижного компоновочного узла модуля в момент разъединения его с первым экстракционным компоновочным узлом. Такая конфигурация также способствует упрощению конструкции системы.
Более конкретно, средство, предназначенное для удерживания капсулы и установки ее в нужном положении, запирается в отведенном назад своем положении, когда экстракционные компоновочные узлы смыкаются друг с другом, и отпирается, продолжая оставаться в положении удерживания капсулы, только после того, как произойдет выталкивание капсулы наружу, осуществляемое с помощью выталкивающих средств. Отпирание средства, предназначенного для удерживания капсулы и установки ее в нужном положении, когда оно находится в отведенном назад своем положении, может осуществляться непосредственно за счет линейного возвратного действия подвижного экстракционного компоновочного узла в момент его разъединения с другим экстракционным компоновочным узлом модуля. Возврат средства, предназначенного для удерживания капсулы и установки ее в нужном положении, снова в такое его положение, в котором оно обеспечивает удерживание капсулы, может быть затем осуществлен под воздействием, оказываемым на него в обратном направлении соответствующим упругим средством, к примеру, таким, как одна или несколько возвратных пружин, либо каким-нибудь иным эквивалентным средством.
Посредством согласования момента отпирания средства, предназначенного для удерживания капсулы и установки ее в нужном положении, с операцией выталкивания капсулы наружу обеспечивается надежное, последовательное и подконтрольное автоматическое функционирование модуля, благодаря чему выталкивание капсулы происходит только лишь тогда, когда образуется достаточно большое пространство между размыкаемыми экстракционными компоновочными узлами, и прежде чем средство, предназначенное для удерживания капсулы и установки ее в нужном положении, снова вернется в положение готовности к удерживанию свежей капсулы.
Выталкивающие средства могут приводиться в действие несколькими разными способами. В предпочтительном примере своего исполнения выталкивающие средства подвергаются упругому натяжению, когда происходит смыкание двух экстракционных компоновочных узлов друг с другом, и выходят из такого своего упруго напряженного состояния, осуществляя при этом выталкивание капсулы, когда эти два экстракционных компоновочных узла снова размыкаются. Преимущество такого конструктивного решения состоит в том, что обеспечивается согласование момента выталкивания капсулы наружу с операцией размыкания экстракционных компоновочных узлов, благодаря чему не требуется наличия какого-либо отдельного механизма для того, чтобы вытолкнуть капсулу наружу, или же соответствующих электрических либо электронных схем, управляющих таким размыканием. Например, выталкивающие средства могут представлять собой в этом случае специальный рычаг, выполненный в виде кольца, шарнирно закрепленного на неподвижном экстракционном компоновочном узле. Этот рычаг может приводиться в напряженное состояние под воздействием на него, по меньшей мере, одной плоской пружины либо какого-нибудь иного аналогичного приспособления, которым снабжается средство, предназначенное для удерживания капсулы и установки ее в нужном положении.
Подвижный экстракционный компоновочный узел предпочтительно снабжается соответствующим линейным средством для приведения его в действие, предпочтительно – поршневого типа, которое может срабатывать при смыкании модуля под воздействием соответствующих гидравлических или электрических средств.
В предпочтительном варианте осуществления настоящего изобретения первый экстракционный компоновочный узел выполняется неподвижным. Внутри него имеется зона приема капсулы, снабженная соответствующими рельефными элементами, предназначенными для вскрытия капсулы. Внутри второго, подвижного компоновочного узла экстракционного модуля предусматривается наличие дополнительной зоны приема капсулы, где устанавливается соответствующее средство, обеспечивающее подачу воды в капсулу.
Другие признаки и преимущества настоящего изобретения будут более понятны при рассмотрении чертежей, прилагаемых к приведенному здесь ниже описанию изобретения, на которых изображен предпочтительный пример его осуществления:
фигура 1 – общий перспективный вид модуля, выполненного в соответствии с настоящим изобретением и изображенного в конфигурации при установке в него капсулы;
фигура 2 – вид в разрезе по линии I-I на фигуре 3, изображающий модуль в той же самой конфигурации с капсулой, удерживаемой на своем месте;
фигура 3 – вид в разрезе по линии II-II на фигуре 2, изображающий также модуль с вставленной в него капсулой, но занимающий наклонное положение;
фигура 4 – перспективное изображение модуля, выполненного в соответствии с настоящим изобретением и показанного в разобранном виде;
фигура 5 – вид в разрезе по линии I-I на фигуре 3, но изображающий модуль в конфигурации, в которой он сомкнут вокруг капсулы;
фигура 6 – вид в разрезе по линии II-II на фигуре 2, но изображающий модуль в конфигурации при выталкивании капсулы;
фигура 7 – деталировка средства, предназначенного для удерживания капсулы и установки ее в нужном положении внутри модуля, выполненного в соответствии с настоящим изобретением.
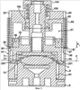
Как показано на фигурах 1-5, экстракционный модуль 1 содержит экстракционные средства, предназначенные для приема капсулы 12 и экстрагирования из нее жидкого экстракта посредством пропускания воды через капсулу под повышенным давлением. Экстракционные средства включают в себя первый компоновочный узел 10, который предпочтительно выполняется неподвижным, и второй компоновочный узел 11, который предпочтительно выполняется подвижным и который, перемещаясь, смыкается с компоновочным узлом 10. Компоновочные узлы 10, 11 имеют каждый соответствующую приемную зону 2 и 5, каждая из которых принимает в себя один из торцов капсулы при смыкании модуля. В приемной зоне первого компоновочного узла 10 имеются капсуловскрывающие элементы 22, как правило – это соответствующие рельефные элементы, к примеру, такие как множество пирамидальных выступов, выполненных на пластине 21, предназначенной для распределения давления.
Неподвижный компоновочный узел 10 имеет основание, или юбку 6, через которую проходит сквозной канал 60, по которому получаемый жидкий экстракт вытекает из экстракционной камеры. Основание 6 крепится к главному корпусу 8 по бокам, как показано, например, на фигуре 4. Корпус 8 и основание 6 определяют собой внутреннее пространство 14, с той стороны которого, куда вставляется капсула, имеется щель 15, а с другой стороны, откуда выталкивается использованная капсула, имеется соответствующее выходное отверстие 16 для капсулы, т.е. выталкивание капсулы из модуля наружу осуществляется в ином направлении относительно того направления, в котором капсула вставляется внутрь модуля, предпочтительно в противоположном направлении.
Кроме того, в корпусе выполнено также центральное отверстие 80, предназначенное под вставляемый в него поршень 20, представляющий собой составную часть подвижного экстракционного компоновочного узла. Поршень смонтирован таким образом, что он проходит сквозь отверстие 80 корпуса и соединяется внутри него в одно целое с экстракционным впрыскивающим устройством 5, образующим приемную зону, снабженную протыкающими элементами 50, предназначенными для вскрывания капсулы. Поршень 20 и впрыскивающее устройство 5 при сборке их в соосном друг относительно друга положении образуют собой как бы одну единую деталь, в которой имеется водовпускной канал 51, расположенный таким образом, чтобы обеспечивать подачу воды через впрыскивающее устройство 5.
Поршень смонтирован в корпусе упруго с помощью пружины 150, работающей на сжатие, которая находится между кольцом 140, закрепленным на конце поршня, и соответствующим кожухом, установленным внутри корпуса. Уплотнение между поршнем и соответствующими внутренними поверхностями корпуса обеспечивается при помощи сальников 30, 160, установленных по обе стороны от кольцевой отражательной перегородки, отделяющей поршень от внутренней полости корпуса. Находясь между ними, эти два сальника 30, 160 ограничивают тем самым камеру повышенного давления 81, которая может расширяться под воздействием жидкой среды, поступающей в эту камеру через входное отверстие 82 для подачи жидкой среды, расположенное на верху корпуса (см. фигуру 3).
Таким образом, следует понимать, что подвижный компоновочный узел, состоящий, по существу, из поршня 20 и впрыскивающего устройства 5, удерживается в положении, в котором экстракционная камера открыта, т.е. этот узел находится тогда на соответствующем расстоянии от приемной зоны неподвижного компоновочного узла, благодаря воздействию сжимающего усилия, создаваемого пружиной 150, которая находится между кольцом 140 поршня и корпусом 8. Таким образом, при пропускании подаваемой жидкой среды в камеру повышенного давления 81 происходит сжатие пружины, и поршень, образующий вместе с впрыскивающим устройством одну единую деталь, перемещается в направлении F1, обеспечивая смыкание модуля.
В раскрытом состоянии модуля, представленном на фигурах 1-3, обеспечивается наличие достаточно большого пространства 14 между двумя противолежащими приемными зонами 2, 5, что позволяет вставить туда капсулу 12 через щель 15. Капсула может вставляться через щель 15 вручную самим пользователем либо вводиться туда с помощью соответствующих полуавтоматических или же автоматических средств, которые в настоящей заявке не рассматриваются.
Согласно настоящему изобретению предусматривается наличие соответствующего узла 9, предназначенного для удерживания капсулы и установки ее в нужном положении и расположенного между подвижным компоновочным узлом 11 и неподвижным компоновочным узлом 10, благодаря чему капсула надежно удерживается в нужном месте в плоскости смыкания Р модуля. Указанный узел 9, предназначенный для удерживания капсулы и установки ее в нужном положении, выполнен таким образом, чтобы обеспечивать неподвижное положение капсулы в направлениях, соответствующих нескольким осям, при помощи специальной детали 90, имеющей частично открытую конфигурацию и частично цилиндрическую форму и изображенной в мельчайших подробностях на фигуре 7. Кроме того, указанный узел имеет также кольцевую направляющую часть 91, которая монтируется таким образом, чтобы она охватывала собой основание 6 неподвижного экстракционного компоновочного узла. Указанная направляющая часть 91 вместе с выталкивающими средствами 7, выполняемыми предпочтительно в виде кольца (и рассматриваемыми ниже более подробно в приведенном здесь описании), служит в качестве соответствующего захватывающего пояска, удерживающего кромки капсулы. Как показано на фигуре 3, когда капсула вставлена на свое место, края капсулы также удерживаются при помощи верхней кромки основания 6, благодаря чему обеспечивается необходимое уплотнение при опускании впрыскивающего устройства вниз. С каждой стороны указанного узла предусматривается обеспечивать выравнивание данного узла в продольном направлении относительно корпуса 8 при помощи двух пальцев 93, 94, которые входят в направляющие канавки 83, 84, выполненные в корпусе. Между каждым из этих пальцев и верхним концом соответствующей канавки вставлено по одной упругой возвратной пружине 85, причем эти пружины стремятся удержать, когда модуль раскрыт, указанный узел 9, предназначенный для удерживания капсулы и установки ее в нужном положении, в рабочем его состоянии, в котором этот узел удерживает капсулу на своем месте, т.е. в таком положении, в котором цилиндрическая часть 90 перекрывает собой частично пространство 14 и, в частности, выходное отверстие 16, а также и кромки, проходящие в перпендикулярном направлении относительно направления, задаваемого упомянутым отверстием.
Цилиндрическая часть 90 этого узла расположена таким образом, чтобы частично охватывать собой зону 2, предназначенную для приема капсулы. Предпочтительно, чтобы часть 90 подходила вплотную к периферии приемной зоны и имела такую форму, чтобы геометрически дополнять собой кромки 120 капсулы, предпочтительно занимая при этом дугу окружности в пределах от 100 до 180 градусов, обеспечивая тем самым надежное удерживание капсулы на своем месте в направлениях, соответствующих нескольким осям, а также центрирование капсулы. Данная часть перекрывает собой частично пространство 14, предпочтительно таким образом, чтобы при этом занять положение по центру стороны, расположенной противоположно по отношению к щели 15. Таким образом, узел 9 располагается при его монтаже соосно базе 6 по оси I в отношении направления линейного перемещения соответствующего средства, предназначенного для перемещения подвижного компоновочного узла, т.е. поршня 3 и впрыскивающего устройства 5.
Узел 9 может перемещаться вдоль цилиндрической части 61 основания между положением, в котором осуществляется удерживание капсулы, и отведенным назад положением, в котором обеспечивается возможность смыкания экстракционных компоновочных узлов друг с другом вокруг капсулы. В конфигурациях, представленных на фигурах 1 и 2, узел 9 находится в таком своем положении, в котором обеспечивается удерживание капсулы на месте и установка ее в нужном положении под воздействием возвратных пружин 85, удерживающих узел на верху цилиндрической части 61 основания.
Кроме того, экстракционный модуль имеет также капсуловыталкивающий механизм 7, предназначенный для отсоединения использованной капсулы по завершении экстрагирования и для выталкивания ее наружу из модуля. Функция выталкивания капсулы должна фактически продолжать надежно выполняться в течение практически неограниченного числа отдельных циклов экстрагирования без необходимости прибегать при этом когда-либо к удалению использованной капсулы вручную в случаях заклинивания или застревания ее в работающей системе. Выталкивающий механизм предназначен для приподнимания капсулы и разъединения ее с поверхностью в приемной зоне 2. Во время экстрагирования капсула подвергается воздействию довольно значительного внутреннего давления, возникающего при нагнетании воды в оболочку капсулы. Затем капсула вскрывается посредством разрывания материала, соприкасающегося с соответствующими рельефными элементами пластины, обеспечивающей распределение давления. Таким образом, вслед за экстрагированием поверхность капсулы «продавливается» соответствующими рельефными элементами, имеющимися на пластине, обеспечивающей распределение давления, и поэтому для отсоединения капсулы от этой поверхности и выталкивания ее наружу требуется приложить соответствующее усилие с внешней стороны к поверхности приемной зоны.
Выталкивающий механизм выполнен таким образом, чтобы приходить в состояние упругого натяжения, когда оба экстракционных компоновочных узла смыкаются друг с другом, и соответственно выходить из этого напряженного состояния, осуществляя при этом выталкивание использованной капсулы, когда эти два компоновочные узла вновь раскрываются. С этой целью выталкивающий механизм 7 выполняется в виде рычага, имеющего кольцевую часть 71 и сочлененного своим концом 72 с осью шарнира 62, установленной на основании 6 неподвижного экстракционного компоновочного узла. Диаметр кольцевой части данного рычага, по существу, больше приемной зоны 2, что позволяет беспрепятственно осуществить смыкание экстракционного модуля, но при этом этот диаметр меньше, чем диаметр кромок капсулы, благодаря чему обеспечивается возможность зацепления кольцевой части рычага за кромки, что позволяет затем отсоединить капсулу. Предпочтительно, чтобы рычаг 70 в положении покоя находился в выемке 95, которая предусматривается с этой целью в узле 9, предназначенном для удерживания капсулы и установки ее в нужном положении. Для перемещения рычага в такое положение, в котором осуществляется выталкивание капсулы, данный узел, предназначенный для удерживания капсулы и установки ее в нужном положении, снабжается соответствующими упругими элементами 92, выполненными в виде пластинок, закрепленных на кромке узла 9, которые взаимодействуют с концом 72 рычага. Свободными своими частями упругие элементы 92 выступают из выемки 95 таким образом, чтобы иметь возможность прийти в соприкосновение с концом рычага, в результате чего происходит приподнимание кольцевой его части во время выталкивания капсулы.
Как показано на фигурах 2 и 4, предусматривается наличие соответствующего механизма, который обеспечивает запирание узла 9, предназначенного для удерживания капсулы и установки ее в нужном положении, когда этот узел находится в своем отведенном назад положении, что позволяет удерживать узел 9 в таком положении во время выталкивания капсулы при помощи выталкивающих средств. Этот запорный механизм имеет две упорные поверхности 96, 97, расположенные на конце соответственно пальцев 93, 94 узла. Запирание при помощи этих поверхностей 96, 97 осуществляется во взаимодействии с двумя штифтами, соответственно 86, 87, расположенными в направляющих канавках 83, 84 корпуса, когда узел 9 опускается вниз вдоль основания неподвижного экстракционного компоновочного узла.
И, наконец, предусматривается также наличие соответствующего механизма, который обеспечивает отпирание узла 9, предназначенного для удерживания капсулы и установки ее в нужном положении, что позволяет осуществить возврат узла в его исходное положение, в котором этот узел способен удерживать капсулу и устанавливать ее в нужном положении, как показано на фигурах 1 и 2. Этот механизм включает в себя шипы 98, 99, расположенные с внутренней стороны указанных пальцев узла 9 и предназначенные для приведения в действие соответствующих крюков 220, 221, расположенных на периферии поршня, когда происходит перемещение поршня вверх.
Далее в описании данного изобретения поясняется принцип действия предлагаемого экстракционного модуля с тем, чтобы легче можно было понять, как выполняются операции установки капсулы на место, смыкания и размыкания модуля, а также выталкивания капсулы.
На фигуре 3 показан модуль с экстракционными компоновочными узлами, изображенными в раскрытом положении. Данный модуль предпочтительно занимает наклонное положение по отношению к горизонтали с тем, чтобы облегчить установку капсулы внутри модуля и выталкивание использованной капсулы оттуда за счет соответствующего преимущества, получаемого благодаря использованию силы тяжести. Угол этого наклона может варьироваться в пределах от 5 до 90 градусов, предпочтительно в пределах от 20 до 80 градусов. Под воздействием пружины 150, работающей на сжатие, поршень удерживается в отведенном назад положении, обеспечивая получение достаточно большого свободного пространства 14. Узел 9, предназначенный для удерживания капсулы и ее центрирования, находится в таком положении, в которое он приходит под воздействием возвратных пружин 85, обеспечивая при этом надежное удерживание капсулы на своем месте и установку ее в нужном положении. Таким образом, капсула может вводиться внутрь модуля через щель 15. При установке капсулы на своем месте обеспечивается плотное прилегание кромок 120 капсулы к детали 90 узла, имеющей соответствующую форму, благодаря чему обеспечивается центрирование капсулы точно посредине зоны экстрагирования. Следовательно, капсула будет при этом свободно лежать, находясь в приемной зоне 2 и плотно прижимаясь к пластине 21, предназначенной для распределения давления.
На фигуре 5 показана операция смыкания модуля. Поршень 20 приводится в движение при подаче жидкой среды в камеру повышенного давления 81. При этом поршень перемещает впрыскивающее устройство 5 в направлении F1 вплоть до соприкосновения этого устройства с капсулой. По мере опускания поршня вниз узел 9, предназначенный для удерживания капсулы и установки ее в нужном положении, проталкивается нижними кромками поршня вниз до тех пор, пока этот узел не придет в свое отведенное назад положение на днище основания 6. В конце операции смыкания подвижный компоновочный узел приводит выталкивающий механизм 7 в напряженное состояние. В частности, сальник 52 впрыскивающего устройства удерживает рычаг 70 в откинутом положении, тогда как упругие элементы узла 9 подвергаются упругому изгибу в результате относительного перемещения узла 9 по отношению к концу 72 этого рычага. Когда узел 9 опускается вниз, этот конец, который в данном случае неподвижен, принудительно изгибает подвижные пластины 92, обеспечивая тем самым переход выталкивающего механизма в напряженное состояние.
Когда модуль сомкнут, узел 9 автоматически запирается в отведенном назад положении при помощи запорного механизма. Более конкретно, упорные поверхности 96, 97 пальцев узла 9 приходят тогда во взаимодействие с упорными поверхностями 86, 87 корпуса, исключая возможность перемещения узла 9 и, тем самым, запирая узел.
Операция экстрагирования, которая заключается в экстрагировании жидкого экстракта под воздействием горячей воды, находящейся под повышенным давлением, известна сама по себе и поэтому в рамках данной заявки не нуждается в каком-либо дополнительном пояснении.
На фигуре 6 показана операция повторного размыкания модуля и выталкивания использованной капсулы. Повторное размыкание модуля осуществляется посредством поднимания поршня 20 и впрыскивающего устройства 5 вверх в направлении F2. При этом узел 9 все еще продолжает удерживаться в своем запертом положении при помощи вышеописанного запорного механизма, тогда как при перемещении поршня вверх постепенно освобождается выталкивающий механизм 7 благодаря снижению напряжения, созданного в соответствующих его пластинах во время смыкания модуля. Затем происходит поворачивание рычага выталкивающего механизма вокруг оси шарнира 62, в результате чего капсула отсоединяется от опорной поверхности и наклоняется еще больше по отношению к вертикали со стороны выходного отверстия 16. После этого капсула под воздействием силы тяжести падает в контейнер для пустых капсул (не показан). Срабатывание выталкивающего механизма происходит согласованно с перемещением поршня вверх. В конце хода поршня узел 9 освобождается за счет соответствующего воздействия крюков 220, 221 поршня на шипы 98, 99, которые при этом отводят пальцы 93, 94 в сторону и разъединяют упорные поверхности между собой. В результате узел 9 под воздействием возвратных пружин 84, 85 снова занимает такое свое положение, в котором он обеспечивает надежное удерживание капсулы на своем месте и установку ее в нужном положении.
Настоящее изобретение относится к экстракционному модулю, который может устанавливаться в раздаточном устройстве для напитков или же в аппарате для приготовления напитков с использованием в этих целях заранее дозированной капсулы любого типа. Такое раздаточное устройство или аппарат могут содержать один или несколько предлагаемых модулей в зависимости от требуемой производительности. Модуль согласно настоящему изобретению позволяет быстрее и надежнее выполнять циклы загрузки в него капсулы, экстрагирования ее содержимого и выталкивания капсулы оттуда, чем это возможно при применении обычных аппаратов и устройств.
Формула изобретения
1. Экстракционный модуль (1), предназначенный для экстрагирования, осуществляемого под повышенным давлением, для приготовления напитка из содержимого капсулы (12), в которой находится вещество, подлежащее экстрагированию, и содержащий:
экстракционные средства, включающие в себя первый экстракционный компоновочный узел (10) и второй экстракционный компоновочный узел (11), который может перемещаться до смыкания его с первым компоновочным узлом, в результате чего в замкнутом положении образуется экстракционная камера (13), заключающая в себе капсулу, находящуюся там в плоскости смыкания (Р), а в разомкнутом положении обеспечивается получение достаточно большого пространства (14) между двумя компоновочными узлами для того, чтобы можно было вставить капсулу между двумя компоновочными узлами;
средство (9), предназначенное для удерживания капсулы и установки ее в нужном положении, выполненное с возможностью проталкиваться линейно в обратном направлении вторым подвижным компоновочным узлом (11), причем средство (9), предназначенное для удерживания капсулы и установки ее в нужном положении, устанавливается соосно подвижному экстракционному компоновочному узлу (11) с возможностью перемещения линейно вдоль этой оси как указанный компоновочный узел, средство (9), предназначенное для удерживания капсулы и установки ее в нужном положении устанавливается между двумя компоновочными узлами (10, 11), когда вставлена капсула, частично закрывая собой открывшееся пространство (14), при этом капсула удерживается между двумя компоновочными узлами даже в том случае, когда модуль находится в наклоненном положении;
отличающийся тем, что первый компоновочный узел представляет собой основание (6), а также тем, что средство (9), предназначенное для удерживания капсулы и установки ее в нужном положении, монтируется вокруг основания (6) первого компоновочного узла (10) так, что может проталкиваться в обратном направлении в положение для обеспечения смыкания двух компоновочных узлов (10, 11) вокруг капсулы, при этом средство, предназначенное для удерживания капсулы и установки ее в нужном положении, выполняется в виде единого узла, способного удерживать капсулу в центральном положении внутри открывшегося пространства вдоль нескольких осей в плоскости смыкания (Р).
2. Модуль по п.1, отличающийся тем, что средство (9), предназначенное для удерживания капсулы и установки ее в нужном положении, имеет открытую цилиндрическую часть (90), предназначенную для удерживания и центрирования капсулы (12), и кольцевую направляющую часть (91), смонтированную вокруг основания (6) экстракционного компоновочного узла (11).
3. Модуль по п.1, отличающийся тем, что предусматривается наличие соответствующих выталкивающих средств (7), предназначенных для выталкивания капсулы из модуля наружу.
4. Модуль по п.3, отличающийся тем, что выталкивающие средства (7), предназначенные для выталкивания капсулы из модуля наружу, приводятся в действие при размыкании модуля за счет линейного возвратного движения второго подвижного компоновочного узла (11) в момент разъединения его с первым экстракционным компоновочным узлом(10).
5. Модуль по п.3, отличающийся тем, что средство (9), предназначенное для удерживания капсулы и установки ее в нужном положении, выполнено с возможностью запираться в отведенном назад своем положении, когда экстракционные компоновочные узлы (10, 11) смыкаются друг с другом, и отпираться, продолжая оставаться в положении удерживания капсулы, только после того, как произойдет выталкивание капсулы наружу, осуществляемое с помощью выталкивающих средств (7).
6. Модуль по п.3, отличающийся тем, что отпирание средства (9), предназначенного для удерживания капсулы и установки ее в нужном положении, когда оно находится в отведенном назад своем положении, осуществляется непосредственно за счет линейного возвратного действия подвижного экстракционного компоновочного узла (11) в момент его разъединения с другим экстракционным компоновочным узлом модуля.
7. Модуль по п.6, отличающийся тем, что средство (9), предназначенное для удерживания капсулы и установки ее в нужном положении, отпирается в конце линейного возвратного хода второго экстракционного компоновочного узла (11).
8. Модуль по п.3, отличающийся тем, что выталкивающие средства (7) выполнены таким образом, чтобы обеспечивать выталкивание капсулы (12) из модуля наружу в ином направлении относительно того направления, в котором капсула вставляется внутрь модуля, предпочтительно в противоположном направлении.
9. Модуль по любому одному из пп.3-8, отличающийся тем, что выталкивающие средства (7) подвергаются упругому натяжению, когда происходит смыкание двух экстракционных компоновочных узлов (10, 11) друг с другом, и выходят из такого своего упруго напряженного состояния, осуществляя при этом выталкивание капсулы, когда эти два экстракционные компоновочные узла снова размыкаются.
10. Модуль по п.9, отличающийся тем, что выталкивающие средства (7) подвергаются упругому натяжению под воздействием на них, по меньшей мере, одного упругого натяжного элемента (92), представляющего собой часть средства, предназначенного для удерживания капсулы и установки ее в нужном положении.
11. Модуль по п.10, отличающийся тем, что выталкивающие средства (7) представляют собой рычаг (70), выполненный в виде кольца, шарнирно закрепленного на неподвижном экстракционном компоновочном узле, причем рычаг приводится в напряженное состояние под воздействием на него, по меньшей мере, одной плоской пружины (92), которой снабжается средство (9), предназначенное для удерживания капсулы и установки ее в нужном положении.
12. Модуль по п.1, отличающийся тем, что подвижный экстракционный компоновочный узел (11) снабжается соответствующим линейным средством поршневого типа (20, 30, 140, 150), которое может срабатывать при смыкании модуля под воздействием соответствующих гидравлических или электрических средств.
13. Модуль по п.1, отличающийся тем, что первый экстракционный компоновочный узел (10) выполняется неподвижным.
14. Модуль по п.13, отличающийся тем, что первый экстракционный компоновочный узел (10) имеет зону приема капсулы, снабженную соответствующими рельефными элементами, предназначенными для вскрытия капсулы.
15. Модуль по п.14, отличающийся тем, что второй подвижный компоновочный узел имеет дополнительную зону (5) приема капсулы и соответствующее средство (50, 51), обеспечивающее подачу воды в капсулу.
16. Модуль по п.15, отличающийся тем, что средство, обеспечивающее подачу воды, снабжено протыкающими элементами (50), предназначенными для вскрытия капсулы.
РИСУНКИ
|
|