|
|
(21), (22) Заявка: 2007105368/12, 12.02.2007
(24) Дата начала отсчета срока действия патента:
12.02.2007
(46) Опубликовано: 27.11.2008
(56) Список документов, цитированных в отчете о поиске:
КЛИМОВ В.В. Оборудование теплиц для подсобных и личных хозяйств. – М.: Энергоатомиздат, 1992. SU 1435211 A1, 07.11.1988. RU 2004142 C1, 15.12.1993. SU 1253527 A1, 30.08.1986. SU 735221 A1, 25.05.1980. RU 2030859 C1, 20.03.1995. RU 2129776 C1, 10.05.1999.
Адрес для переписки:
350004, г.Краснодар, а/я 5187, Р.Э. Палий
|
(72) Автор(ы):
Апанасов Леон Александрович (RU), Хомутов Игорь Васильевич (RU)
(73) Патентообладатель(и):
Открытое акционерное общество “Агрокомбинат “Тепличный” (RU)
|
(54) СПОСОБ ВЫРАЩИВАНИЯ РАСТЕНИЙ
(57) Реферат:
Способ выращивания растений включает высадку рассады в искусственный субстрат, размещенный на изолирующей пленке, и подачу питательного раствора к каждому растению системой капельного полива. При этом субстрат содержит два слоя нейтрализованного керамзита, размещенных в гибких мешочках, снабженных дренажными отверстиями. Нижний слой выполнен из частиц керамзита размером 5÷10 мм, верхний слой – из частиц керамзита размером 0,1÷5 мм, соотношение слоев по толщине 0,8÷1,2:1. Способ обеспечивает безопасность для здоровья человека, участвующего в его осуществлении, улучшение водно-воздушного режима корней выращиваемых растений, повышение урожайности. 7 з.п. ф-лы, 3 ил.
Заявляемое изобретение относится к сельскому хозяйству, в частности к выращиванию растений в защищенном грунте по малообъемной технологии с использованием минерального субстрата.
Среди способов выращивания растений известен, например, способ по а.с. СССР №1435211 на изобретение (МПК 4 A01G 31/00, 1988 [1]), при котором выращивают растения в субстрате, содержащем верхний и нижний слои, верхний слой, выполненный из материала с наименьшей влагоемкостью 11÷12 мас.%, а нижний – из материала с наименьшей влагоемкостью 18÷19 мас.%. Толщина верхнего слоя в междурядьях 1/10-1/3 общей толщины субстрата, а толщина этого слоя в рядах для растений 1/6-2/3 общей толщины субстрата при ширине 1/6-2/3 общей толщины.
Недостатком указанного способа является сложность выполнения слоев субстрата, обусловленная их формой. Кроме того, указанная нижняя граница влагоемкости слоев субстрата является недостаточно малой для применения указанного способа при изготовлении субстрата для применения в малообъемной технологии выращивания растений.
В настоящее время малообъемная технология выращивания растений широко используется. Сущность ее заключается в том, что растения выращиваются в малом объеме (5-15 л) субстрата, естественного или искусственного (В.В.Климов Оборудование теплиц для подсобных и личных хозяйств. М., Энергоатомиздат, 1992 г. [2]). Желание планировать урожай однозначно направляет выбор земледельца в сторону искусственного субстрата. При этом весь необходимый для питания растений комплекс элементов подается в виде раствора, а искусственный субстрат является химически и биологически инертным по отношению к выращиваемому растению и питательному раствору. Общеизвестно, что такой субстрат должен обладать хорошей влагоемкостью, то есть способностью накапливать и длительное время сохранять в себе влагу, и одновременно быть хорошо аэрируемым, то есть в нем должен содержаться воздух. Указанные два параметра, как правило, являются взаимозависимыми, причем при увеличении влагоемкости снижается способность к аэрации и наооборот.
Наибольшее распространение в настоящее время получил субстрат [2], выполненный из минеральной ваты, имеющей однородные свойства по всему объему. Среди способов выращивания растений на таком субстрате известен, например, по а.с. СССР №1253527 (МПК 4 A01G 31/00, 1986 г. [3]) способ, заключающийся в том, что рассаду высаживают в субстрат, размещенный в теплице на водонепроницаемой пленке, в который с перерывами подают питательный раствор с помощью системы капельного полива. Субстрат выполняют из минеральной ваты (минеральных волокон, склеенных в точках пересечения связующим веществом). Минеральные волокна имеют следующий состав, мас.%: SiO2 – 40,5; Al2O5 – 13,5; Fe2O3 – 6,5; CaO – 30,5; MgO – 6,0; K2О -2,5; Na2O – 0,5. Питательный раствор готовят с небольшим избытком кислых составляющих удобрений с рН 5,6÷6,2.
Такой способ выращивания растений имеет ряд недостатков. Открытое использование минеральной ваты в указанном способе подразумевает точное соблюдение жестких правил техники безопасности: общеизвестно, что микроскопическая пыль минеральной ваты является очень вредной для верхних дыхательных путей [4]. Это приводит к неудобству осуществления способа, в частности к необходимости использования персоналом масок и респираторов при работе с минеральной ватой в теплице. Кроме того, при выращивании растений на таком субстрате необходимо подавать питательный раствор таким образом, чтобы поддерживать влажность субстрата в заданном неустойчивом состоянии, когда верхняя часть субстрата на определенную глубину должна быть менее влажной, чем нижняя. Эта необходимость вызвана требованием обеспечения оптимального водно-воздушного режима корней выращиваемого растения, при котором для оптимального поглощения влаги и питательных элементов нижней частью корней верхняя их часть должна обеспечиваться большим количеством воздуха [1]. Еще одним проявлением использования минеральной ваты в указанном способе является щелочность субстрата, то есть субстрат является недостаточно инертным. Это необходимо учитывать при использовании субстрата для выращивания растений. В частности, приходится добавлять в состав питательного раствора кислые составляющие удобрений с тем, чтобы при нейтрализации этих компонентов катионами, выделяющимися из волокон минеральной ваты при гидролизе, образовывались соединения, усваивающиеся растениями.
Снижение опасности повреждения дыхательных путей человека при осуществлении способа выращивания растений на субстрате, содержащем минеральную вату, достигается в способе [2], заключающемся в том, что рассаду высаживают в субстрат, выполненный в форме минераловатных плит, размещенных в теплице на подстилающей пленке и накрытых сверху покровной светопроницаемой и светоотражающей пленкой. В покровной пленке выполнены необходимые отверстия и разрезы для обеспечения возможности посадки растений, их полива и дренажа. В субстрат при этом с перерывами подают питательный раствор с помощью системы капельного полива. Указанное выше снижение опасности для здоровья человека происходит за счет снижения площади открытой поверхности минеральной ваты на 90%. Однако это снижение опасности недостаточно и не является основанием для снижения требований техники безопасности при осуществлении способа. Непосредственно после того, как уложенные плиты минеральной ваты накрыты покровной пленкой, микроскопическая пыль за счет малой массы ее частиц еще длительное время присутствует в воздухе теплицы, представляя реальную угрозу здоровью персонала теплицы. Кроме того, указанному способу [2] в полной мере присущи другие недостатки ранее изложенного способа [3].
Указанный выше способ выращивания растений [2] является по совокупности существенных признаков наиболее близким техническим решением к заявляемому изобретению. Поэтому он принят в качестве прототипа заявляемого изобретения.
Технической задачей, на решение которой направлено заявляемое изобретение, является снижение опасности для здоровья человека, участвующего в осуществлении способа, улучшение водно-воздушного режима корней выращиваемых растений при одновременном сохранении урожайности субстрата.
Техническим результатом, обеспечиваемым заявляемым изобретением, является обеспечение безопасности заявляемого способа для здоровья человека, участвующего в его осуществлении, улучшение водно-воздушного режима корней выращиваемых растений, повышение урожайности.
Сущность изобретения состоит в том, что способ выращивания растений включает высадку рассады в искусственный субстрат, размещенный на изолирующей пленке, и подачу питательного раствора к каждому растению системой капельного полива. При этом субстрат содержит два слоя нейтрализованного керамзита, размещенные в гибких мешочках, снабженных дренажными отверстиями. Нижний слой выполнен из частиц керамзита размером 5÷10 мм, верхний слой – из частиц керамзита размером 0,1÷5 мм, соотношение слоев по толщине 0,8÷1,2:1.
Желательно два раза в неделю отбирать пробы субстрата и выполнять их анализ на содержание солей (ЕС) и измерение водородного показателя рН, а один раз в две недели выполнять отбор проб субстрата и питательного раствора, и выполнять их анализ на содержание микроэлементов (N, Р, К, Са, Mg, NHO3). По результатам измерений и анализов следует производить корректировку состава питательного раствора.
Предпочтительно корректировать количество подаваемого питательного раствора в зависимости от погодных условий, поглощения воды растениями и выхода дренажа. При этом в солнечный день питательный раствор допустимо подавать в количестве 3÷5 л/кв.м, в пасмурный – 1÷2 л/кв.м.
Целесообразно один раз в месяц промывать субстрат, для чего возможно во второй половине дня увеличивать количество питательного раствора на 200÷300 мл на одно растение, при одновременном снижении содержания в нем солей на 0,2 мСм/см.
Предпочтительно выполнять гибкие мешочки размерами 450×390×1 мм из полиэтилена, содержащими около 10 куб. дм керамзита при соотношение слоев керамзита по толщине 1:1, с точностью ±10%.
Рассадой может являться рассада овощной культуры: томат или огурец, при этом в одном мешочке выращивают два растения.
В период от высадки рассады огурца до получения первого урожая суточный дренаж целесообразно поддерживают на уровне 80÷60%.
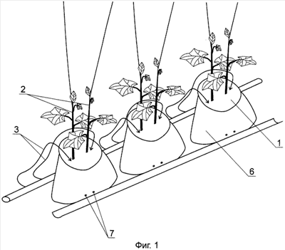
Сущность изобретения поясняется следующими графическими материалами.
На фиг.1 показана схема размещения растений в теплице при выращивании растений, на фиг.2 – вид сверху мешочка с субстратом, на фиг.3 – разрез А-А фиг.2 с указанием положения растения.
Заявляемый способ выращивания растений включает следующие действия. В приготовленный субстрат 1 с оборудованной системой капельного полива (не обозначено) высаживают рассаду растений (фиг.1). При этом к каждому растению 2 подходит одна капельница 3. Через систему капельного полива, содержащую капельницы 3, подают питательный раствор к каждому растению 2.
Субстрат 1 содержит два слоя (4, 5) нейтрализованного керамзита (фиг.3), размещенные в гибких мешочках 6, снабженных дренажными отверстиями 7. Нижний слой 4 выполнен из частиц керамзита размером 5÷10 мм, а верхний слой 5 – из частиц керамзита размером 0,1÷5 мм. Соотношение слоев по толщине 0,8÷1,2:1.
Наличие в субстрате двух указанных слоев (4, 5) создает необходимые условия для роста и жизнедеятельности корней 8 растений 2. Крупные частицы керамзита являются более пористыми, водоудерживающими и теплопроводными. Размещение таких частиц в нижнем слое 4 обеспечивает снабжение нижней части корней 8 достаточным количеством воды и питательных веществ. Верхний слой 5 заявляемого субстрата, выполненный из мелких частиц керамзита, выполняет двойную функцию. С одной стороны, этот слой 5 является теплоизолирующим по отношению к нижнему слою 4, а также слоем, снижающим испарение влаги из нижнего слоя 4. С другой стороны, в верхней части верхнего слоя 5 за счет меньшей влагоемкости содержится достаточно воздуха для обеспечения верхней части корней 8 растений 2.
Для целей применения в области малообъемного выращивания растений применяют мешочки 6, позволяющие вместить в каждый из них от 5 до 15 куб.дм субстрата, оптимально 10 куб. дм [2]. Для этого мешочек 6 выполняют размерами от 400×350 мм до 500×430 мм.
Питательный раствор составляют на основе стандартного питательного раствора для конкретной культуры, скорректированного по стадиям роста.
Так как объем корнеобитаемой среды ограничен, то два раза в неделю отбирают пробы субстрата 1 и выполняют их анализ на содержание солей (ЕС) и измерение водородного показателя рН. Один раз в две недели выполняют отбор проб субстрата 1 и питательного раствора и выполняют их анализ на содержание микроэлементов (N, Р, К, Са, Mg, NHO3). По результатам измерений и анализов производят корректировку состава питательного раствора.
Количество и состав подаваемого питательного раствора изменяют в зависимости от погодных условий, поглощения воды растениями и выхода дренажа. В солнечный день питательный раствор подают в количестве 3÷5 л/кв.м, в пасмурный – 1÷2 л/кв.м. При увеличенном поглощении воды растениями снижают ЕС подаваемого питательного и увеличивают его количество независимо от выхода дренажа.
При выращивании растений 2 в субстрате 1 происходит накопление солей, продуктов микробиологического распада корневых остатков, жизнедеятельности микроорганизмов и разрушения керамзита. Поэтому требуется периодическая, один раз в месяц промывка субстрата 1. Для этого во втором периоде поливов в день проведения промывки увеличивают объем подаваемого питательного раствора на 200÷300 мл на каждую капельницу 3. Точное значение дополнительного объема питательного раствора определяют в зависимости от погодных условий (снижают объем в пасмурную погоду), количества накопленных в субстрате 1 солей (увеличивают объем при большом содержании накопленных солей в субстрате) и выхода дренажа. При этом ЕС питательного раствора снижают на 0,2 мСм/см. Особенно важно выполнять промывку в начальный период развития растений.
Примеры осуществления способа.
Пример 1
Используют мешочки из полиэтилена размерами 450×390×1 мм. Общий объем керамзита, засыпаемого в каждый мешочек, составляет около 10 куб.дм. Соотношение слоев керамзита по толщине 1:1, с точностью ±10%. При выращивании томатов или огурцов в субстрате, приготовленном по заявляемому способу и имеющему объем около 10 куб.дм, один мешочек используют для выращивания двух растений.
Пример 2
Для применения заявляемого способа при выращивании культуры огурец используют следующий состав стандартного питательного раствора (ЕС 2,2 мСм/см):
| в ммоль/л |
в мкмоль/л |
| NH4 + |
К+ |
Са2+ |
Mg2+ |
NO3 – |
SO4 – |
Н2РО4 – |
Fe |
Mn |
Zn |
В |
Cu |
Мо |
| 1,25 |
8,0 |
4,0 |
1,375 |
16,0 |
1,375 |
1,25 |
15 |
10 |
5 |
25 |
0,75 |
0,5 |
Корректировки стандартного питательного раствора производят по следующим стадиям роста:
– стартовая схема (до 2-х недель);
– стандартная схема;
– обильное плодоношение.
При выращивании культуры огурец заявляемым способом в корнеобитаемой зоне поддерживают ЕС (солей) 2,5÷3,5 мСм/см, рН 5,5÷6,5.
Пример 3
Для применения заявляемого способа при выращивании культуры томат используют следующий состав стандартного питательного раствора (ЕС 2,6 мСм/см):
| в ммоль/л |
в мкмоль/л |
| NH4 + |
К+ |
Са2+ |
Mg2+ |
NO3 – |
SO4 – |
Н2РО4 – |
Fe |
Mn |
Zn |
В |
Cu |
Мо |
| 1,2 |
9,5 |
5,4 |
2,4 |
16,0 |
4,4 |
1,5 |
15 |
10 |
5 |
30 |
0,75 |
0,5 |
Корректировки стандартного питательного раствора производят по следующим стадиям роста:
– стартовая схема до цветения первой кисти;
– схема до цветения третьей кисти;
– стандартная схема от первой до третьей кисти;
– схема цветения от третьей до пятой кисти;
– схема цветения от пятой до десятой кисти;
– стандартная схема от цветения двенадцатой кисти (период плодоношения).
При выращивании культуры томат заявляемым способом в корнеобитаемой зоне поддерживают ЕС (солей) 3,5÷5,3 мСм/см, рН 5,5÷6,5.
Заявляемый способ выращивания растений разработан в ЗАО «Агрокомбинат «Тепличный». Апробация способа на территории ЗАО «Агрокомбинат «Тепличный» показала увеличение урожайности при выращивании овощей заявляемым способом по сравнению с выращиванием овощей на субстрате, выполненном на основе минеральной ваты [2]: для огурцов – на 8%, для томатов – на 10%. При этом ввиду того, что примененный субстрат является инертным по отношению к питательному раствору, отличием заявляемого способа от упомянутого в этом абзаце аналога явиляется отсутствие необходимости корректировки питательного раствора в расчете на его реакцию с субстратом. Ввиду того, что субстрат, применяемый в заявляемом способе, способен удерживать около 30% объема подаваемой воды, то при осуществлении заявляемого способа суточный дренаж поддерживают выше, чем в способе-аналоге. Ориентировочное численное значение дренажа для огурцов 80÷60%. Указанное повышенное поддержание дренажа выполняют в течение 4÷6 недель от высадки рассады до полного развития растений и получения первого урожая.
Диапазон значений размеров частиц керамзита для каждого из слоев субстрата обусловлен несферичностью этих частиц. Указанный диапазон определяется общепринятой технологией изготовления керамзита, предусматривающей производство керамзита стандартных фракций: 0,1÷5 мм, 5÷10 мм, 10÷20 мм, 20÷40 мм (ГОСТ 9757-90 Гравий, щебень и песок искусственные пористые. Технические требования [5]). Диапазон соотношений толщины слоев заявляемого субстрата, а также положения и диаметра дренажных отверстий в мешочках обусловлен практической погрешностью приготовления субстрата в тепличном хозяйстве. Такая точность изготовления слоев субстрата и выполнения дренажных отверстий соблюдалась и во время апробации заявляемого способа на территории ЗАО «Агрокомбинат «Тепличный».
Таким образом, из вышеизложенного следует, что в заявляемом изобретении заявляемый технический результат: обеспечение безопасности заявляемого способа для здоровья человека, участвующего в его осуществлении, улучшение водно-воздушного режима корней выращиваемых растений, повышение урожайности достигается за счет того, что способ выращивания растений включает высадку рассады в искусственный субстрат, размещенный на изолирующей пленке, и подачу питательного раствора к каждому растению системой капельного полива. При этом субстрат содержит два слоя нейтрализованного керамзита, размещенные в гибких мешочках, снабженных дренажными отверстиями. Нижний слой выполнен из частиц керамзита размером 5÷10 мм, верхний слой – из частиц керамзита размером 0,1÷5 мм, соотношение слоев по толщине 0,8÷1,2:1. Достижение технического результата, в частности, обеспечивается следующими свойствами керамзита: легкость и высокая прочность, огнеупорность, влаго- и морозоустойчивость, кислотоустойчивость, химическая инертность, долговечность, экологическая чистота натурального материала (Онацкий С.П. Производство керамзита, М., 1971 [6]).
Заявляемый способ выращивания растений использует промышленно выпускаемые материалы, может быть осуществлен в любом тепличном хозяйстве и найдет широкое применение в сельском хозяйстве.
ИСТОЧНИКИ ИНФОРМАЦИИ
1. Авторское свидетельство СССР №1435211 на изобретение, МПК 4 A01G 31/00, 1988.
2. В.В.Климов «Оборудование теплиц для подсобных и личных хозяйств». М., Энергоатомиздат, 1992 г.
3. Авторское свидетельство СССР №1253527 на изобретение, МПК 4 A01G 31/00, 1986.
4. Международное Агентство по Исследованиям Рака (ВОЗ). Искусственные волокна. Монография по оценке канцерогенного риска химических веществ для человека. (International Agency for Research on Cancer (IARC) 1988. Man-Made Mineral Fibers: In IARC Monographs on the Evaluation of the Carcinogenic Risk of Chemicals to Man, 43: 39-171, Lyon, France, WHO).
5. ГОСТ 9757-90 Гравий, щебень и песок искусственные пористые. Технические требования.
6. Онацкий С.П. Производство керамзита, М., 1971.
Формула изобретения
1. Способ выращивания растений, включающий высадку рассады в искусственный субстрат, размещенный на изолирующей пленке, и подачу питательного раствора к каждому растению системой капельного полива, отличающийся тем, что субстрат содержит два слоя нейтрализованного керамзита, размещенные в гибких мешочках, снабженных дренажными отверстиями, нижний слой выполнен из частиц керамзита размером 5÷10 мм, верхний слой – из частиц керамзита размером 0,1÷5 мм, соотношение слоев по толщине 0,8÷1,2:1.
2. Способ по п.1, отличающийся тем, что два раза в неделю отбирают пробы субстрата и выполняют их анализ на содержание солей (ЕС) и измерение водородного показателя pH, один раз в две недели выполняют отбор проб субстрата и питательного раствора, и выполняют их анализ на содержание микроэлементов (N, Р, К, Са, Mg, NHO3), по результатам измерений и анализов производят корректировку состава питательного раствора.
3. Способ по п.1, отличающийся тем, что количество подаваемого питательного раствора корректируют в зависимости от погодных условий, поглощения воды растениями и выхода дренажа, при этом в солнечный день питательный раствор подают в количестве 3÷5 л/м2, в пасмурный – 1÷2 л/м2.
4. Способ по п.1, отличающийся тем, что один раз в месяц промывают субстрат, для чего во второй половине дня увеличивают количество питательного раствора на 200÷300 мл на одно растение, при одновременном снижении содержания в нем солей на 0,2 мСм/см.
5. Способ по любому из пп.1-4, отличающийся тем, что гибкие мешочки выполнены размерами 450×390×1 мм из полиэтилена, при этом общий объем керамзита в каждом мешочке около 10 дм3, а соотношение слоев керамзита по толщине 1:1, с точностью ±10%.
6. Способ по п.5, отличающийся тем, что рассадой является рассада овощной культуры томат, при этом в одном мешочке выращивают два растения.
7. Способ по п.5, отличающийся тем, что рассадой является рассада овощной культуры огурец, при этом в одном мешочке выращивают два растения.
8. Способ по п.7, отличающийся тем, что в период от высадки рассады до получения первого урожая суточный дренаж поддерживают на уровне 80÷60%.
РИСУНКИ
|
|