|
|
(21), (22) Заявка: 2007126080/09, 10.07.2007
(24) Дата начала отсчета срока действия патента:
10.07.2007
(46) Опубликовано: 20.11.2008
(56) Список документов, цитированных в отчете о поиске:
US 2004195676 A1, 07.10.2004. US 2007047952 A1, 01.03.2007. RU 2004100848 A1, 20.05.2006. RU 2149526 C1, 20.05.2000. RU 2243617 C2, 27.12.2004. JP 60-177772 A1, 11.09.1985. JP 2006-295855 A1, 26.10.2006.
Адрес для переписки:
107061, Москва, Преображенская пл., 6, ООО Фирма патентных поверенных “ИННОТЭК”, пат. пов. О.Д. Запаре, рег. № 735
|
(72) Автор(ы):
Вето Александр Владимирович (RU), Дмитриев Владимир Павлович (RU), Скакун Александр Владиславович (RU)
(73) Патентообладатель(и):
Общество с ограниченной ответственностью “Специальная Телевизионная Техника” (RU)
|
(54) МОДУЛЬ ВИДЕОКАМЕРЫ И ПЕЧАТНАЯ ПЛАТА, ИСПОЛЬЗУЕМАЯ В НЕМ
(57) Реферат:
Изобретение относится к области радиотехники и может быть использовано в системах наблюдения и во время продолжительной видеосъемки. Техническим результатом является создание модуля видеокамеры, в котором теплота, выделяемая электрорадиоизделиями печатной платы при работе, не влияет на повышение температуры внутри полости корпуса. Модуль видеокамеры содержит расположенную в корпусе видеокамеру, состоящую из формирователя изображения, контактирующего с распорной деталью и соединенного с печатной платой, корпус выполнен из двух частей, в одной из которых образовано сквозное отверстие, термоэлектрическое устройство охлаждения, холодная и горячая поверхности которого взаимодействуют соответственно с распорной деталью и теплопроводной пластиной, вентилятор, между открытыми торцами частей корпуса размещена печатная плата, с выходом за внешнюю поверхность корпуса, а теплопроводная пластина расположена на внешней поверхности корпуса, при этом термоэлектрическое устройство охлаждения размещено в сквозном отверстии. 2 н. и 14 з.п. ф-лы, 4 ил.
Заявленное изобретение относится к элементам телевизионных систем и может быть использовано в системах наблюдения, а также во время продолжительной видеосъемки.
Известен выбранный в качестве ближайшего аналога теплозащитный корпус ПЗС-камеры (видеокамеры), содержащий видеокамеру, состоящую из формирователя изображения, соединенного с печатной платой, и расположенную в корпусе, выполненном из двух частей, в одной из которых выполнено сквозное отверстие, на поверхности параллельной принимающей изображение поверхности формирователя изображения, площадь поперечного сечения которого больше чем площадь принимающей изображение поверхности формирователя изображения; термоэлектрическое устройство охлаждения, имеющее холодную и горячую поверхности; распорную деталь, взаимодействующую с холодной поверхностью термоэлектрического устройства охлаждения и формирователем изображения; теплопроводную пластину, взаимодействующую с горячей поверхностью термоэлектрического устройства охлаждения; на поверхности второй части корпуса, взаимодействующей с теплопроводной пластиной, выполнено сквозное отверстие, являющееся теплоотводом, при этом на поверхности второй части корпуса размещен вентилятор для удаления нагретого воздуха из теплоотвода (заявка на патент США на изобретение №20040195676, кл. МПК H04N 5/225, опубл. 07.10.2004).
Основным недостатком данного устройства является то, что теплота, выделяемая элементами электрической цепи печатной платы во время работы, приводит к повышению температуры внутри охлаждаемой части корпуса видеокамеры, что, в свою очередь, создает неблагоприятные условия работы формирователя изображения. К менее значительным недостаткам данного устройства можно отнести небольшую поверхность теплообмена, которой является только поверхность теплопроводной пластины, и хрупкость эпоксидной смолы, из которой выполнена вторая часть корпуса. Небольшая поверхность теплообмена снижает скорость охлаждения внутренней полости устройства. Хрупкость эпоксидной смолы может привести к образованию трещин в тепловом барьере, через которые теплый воздух окружающей среды может проникать во внутреннюю полость корпуса, тем самым повышая в нем температуру и создавая опасность осаждения капель влаги на охлаждаемых элементах, что, как уже было сказано, создает неблагоприятные условия работы формирователя изображения. Все вышеперечисленные недостатки можно отнести к факторам дополнительного повышения температуры.
Техническим результатом, полученным в заявленном изобретении, является создание модуля видеокамеры, в котором устранены факторы дополнительного повышения температуры. Главным образом, создание корпуса видеокамеры, в котором теплота, выделяемая электрорадиоизделиями печатной платой при работе, не влияет на повышение температуры внутри полости корпуса, в которой расположен формирователь изображения.
Технический результат достигается тем, что в модуле видеокамеры, содержащем расположенную в корпусе видеокамеру, состоящую из формирователя изображения, контактирующего с распорной деталью и соединенного с печатной платой, при этом корпус выполнен из двух частей, в одной из которых образовано сквозное отверстие, термоэлектрическое устройство охлаждения, холодная и горячая поверхности которого взаимодействуют соответственно с распорной деталью и теплопроводной пластиной, вентилятор, при этом между открытыми торцами частей корпуса размещена печатная плата, с выходом за внешнюю поверхность корпуса, а теплопроводная пластина расположена на внешней поверхности корпуса, при этом термоэлектрическое устройство охлаждения размещено в сквозном отверстии.
А также тем, что каждая из частей корпуса имеет коробчатую форму.
А также тем, что каждая из частей корпуса имеет форму полого цилиндрического стакана.
А также тем, что каждая из частей корпуса снабжена фланцем, опорные поверхности которых перекрывают поверхность печатной платы.
А также тем, что к боковым поверхностям фланцев присоединен кожух, образующий полость между частью внешней поверхности корпуса и фланцами.
А также тем, что фланцы обеих частей корпуса соединены между собой при помощи резьбовых соединений.
А также тем, что теплопроводная пластина снабжена набором параллельных между собой пластин, расположенных в плоскостях, перпендикулярных поверхности теплопроводной пластины, а на их открытых торцах установлен вентилятор.
А также тем, что на поверхностях открытых торцов частей корпуса выполнены кольцевые канавки, в которых установлены уплотнительные кольца, взаимодействующие с поверхностями печатной платой.
А также тем, что на внешней поверхности одной из частей корпуса размещен взаимодействующий с внутренней полостью корпуса патрубок с крышкой.
Известна двухсторонняя гибкая двухслойная монтажная печатная плата с выполненным на ее поверхности сквозным окном, размещенными на одной из поверхностей вдоль периметра сквозного окна контактными площадками и размещенными на поверхностях печатной платы элементы электрической цепи (заявка на патент США на изобретение №20040195676, кл. МПК H04N 5/225, опубл. 07.10.2004).
К недостаткам данной печатной платы относится отсутствие элементов охлаждения и наличие на поверхностях печатной платы элементов электрической цепи, которые во время работы выделяют теплоту, способствующую повышению температуры внутри корпуса видеокамеры, что, в свою очередь, создает неблагоприятные условия работы формирователя изображения. Кроме того, размещение на поверхностях печатной платы проводников создает благоприятные условия для теплообмена между внутренней полостью корпуса видеокамеры и окружающей средой.
Известна наиболее близкая по технической сущности к заявляемому изобретению двухсторонняя гибкая двухслойная монтажная печатная плата, содержащая диэлектрическую пластину с выполненным в ней сквозным окном, термоизоляционные элементы, контактные площадки, электрорадиоизделия (в том числе навесные и пассивные элементы электрической цепи), токопроводящие элементы, выполненные на поверхностях диэлектрической пластины и сообщенные между собой токопроводящими элементами, расположенными в направлении, перпендикулярном поверхностям первой диэлектрической пластины (заявка на патент США на изобретение №20070047952, кл. МПК G03B 17/00, H04N 5/225, опубл. 01.03.2007).
Основным недостатком данной печатной платы является то, что на ее поверхностях размещены электрорадиоизделия типа резистора, диода, транзистора и т.п., которые во время работы видеокамеры выделяют теплоту, что, как было уже сказано, приводит к повышению температуры внутри корпуса видеокамеры. При этом создаются неблагоприятные условия для работы формирователя изображения. Кроме того, выполнение печатной платы двухслойной создает благоприятные условия для теплообмена между внутренней полостью корпуса видеокамеры и окружающей средой через проводники, размещенные на поверхностях печатной платы.
Техническим результатом изобретения в части печатной платы является создание печатной платы, используемой в корпусе видеокамеры, которая при работе не будет выделять теплоту во внутреннюю полость корпуса видеокамеры, т.е. такой печатной платы, в которой устранены факторы дополнительного повышения температуры внутри корпуса модуля видеокамеры.
Технический результат достигается тем, что в печатной плате, содержащей диэлектрическую пластину с выполненным в ней сквозным окном, термоизоляционные элементы, контактные площадки, электрорадиоизделия и токопроводящие элементы, которые выполнены на поверхностях диэлектрической пластины и сообщены между собой токопроводящими элементами, расположенными в направлении перпендикулярном поверхностям диэлектрической пластины, которая снабжена дополнительными диэлектрическими пластинами, размещенными на поверхностях диэлектрической пластины, с выполненными в них сквозными окнами, совмещенными и образующими общее сквозное окно со сквозным окном диэлектрической пластины, а термоизоляционные элементы выполнены в виде узких сквозных окон, расположенных вокруг периметра общего сквозного окна, при этом контактные площадки размещены между периметром общего сквозного окна и термоизоляционными элементами на внешней поверхности одной из дополнительных диэлектрических пластин и соединены с токопроводящими элементами, расположенными на той же поверхности дополнительной диэлектрической пластины, а токопроводящие элементы расположены на поверхностях всех диэлектрических пластин и сообщены между собой токопроводящими элементами, расположенными в направлении, перпендикулярном поверхностям диэлектрических пластин, при этом электрорадиоизделия расположены по периметру внешних поверхностей дополнительных диэлектрических пластин и соединены с токопроводящими элементами, расположенными на поверхностях дополнительных диэлектрических пластин, кроме того, на каждой из внешних поверхностей дополнительных диэлектрических пластин предусмотрена кольцевая зона, свободная от токопроводящих элементов.
А также тем, что в ней диэлектрические пластины имеют прямоугольную форму.
А также тем, что в ней диэлектрические пластины имеют круглую форму.
А также тем, что в ней диэлектрические пластины имеют квадратную форму.
А также тем, что в ней электрорадиоизделия расположены вдоль сторон с меньшей длинной на внешних поверхностях дополнительных диэлектрических пластин.
А также тем, что в ней электрорадиоизделия расположены вдоль сторон с большей длинной на внешних поверхностях дополнительных диэлектрических пластин.
А также тем, что в ней каждая кольцевая зона, свободная от токопроводящих элементов, расположена вокруг всех узких сквозных окон.
Заявленное изобретение поясняется при помощи чертежей, представленных на фигурах 1, 2, 3 и 4.
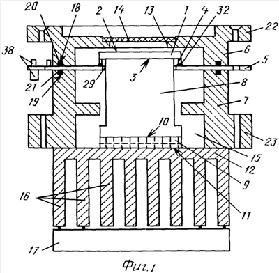
На фиг.1 представлен продольный разрез модуля видеокамеры;
фиг.2 является видом сверху печатной платы прямоугольной формы;
фиг.3 является видом сверху печатной платы круглой формы;
на фиг.4 представлен разрез печатной платы по линии А-А на фиг.2.
На фиг.1, 2 приняты следующие обозначения:
– формирователь изображения 1;
– принимающая изображение поверхность 2 формирователя изображения 1;
– экранирующая поверхность 3 формирователя изображения 1;
– выступающие из формирователя изображения 1 проводники 4;
– печатная плата 5;
– часть 6 корпуса;
– часть 7 корпуса;
– распорная деталь 8;
– термоэлектрическое устройство 9 охлаждения;
– холодная, при работе, поверхность 10 термоэлектрического устройства 9 охлаждения;
– горячая, при работе, поверхность 11 термоэлектрического устройства 9 охлаждения;
– теплопроводная пластина 12;
– сквозное отверстие 13 части 6 корпуса;
– пластина 14;
– сквозное отверстие 15 части 7 корпуса;
– пластина 16;
– вентилятор 17;
– кольцевая канавка 18 части 6 корпуса;
– кольцевая канавка 19 части 7 корпуса;
– уплотнительное кольцо или герметизирующий состав 20, заполняющий кольцевую канавку 18;
– уплотнительное кольцо или герметизирующий состав 21, заполняющий кольцевую канавку 19;
– фланец 22 части 6 корпуса;
– фланец 23 части 7 корпуса;
– диэлектрическая пластина 24;
– дополнительная диэлектрическая пластина 25;
– внешняя поверхность 26 дополнительной диэлектрической пластины 25, являющаяся так же внешней поверхностью печатной платы 5;
– сквозное окно 27 диэлектрической пластины 24;
– сквозное окно 28 дополнительной диэлектрической пластины 24;
– общее сквозное окно 29 или сквозное окно печатной платы 5;
– поверхности 30 диэлектрической пластины 24;
– токопроводящие элементы 31, расположенные на поверхностях 30 диэлектрической пластины 24;
– контактные площадки 32 печатной платы 5;
– токопроводящие элементы 33, расположенные в направлении, перпендикулярном поверхностям 30 диэлектрической пластины 24;
– узкие сквозные окна 34;
– токопроводящие элементы 35, расположенные в направлении, перпендикулярном поверхностям 26 и 32 дополнительных диэлектрической пластины 25;
– перемычки 36, разделяющие узкие сквозные окна 34 между собой;
– токопроводящие элементы 37, расположенные на поверхностях 26 дополнительных диэлектрических пластин 25;
– электрорадиоизделия 38 (ЭРИ);
– кольцевые зоны 39, свободные от токопроводящих элементов 37 и ЭРИ 38.
Модуль видеокамеры содержит видеокамеру, состоящую из формирователя изображения 1, соединенного с печатной платой 5, и расположенную в корпусе. Формирователь изображения 1 снабжен выступающими из него проводниками 4, которые соединены с контактными площадками 32, расположенными на одной из внешних поверхностей 26 печатной платы 5. В печатной плате 5 выполнено сквозное окно 29, расположенное напротив формирователя изображения 1 с перекрытием большей его поверхности. Формирователь изображения 1 может быть выполнен в виде сенсорного чипа или сенсорного датчика, или любого другого датчика изображения, имеющего поверхность, принимающую изображение 2, и экранирующую поверхность 3. Экранирующая поверхность 3 формирователя изображения 1 контактирует с распорной деталью 8, выполненной в виде кубической или цилиндрической детали из материала с высоким коэффициентом теплопроводности (например, из меди), расположенной в сквозном окне 29 печатной платы 5 и имеющей толщину большую, чем толщина диэлектрических пластин печатной платы 5.
Для эффективного охлаждения формирователя изображения 1 во внутренней полости корпуса размещено термоэлектрическое устройство 9 охлаждения, например устройство, которое представляет собой полупроводниковый прибор, преобразующий электрическую энергию в тепловую на основе эффекта Пельтье, устройство, имеющее холодную 10 при работе поверхность, взаимодействующую с распорной деталью 8, и горячую при работе поверхность 11. Термоэлектрическое устройство 9 охлаждения соединено с источником электрического питания (на чертежах не показан) при помощи соединительных проводов, проходящих сквозь отверстие (на чертеже не показано) в части корпуса, в котором размещено термоэлектрическое устройство 9 охлаждения. Отверстие через которое проходят соединительные провода заполнено герметизирующим составом.
Корпус выполнен из двух частей 6 и 7 коробчатой формы или полых цилиндрических стаканов. В части 6 корпуса выполнено сквозное отверстие 13, на поверхности (например, на днище), параллельной принимающей изображение поверхности 2 формирователя изображения 1, площадь поперечного сечения которого больше, чем площадь принимающей изображение поверхности 2 формирователя изображения 1. Формирователь изображения 1 принимающей изображение поверхностью 2 обращен в сторону сквозного отверстия 13, выполненного в части 6 корпуса. Это сквозное отверстие 13 выполнено для того, чтобы создавать возможность обзора для формирователя изображения 1. В сквозном отверстии 13 на крепящем составе установлена пластина 14, герметично закрывающая сквозное отверстие 13, которая выполнена из оптически проницаемого материала с коэффициентом светопропускания не менее 0,85, например стекла или прозрачной пластмассы. В другой части 7 корпуса, на поверхности, параллельной поверхности с отверстием 13, в котором установлена пластина 14 из оптически проницаемого материала, также выполнено сквозное отверстие 15, в котором размещено термоэлектрическое устройство 9 охлаждения своей горячей, во время работы, поверхностью 11, контактирует с теплопроводной пластиной 12, установленной на внешней поверхности (например, на днище) этой части 7 корпуса и герметично перекрывающей сквозное отверстие 15 в этой части корпуса.
Для увеличения поверхности теплообмена теплопроводная пластина 12 снабжена набором пластин 16, параллельных между собой и расположенных в плоскостях, перпендикулярных поверхности теплопроводной пластины 12. Набор пластин 16, параллельных между собой, размещен на поверхности теплопроводной пластины 12, противоположной поверхности, которой она взаимодействует с внешней поверхностью одной из частей 7 корпуса и горячей поверхностью 11 термоэлектрического устройства 9 охлаждения. При этом теплопроводная пластина 12 и набор пластин 16, параллельных между собой, могут быть выполнены как единое целое, например, литьем. На открытых торцах пластин 16, противоположных торцам, взаимодействующим с теплопроводной пластиной 12, установлен вентилятор 17, который во время работы ускоряет процесс теплообмена между поверхностями пластин 12 и 16 и окружающей средой.
Между открытыми торцами частей 6 и 7 корпуса, противоположными поверхностям частей 6 и 7 корпуса, в которых выполнены отверстия 13 и 15, размещена печатная плата 5, с выходом ее за внешнюю поверхность корпуса. На поверхностях открытых торцов частей 6 и 7 корпуса выполнены кольцевые канавки 18 и 19, которые заполнены герметизирующим составом или в которых установлены уплотнительные кольца 20 и 21, взаимодействующие с внешними противоположными поверхностями 26 печатной платы 5 и одновременно герметизирующие внутреннюю полость корпуса.
Печатная плата 5 содержит диэлектрическую пластину 24, с выполненным в ней сквозным окном 27 и токопроводящими элементами 31, выполненными на обеих ее поверхностях 30 и сообщенными между собой токопроводящими элементами 33, расположенными в направлении, перпендикулярном поверхностям 30 диэлектрической пластины 24. На поверхностях 30 диэлектрической пластины 24 размещены дополнительные диэлектрические пластины 25, образующие вместе с диэлектрической пластиной 24 диэлектрическую часть многослойной печатной платы 5, с выполненными в них сквозными окнами 28, совмещенными и образующими со сквозным окном 27 диэлектрической пластины 24 общее сквозное окно 29.
Все диэлектрические пластины 24 и 25 имеют форму прямоугольников или квадратов, при этом все диэлектрические пластины 24 и 25 имеют одинаковые по длине стороны. Кроме того, все диэлектрические пластины 24 и 25 могут иметь круглую форму с равными радиусами. Поверхности 30, 32 диэлектрических пластин 24, 25, контактирующие между собой, не имеют открытых участков. Диэлектрические пластины 24 и 25 прямоугольной или квадратной формы используются совместно с частями корпуса 6 и 7, которые имеют коробчатую форму, а диэлектрические пластины 24 и 25 круглой формы используются совместно с частями корпуса 6 и 7, которые выполнены в виде полых цилиндрических стаканов.
Печатная плата 5 снабжена термоизоляционными элементами, выполненными в виде узких сквозных окон 34, расположенных вокруг периметра общего сквозного окна 29. Узкие сквозные окна 34 образуют фигуру подобную фигуре, в виде которой выполнено сквозное окно 29. Узкие сквозные окна 34 разделены между собой перемычками 36, образованными в диэлектрических пластинах 24 и 25.
На внешней поверхности одной из диэлектрических пластин 25, между периметром общего сквозного окна 29 и узкими сквозными окнами 34 расположены контактные площадки 32, соединенные с проводниками 4 формирователя изображения 1. Контактные площадки 32 соединены с расположенными на той же внешней поверхности 26 дополнительной диэлектрической пластины 25 токопроводящими элементами 37. Кроме того, контактные площадки 32 соединены с токопроводящими элементами диэлектрической пластины 24 посредством токопроводящих элементов 35, расположенных в направлении, перпендикулярном поверхностям 26 и 32 дополнительных диэлектрических пластин 25.
Электрорадиоизделия 38 (ЭРИ) расположены вдоль или вокруг внешних боковых поверхностей частей корпуса 6 и 7. В частности, ЭРИ 38 могут быть расположены по периметру внешних поверхностей 26 дополнительных диэлектрических пластин 25 как прямоугольной, так и квадратной или круглой формы, или вдоль сторон с меньшей длиной, или вдоль сторон с большей длиной.
В местах контакта обеих внешних поверхностей 26 дополнительных диэлектрических пластин 25 с уплотнительными кольцами 20 и 21 или открытыми торцами частей 6 и 7 корпуса, на обеих внешних противоположных поверхностях 26 дополнительных диэлектрических пластин 25 предусмотрены кольцевые зоны 39, свободные от токопроводящих элементов 37 и ЭРИ 38. Кольцевые зоны 39 перекрывают поверхности открытых торцов частей 6 и 7 корпуса. В этих кольцевых зонах 39 отсутствуют токопроводящие элементы 37 и ЭРИ 38. Причем каждая кольцевая зона 39 расположена вокруг всех узких сквозных окон 34 (окружает их по замкнутому контуру). В данных кольцевых зонах 39 токопроводящие элементы 31 расположены во внутренних слоях печатной платы 5, т.е. только на поверхностях 30 диэлектрической пластины 24.
Каждая из частей 6 и 7 корпуса снабжена фланцами 22 и 23 соответственно, опорные поверхности которых перекрывают поверхность печатной платы 5. Фланцы 22 и 23 расположены на внешних поверхностях боковых стенок частей 6 и 7 корпуса, а их опорные поверхности параллельны поверхностям днищ. Опорные поверхности фланцев 22 и 23 могут иметь круглую, квадратную или прямоугольную форму. Фланцы 22 и 23 обеих частей корпуса соединены между собой при помощи резьбовых соединений (на чертежах не показаны). При этом отверстия во фланцах могут быть выполнены гладкими, и в них будут располагаться болты с установленными на их концах гайками, головки болтов и опорные поверхности гаек будут располагаться на опорных поверхностях фланцев 22 и 23. Также фланцы 22 и 23 могут быть снабжены резьбовыми отверстиями, в этом случае фланцы 22 и 23 будут соединены шпильками. К боковым поверхностям фланцев 22 и 23 присоединен кожух (на чертежах не показан), выполненный, например, в виде обечайки, образующий полость между частью внешней поверхности корпуса и фланцами 22 и 23. В образованной полости заключены выступающие за пределы корпуса части печатной платы 5.
На внешней поверхности одной любой из частей 6 или 7 корпуса размещен взаимодействующий с внутренней полостью корпуса патрубок с крышкой. Через патрубок откачивают воздух из внутренней полости корпуса для создания вакуума. На внешней поверхности открытого конца патрубка и на внутренней поверхности крышки выполнена резьба. На открытом конце патрубка установлена (навинчена) крышка.
Заявленное изобретение реализуется следующим образом.
Перед началом работы видеокамеры из внутренней полости корпуса через патрубок откачивают воздух. После того как давление внутри корпуса достигнет требуемой величины, на открытый конец патрубка устанавливается (навинчивается) крышка. Для определения величины давления (вакуума) во внутренней полости корпуса на одной из частей 6 или 7 корпуса может быть выполнен дополнительный патрубок (на чертежах не показан), сообщенный с внутренней полостью корпуса, к которому подсоединяется измеритель давления. Вакуум, образованный во внутренней полости корпуса модуля видеокамеры, препятствует распространению теплоты от нагретых частей 6 и 7 корпуса и печатной платы 5 к формирователю изображения 1.
Видеокамера начинает работать совместно с термоэлектрическим устройством 9 охлаждения, которое состоит из определенного количества пар ветвей n и р-типов проводимости, соединенных электрически последовательно и размещенных между двумя пластинами. При пропускании тока через ветви тепловая энергия перетекает с одной пластины на другую, создавая разницу температуры между пластинами. При этом во время работы поверхность 10 термоэлектрического устройства 9 охлаждения, контактирующая с распорной деталью 8, которая, в свою очередь, контактирует с экранирующей поверхностью 3 формирователя изображения 1, является холодной. При этом происходит теплообмен между холодной поверхностью 10 термоэлектрического устройства 9 охлаждения и экранирующей поверхностью 3 формирователя изображения 1 через распорную деталь 8.
Во время работы поверхность 11 термоэлектрического устройства охлаждения, противоположная холодной поверхности 10, является горячей и контактирует с теплопроводной пластиной 12, площадь поверхности которой больше площади горячей поверхности 11 термоэлектрического устройства 9 охлаждения. При этом происходит теплообмен между горячей поверхностью 11 термоэлектрического устройства 9 охлаждения и теплопроводной пластиной 12, снабженной набором пластин 16, параллельных между собой и расположенных в плоскостях, перпендикулярных поверхности теплопроводной пластины 12.
Поверхности параллельных между собой пластин 16, размещенных на поверхности теплопроводной пластины 12, обмениваются теплом с воздухом окружающей среды. Нагретый воздух окружающей среды удаляется от поверхностей параллельных между собой пластин с помощью вентилятора 17, начинающего работать совместно с видеокамерой и термоэлектрическим устройством 9 охлаждения и установленного на открытых торцах параллельных между собой пластин 16.
Во время работы видеокамеры ЭРИ 38, размещенные на частях внешних поверхностей 26 дополнительных диэлектрических пластин 25 печатной платы 5, выступающих за пределы корпуса, постепенно нагреваются примерно до 100°С и излучают теплоту в полость, образованную между частью внешней поверхности частей 6 и 7 корпуса, фланцами 22 и 23 и внутренней поверхностью кожуха (на чертежах не показан), нагревая воздух в данной полости. При этом нагретый воздух обменивается теплотой с внутренней поверхностью кожуха, поверхностями фланцев 22 и 23 и частью внешней поверхности корпуса, находящейся между двумя фланцами 22 и 23. Излучаемая частями 6 и 7 корпуса теплота в незначительной мере распространяется во внутреннюю полость корпуса. Этому способствует вакуум, образованный во внутренней полости между частями 6 и 7 корпуса. Части корпуса 6 и 7 обмениваются теплотой с окружающей средой, фланцами 22 и 23 и теплопроводной пластиной 12.
Кроме того, ЭРИ 38 соединены с токопроводящими элементами 37, выполненными на поверхностях 26 дополнительных диэлектрических пластин 25 и сообщенными с токопроводящими элементами 31, выполненными на поверхностях 32 диэлектрической пластины 24, с помощью токопроводящих элементов 35 расположенными в направлении, перпендикулярном поверхностям 26 и 32 дополнительных диэлектрических пластин 25 печатной платы 5, и обмениваются с ними теплотой. Теплота, распространяясь по токопроводящим элементам 37, 35, 31 и 33, передается от них диэлектрическим пластинам 24 и 25. Диэлектрические пластины 24 и 25 выполнены из материала с низким коэффициентом теплопроводности, а токопроводящие элементы 37 и ЭРИ 38 отсутствуют в кольцевых зонах 39. В связи с этим теплообмен между внешними поверхностями 26 дополнительных диэлектрических пластин 25 печатной платы 5 и внутренней полостью между частями 6 и 7 корпуса незначителен. Он затрудняется еще тем, что во внутренней полости между частями 6 и 7 корпуса образован вакуум. Токопроводящие элементы 31 обмениваются теплотой с диэлектрическими пластинами 24 и 25, но также в очень незначительной степени.
Теплота, передаваемая от ЭРИ 38 и токопроводящих элементов 37, 35, 31 и 33, через диэлектрические пластины 24 и 25 к контактным площадкам 32, контактирующим с выступающими из формирователя изображения 1 проводниками 4, на одной из внешних поверхностей 26 одной из дополнительных диэлектрических пластин 25 печатной платы 5, передается только через перемычки 36, отделяющие узкие сквозные окна 34 друг от друга. Узкие сквозные окна 34 являются термоизоляционными элементами и ограничивают площадь поперечного сечения, через которое теплота распространяется от ЭРИ 38 и токопроводящих элементов 37, 35, 31 и 33 к контактным площадкам 32.
Таким образом, за счет того что электрорадиоизделия расположены на поверхностях частей печатной платы, выступающих за пределы корпуса, и за счет того что токопроводящие элементы тех частей печатной платы, которые расположены во внутренней полости корпуса, расположены только во внутренних слоях печатной платы, и за счет того что часть печатной платы, на поверхности которой размещены контактные площадки 32, отделена от остальной части печатной платы узкими сквозными окнами в заявленной печатной плате, и за счет того что теплота, выделяемая горячей при работе поверхностью термоэлектрического устройства охлаждения через теплопроводную пластину с увеличенной поверхностью теплообмена, выполненную из материала с высоким коэффициентом теплопроводности, передается воздуху окружающей среды, устранены факторы дополнительного повышения температуры внутри корпуса модуля видеокамеры, и теплота, выделяемая электрорадиоизделиями печатной платой при работе, не влияет на повышение температуры внутри полости корпуса, в которой расположен формирователь изображения.
Формула изобретения
1. Модуль видеокамеры, содержащий расположенную в корпусе видеокамеру, состоящую из формирователя изображения, контактирующего с распорной деталью, и соединенного с печатной платой, при этом корпус выполнен из двух частей, в одной из которых образовано сквозное отверстие, термоэлектрическое устройство охлаждения, холодная и горячая поверхности которого взаимодействуют соответственно с распорной деталью и теплопроводной пластиной, вентилятор, отличающийся тем, что в нем между открытыми торцами частей корпуса размещена печатная плата, с выходом за внешнюю поверхность корпуса, а теплопроводная пластина расположена на внешней поверхности корпуса, при этом термоэлектрическое устройство охлаждения размещено в сквозном отверстии.
2. Модуль по п.1, отличающийся тем, что каждая из частей корпуса имеет коробчатую форму.
3. Модуль по п.2, отличающийся тем, что каждая из частей корпуса имеет форму полого цилиндрического стакана.
4. Модуль по п.1, отличающийся тем, что каждая из частей корпуса снабжена фланцем, опорные поверхности которых перекрывают поверхность печатной платы.
5. Модуль по п.4, отличающийся тем, что к боковым поверхностям фланцев присоединен кожух, образующий полость между частью внешней поверхности корпуса и фланцами.
6. Модуль по п.4, отличающийся тем, что фланцы обеих частей корпуса соединены между собой при помощи резьбовых соединений.
7. Модуль по п.1, отличающийся тем, что теплопроводная пластина снабжена набором параллельных между собой пластин, расположенных в плоскостях перпендикулярных поверхности теплопроводной пластины, а на их открытых торцах установлен вентилятор.
8. Модуль по п.1, отличающийся тем, что на поверхностях открытых торцов частей корпуса выполнены кольцевые канавки, в которых установлены уплотнительные кольца, взаимодействующие с поверхностями печатной платой.
9. Модуль по п.1, отличающийся тем, что на внешней поверхности одной из частей корпуса выполнен взаимодействующий с внутренней полостью корпуса патрубок, на свободном торце которого установлена крышка.
10. Печатная плата, содержащая диэлектрическую пластину с выполненным в ней сквозным окном, термоизоляционные элементы, контактные площадки, электрорадиоизделия, и токопроводящие элементы, которые выполнены на поверхностях диэлектрической пластины и сообщены между собой токопроводящими элементами, расположенными в направлении перпендикулярном поверхностям диэлектрической пластины, отличающаяся тем, что она снабжена дополнительными диэлектрическими пластинами, размещенными на поверхностях диэлектрической пластины, с выполненными в них сквозными окнами, совмещенными и образующими общее сквозное окно со сквозным окном диэлектрической пластины, а термоизоляционные элементы выполнены в диэлектрических пластинах в виде общих узких сквозных окон, расположенных вокруг периметра общего сквозного окна, при этом контактные площадки размещены между периметром общего сквозного окна и термоизоляционными элементами на внешней поверхности одной из дополнительных диэлектрических пластин и соединены с токопроводящими элементами, расположенными на той же поверхности дополнительной диэлектрической пластины, а токопроводящие элементы расположены на поверхностях всех диэлектрических пластин и сообщены между собой токопроводящими элементами, расположенными в направлении, перпендикулярном поверхностям диэлектрических пластин, при этом электрорадиоизделия расположены по периметру внешних поверхностей дополнительных диэлектрических пластин и соединены с токопроводящими элементами, расположенными на поверхностях дополнительных диэлектрических пластин, кроме того, на каждой из внешних поверхностей дополнительных диэлектрических пластин предусмотрена кольцевая зона, свободная от токопроводящих элементов.
11. Печатная плата по п.10, отличающаяся тем, что в ней диэлектрические пластины имеют прямоугольную форму.
12. Печатная плата по п.10, отличающаяся тем, что в ней диэлектрические пластины имеют круглую форму.
13. Печатная плата по п.10, отличающаяся тем, что в ней диэлектрические пластины имеют квадратную форму.
14. Печатная плата по п.11, отличающаяся тем, что в ней электрорадиоизделия расположены вдоль сторон с меньшей длинной на внешних поверхностях дополнительных диэлектрических пластин.
15. Печатная плата по п.11, отличающаяся тем, что в ней электрорадиоизделия расположены вдоль сторон с большей длинной на внешних поверхностях дополнительных диэлектрических пластин.
16. Печатная плата по п.10, отличающаяся тем, что каждая кольцевая зона, свободная от токопроводящих элементов, расположена вокруг всех узких сквозных окон.
РИСУНКИ
|
|