|
|
(21), (22) Заявка: 2006134042/09, 25.02.2005
(24) Дата начала отсчета срока действия патента:
25.02.2005
(30) Конвенционный приоритет:
26.02.2004 US 10/788,729
(43) Дата публикации заявки: 10.04.2008
(46) Опубликовано: 20.11.2008
(56) Список документов, цитированных в отчете о поиске:
US 6442142 B1, 27.08.2002. WO 03/009099 A, 30.01.2003. RU 2142202 C1, 27.11.1999. US 2001007572 A, 12.07.2001. CA 2360367 A, 07.06.2001. US 6154659 A, 28.11.2000.
(85) Дата перевода заявки PCT на национальную фазу:
26.09.2006
(86) Заявка PCT:
US 2005/006633 (25.02.2005)
(87) Публикация PCT:
WO 2005/083898 (09.09.2005)
Адрес для переписки:
129090, Москва, ул. Б.Спасская, 25, стр.3, ООО “Юридическая фирма Городисский и Партнеры”, пат.пов. Ю.Д.Кузнецову, рег.№ 595
|
(72) Автор(ы):
ЧАКРАВАРТИ Сумантра (US), ДЖАЛАЛИ Ахмад (US), ШИФФ Леонард Норман (US)
(73) Патентообладатель(и):
КВЭЛКОММ ИНКОРПОРЕЙТЕД (US)
|
(54) ПОДАВЛЕНИЕ ПОМЕХИ НА КРОСС-ПОЛЯРИЗАЦИИ В ОРТОГОНАЛЬНОЙ ЛИНИИ СВЯЗИ
(57) Реферат:
Изобретение относится к подавлению помех на кросс-поляризации в системах связи, в которых используются ортогональные каналы, и, конкретнее, к системам связи с множественным доступом с ортогональным кодовым разделением каналов (МДОКРК), в которых используется одинаковый длинный код в каналах обеих поляризаций, в то же время поддерживая подавление помехи на кросс-поляризации. Технический результат заключается в улучшении отношения сигнала к помехе и шуму. Способ содержит кодирование первого сигнала передачи длинным кодом в первом удаленном терминале; преобразование первого кодированного длинным кодом сигнала передачи в первый поляризованный сигнал передачи с использованием первого формата поляризации; кодирование второго сигнала передачи длинным кодом во втором удаленном терминале, причем первый и второй сигналы передачи оротогональны друг другу; преобразование второго кодированного длинным кодом сигнала передачи во второй поляризованный сигнал передачи с использованием второго формата поляризации; передачу первого и второго поляризованных сигналов передачи, по меньшей мере, на один пункт назначения. 9 н. и 13 з.п. ф-лы, 4 ил.
ОБЛАСТЬ ТЕХНИКИ
Изобретение относится к подавлению помех на кросс-поляризации в системах связи, в которых используются ортогональные каналы. Более конкретно, изобретение относится к системам связи с множественным доступом с ортогональным кодовым разделением каналов (МДОКРК), в которых используется одинаковый длинный код в каналах обеих поляризаций (например, канале левой поляризации и канале правой поляризации), в то же время по существу поддерживая подавление помехи на кросс-поляризации.
ПРЕДШЕСТВУЮЩИЙ УРОВЕНЬ ТЕХНИКИ
В обычных системах связи, как известно, для увеличения пропускной способности одновременно используют левую и правую поляризации. Каналы на каждой поляризации могут быть ортогонализованы с использованием, например, методов, основанных на кодах Уолша. Традиционное применение множественного доступа с кодовым разделением каналов МДКРК также предусматривает использование рандомизации (например, посредством расширения длинных кодов) для решения таких проблем, как взаимные помехи на границах сотовых ячеек или секторов, проблемы многолучевого распространения и т.д. Однако обычное расширение длинных кодов, включая отдельные длинные коды для ортогональных каналов, не приводит к оптимальному отношению сигнала к помехе и шуму (ОСПШ).
Соответственно, в технике имеется необходимость в средствах для эффективного увеличения до максимума ОСПШ (и, косвенно, уменьшения до минимума частоты ошибок кадров (ЧОК)), таким образом обеспечивая более высокую теоретическую пропускную способность для данных общих условий работы в присутствии шумов и помех.
СУЩНОСТЬ ИЗОБРЕТЕНИЯ
Устройство передачи МДОКРК включает в себя кодирование первого и второго сигналов номинально ортогональной поляризации одинаковым длинным кодом и передачу кодированных длинным кодом первого и второго сигналов номинально ортогональной поляризации от соответствующих первого и второго источников передачи, по меньшей мере, на один пункт назначения. Соответствующее устройство демодуляции МДОКРК демодулирует первый и второй сигналы номинально ортогональной поляризации, которые были переданы от соответствующих первого и второго источников передачи после их кодирования одинаковым длинным кодом. Устройство демодуляции включает в себя прием кодированных первого и второго сигналов номинально ортогональной поляризации и применение того же длинного кода к принятым кодированным первому и второму сигналам номинально ортогональной поляризации.
КРАТКОЕ ОПИСАНИЕ ЧЕРТЕЖЕЙ
Описываемые варианты осуществления поменяются в последующем подробном описании со ссылками на чертежи, на которых одинаковые ссылочные позиции относятся к идентичным или соответствующим элементам и на которых представлено следующее:
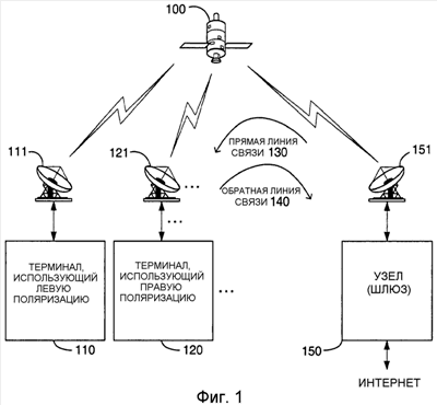
фиг.1 схематичное представление возможного применения устройства подавления помехи на кросс-поляризации;
фиг.2 – вариант осуществления терминала (110 или 120 на фиг.1) на передающем конце обратной линии связи спутниковой системы связи, в котором может применяться устройство подавления помехи на кросс-поляризации;
фиг.3 – вариант осуществления узла (такого как шлюз 150 в спутниковой системе связи фиг.1) на приемном конце обратной линии связи спутниковой системы связи, в которой может применяться устройство подавления помехи на кросс-поляризации;
фиг.4 – блок-схема варианта осуществления способа подавления помехи на кросс-поляризации.
ПОДРОБНОЕ ОПИСАНИЕ
В описании вариантов осуществления, иллюстрируемых на чертежах, для ясности используется определенная терминология. Однако изобретение не предназначено для ограничения выбранной таким образом определенной терминологией и следует понимать, что каждый конкретный элемент включает в себя все технические эквиваленты, которые действуют подобным образом для достижения подобной цели.
Кроме того, признаки и процедуры, реализации которых известны специалистам в данной области техники, опущены для краткости. Например, инициирование и завершение циклов программного обеспечения, передача параметров от одной части сети к другой, требуемых для выполнения их функций и т.д., находятся в пределах знаний специалистов в данной области техники. Аналогично такие элементы как умножители, устройства расширения, схемы суммирования, схемы объединения, смесители, фильтры, генераторы кодов, повышающие преобразователи, понижающие преобразователи, также хорошо известны специалистам в данной области техники, и соответственно, их подробное представление может не приводиться.
Дополнительно различные аспекты, признаки и варианты осуществления системы передачи данных могут описываться как процесс, который может изображаться в виде блок-схемы процесса, структурной схемы или функциональной схемы. Хотя блок-схема процесса может описывать действия в виде последовательного процесса, многие операции могут выполняться параллельно, одновременно или в отличающемся от описанного порядке. Операции, не являющиеся необходимыми или желательными для конкретного выполнения, можно опускать. Процесс может соответствовать способу, функции, процедуре, программному модулю, стандартной подпрограмме, подпрограмме или какой-либо их комбинации.
Настоящее описание может относиться к оборудованию, устанавливаемому в помещении пользователя (ОУПП), и к шлюзам между наземными и спутниковыми сетями связи. Однако следует понимать, что эти термины применяются в широком смысле к терминалам, автоматизированным рабочим местам, персональным компьютерам и т.п.; аналогично, описываемые устройства в широком смысле применяются к маршрутизаторам, переключателям, посредническим серверам, узлам и т.п. Кроме того, функции, такие как функции управления, которые описаны как реализуемые или выполняемые в конкретном местоположении в сети, можно также выполнять в другом подходящем местоположении (местоположениях) в сети.
Последующее описание может относиться к “каналам произвольного доступа” (типа определяемых в TIA/EIA/IS95) (Ассоциация телекоммуникационной промышленности/Ассоциация электронной промышленности/Международный стандарт 95) или к ориентируемым на резервирование каналам (типа раскрытых в заявке на патент США № 10/428,953, зарегистрированной 1 мая 2003 г. на “Множественный доступ с ортогональным кодовым разделением в обратном канале спутниковых линий связи”). Эти каналы являются только примерными типами каналов; настоящее устройство может применяться к другим типам каналов.
Различным терминам, которые используются в этом описании изобретения, должно даваться самое широкое разумное толкование, когда они используются в толковании формулы изобретения.
Таким образом, могут обеспечиваться, по меньшей мере, три типа каналов, которые являются подходящими для использования в обратной линии связи (ОЛС) в описанных вариантах осуществления сети связи. Эти три типа каналов включают в себя:
– Канал произвольного доступа (КПД), использующий способ управления без резервирования, обеспечивающий возможность произвольного доступа к среде связи и использующий методы АМДКР (асинхронного множественного доступа с кодовым разделением). Таким образом, КПД обеспечивает доступ в “случайные” (не планируемые) моменты времени, но ценой полной скорости передачи данных.
– Канал резервирования (КРЕЗ), использующий ориентируемый на резервирование способ управления, обеспечивающий возможность доступа к среде, основанный на ограниченном количестве кодов (кодов Уолша), которые назначаются (например) шлюзом для соответствующих терминалов так, что шлюз может надежно распознавать эти терминалы. Коды являются взаимно ортогональными, гарантирующими, чтобы передачи от различных терминалов не создавали помех друг другу. Таким образом, КРЕЗ использует множественный доступ с ортогональным кодовым разделением каналов МДОКРК и более эффективен, чем КПД, в отношении полной скорости передачи данных, хотя и ценой гибкости, обеспечиваемой режимом случайного (не планируемого) доступа КПД. В некоторых вариантах осуществления КРЕЗ может включать в себя подканал, называемый “всегда включенным” каналом.
– Канал контрольных сообщений (ККС) относится к каналу обратной линии связи между ОУПП и шлюзом.
Особенно подходящим для настоящего устройства подавления помехи на кросс-поляризации является канал резервирования (КРЕЗ). Физической структурой каналов, используемой для поддержания КРЕЗ, является ортогональный МДКРК (МДОКРК). Можно иметь в виду метод множественного доступа с временным разделением (МДРВ), использующий коды Уолша длины 1. Ширина полосы канала в МДОКРК разделена в соответствии с множеством ортогональных кодов Уолша различной длины. В зависимости от требования скорости передачи данных терминала в обратной линии связи, в МДОКРК терминалу назначается ортогональный код Уолша конкретной длины. Ширина полосы (определяемая назначенным кодом Уолша) выделяется терминалу в течение определенного временного интервала. Конкретные детали каналов физического уровня и механизмы, которые можно использовать для достижения ортогональности между сигналами терминалов, принимаемых в шлюзах, могут быть реализованы специалистами в данной области техники.
С учетом особенностей уменьшения помехи на кросс-поляризации, авторами настоящего изобретения было установлено, что в определенных сценариях уровень сигнала не очень сильно изменяется (например, только на ±2 дБ в определенных спутниковых системах связи), и помехи многолучевого распространения не очень критичны. В таких сценариях авторами изобретения наблюдались некоторые явления.
Во-первых, фиксированная, но существенная величина взаимной помехи может восприниматься от пользователей с противоположной поляризацией с кодовым расширением различной длины. Наоборот, никакие взаимные помехи не вызывались большинством других пользователей (использующих взаимно отличающиеся коды Уолша) благодаря хорошей временной синхронизации. Вероятно могут испытываться взаимные помехи от одного пользователя (которому выделен такой же код Уолша), но эта взаимная помеха может быть относительно малой, при условии обеспечения высокой чистоты поляризации и развязки антенны.
Кроме того, авторами изобретения, на основе моделирования и анализа энергетического потенциала линии связи, было установлено, что отсутствие расширения длинным кодом может быть выгодным для некоторых спутниковых систем связи ввиду того, что большой вклад в помеху в ортогональной части обратной линии связи обусловлен вкладом на кросс-поляризации, воспринимаемым, если различные поляризации расширяются с помощью различных длинных кодов. После совместного анализа всех источников помех авторами изобретения было установлено, что различение каналов двух поляризаций с помощью отличающихся длинных кодов имеет недостаток, состоящий в том, что отношение сигнала к помехе и шуму (ОСПШ) фактически не увеличивается до максимума для определенных сценариев. Для улучшения ОСПШ (и косвенно уменьшения частоты ошибок кадров (ЧОК)), авторами изобретения предложено устройство, в котором одинаковый длинный код применяется к обеим поляризациям.
Фиг.1 иллюстрирует, путем неограничивающего примера, контекст или применение устройства подавления помехи на кросс-поляризации, в котором обратная линия связи (ОЛС) сети связи включает в себя спутниковую сеть связи. На фиг.1 различные “терминалы” (оборудование, устанавливаемое в помещении пользователя, ОУПП) 110, 120,…, связаны через соответствующие спутниковые параболические антенны 111, 121… со спутником 100 и, таким образом, с “узлом” (типа Интернет-шлюза) 150 через свою спутниковую параболическую антенну 151.
Прямая линия связи (ПЛС) 130 обозначает направление связи от узла к какому-либо из терминалов. Наоборот, обратная линия связи (ОЛС, иногда называемая возвратной линией связи) 140 обозначает направление связи от какого-либо из терминалов к узлу. ОЛС может быть реализована с использованием комбинации описанных выше методов МДОКРК и АМДКР.
ОУПП (терминалы) могут отличаться по структуре и действию, как шлюзы (узлы). В принципе, терминалы и узлы имеют оборудование связи, работающие согласно взаимно совместным протоколам связи, типа TCP/IP (протокол управления передачей данных/межсетевой протокол) и HTTP (транспортный протокол передачи гипертекста), обеспечивающие возможность доступа терминалов к Интернету через узел. Узел и терминалы включают в себя соответствующие процессоры, конфигурированные для выполнения описанных признаков. Узел, реализующий Интернет-шлюз, также включает в себя сервер-посредник для обеспечения возможности доступа узлов к Интернету.
Фиг.2 иллюстрирует вариант осуществления терминала (110 или 120 на фиг.1) на передающем конце обратной линии связи спутниковой системы связи, в которой может быть реализовано устройство подавления помехи на кросс-поляризации. На фиг.2 в точках A и B ввода обеспечены синфазный и квадратурный сигналы. Сигналы в точках A и B могут быть получены, например, от мультиплексора, МПВР реализующего мультиплекспрование с временным разделением каналов (МВР), причем мультиплексор селективно компонует сигналы, такие как:
– пользовательские данные, которые могут быть в форме пакетов пользовательских данных физического уровня, которые могут быть закодированы, зашифрованы (с перемежением каналов), модулированы (например, с помощью КФМ (квадратурной фазовой модуляции), ФМ (фазовой модуляции) или КАМ (квадратурной амплитудной модуляции)) и обработаны иным образом,
– псевдошумовые преамбулы,
– пилот-сигналы, и/или
– другие, конкретно не указанные сигалы.
Устройство подавления помехи на кросс-поляризации, описываемое ниже, не требует какого-либо конкретного типа данных или компоновки данных.
Данные от различных пользователей могут находиться в одном и том же временном сегменте. В описываемой компоновке, код Уолша обеспечен таким образом, что он является однозначно определенным для каждого пользователя. Синфазный и квадратурный сигналы от точек A и B ввода вводятся в соответствующие умножители 211, 212, которые управляются кодами Уолша, однозначно определенными для каждого пользователя. Полученные в результате сигналы, закодированные в соответствии с каждым пользователем, передаются на элементы 221, 222, соответственно.
Для каждого символа Уолша элементы 221, 222 объединяют полученные в результате сигналы от элементов 211, 212, с длинным кодом, который является псевдошумовой последовательностью. Генератор 220 длинных кодов обеспечивает длинные коды для элементов 221, 222, основанные на масках длинных кодов. В одном варианте осуществления периоды длинных кодов значительно короче (например, короче в двести раз), чем периоды кодов Уолша.
Существенно, что одна и та же маска длинных кодов используется и для левой, и для правой поляризаций. Таким образом, обращаясь к фиг.1, отметим, что одну и та же маску длинных кодов можно использовать и для терминала 110 (левой поляризации), и для терминала 120 (правой поляризации). Это использование одной и той такой же маски длинных кодов для обеих поляризаций является отличием от обычных устройств, в которых для различных поляризаций используют взаимно отличающиеся маски длинных кодов.
Полученные в результате сигналы от элементов 221, 222 подают в полосовые фильтры 231, 232 соответственно. Фильтры 231, 232 выполняют функцию формирования импульсов и передают соответствующие сигналы в смесители 241, 242. Смесители 241, 242 управляются соответствующими сигналами промежуточной частоты (ПЧ), представляемыми как cos 2 fIFt и sin 2 fIFt.
Синфазный и квадратурный радиочастотные сигналы из смесителей 241, 242 вводятся в сумматор 250, образуя сигнал канала резервирования (КРЕЗ), общие характеристики которого описаны выше. Сигнал КРЕЗ является сигналом ортогонального МДКРК (МДОКРК). Ортогональность сигнала МДКРК обеспечивают оперативным применением методов кода Уолша в элементах 211, 212. Тот факт, что сигнал КРЕЗ является сигналом ортогонального МДКРК, обеспечивает то, что использование одной и той же маски длинных кодов для элементов 221, 222 не ухудшает подавление помехи на кросс-поляризации.
Сигнал КРЕЗ от сумматора 250 подается через повышающий преобразователь 260, который возбуждает антенну 111 или 121, осуществляющую передачу от терминалов 110 или 120 соответственно, на спутник 100 (фиг.1).
Для реализации общей идеи обычной системы связи, к которой может быть применен настоящий вариант осуществления, сигналы в различных точках на фиг.2 могут иметь следующие скорости передачи в битах, скорости передачи символов или частоты передачи:
– сигналы A, B: 375-500 ксим/с (килосимволов в секунду);
– выходы 211, 212: 3 Мсим/с (Мега-символа в секунду);
– выходы 221 222: 3 Мсим/с;
– выходы 231 232: 3 Мсим/с;
– выходы 241, 242: 3,0 МГц (предполагается спектральная эффективность 1 Гц/бит в секунду и двухфазная манипуляция, ДФМ);
– выход 250: 3,0 Мб/с (Мегабита в секунду; после квадратурного суммирования становится 6 Мб/с; предполагается квадратурная фазовая манипуляция, КФМ);
– выход 260: 3,0 МГц на несущей частоте 30 ГГц.
Конечно, приведенные характеристики являются просто неограниченными примерами скоростей передачи в битах и частот передачи, для которых настоящее устройство подавления помехи на кросс-поляризации является пригодным. Специалистам в данной области техники должно быть понятно, что настоящее устройство подавления помехи на кросс-поляризации функционирует с различными скоростями передачи в битах и частотами передачи, и таким образом, изобретение не должно быть ограничено описанными здесь примерами.
Фиг.3 иллюстрирует вариант осуществления узла (типа шлюза 150 в спутниковой системе связи фиг.1) на приемном конце обратной линии связи спутниковой системы связи, в котором может быть осуществлено устройство подавления помехи на кросс-поляризации. В значительной степени, функции в узле приемного конца или шлюзе 150 (фиг.3) выполняются в обратном порядке относительно функций, выполняемых на передающем конце 110, 120 (фиг.2).
Согласно фиг.3 антенна 151 принимает сигнал от спутника 100 и подает принятый сигнал на ортомодовый преобразователь (ОМП) 360. ОМП 360 делит принятый сигнал ортогонального МДКРК на сигнал левой поляризации, подаваемый в ветвь 361, и сигнал правой поляризации, подаваемый в ветвь 362. Сигнал левой поляризации исходит (например) от терминала 110 (фиг.1), а сигнал правой поляризации исходит (например) от терминала 120 (фиг.1).
Сигнал левой поляризации в ветви 361 подается на понижающий преобразователь 351 и затем на смесители 341, 342. Смесители 341, 342 принимают соответствующие ортогональные по фазе сигналы cos 2 fIFt и sin 2 fIFt промежуточной частоты (ПЧ). Смесители 341, 342 подают синфазный и квадратурный сигналы соответственно на фильтры 331, 332 соответственно, которые выполняют функцию формирования импульсов.
Фильтры 331, 332 подают отфильтрованные сигналы на элементы 321, 322 соответственно. Элементы 321, 322 принимают одинаковый длинный код от генератора 320L длинных кодов. Генератор 320L длинных кодов, символ “L” которого обозначает сигналы левой поляризации от терминала 110 (фиг.1), принимает ту же маску длинных кодов, что и генератор 320R длинных кодов, символ “R” которого обозначает сигналы правой поляризации от терминала 120 (фиг.1). Элементы 321, 322 подают декодированные с использованием длинного кода сигналы в умножители 311, 312.
Фиг.3 изображает элементы 311, 312, принимающие коды Уолша, которые являются однозначно определенными для каждого пользователя. На Фиг.3 показано схематичное представление, изображающее только общий принцип восстановления данных канала Уолша. В практическом выполнении все каналы Уолша могут демодулироваться вместе с использованием методов быстрого преобразования Адамара. Чертежи показывают только, как выделяется пара функций Уолша. Подробности процесса, касающегося кодов Уолша, не имеют отношения к использованию одной маски длинных кодов для обеих поляризаций и, соответственно, описание этих подробностей кода Уолша опущено. Элементы 311, 312 подают сигналы на последующие схемы, не имеющие отношения к устройству подавления помехи на кросс-поляризации, типа демультиплексоров, декодеров, обращенных перемежителей каналов и т.п.
На фиг.3 элементы 352, 343, 344, 333, 334, 320R, 323, 324, 313 и 314 выполняют функции для сигнала правой поляризации в ветви 362 способом, аналогичным описанному выше относительно элементов 351, 341, 342, 331, 332, 320L, 321, 322, 311 и 312 соответственно, для сигнала левой поляризации в ветви 361. Отличающиеся, зависящие от пользователя коды Уолша, подаются на элементы 311-314. Однако одна и та же маска длинных кодов используется и для левой, и для правой поляризации, в отличие от обычных систем.
Фиг.4 представляет блок-схему, иллюстрирующую вариант осуществления способа подавления помехи на кросс-поляризации. Этапы в способе 400 передачи выполняют в одном или более передающих терминалов 110 и/или 120, в то время как этапы в способе 500 приема выполняют в узле (шлюзе) 150 (фиг.1). Способы 400, 500 передачи и приема могут рассматриваться как отдельные способы или могут рассматриваться вместе как один способ.
Блок 402 показывает ввод сигнала, содержащего пользовательские данные (см. точки A и B фиг.2).
Блок 404 показывает применение зависящих от пользователя кодов Уолша к входным сигналам (см. элементы 211, 212 фиг.2), таким образом обеспечивая ортогонализацию сигналов.
Блок 406 показывает применение длинного кода, который является одинаковым длинным кодом и для левой, и для правой поляризации (см. элементы 220, 221, 222 фиг.2).
Блок 408 показывает фильтрацию полученных в результате кодированных сигналов (см. элементы 231, 232 фиг.2).
Блок 410 показывает формирование ортогонального сигнала, в частности сигнала ортогонального МДКРК, включающего в себя синфазный и квадратурный компоненты на радиочастоте (см. элементы 241, 242, 250, фиг.2).
Блок 414 иллюстрирует передачу сигнала в среде передачи (см. повышающий преобразователь 260, фиг.2 и антенну 111/121, фиг.1). Среда передачии в широком смысле, включает в себя, например, обратную линию 140 связи спутниковой системы связи (фиг.1).
Блок 514 показывает прием сигнала ортогонального МДКРК из среды передачи, типа обратной линии 140 связи (фиг.1); см. антенну 151, фиг.3.
Блок 512 иллюстрирует разделение принятого сигнала на сигналы левой и правой поляризации (см. ветви 351, 351 на выходах ОМП 350 на фиг.3).
Блок 508 показывает фильтрацию сигналов от смесителей 341-344 (см. элементы 331-334 на фиг.3), которые преобразовали сигналы левой и правой поляризации с понижением частоты от радиочастоты.
Блок 506 показывает декодирование отфильтрованных сигналов обеих поляризаций с использованием одинаковой маски длинных кодов (см. элементы 320L, 320R, 321-324, фиг.3).
Блок 504 показывает декодирование с использованием кодов Уолша, однозначно определенных для каждого пользователя (см. элементы 310-314, фиг.3).
Блок 502 показывает вывод сигналов, содержащих пользовательские данные, в последующие схемы, типа демультиплексоров.
Вышеуказанные варианты осуществления отличаются от обычных устройств, по меньшей мере, следующим образом. Известно, что в системе связи одновременно используются левая и правая поляризации для увеличения пропускной способности. Обычно каналы левой и правой поляризации расширяются взаимно отличающимися длинными кодами. Соответственно, обычно не используется одинаковый длинный код в каналах левой и правой поляризации. Нетрадиционное использование авторами изобретения одинакового длинного кода можно оценить следующим образом.
Если каждый канал поляризации имеет ортогональные подканалы (например, созданные с использованием методов кодов Уолша), можно подавить помеху на кросс-поляризации от всех пользователей, кроме одного из множества пльзователей, использующих противоположную поляризацию. Отличающиеся коды Уолша подавляют помеху среди пользователей, использующих одинаковую поляризацию. Отличающиеся длинные коды, если они используются, могут обеспечить подавление помехи, но поскольку одинаковый длинный код используется для обеих поляризаций, имеется неслучайная (не шумоподобная) помеха между конкретными пользователями, использующими одинаковый код Уолша, но на разных поляризациях.
Испытания показали, что эта конкретная помеха между малым числом пользователей допустима, учитывая тот факт, что помеха близка к аддитивному белому Гауссову шуму (АБГШ), в частности при надлежащем выборе схемы модуляции при более низких значениях ОСПШ. В системе с развязкой по поляризации на 17 дБ и подавлении за счет ортогонального кодирования на 20 дБ обеспечивается выигрыш в отношении сигнала к помехе и шуму (ОСПШ) на 0,4 дБ, при частоте ошибок кадров (ЧОК) 10-4. Этот выигрышш возможен, в частности, если эффекты многолучевого распространения незначительны, например, в спутниковых системах связи.
Также для описанных способов предусмотрены компьютерные программные продукты (такая как носители данных), хранящие программные команды для исполнения на компьютерной системе, имеющей, по меньшей мере, одно устройство обработки данных, причем команды, при исполнении компьютерной системой, обеспечивают выполнение компьютерной системой описанных способов.
Дополнительно предусмотрены системы для выполнения описанных способов, причем системы включают в себя, по меньшей мере, один терминал (или оборудование, устанавливаемое в помещении пользователя) и узел (типа шлюза). Специалисты в данной области техники могут легко реализовывать терминалы и узлы (или шлюзы) и т.п. В принципе, эти элементы могут быть реализоввны любыми подходящими компьютерами, использующими технологию, известную специалистам в данной области техники, для обеспечения возможности выполнения этих функций. Терминал или узел могут быть реализованы, с использованием обычного компьютера общего назначения, запрограммированного в соответствии с вышеизложенными положениями, как очевидно специалистам в компьютерной технике. Программисты обычной квалификации легко могут подготовить соответствующее программное обеспечение на основании положений настоящего раскрытия, как будет очевидным для специалистов в области программного обеспечения. Могут быть другие подходящие языки программирования, работающие с другими доступными операционными системами.
Компьютеры общего назначения могут реализовывать вышеупомянутые способы, в которых компьютер может содержать ЦП (центральный процессор), память, такую как ДОП (динамическая оперативная память), ПЗУ (постоянное запоминающее устройство), ППЗУ (программируемое постоянное запоминающее устройство), ЭППЗУ (электрически программируемое постоянное запоминающее устройство), СОЗУ (статическое оперативное запоминающее устройство), СДОЗУ (синхронное динамическое оперативное запоминающее устройство) и флэш-ОЗУ (оперативное запоминающее устройство) и другие логические устройства специального назначения, типа ИСПО (интегральные схемы прикладной ориентации), или конфигурируемые логические устройства, такие как ТМЛ (типовая матричная логика) и перепрограммируемые ППВМ (программируемые пользователем вентильные матрицы).
Каждый компьютер также может включать в себя множество входных устройств (например, клавиатуру, микрофон и мышь), и контроллер дисплея для управления монитором. Дополнительно, компьютер может включать в себя накопитель на гибких магнитных дисках; другие сменные носители информации (например, компакт-диск, магнитную ленту и сменный магнитооптический носитель информации); и жесткий диск или другие стационарные накопители для носителей информации с высокой плотностью записи, соединяемые с использованием соответствующей шины устройства, такой как шина ИМКС (интерфейс малых компьютерных систем), шина расширенного ВИН (встроенного интерфейса накопителей) или шина сверхскоростного ПДП (прямого доступа к памяти). Компьютер может также включать в себя устройство считывания с компакт-дисков, устройство чтения/записи компакт-дисках или дисковод с автоматической сменой компакт-дисков, которые могут соединяться с такой же шиной устройства или с другой шиной устройства.
Как указано выше, система включает в себя, по меньшей мере, один машиночитаемый носитель информации. Примеры машиночитаемых носителей информации включают в себя компакт-диски, жесткие диски, дискеты, магнитную ленту, магнитооптические диски, ПЗУ (например, ППЗУ, ЭППЗУ, флэш-ППЗУ), ДОП, СОЗУ, СДОЗУ).
Для выполнения описанных выше функций программное обеспечение как для управления аппаратными средствами компьютера, так и для обеспечения взаимодействия компьютера с человеком-пользователем, сохраняется на любом машиночитаемом носителе информации или их комбинации. Такое программное обеспечение может включать в себя, без ограничения указанным, пользовательские приложения, драйверы устройств, операционные системы, инструментальные средства разработок и т.д.
Такие машиночитаемые носители информации дополнительно включают в себя компьютерный программный продукт, содержащий выполняемый компьютером код или выполняемые компьютером команды, которые, при выполнении, обеспечивают выполнение компьютером раскрытых выше способов. Компьютерный код может быть любым интерпретируемым или исполняемым кодом, включающим в себя без ограничения указанные командные файлы, интерпретирующие программы, динамически подключаемые библиотеки, классы языка Java, готовые наполняемые программы и т.п.
Из вышеописанного специалистам в данной области техники должно быть очевидно, что предусмотрено множество решений (способы, системы, компьютерные программы на носителях записи и т.п.).
Настоящее раскрытие поддерживает способ передачи, который может включать в себя кодирование первого и второго сигналов номинально ортогональной поляризации одинаковым длинным кодом и передачу кодированных длинным кодом первого и второго сигналов номинально ортогональной поляризации от соответствующих первого и второго источников передачи, по меньшей мере, на один пункт назначения.
Способ может дополнительно включать в себя ортогонализацию множества подканалов каждого из первого и второго сигналов номинально ортогональной поляризации с помощью применения соответствующего множества взаимно отличающихся кодов Уолша в каждом подканале. Этап ортогонализации может включать в себя применение различных кодов Уолша для различных соответствующих сигналов, исходящих от различных соответствующих пользователей системы связи.
Этап передачи может выполняться в системе связи с множественным доступом с ортогональным кодовым разделением каналов (МДОКРК).
Этап передачи может включать в себя передачу кодированных длинным кодом первого и второго сигналов номинально ортогональной поляризации из множества первых источников передачи и из множества вторых источников передачи, соответственно, по меньшей мере, на один пункт назначения.
Настоящее раскрытие также поддерживает способ связи, включающий в себя описанный выше способ передачи, и дополнительно включающий в себя, в пункте назначения, прием кодированных первого и второго сигналов номинально ортогональной поляризации; применение одинакового длинного кода к принятым кодированным первому и второму сигналам номинально ортогональной поляризации, принятым в пункте назначении.
Настоящее раскрытие дополнительно поддерживает способ демодуляции первого и второго сигналов номинально ортогональной поляризации, которые были переданы от соответствующих первого и второго источников передачи после кодирования их одинаковым длинным кодом. Способ может включать в себя прием кодированных первого и второго сигналов номинально ортогональной поляризации и применение такого же длинного кода к принятым кодированным первому и второму сигналам номинально ортогональной поляризации.
Способ дополнительно может включать в себя разделение множества подканалов в каждом из первого и второго сигналов номинально ортогональной поляризации путем применения соответствующего множества взаимно отличающихся кодов Уолша в каждом подканале. Этап разделения может включать в себя применение различных кодов Уолша к различным соответствующим сигналам, исходящим от различных соответствующих пользователей системы связи.
Этап приема может выполняться в системе связи с множественным доступом с ортогональным кодовым разделением каналов (МДОКРК).
Настоящее раскрытие также поддерживает способ связи, включающий в себя описанный выше способ демодуляции, и дополнительно включает в себя кодирование первого и второго сигналов номинально ортогональной поляризации одинаковым длинным кодом, и передачу кодированных длинным кодом первого и второго сигналов номинально ортогональной поляризации от соответствующих первого и второго источников передачи, по меньшей мере, на один пункт назначения, в котором выполняется способ демодуляции.
Этап передачи может включать в себя передачу кодированных длинным кодом первого и второго сигналов номинально ортогональной поляризации от множества первых источников передачи и от множества вторых источников передачи, соответственно, по меньшей мере, на один пункт назначения.
Настоящее раскрытие дополнительно поддерживает компьютерный программный продукт, хранящий программные команды для исполнения на компьютерной системе, имеющей, по меньшей мере, одно устройство обработки данных, причем команды, при исполнении компьютерной системой, обеспечивают исполнение компьютерной системой описанных выше способов.
Настоящее раскрытие также поддерживает системы, предназначенные для выполнения описанных выше способов.
Вышеупомянутые варианты осуществления являются просто примерами и не должны рассматриваться как ограничивающие изобретение. Описанные решения могут применяться к другим типам устройств. Описание вариантов осуществления предназначено для иллюстрации, а не ограничения объема формулы изобретения. Множество альтернатив, модификаций и изменений будут очевидны специалистам в данной области техники в свете приведенных выше решений. Например, конкретное выполнение терминалов, узлов или шлюзов может изменяться, не отступая от объема изобретения. Конкретная аппаратная или программная реализация изобретения может изменяться в пределах объема настоящего изобретения. Поэтому должно быть понятно, что в пределах объема прилагаемой формулы изобретения и ее эквивалентов изобретение может быть реализовано иначе, чем конкретно описано.
Формула изобретения
1. Способ снижения помех на кросс-поляризации в спутниковой системе связи, содержащий
кодирование первого сигнала передачи длинным кодом в первом удаленном терминале;
преобразование первого кодированного длинным кодом сигнала передачи в первый поляризованный сигнал передачи с использованием первого формата поляризации;
кодирование второго сигнала передачи длинным кодом во втором удаленном терминале, причем первый и второй сигналы передачи ортогональны друг другу;
преобразование второго кодированного длинным кодом сигнала передачи во второй поляризованный сигнал передачи с использованием второго формата поляризации; и
передачу первого и второго поляризованных сигналов передачи, по меньшей мере, на один пункт назначения.
2. Способ по п.1, дополнительно содержащий ортогонализацию множества подканалов каждого из первого и второго сигналов передачи с помощью применения соответствующего множества взаимно различных кодов Уолша в каждом подканале.
3. Способ по п.2, в котором этап ортогонализации включает в себя применение различных кодов Уолша к различным соответствующим сигналам, исходящим из первого и второго удаленных терминалов.
4. Способ по п.3, в котором этап передачи выполняют в системе связи с множественным доступом с ортогональным кодовым разделением каналов (МДОКРК).
5. Способ по п.1, в котором этап передачи выполняют в системе связи с множественным доступом с ортогональным кодовым разделением каналов (МДОКРК).
6. Способ связи, включающий в себя способ снижения помех по п.1 и дополнительно содержащий
в пункте назначения, прием кодированных первого и второго поляризованных сигналов передачи, и
применение длинного кода к принятым кодированным первому и второму поляризованным сигналам передачи, принятым в пункте назначения.
7. Способ демодуляции первого и второго поляризованных сигналов передачи в спутниковой системе связи, которые были переданы от соответствующих первого и второго источников передачи после их кодирования одинаковым длинным кодом, причем способ содержит
прием кодированных первого и второго поляризованных сигналов передачи;
разделение первого и второго поляризованных сигналов передачи на два канала демодуляции и
применение одинакового длинного кода к первому поляризованному сигналу передачи и второму поляризованному сигналу передачи в каждом из двух каналов демодуляции.
8. Способ по п.7, дополнительно содержащий
разделение множества подканалов в каждом из первого и второго поляризованных сигналов передачи с помощью применения соответствующего множества взаимно различных кодов Уолша в каждом подканале.
9. Способ по п.8, в котором этап разделения множества подканалов включает в себя
применение различных кодов Уолша к различным соответственно поляризованным сигналам передачи, исходящим из первого и второго удаленных терминалов.
10. Способ по п.9, в котором этап приема выполняют в системе связи с множественным доступом с ортогональным кодовым разделением каналов (МДОКРК).
11. Способ по п.7, в котором этап приема выполняют в системе связи с множественным доступом с ортогональным кодовым разделением каналов (МДОКРК).
12. Машиночитаемый носитель, содержащий исполняемые компьютером инструкции, сохраненные на нем, предназначенные для исполнения процесором для выполнения способа по п.1.
13. Машиночитаемый носитель, содержащий исполняемые компьютером инструкции, сохраненные на нем, предназначенные для исполнения процесором для выполнения способа по п.7.
14. Спутниковая система связи, конфигурированная для выполнения способа по п.1.
15. Спутниковая система связи, конфигурированная для выполнения способа по п.7.
16. Система передачи для снижения помех на кросс-поляризации в спутниковой системе связи, содержащая
средство для кодирования первого сигнала передачи длинным кодом в первом удаленном терминале;
средство для преобразования первого кодированного длинным кодом сигнала передачи в первый поляризованный сигнал передачи с использованием первого формата поляризации;
средство для кодирования второго сигнала передачи длинным кодом во втором удаленном терминале, причем первый и второй сигналы передачи ортогональны друг другу;
средство для преобразования второго кодированного длинным кодом сигнала передачи во второй поляризованный сигнал передачи с использованием второго формата поляризации;
первое средство для передачи первого поляризованного сигнала передачи, по меньшей мере, на один пункт назначения; и
второе средство для передачи второго поляризованного сигнала передачи, по меньшей мере, на один пункт назначения.
17. Система по п.16, дополнительно содержащая
средство для ортогонализации множества подканалов каждого из первого и второго поляризованных сигналов передачи с помощью применения соответствующего множества взаимно различных кодов Уолша в каждом подканале.
18. Система по п.17, в которой средство ортогонализации включает в себя средство для применения различных кодов Уолша к различным соответствующим сигналам, исходящим от различных соответствующих пользователей системы связи.
19. Система по п.16, в которой первое и второе средства передачи включают в себя средство для передачи кодированных длинным кодом первого и второго поляризованных сигналов передачи от множества первых источников передачи и от множества вторых источников передачи, соответственно, по меньшей мере, на один пункт назначения.
20. Система для демодуляции первого и второго поляризованных сигналов передачи в спутниковой системе связи, которые были переданы от соответствующих первого и второго источников передачи после их кодирования одинаковым длинным кодом, причем система содержит
средство для приема кодированных первого и второго поляризованных сигналов передачи;
средство для разделения первого и второго поляризованных сигналов передачи на два канала демодуляции и
средство для применения одинакового длинного кода к первому поляризованному сигналу передачи и второму поляризованному сигналу передачи в каждом из двух каналов демодуляции.
21. Система по п.20, дополнительно содержащая средство для разделения множества подканалов в каждом из первого и второго поляризованных сигналов передачи с помощью применения соответствующего множества взаимно различных кодов Уолша в каждом подканале.
22. Система по п.21, в которой средство для разделения множества подканалов включает в себя средство для применения различных кодов Уолша к различным соответственно поляризованным сигналам, исходящим от различных соответствующих пользователей системы связи.
РИСУНКИ
|
|