|
|
(21), (22) Заявка: 2006136977/09, 18.10.2006
(24) Дата начала отсчета срока действия патента:
18.10.2006
(43) Дата публикации заявки: 27.04.2008
(46) Опубликовано: 20.11.2008
(56) Список документов, цитированных в отчете о поиске:
SU 1791868 A1, 30.01.1993. SU 1646007 A1, 30.04.1991. RU 45558 U1, 10.05.2005. US 5495220 A, 27.02.1996. US 2006125681, A, 15.08.2006. JP 08329815 A, 13.12.1996.
Адрес для переписки:
428000, Чувашская Республика, г.Чебоксары, пр. И. Яковлева, 4, ОАО “ВНИИР”
|
(72) Автор(ы):
Ахазов Иван Захарович (RU), Петров Олег Александрович (RU), Ткачишин Эдуард Владимирович (RU), Денисова Тамара Андреевна (RU)
(73) Патентообладатель(и):
Открытое акционерное общество “Всероссийский научно-исследовательский проектно-конструкторский и технологический институт релестроения с опытным производством” (RU)
|
(54) ЭЛЕКТРОМАГНИТНЫЙ КОММУТАЦИОННЫЙ АППАРАТ (ВАРИАНТЫ)
(57) Реферат:
Изобретение относится к области электротехники и, в частности, к низковольтному электроаппаратостроению, и может быть использовано в конструкциях реле, контакторов, пускателей и других коммутационных устройствах автоматики, управления и защиты. Техническим результатом изобретения является повышение надежности, упрощение и удешевление сборки устройства, снижение затрат в процессе его производства. Изобретение охарактеризовано тремя вариантами. Технический результат достигается за счет того, что в электромагнитном коммутационном аппарате, содержащем корпус, сердечник с включающей катушкой, якорь, амортизаторы, расположенные между сердечником и корпусом, камеру с расположенными в ней неподвижными контактными узлами, траверсу, соединенную с якорем, подвижные мостиковые контактные узлы, выполненные в виде мостиков с серебросодержащими контакт-деталями, установленные в траверсе, короткозамкнутые витки, установленные в пазах крайних кернов сердечника, возвратную пружину, согласно первому варианту, амортизаторы выполнены U-образной формы, повторяющей контур сердечника, и в крайних ответвлениях которых со стороны рабочих частей кернов сердечника выполнены углубления или пазы и отверстия для установки и фиксации короткозамкнутых витков, а на поверхности амортизаторов, обращенной к сердечнику, выполнены, по крайней мере, углубления и/или отверстия под головки заклепок сердечника. Согласно второму варианту, короткозамкнутые витки закреплены в пазах сердечника при помощи колодок, по крайней мере, пластмассовых, имеющих U-образную форму, повторяющую контур сердечника, в крайних ответвлениях которых со стороны рабочих частей кернов сердечника выполнены углубления и отверстия для установки короткозамкнутых витков, а в нижней части по вертикальной оси выполнено отверстие для установки колодок, по крайней мере, на шпонку, а на поверхности колодок, обращенной к сердечнику, выполнены, по крайней мере, углубления и/или отверстия под головки заклепок сердечника, и выступы, обращенные к сердечнику и охватывающие сверху и снизу его нижнюю горизонтальную часть, соединяющую крайние керны. Согласно третьему варианту, короткозамкнутые витки закреплены в пазах сердечника при помощи пластин, по крайней мере, металлических, имеющих U-образную форму, повторяющую контур сердечника, в крайних ответвлениях которых выполнены отверстия для установки короткозамкнутых витков, а в нижней части по вертикальной оси выполнено отверстие для установки пластины, по крайней мере, на шпонку, а на поверхности пластин, обращенных к сердечнику, выполнены углубления и/или отверстия под головки заклепок сердечника. 3 н. и 3 з.п. ф-лы, 11 ил.
Изобретение относится к области электротехники и, в частности, к низковольтному электроаппаратостроению, и может быть использовано в конструкциях реле, контакторов, пускателей и других коммутационных устройствах автоматики, управления и защиты.
Известна конструкция электромагнитного коммутационного аппарата фирмы SQUARE D типа PD2.10E (см. каталог фирмы SQUARE D [1]). Этот аппарат имеет прямоходовую Ш-образную магнитную систему. Сердечник с включающей катушкой размещены в корпусе аппарата. Траверса с прикрепленным к ней якорем располагается в камере. Неподвижные контактные узлы установлены в окнах камеры, подвижные мостиковые – в окнах траверсы аппарата. Отличительной особенностью аппарата является то, что медные короткозамкнутые витки установлены в пазах сердечника и закреплены в них при помощи эластичного компаунда. Пазы выполнены на рабочей и на внешней боковой частях керна сердечника. Паз, выполненный на боковой части керна, залит эластичным компаундом, служащим для фиксации короткозамкнутых витков от выпадения.
Недостатком известной конструкции является то, что выполнение паза на внешней боковой части керна сердечника уменьшает сечение сердечника на пути магнитного потока, а для обеспечения необходимой тяговой характеристики аппарата и, следовательно, необходимого сечения по индукции, требуется дополнительное увеличение габаритов сердечника, что приводит к дополнительному нерациональному расходу электротехнической стали и увеличению веса аппарата.
Другими недостатками известной конструкции являются недостаточная надежность крепления короткозамкнутых витков компаундом и большой расход материала на изготовление короткозамкнутых витков из-за увеличенных размеров короткозамкнутых витков. Применение эластичного компаунда делает сборку аппарата более трудоемкой и дорогостоящей, так как место нанесения компаунда должно обладать хорошей адгезией, его необходимо предварительно обезжирить, а после нанесения компаунда – высушить. Все это требует дополнительных затрат времени и удорожает конструкцию.
Наиболее близким по технической сущности к вариантам заявляемого устройства является электромагнитный коммутационный аппарат – пускатель серии ПМ 12-016, выпускаемый ОАО “Арзамасский приборостроительный завод” (см. листок-каталог Информэлектро 07.14.23-01 “Пускатели электромагнитные типа ПМ12” [2]). Пускатель ПМ12-016 (фиг.1) содержит корпус 1, сердечник 6 с включающей катушкой 8, якорь 7, амортизаторы 11, расположенные между сердечником 6 и корпусом 1, камеру 2 с расположенными в ней неподвижными контактными узлами 19 и 20, траверсу 3, соединенную с якорем 7 при помощи шпонки 18, подвижные мостиковые контактные узлы 4, выполненные в виде планок с серебросодержащими контакт-деталями, установленные в траверсе 3, короткозамкнутые витки 9 и 10, установленные в пазах крайних кернов сердечника 6 расклепыванием, возвратную пружину 43.
Недостатком прототипа является сложность установки и запрессовки короткозамкнутых витков 9 и 10 в пазы сердечника 6, а также необходимость расклепывания короткозамкнутых витков 9 и 10. Для выполнения этих операций требуется, по крайней мере, два штампа. При расклепывании короткозамкнутых витков в производственных условиях встречаются случаи разрывов витков, а при эксплуатации – выпадения короткозамкнутых витков вследствие некачественного расклепывания, что приводит к выходу из строя всего аппарата в целом.
Техническим результатом заявляемого изобретения является повышение надежности, упрощение и удешевление сборки устройства, снижение затрат в процессе его производства.
Технический результат достигается следующим.
Вариант 1. В электромагнитном коммутационном аппарате, содержащем корпус, сердечник с включающей катушкой, якорь, амортизаторы, расположенные между сердечником и корпусом, камеру с расположенными в ней неподвижными контактными узлами, траверсу, соединенную с якорем, подвижные мостиковые контактные узлы, выполненные в виде мостиков с серебросодержащими контакт-деталями, установленные в траверсе, короткозамкнутые витки, установленные в пазах крайних кернов сердечника, возвратную пружину, амортизаторы выполнены U-образной формы, повторяющей контур сердечника, и в крайних ответвлениях которых со стороны рабочих частей кернов сердечника выполнены углубления (пазы) и отверстия для установки и фиксации короткозамкнутых витков, а на поверхности амортизаторов, обращенной к сердечнику, выполнены, по крайней мере, углубления и (или) отверстия под головки заклепок сердечника.
Вариант 2. В электромагнитном коммутационном аппарате, содержащем корпус, сердечник с включающей катушкой, якорь, амортизаторы, расположенные между сердечником и корпусом, камеру с расположенными в ней неподвижными контактными узлами, траверсу, соединенную с якорем, подвижные мостиковые контактные узлы, выполненные в виде мостиков с серебросодержащими контакт-деталями, установленные в траверсе, короткозамкнутые витки, установленные в пазах крайних кернов сердечника, возвратную пружину, короткозамкнутые витки закреплены в пазах сердечника при помощи колодок, по крайней мере, пластмассовых, имеющих U-образную форму, повторяющую контур сердечника, в крайних ответвлениях которых со стороны рабочих частей кернов сердечника выполнены углубления и отверстия для установки короткозамкнутых витков, а в нижней части по вертикальной оси выполнено отверстие для установки колодок, по крайней мере, на шпонку, а на поверхности колодок, обращенной к сердечнику, выполнены, по крайней мере, углубления и (или) отверстия под головки заклепок сердечника, и выступы, обращенные к сердечнику и охватывающие сверху и снизу его нижнюю (горизонтальную) часть, соединяющую крайние керны.
Вариант 3. В электромагнитном коммутационном аппарате, содержащем корпус, сердечник с включающей катушкой, якорь, амортизаторы, расположенные между сердечником и корпусом, камеру с расположенными в ней неподвижными контактными узлами, траверсу, соединенную с якорем, подвижные мостиковые контактные узлы, выполненные в виде мостиков с серебросодержащими контакт-деталями, установленные в траверсе, короткозамкнутые витки, установленные в пазах крайних кернов сердечника, возвратную пружину, короткозамкнутые витки закреплены в пазах сердечника при помощи пластин, по крайней мере, металлических, имеющих U-образную форму, повторяющую контур сердечника, в крайних ответвлениях которых выполнены отверстия для установки короткозамкнутых витков, а в нижней части по вертикальной оси выполнено отверстие для установки пластины, по крайней мере, на шпонку, а на поверхности пластин, обращенных к сердечнику, выполнены углубления и (или) отверстия под головки заклепок сердечника.
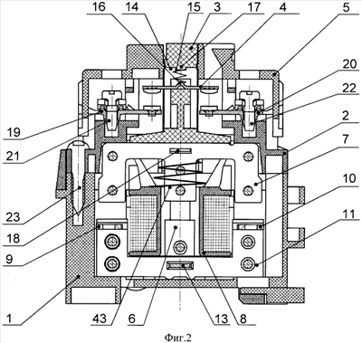
Сущность изобретения поясняется чертежами, где на фиг.2 изображен продольный разрез предлагаемого электромагнитного коммутационного аппарата;
на фиг.3 (вид спереди) и фиг.4 (вид слева) в двух проекциях представлен сердечник электромагнитного коммутационного аппарата с U-образными амортизаторами и закрепленными короткозамкнутыми витками;
на фиг.5 – разрез по А-А на фиг.4;
на фиг.6 (вид спереди), фиг.7 (вид слева), фиг.8 (разрез по А-А на фиг.6) представлен вариант крепления короткозамкнутых витков на сердечнике при помощи колодок, установленных сбоку сердечника, и резиновых амортизаторов;
на фиг.9 (вид спереди), фиг.10 (вид слева), фиг.11 (разрез по А-А на фиг.9) представлен вариант крепления короткозамкнутых витков при помощи пластин и резиновых амортизаторов.
Аппарат содержит корпус 1, камеру 2 с установленной в ней траверсой 3 с подвижными мостиковыми контактными узлами 4, крышку камеры 5, сердечник 6 и якорь 7 электромагнита переменного тока, включающей катушку 8, короткозамкнутые витки 9 и 10, установленные на крайних кернах сердечника 6, амортизаторы 11 и 12, установленные в корпусе 1 с боковых сторон сердечника 6 при помощи шпонки 13, проходящей через отверстия в сердечнике 6 и амортизаторах 11 и 12.
В теле траверсы 3 выполнены окна 14, в которых расположены подвижные мостиковые контактные узлы 4, зафиксированные в окнах при помощи пружин 15, опирающихся одним концом на выступ 16 мостикового контактного узла, сужающийся к свободному концу, а другим – на цилиндрический выступ 17, выполненный в траверсе 3. Траверса 3 связана с якорем 7 при помощи шпонки 18, расположенной в сквозном отверстии в верхней части якоря 7 и жестко фиксирующей якорь 7 на траверсе 3.
Якорь 7 вместе с траверсой 3 и подвижными мостиковыми контактными узлами 4 установлен в камере 2, которая имеет окна с установленными в них неподвижными контактными узлами 19 и 20. Винты 21 и 22 фиксируют неподвижные контактные узлы 19 и 20 в окнах камеры 2 от выпадения. Для защиты от возможного прикосновения к частям, находящимся под напряжением, и защиты от попадания внутрь аппарата посторонних предметов на камеру 2 установлена крышка 5 со сквозными отверстиями для доступа к винтам 21 и 22 и подсоединения проводов к неподвижным контактным узлам 19 и 20. Камера 2 фиксируется на корпусе 1 при помощи самонарезающих винтов 23.
В корпусе 1 располагается Ш-образный сердечник 6 с размещенной на его среднем керне включающей катушкой 8. В пазах крайних кернов сердечника 6 установлены короткозамкнутые витки 9 и 10, фиксируемые на сердечнике 6 при помощи амортизаторов 11 и 12, изготовленных из эластичного материала. Амортизаторы 11 и 12 имеют U-образную форму, которая повторяет форму сердечника 6. В верхних частях крайних ответвлений 24 и 25 амортизаторов 11 и 12 выполнены пазы и сквозные отверстия для установки короткозамкнутых витков 9 и 10, а в нижней части по вертикальной оси – сквозное отверстие для установки амортизаторов 11 и 12 на шпонку 13. Амортизаторы 11 и 12 упираются своими торцами 26 и 27 во внутренние стенки корпуса 1 и надежно фиксируют сердечник 6 с установленными на нем короткозамкнутыми витками 9 и 10 в корпусе 1. На поверхностях амортизаторов 11 и 12, обращенных к сердечнику 6, могут быть выполнены углубления под головки заклепок 28 сердечника 6.
По варианту 2 короткозамкнутые витки 9 и 10 могут быть закреплены в пазах крайних кернов сердечника 6 при помощи колодок 29 и 30, имеющих U-образную форму, повторяющую контур сердечника 6, в верхней части крайних ответвлений 31 и 32 которых выполнены пазы и сквозные отверстия для установки короткозамкнутых витков 9 и 10, в нижней по вертикальной оси части – сквозное отверстие для установки колодок 29 и 30 на шпонку 13, проходящую через сквозное отверстие в сердечнике 6 и на концах которой установлены амортизаторы 33 и 34. Амортизаторы 33 и 34 упираются своими торцами 35 и 36 во внутренние стенки корпуса 1 и надежно фиксируют пластмассовые колодки 29 и 30 и сердечник 6 с установленными на нем короткозамкнутыми витками 9 и 10 в корпусе 1. На поверхностях колодок 29 и 30, обращенных к сердечнику 6, могут быть выполнены углубления под головки заклепок 28 сердечника 6, а так же выступы 37 и 38, обращенные к сердечнику 6 и охватывающие сверху и снизу его нижнюю горизонтальную часть, соединяющую крайние керны.
По варианту 3 короткозамкнутые витки 9 и 10 могут быть закреплены в пазах крайних кернов сердечника 6 при помощи пластин 39 и 40, имеющих U-образную форму, повторяющую контур сердечника 6, в верхней части крайних ответвлений 41 и 42 которых выполнены пазы и сквозные отверстия для установки короткозамкнутых витков 9 и 10, а в нижней по вертикальной оси части – сквозное отверстие для установки пластин 39 и 40 на шпонку 13, проходящую через сквозное отверстие в сердечнике 6 и на концах которой установлены амортизаторы 33 и 34. Амортизаторы 33 и 34 упираются своими торцами 35 и 36 во внутренние стенки корпуса 1 и надежно фиксируют металлические пластины 39 и 40 и сердечник 6 с установленными на нем короткозамкнутыми витками 9 и 10 в корпусе 1. На поверхностях металлических пластин 39 и 40, обращенных к сердечнику 6, могут быть выполнены углубления и отверстия под головки заклепок 28 сердечника 6.
Работает аппарат следующим образом. При подаче электрического напряжения на включающую катушку 8 под действием электромагнитной силы катушки якорь 7 притягивается к сердечнику 6, траверса 3, жестко связанная с якорем 7, перемещается вместе с ним к сердечнику 6, подвижный мостиковый контактный узел 4 соприкасается с неподвижными контактными узлами 19 и 20, замыкая, таким образом, электрическую цепь между ними. Якорь 7 с траверсой 3 перемещается до соударения якоря 7 о сердечник 6. Для гашения кинетической энергии движущихся якоря 7 и траверсы 3, уменьшения энергии удара и снижения времени вибрации подвижного мостикового контактного узла 4 включаются в работу амортизаторы, применение которых обеспечивает высокую механическую и электрическую износостойкость. Электромагнит находится в сработанном состоянии, электрическая цепь неподвижных контактных узлов 19 и 20 замкнута, аппарат включен. При снятии электрического напряжения с включающей катушки 8 удерживающая электромагнитная сила исчезает и якорь 7 вместе с траверсой 3 и установленными в ней мостиковыми контактными узлами 4 под действием возвратной пружины 43 возвращаются в исходное положение. Электрическая цепь между неподвижными контактными узлами 19 и 20 разрывается. Аппарат отключен.
Заявляемое решение прошло опытные испытания и планируется к использованию в серийном производстве.
Формула изобретения
1. Электромагнитный коммутационный аппарат, содержащий корпус, сердечник с включающей катушкой, якорь, амортизаторы, расположенные между сердечником и корпусом, камеру с расположенными в ней неподвижными контактными узлами, траверсу, соединенную с якорем, подвижные мостиковые контактные узлы, выполненные в виде мостиков с серебросодержащими контакт-деталями, установленные в траверсе, короткозамкнутые витки, установленные в пазах крайних кернов сердечника, возвратную пружину, отличающийся тем, что амортизаторы выполнены U-образной формы, повторяющей контур сердечника, и в крайних ответвлениях которых со стороны рабочих частей кернов сердечника выполнены углубления (пазы) и отверстия для установки и фиксации короткозамкнутых витков.
2. Электромагнитный коммутационный аппарат по п.1, отличающийся тем, что на поверхности амортизаторов, обращенной к сердечнику, выполнены, по крайней мере, углубления и (или) отверстия под головки заклепок сердечника.
3. Электромагнитный коммутационный аппарат, содержащий корпус, сердечник с включающей катушкой, якорь, амортизаторы, расположенные между сердечником и корпусом, камеру с расположенными в ней неподвижными контактными узлами, траверсу, соединенную с якорем, подвижные мостиковые контактные узлы, выполненные в виде мостиков с серебросодержащими контакт-деталями, установленные в траверсе, короткозамкнутые витки, установленные в пазах крайних кернов сердечника, возвратную пружину, отличающийся тем, что короткозамкнутые витки закреплены в пазах сердечника при помощи колодок, по крайней мере пластмассовых, имеющих U-образную форму, повторяющую контур сердечника, в крайних ответвлениях которых со стороны рабочих частей кернов сердечника выполнены углубления и отверстия для установки короткозамкнутых витков, а в нижней по вертикальной оси части выполнено отверстие для установки колодок, по крайней мере, на шпонку.
4. Электромагнитный коммутационный аппарат по п.3, отличающийся тем, что на поверхности колодок, обращенной к сердечнику, выполнены, по крайней мере, углубления и (или) отверстия под головки заклепок сердечника, и выступы, обращенные к сердечнику и охватывающие сверху и снизу его нижнюю (горизонтальную) часть, соединяющую крайние керны.
5. Электромагнитный коммутационный аппарат, содержащий корпус, сердечник с включающей катушкой, якорь, амортизаторы, расположенные между сердечником и корпусом, камеру с расположенными в ней неподвижными контактными узлами, траверсу, соединенную с якорем, подвижные мостиковые контактные узлы, выполненные в виде мостиков с серебросодержащими контакт-деталями, установленные в траверсе, короткозамкнутые витки, установленные в пазах крайних кернов сердечника, возвратную пружину, отличающийся тем, что короткозамкнутые витки закреплены в пазах сердечника при помощи пластин, по крайней мере, металлических, имеющих U-образную форму, повторяющую контур сердечника, в крайних ответвлениях которых выполнены отверстия для установки короткозамкнутых витков, а в нижней части по вертикальной оси выполнено отверстие для установки пластины, по крайней мере, на шпонку.
6. Электромагнитный коммутационный аппарат по п.5, отличающийся тем, что на поверхности пластин, обращенных к сердечнику, выполнены углубления и (или) отверстия под головки заклепок сердечника.
РИСУНКИ
|
|