|
(21), (22) Заявка: 2007112038/06, 02.04.2007
(24) Дата начала отсчета срока действия патента:
02.04.2007
(46) Опубликовано: 20.11.2008
(56) Список документов, цитированных в отчете о поиске:
RU 2212066 С1, 10.09.2003. RU 2192052 С1, 27.10.2002. JP 1098996 А, 17.04.1989. KR 20010066821 А, 11.07.2001.
Адрес для переписки:
603950, г.Нижний Новгород, ул. Минина, 24, НГТУ, ОИС
|
(72) Автор(ы):
Безносов Александр Викторович (RU), Кустов Максим Сергеевич (RU), Савинов Сергей Юрьевич (RU)
(73) Патентообладатель(и):
Государственное образовательное учреждение высшего профессионального образования Нижегородский государственный технический университет (ГОУВПО НГТУ) (RU)
|
(54) ЯДЕРНАЯ ЭНЕРГЕТИЧЕСКАЯ УСТАНОВКА
(57) Реферат:
Изобретение относится к ядерной технике и может быть использовано в реакторных установках с жидкометаллическим охлаждением. Ядерная энергетическая установка содержит реактор с жидкометаллическим свинцовым теплоносителем или его сплавами и размещенными под свободным уровнем теплоносителя активной зоной, парогенераторами, средствами циркуляции, а также систему защитного газа. Установка помещена в страховочный корпус. Вдоль стенок страховочного корпуса размещены электронагреватели и каналы системы охлаждения. Между корпусом реактора и страховочным корпусом расположен трубопровод дренажа жидкого металла, сообщенный с дренажной емкостью. Изобретение позволяет повысить безопасность ядерной энергетической установки при аварийной ситуации с разуплотнением стенки корпуса и обеспечить отвод остаточных тепловыделений от активной зоны реактора. 1 ил.
Изобретение относится к ядерной технике и может быть использовано в реакторных установках с жидкометаллическим охлаждением.
Известна ядерная энергетическая установка, содержащая реактор с жидкометаллическим свинцовым теплоносителем или его сплавами, с размещенными под свободным уровнем теплоносителя активной зоной, парогенераторами, средствами циркуляции и систему защитного газа (патент на изобретение №2192052 от 27.10.2002) – прототип.
Недостатком данного технического решения применительно к ядерным энергетическим установкам со свинцовым теплоносителем или его сплавами является следующее. В случае появления трещины в корпусе реактора, парогенератора, насоса жидкий металл будет неорганизованно вытекать из реакторного контура. В том случае, если объем вытекающего теплоносителя превысит его объем в реакторном контуре выше верхнего обреза активной зоны реактора, возможно аварийное разрушение активной зоны за счет тепла остаточных тепловыделений. Образовавшаяся в результате этого разрушения топливосодержащая масса всплывет в реакторе с возможным образованием вторичной критмассы, что недопустимо с точки зрения безопасности ядерной энергетической установки.
Эти недостатки устраняются предлагаемым решением.
Решаемая задача – совершенствование конструкции ядерной энергетической установки.
Технический результат – обеспечение безопасности ядерной энергетической установки при аварийном разрушении стенки реакторного контура с последующим восстановлением работоспособности установки.
Технический результат достигается тем, что ядерная энергетическая установка, содержащая реактор с жидкометаллическим свинцовым теплоносителем или его сплавами и размещенными под свободным уровнем теплоносителя активной зоной, парогенераторами, средствами циркуляции, а также систему защитного газа, расположена в страховочном корпусе и снабжена каналами системы охлаждения и электронагревателями, размещенными вдоль стенок страховочного корпуса. Технический результат достигается также тем, что между корпусом реактора и страховочным корпусом расположен трубопровод дренажа жидкого металла.
Применение предлагаемого технического решения позволит реализовать свойства естественной безопасности жидкометаллического свинцового теплоносителя или его сплавов – организовать перевод его в твердое состояние (замораживание) в расчетных объемах, исключающих аварийное “осушение” и последующее разрушение активной зоны. Применение данного решения позволит безопасно удалить теплоноситель из страховочного корпуса и в последующем позволит произвести восстановление корпуса путем заварки аварийной трещины.
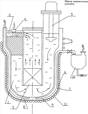
На чертеже представлена схема реакторной установки в разрезе по парогенератору и главному циркуляционному насосу.
В ядерном реакторе 1, содержащем жидкометаллический свинцовый теплоноситель или его сплав, под свободным уровнем 2 теплоносителя размещены активная зона 3, парогенераторы 4, средства циркуляции, например осевой насос 5. Корпус реактора 1 помещен в страховочный корпус 6, ограничивающий совместно с наружной поверхностью реактора 1 объем полости 7 страховочного корпуса 6, вдоль стенок которого размещены каналы 8 системы охлаждения полости 7. Между корпусом реактора 1 и страховочным корпусом 6 расположен дренажный трубопровод 9, сообщенный с дренажной емкостью 10. Снаружи или внутри страховочного корпуса расположены электронагреватели 11 системы разогрева полости 7 страховочного корпуса 6 до температуры, превышающей температуру плавления жидкометаллического теплоносителя. Дренажная емкость 10 имеет электрообогрев, сообщена с системой газа и имеет штуцер с вентилем для розлива жидкого металла в изложницы. При нормальной работе ядерной энергетической установки электронагреватели 11 отключены.
Работа ядерной энергетической установки в аварийной ситуации – аварийном истечении теплоносителя через трещину (неплотность) в стенке реактора осуществляется следующим образом.
При аварийном разуплотнении корпуса реактора 1, независимо от места разуплотнения, происходит истечение жидкометаллического теплоносителя в полость 7 страховочного корпуса 6. В каналы 8 системы охлаждения подается охлаждающая среда (вода, воздух). Поступая в полость 7, жидкий металл за счет работы системы охлаждения застывает.
Вследствие изменения типа контакта поверхности каналов 8 системы охлаждения с контакта с газом на контакт с жидким металлом, поступающим в полость 7, эффективность отвода тепла из объема полости 7 существенно увеличивается. Жидкий металл, поступивший в полость 7, доходит до места неплотности, застывает и прекращает истечение теплоносителя из реакторного контура. Понижение свободного уровня 2 в контуре прекращается. Отвод тепла остаточных тепловыделений осуществляется соответствующими системами аварийного расхолаживания и также каналами 8 охлаждения полости 7 страховочного корпуса 6.
Ремонтные работы по устранению неплотности в корпусе реактора (заварки) производятся после извлечения тепловыделяющих элементов активной зоны из корпуса реактора и дренирования объема теплоносителя. Вводят в работу электронагреватели 11, жидкий металл расплавляется и выдавливается в дренажную емкость 10 через дренажный трубопровод 9. При необходимости жидкий металл из дренажной емкости 10 разливают в изложницы, в которых он застывает, а затем складируется.
Применение предлагаемого технического решения позволит:
повысить безопасность ядерной энергетической установки при аварийной ситуации с разуплотнением (разрушением) стенки реакторного корпуса, с образованием в нем трещины и истечением через нее теплоносителя из реакторного контура;
обеспечить отвод остаточных тепловыделений от активной зоны (расхолаживание) реактора при такой аварии;
ограничить объем теплоносителя, вытекающего из реакторного контура при такой аварии за счет организованного застывания его в полости страховочного корпуса;
обеспечить дренирование жидкого металла из полости страховочного корпуса после локализации аварии; обеспечить возможность проведения ремонтных работ по восстановлению работоспособности корпуса реактора после такой аварии.
Формула изобретения
Ядерная энергетическая установка, содержащая реактор с жидкометаллическим свинцовым теплоносителем или его сплавами и размещенными под свободным уровнем теплоносителя активной зоной, парогенераторами, средствами циркуляции, а также систему защитного газа, отличающаяся тем, что она помещена в страховочный корпус, вдоль стенок которого размещены электронагреватели и каналы системы охлаждения, между корпусом реактора и страховочным корпусом расположен трубопровод дренажа жидкого металла, сообщенный с дренажной емкостью.
РИСУНКИ
|